青岛垚鑫智能科技有限公司
宣传

位置:中冶有色 >

有色技术频道 >

分类:
全部
矿山技术
冶金技术
材料制备及加工技术
环境保护技术
分析检测技术
地区:
全部
北京
天津
上海
重庆
河北
山西
辽宁
吉林
黑龙江
江苏
浙江
安徽
福建
江西
山东
河南
湖北
湖南
广东
海南
四川
贵州
云南
陕西
甘肃
青海
内蒙
广西
西藏
宁夏
新疆
其他
其他
展开
 
全部

有色金属技术理论与应用

免费发布技术信息>>
带包覆层承压设备的腐蚀缺陷检测仪

本实用新型公开了一种带包覆层承压设备的腐蚀缺陷检测仪,包括瞬变电磁传感器和控制主机,瞬变电磁传感器具有骨架、柱形磁芯、激励线圈和接收线圈,柱形磁芯穿设于骨架,激励线圈绕制在骨架上且位于柱形磁芯的外侧,接收线圈绕制在激励线圈的外侧,控制主机通过线缆分别与瞬变电磁传感器的激励线圈和接收线圈电性连接。接收线圈绕制在激励线圈的外侧,两者之间相互耦合,激励线圈能够使带包覆层承压设备产生涡流磁场,接收线圈接收涡流磁场的耦合区磁场的感应电压,可以实现待包覆层承压设备腐蚀缺陷的无损检测,有利于提高检测效率和降低检测成本,且磁芯能够起到聚焦磁场的作用,有利于提高检测的精确度和分辨率。

标签:
无损检测
广东 - 珠海 来源:中冶有色网 2023-03-19
用于管座角焊缝超声相控阵检测的模拟试件

本实用新型公开了一种用于管座角焊缝超声相控阵检测的模拟试件,涉及无损检测技术领域,包括接管,所述接管的底端设有母管,所述接管与母管通过角焊缝相连接,所述角焊缝的内部设置有第一未熔合缺陷、第二未熔合缺陷和第三未熔合缺陷。本实用新型通过在一块模拟试件上设置三种类型、不同尺寸的未熔合缺陷,有利于检测人员进行对比试验,具备较高的培训实用性,值得推广,三处未熔合缺陷的位置及相应的长度设置与现实情况中集箱管座角焊缝裂纹的发生情况相吻合,具备很好的代表性,能够用于检测管座角焊缝表面裂纹的检测工艺验证。

标签:
无损检测
江苏 - 南京 来源:中冶有色网 2023-03-19
用于大口径管焊缝相控阵超声检测的扫查记录装置

本实用新型涉及无损检测领域,具体涉及一种用于大口径管焊缝相控阵超声检测的扫查记录装置,包括磁轮、支架、探头夹和位置传感器,支架由支架主杆和旋转轴组成,位置传感器由电缆线、滚轮和信息转换器组成,扫查记录装置通过电缆线与相控阵超声检测仪之间进行连接。本实用新型采用电缆线和相控阵超声检测仪连接,信号传输稳定;扫查记录装置支架和探头夹采用钛合金材料制成,增加使用寿命;磁轮为磁性材料制成,吸附在管子上,方便操作;位置传感器采用单独的滚轮,位置信息记录的更加准确;探头夹和支架通过弹性螺丝连接,可对探头进行微调,保证探头和管子表面的耦合效果。更够满足现场检测的需要。

标签:
无损检测
安徽 - 合肥 来源:中冶有色网 2023-03-19
面向铝合金搅拌摩擦焊件的超声相控阵成像检测装置

本实用新型涉及一种面向铝合金搅拌摩擦焊件的超声相控阵成像检测装置,它包括固定在斜楔块上的超声相控阵探头、超声相控阵电路系统、传送带、夹持装置、控制柜和计算机。计算机既能通过控制柜来控制传送带以及夹持装置,又能通过数据线连接超声相控阵系统,获取超声相控阵的扫描图像。在获取图像后,计算机上的软件能够对扫描图像进行优化分析以及存储。本实用新型采用机械化平台并结合超声相控阵装置,具有自动化程度高、连续检测性能好、检测速度快以及劳动强度低等优点,同时引入工业计算机,可以对缺陷进行精确定位和定量检测,满足工业无损检测的需求。

标签:
无损检测
江苏 - 南京 来源:中冶有色网 2023-03-19
6自由度超声波检测装置

本实用新型涉及一种6自由度超声波检测装置,包括基座、X轨道、Y轨道、探头组件、探头组件安装座及转台,X轨道横向设于基座的顶部,Y轨道垂直布置于X轨道上方并能沿X轨道的长度方向移动,探头组件安装座竖直布置于Y轨道上并能沿Y轨道的长度方向移动,探头组件安装座下部设置有能上下移动的Z轴,探头组件能转动的设于Z轴的下端,转台能转动的设于基座下部并与探头组件相对布置。本实用新型能实现对曲面异构件进行无损检测及曲面自动跟踪路径设计,检测时,被检测件在转台上旋转,探头位置可根据需要通过X轨道、Y轨道、探头组件安装座、Z轴之间的配合关系及探头组件自身的转动结构进行调节,使探头沿被检测件内表面母线作曲线运动。

标签:
无损检测
浙江 - 宁波 来源:中冶有色网 2023-03-19
光声复合三维微纳成像检测系统

本实用新型公开了一种光声复合三维微纳成像检测系统,包括光全息光路,还包括计算机、显微镜、用于放置固体样品的压电晶片和用于驱动压电晶片振动的功率放大器,计算机上接有同步控制器和数字相机,同步控制器上接有波形发生器和脉冲激光器;光全息光路包括物光光路、参考光光路和第一分束立方镜,物光光路包括依次设置的第二分束立方镜、第一扩束镜和第一反射镜,参考光光路包括第三分束镜和第二反射镜,以及第二扩束镜,压电晶片设置在显微镜的正下方。本实用新型设计合理,实现方便,能够适用于不同厚度的固体样品的缺陷检测,检测速度快,检测精度和可靠度高,真正实现了无损检测,实用性强,应用范围广,便于推广使用。

标签:
无损检测
陕西 - 西安 来源:中冶有色网 2023-03-19
适用于多种孔径的内孔表面质量检测仪

本实用新型涉及一种适用于多种孔径的内孔表面质量检测仪,包括叉杆、第一支杆、第二支杆、管杆、转摆和鱼眼摄像头,叉杆为U型结构,其开口端与转摆连接,另一端与管杆连接,第一支杆和第二支杆分别穿过叉杆并在叉杆内铰接呈“X”型,第一支杆、第二支杆的末端设有移动轮,第一支杆和第二支杆之间、第一支杆与转摆之间、第二支杆和转摆之间分别设有弹簧。也公开了其应用方法,可见其结构简单,易于操作,可以大大降低无损检验人员劳动强度,减少检测时间,缩短生产周期。适合批量生产要求,提高了检测效率,并通过生产实践的验证,实施效果较好。

标签:
无损检测
江苏 - 南京 来源:中冶有色网 2023-03-19
瞬变电磁传感器及检测传感装置

本发明提供了一种瞬变电磁传感器及检测传感装置,涉及无损检测传感设备技术领域,瞬变电磁传感器包括磁轭、感应线圈和励磁线圈,其中,感应线圈和励磁线圈平行且同轴。励磁线圈缠绕于磁轭的上部,感应线圈缠绕于磁轭的下部,且绕线方向一致,形成双层复合结构。励磁线圈的线圈直径不大于感应线圈的线圈直径。励磁线圈的端头接入外部的励磁脉冲信号,感应线圈的端头向外部输出感应脉冲信号。该技术方案缓解了现有技术存在的检测范围小、检测精度差的技术问题,实现了化工集输管道的缺陷探测,优化了传感器的结构,增加了传感器的探测范围,提高了传感器的探测精度。

标签:
无损检测
天津 - 天津 来源:中冶有色网 2023-03-19
复合材料压力容器的损伤检测装置系统与方法

本发明提供一种复合材料压力容器的损伤检测装置系统和方法。本发明的复合材料损伤检测系统,将声发射检测系统与应变测量系统连接起来,核心为应变监测系统,并采用声发射特征信号与有无损伤应变比这一特征值相结合的评定方法,对复合材料压力容器的缺陷进行检测探伤,该方法将声发射信号与复合材料本征性能和加载过程中的应力、应变和变形特性结合起来,揭示复合材料的损伤程度和破坏机理,预测容器的寿命。

标签:
无损检测
上海 - 上海 来源:中冶有色网 2023-03-19
基于太赫兹光谱技术的热障涂层中CMAS的检测方法

本发明提供一种基于太赫兹光谱技术的热障涂层中CMAS的检测方法,包括:制备一组未受CMAS腐蚀的和N组受CMAS腐蚀程度不同的热障涂层试样,N至少为2且N为正整数;选取其中一组热障涂层试样进行太赫兹光谱测试;计算热障涂层试样在太赫兹频段的光学特征参数;对其余热障涂层试样重复上述步骤,分析未受CMAS腐蚀的和受CMAS腐蚀程度不同的热障涂层试样在太赫兹频段的光学特征参数的变化规律;对待测样品重复上述步骤,并根据变化规律判断待测样品是否受CMAS腐蚀及腐蚀程度。本发明可以实现对热障涂层中CMAS的高效无损检测,具有不破坏和污染样品,数据处理过程简便,检测结果精度高及检测过程无辐射对人体安全等优点。

标签:
无损检测
上海 - 上海 来源:中冶有色网 2023-03-19
锚索破断位置及破断类型的检测方法

本发明涉及一种用于煤矿领域的锚索工况的检测方法,特别涉及一种锚索破断位置及破断类型的检测方法。该方法在不破坏现有锚索的锚固结构情况下,判断锚索是否发生破断、破断类型(单股破断、多股破断或整体破断)以及破断具体位置的检测方法,有效、直观获得得到锚索破断信息。本方法由于采用无损声波检测方法,不会影响和破坏现有的锚索锚固结构,也不会影响锚索的支护力的大小,同时能够根据声波反馈结果快速的获得锚索破断的具体形式,具有操作简单,判断准确等优点。对于快速掌握巷道围岩锚索支护效果以及保证巷道的支护安全有十分重要的意义。

标签:
无损检测
湖南 - 湘潭 来源:中冶有色网 2023-03-19
基于超声导波技术的排管检测机器人

本发明涉及一种基于超声导波技术的排管检测机器人。其主要特征是基于模块化结构,由五个旋转模块和两个夹持器通过串联方式连接;两个夹持器可根据不同管径进行更换,其手爪装有导波探头夹持组件,可安装不同结构和数量的导波探头;通过旋转模块的伸展和收缩实现末端夹持器的位姿调整,两手爪交替夹紧,配合旋转模块实现各种攀爬运动。本发明采用基于PC/104总线技术的控制系统,由伺服电机、嵌入式计算机主板、传感器和远程控制系统组成。本发明具有体积小、质量轻、结构简单,灵活性强的特点,可以实现直管爬行、弯管爬行、管间爬行等多种检测运动,通过导波检测技术与机器人技术的集成,实现基于超声导波技术的排管无损检测。

标签:
无损检测
湖北 - 武汉 来源:中冶有色网 2023-03-19
固态X辐射检测器
固态X辐射检测器 959     
 0

本发明公开一种包括与辐射转换器或闪烁器相关的光敏传感器的固态辐射检测器。这类检测器的应用领域尤其涉及放射学:射线照相术、荧光学、乳房造影术,还涉及无损检验。该检测器包括闪烁器(13)上游的第一辐射穿过的刚性入射窗口(14),闪烁器(13)设置在传感器(12)和入射窗口(14)之间,传感器(12)包括基底(15)和设置在基底(15)上的光敏元件(16)。根据本发明,入射窗口(14)成形以紧密配合闪烁器(13)的形状,并以防水的方式固定在传感器(12)的基底(15)上。

标签:
无损检测
其他 - 其他 来源:中冶有色网 2023-03-19
稻谷不完善粒的检测方法

本发明公开了一种稻谷不完善粒的检测方法,属于农产品储藏加工的无损检测领域。通过计算机图像采集系统对图像采集处理,获得完善粒、不完善粒的图像,经过图像处理,获得图像的相关参数,选择合适的参数,建立模型,对不完善粒实现区分,得出不完善粒的检测方法。本发明相较于其他的检测方式快速,便捷,高效的特点,对于粮食安全品质具有重要意义。

标签:
无损检测
江苏 - 南京 来源:中冶有色网 2023-03-19
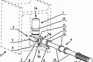
用于旋转主轴裂纹检测的弹性波激发装置

本发明涉及无损检测领域,具体公开了一种用于旋转主轴裂纹检测的弹性波激发装置。该用于旋转主轴裂纹检测的弹性波激发装置包括激波器、激波杆和激波头,所述激波杆的一端与激波器连接,另一端与激波头连接;所述的激波头上设有中心线与激波杆的轴向相互垂直的轴套孔,所述的轴套孔内旋转活动连接有轴套;所述的轴套上设有中心线与轴套孔的中心线重合的轴孔。以上所述的用于旋转主轴裂纹检测的弹性波激发装置,通过轴套与激波杆对激波器和转动轴进行连接,在转动轴高速转动状态下,实现了准确、持续的宽频带弹性波激发,确保了弹性波信号源的可靠性。

标签:
无损检测
浙江 - 杭州 来源:中冶有色网 2023-03-19
拉线塔拉力调节检测方法

本发明公开了一种拉线塔拉力调节检测方法,其特征是按以下步骤进行:步骤1、通过设计资料查询拉线的单位长度质量和整个拉线的长度,根据公式建立拉线塔的拉线拉力和拉线一阶面内振动频率的关系曲线,式中,T是拉线拉力;m是拉线单位长度质量;L是拉线长度,F1为拉线第1阶面内自振频率;步骤2、进行现场拉线振动频率测试根据拉线一阶振动频率值,由步骤1建立的拉线拉力和拉线一阶面内振动频率的关系曲线查对应的拉线拉力值,进而调整拉线拉力值的大小以符合设计要求值。本发明为一种无损检测拉线拉力方法,它解决了原有检测方法的有关制约,可实现对拉线塔拉线拉力现场快速检验和调整。

标签:
无损检测
湖南 - 长沙 来源:中冶有色网 2023-03-19
基于CARS-PLS-DA模型快速检测三七品质的方法

本发明提出一种基于CARS‑PLS‑DA模型快速检测三七品质的方法,包括以下步骤:步骤1:收集不同品质的三七样品,根据头数划分三七的品质;步骤2:每个样品均在60℃的烘箱中干燥,粉碎后过筛,存放于自封袋置于干燥器中备用;步骤3:设置近红外光谱分析仪的参数,采集样品的近红外光谱;步骤4:构建CARS‑PLS‑DA判别模型,确定最佳因子数;步骤5:将待测三七样品执行步骤2、步骤3,并代入步骤4构建的模型中,得到待测三七样品的品质。本发明检测效率高、准确率高、对样品无损、操作简单,且占用检测或实验设备及研究人员资源少,能够实现对三七品质快速鉴定,以保障消费者权益以及中药药材的品质和安全。

标签:
无损检测
福建 - 福州 来源:中冶有色网 2023-03-19
基于声场调控的焊件检测装置和方法

本发明一种基于声场调控技术的焊件形状和装配位置检测方法及设备,属于一种焊接无损检测技术领域,其特征在于:通过利用声波的反射特性,搭建声场声源系统、扬声器和传声器阵列、声场信号采集系统和直线导轨等,采集遇到待焊工件后反射回的声波信号,基于声场调控技术,进行预处理和分析,重建待焊工件图像,进而识别待焊工件形状和装配位置信息。本发明的目的是通过声场检测装置,辅助操作人员在光照条件较差、有粉尘和有毒气体的环境中进行焊前检测,提高焊前检测效率。

标签:
无损检测
辽宁 - 沈阳 来源:中冶有色网 2023-03-19
晶圆键合质量检测方法及系统

本发明提供了一种晶圆键合质量检测方法及系统,检测方法包括如下步骤:提供第一晶圆和第二晶圆,第一晶圆包括叠置的第一硅层和第一键合金属层,第二晶圆包括叠置的第二硅层和第二键合金属层,第一晶圆和第二晶圆通过第一键合金属层与第二键合金属层相互键合以形成测试结构;对测试结构进行电流电压测试,得到测试结构的电流电压测试曲线,并根据电流电压测试曲线表征测试结构的键合质量。本发明针对低温键合晶圆界面的质量评估需求,通过对测试结构进行电流电压测试,实现了对晶圆键合质量快速且无损的表征,揭示了键合界面的电学特性,对于三维单片集成工艺的开发具有重要意义。

标签:
无损检测
广东 - 广州 来源:中冶有色网 2023-03-19
油气管道破损腐蚀泄露检测仪

本实用新型公开了油气管道破损腐蚀泄露检测仪,主要涉及无损检测技术领域。包括轴向运动机构、周向运动机构和检测机构,所述轴向运动机构包括上壳体和下壳体,所述上壳体内设置第一底座,所述第一底座上设置第一V型轮和轴向驱动电机,所述下壳体内设置第二底座,所述第二底座上设置第二V型轮,所述周向运动机构包括第一支架和第二支架,所述第一支架上设置第一凹槽,所述第二支架上设置第二凹槽,所述第一凹槽内设置第一齿条,所述第二凹槽内设置第二齿条,所述第一支架上设置周向驱动电机。本实用新型的有益效果在于:它能够同时在管道的轴向与周向移动,能够实现无死角检测,能够避免出现漏检现象,能够提高检测精度。

标签:
无损检测
宁夏 - 银川 来源:中冶有色网 2023-03-19
便捷式建筑墙体连接质量检测用中子散射成像系统

本实用新型公开了一种便捷式建筑墙体连接质量检测用中子散射成像系统,涉及无损检测技术领域,包括支架,支架具体由两个Y轴双向驱动总成和两个横杠构成,还包括一个X轴双向驱动总成,X轴双向驱动总成的驱动平台上还安装有Z轴双向驱动总成,Z轴双向驱动总成的驱动平台上固定安装有中子探测器,每个Y轴双向驱动总成端部均固定安装有撑墙支座,每个Y轴双向驱动总成顶端一侧壁均转动连接有一个撑杆,两个撑杆之间设置有与中子探测器连接的控制主机,每个Y轴双向驱动总成底端侧壁上分别转动连接有斜撑,控制主机还信号连接有远程控制端;本实用新型可有效检测建筑类连接质量,可信度高,能够实现远程操作,且无需外接电路,适用性强。

标签:
无损检测
安徽 - 合肥 来源:中冶有色网 2023-03-19
利用电磁超声检测拼焊板焊缝质量装置

本实用新型涉及无损检测设备技术领域,具体涉及一种利用电磁超声检测拼焊板焊缝质量的装置,包括工作头、耐磨层、垂直适应模块、底座、EMAT线圈、EMAT电路、脉冲电磁铁、供电模块和控制器,工作头通过垂直适应模块与底座连接,耐磨层安装在工作头上,EMAT线圈靠近耐磨层,EMAT电路包括EMAT激励电路和EMAT测量电路,EMAT激励电路单独安装,EMAT测量电路安装在工作头内,EMAT测量电路与控制器连接,脉冲电磁铁由供电模块供电,脉冲电磁铁与控制器连接。本实用新型的实质性效果是:焊缝质量检测的精度高,且能够检测多种形式的焊缝缺陷,通过耐磨层能够缩小与被检工件的距离,同时具有保护功能,降低对被检工件表面的粗糙度的要求。

标签:
无损检测
浙江 - 杭州 来源:中冶有色网 2023-03-19
汽水管道管座开孔外壁放射状裂纹爬波检测方法

本发明涉及一种汽水管道管座开孔外壁放射状裂纹爬波检测方法,技术方案是,通过汽水管道管座开孔外壁放射状裂纹的特点,确定了扫查路径,通过在带有模拟裂纹的标准试块上进行监测,绘制出距离‑波幅曲线,用于评断缺陷的当量大小,最后通过在被检汽水管道管上沿扫查路径进行360°环向扫查,最后基于距离‑波幅曲线进行缺陷识别,得到缺陷的波幅、位置和长度,从而解决在在役火电机组大管径汽水管道开孔表面放射状裂纹的无损检测的问题,防止开孔裂纹扩展导致管道泄漏事故的发生,经实际应用,准确率达到99.9%以上,实现汽水管道管座开孔外壁放射状裂纹的有效检测,有良好的社会和经济效益。

标签:
无损检测
河南 - 郑州 来源:中冶有色网 2023-03-19
锂电隔膜的检测系统
锂电隔膜的检测系统 838     
 0

本实用新型提供了一种锂电隔膜的检测系统,尤其涉及一种无损伤且可同时检测隔膜卷直径和宽度的锂电隔膜检测系统。该系统包括支架、设于所述支架垂直臂上端的可旋转的夹持装置以及设于所述支架水平底座上的第一测距装置。该系统可以同时检测规格料的收卷最大直径尺寸及分切规格料宽度的精确尺寸,精度均达到±0.1mm,且对隔膜无任何接触损伤,准确性高,结构简单,操作方便。

标签:
无损检测
山东 - 青岛 来源:中冶有色网 2023-03-19
用于牛奶浓度检测的传感器

本实用新型公开了一种用于牛奶浓度检测的传感器。其为筒状结构的电容传感器,传感器的一个极板在其筒中心部,在中心部电极极板的外部为绝缘层,另一极板是金属外筒,在金属外筒外还有一层绝缘层,将金属外筒与屏蔽罩隔开,在两个极板之间的筒内的底侧部装有温度传感器,在筒的上下两面装一对超声波换能器,在筒的上部安装有加热器。优点在于:应用牛奶中超声波的传输特性和电容特性,对牛奶主要成分浓度间接测量是可行的,完全可以满足当前乳品行业对牛奶主要成分浓度检测精度的要求。本实用新型为乳品检测提供了一种低成本、无损、快速检测的传感器。

标签:
无损检测
内蒙 - 包头 来源:中冶有色网 2023-03-19
检测肉类系水力的方法

本发明涉及一种检测肉类系水力的方法,包括如下步骤:S1、采集位移变化数据;S2、理化实验测系水力值;S3、对S1中的位移曲线提取6个参数;S4、采用多元函数对S1中的位移曲线进行拟合,得到6个多元函数拟合特征参数;S5、对S3和S4中提取的一共12个特征参数采用主成分分析,选取累计贡献率大于等于85%的主成分作为后续建立模型的主成分;S6、建立样品集,按比例分为校正集和验证集;利用校正集建立样品系水力的预测模型;利用验证集评价预测模型的准确度。本发明,基于气流脉冲检测禽畜肉类系水力,通过激光位移传感器采集位移变化数据,建立系水力和位移变化曲线之间的预测模型,用于最终检测,具有非破坏性、快速无损的优点。

标签:
无损检测
北京 - 北京 来源:中冶有色网 2023-03-19
镜片折射率检测装置
镜片折射率检测装置 1107     
 0

一种镜片折射率检测装置,其特征在于:包括光源模块、镜片中心物理厚度检测模块和镜片中心光学厚度检测模块,所述光源模块包括用于输出准直光束的第一光源组件和第二光源组件、第一合光组件、以及聚焦组件,所述镜片中心物理厚度检测模块包括第一成像组件和第二成像组件,所述镜片中心光学厚度检测模块包括第一光电探测组件、第二光电探测组件、分光组件、部分反射镜、可移动反射镜。该镜片折射率检测装置操作简单、在线快速无损检测、且对非球面镜片、柱面镜片等非规则面型镜片及成品镜片也适用。

标签:
无损检测
浙江 - 宁波 来源:中冶有色网 2023-03-19
基于时域调控的超声导波相控阵CFRP缺陷检测方法

本发明公开一种基于时域调控的超声导波相控阵CFRP缺陷检测方法,涉及无损检测技术领域,本发明的目的解决在针对大面积复合材料板状结构内部缺陷检测时,缺乏快速有效的检测方法以及目前常用检测手段只能进行点对点检测、耗时低效、容易出现漏检误检等问题,本发明所述方法将导波技术与相控阵技术结合,采用单阵元激发、多阵元阵列接收的方式采集时域位移信号,通过计算导波信号飞行时间并提取对应特征幅值将其作为缺陷成像特征值进行可视化,本方法考虑各向异性材料所引起的不同传播角下异向波群速度差异以及导波衰减不均的影响,实现对复合板多角度内部缺陷定位与高分辨率成像。

标签:
无损检测
广东 - 东莞 来源:中冶有色网 2023-03-19
用于木结构损伤检测的管状压电智能传感器

本发明涉及一种用于木结构损伤检测的管状压电智能传感器装置,属土木工程领域,其由木材内填充层(1),内金属屏蔽层(2),内环氧树脂保护层(3),压电传感器(4),木材外壳(5),外环氧树脂保护层(6),外金属屏蔽层(7)等共同组成。适用于对木结构体损伤的及时检测。具体来说,当木结构建筑发生损坏或结构受力发生明显变化时传感器中压电传感器的电信号会发生变化,可反应出木结构损伤程度,由于本发明适用于木结构内侧无损检测损伤结构,可直接套在木结构内填充层上,且压电传感器本身材料廉价,构造简单,安装方便,这就为木结构工程建筑损伤检测提供了一种简便可行的方法。

标签:
无损检测
江苏 - 南京 来源:中冶有色网 2023-03-19
基于生物超弱光子辐射的禽蛋新鲜度检测仪

本实用新型公开的基于生物超弱光子辐射的禽蛋新鲜度检测仪,包括暗室,暗室内底部设置有样品台,暗室的两侧内壁上设置有半导体制冷片,样品台的一侧设置有温度传感器,在样品台上方位置设置有透镜,透镜上方设置有LED激发光源,在样品台的下方设置有电子快门,电子快门的下方设置有依次连接的光电倍增管、计数器、USB接口芯片及计算机,还包括单片机,单片机上分别连接有LED驱动模块、键盘和显示模块、恒温控制器及快门驱动模块,LED驱动模块与LED激发光源相连接,恒温控制器分别与样品台、半导体制冷片相连接,快门驱动模块与电子快门相连接。本实用新型检测仪,能实现无损检测,应用范围广泛、检测劳动强度小、效率高。

标签:
无损检测
陕西 - 西安 来源:中冶有色网 2023-03-19
上一页 2001 2002 2003 2004 2005 ... 5000 ... 10000 ... 20000 ... 30000 ... 32469 下一页
共32469页    到第

中冶有色为您提供最新的有色金属技术理论与应用信息,包括矿山技术、冶金技术、材料制备及加工技术、环境保护技术和分析检测技术等有色技术信息。打造最具专业性的有色金属技术理论与应用平台!

全国热门有色金属设备推荐
展开更多 +
全国热门有色金属技术推荐
展开更多 +

 

江西省隆恩特环保设备有限公司
宣传

报名参会
更多+

报告下载

有色专家
更多+

矿冶科技集团有限公司
党委书记 / 董事长
矿冶科技集团有限公司
中国工程院院士
北京科技大学
主任/教授
武汉理工大学
外籍院士/教授
昆明理工大学
校长
赤泥综合利用研究报告2025
推广

热门技术
更多+

推荐企业
更多+

福建省金龙稀土股份有限公司
宣传

发布

在线客服

公众号

电话

顶部
咨询电话:
010-88793500-807