青岛垚鑫智能科技有限公司
宣传

位置:中冶有色 >

有色技术频道 >

> 新能源材料技术

分类:
全部
矿山技术
冶金技术
材料制备及加工技术
环境保护技术
分析检测技术
 
全部
功能材料技术
复合材料技术
新能源材料技术
合金材料技术
加工技术
地区:
全部
北京
天津
上海
重庆
河北
山西
辽宁
吉林
黑龙江
江苏
浙江
安徽
福建
江西
山东
河南
湖北
湖南
广东
海南
四川
贵州
云南
陕西
甘肃
青海
内蒙
广西
西藏
宁夏
新疆
其他
其他
展开
 
全部
长沙
株洲
湘潭
衡阳
邵阳
岳阳
常德
张家界
益阳
娄底
郴州
永州
怀化
湘西土家族苗族自治州

湖南长沙有色金属新能源材料技术理论与应用

免费发布技术信息>>
新能源汽车充电座的防护盖结构

本实用新型涉及防护盖技术领域,具体为一种新能源汽车充电座的防护盖结构,包括充电座本体,所述充电座本体的一侧设置有一个连接组件,所述连接组件的一侧设置有一个防护盖,所述防护盖的一侧固定连接有一个密封垫,所述连接组件的一侧设置有卡接组件,所述连接组件包括两个卡箍,两个所述卡箍的两侧均固定连接有一个连接块。本实用新型的优点在于:本实用新型在需要充电时,通过按压压板即可使对安装板压缩弹簧,此时活动块也会带动卡块进行转动,当转动到一定程度,卡块会脱离防护盖,即可将防护盖打开进行充电,松手后弹簧会恢复原状,进而带动卡块进行复位,使用相当便捷,有效的提升了装置的实用性。

标签:
新能源
湖南 - 长沙 来源:中冶有色网 2023-03-18
用于新能源场站巡检的智能穿戴设备

本实用新型属于智能穿戴设备技术领域,且公开了一种用于新能源场站巡检的智能穿戴设备,包括智能手表本体,所述智能手表本体的下方设有表带,所述表带末端的中部开设有固定孔,所述智能手表本体左右两侧的前后两端均固定安装有耳板。本实用新型通过左右两侧的位置上固定有耳板,并在耳板的一端固定有固定架,并在固定架的内部活动安装有定位杆,当需要拆装表带时,可通过向外侧拉动限位杆即可带动定位杆位移,此时限位弹簧被拉伸,当定位杆位移出固定孔时,此时表带于智能手表本体之间即可完成分离,反之松开限位杆,限位弹簧自动恢复弹力即可带动定位杆重新插入固定孔的内部即可完成表带的固定,从而实现了方便拆装表带的优点。

标签:
新能源
湖南 - 长沙 来源:中冶有色网 2023-03-18
用于新能源汽车电池组的石墨烯发热膜

本实用新型公开了一种用于新能源汽车电池组的石墨烯发热膜,包括长条膜,短条膜,所述短条膜位于电池组中两两电池模块之间,所述短条膜上固设有第二电源线,所述电池组外围包裹着长条膜,所述长条膜上固设有第一电源线,所述第一电源线与多个第二电源线并联连接,当外界温度极低,电池组无法充电时,可以通过让第一电源线通电,电流顺着第一电源线、第二电源线分别进入长条膜、短条膜内的发热层,使发热层发热,可以源源不断的向电池组提供热量,使电池组达到其充电所需温度,当电池组温度较高时,无法有效地放电时,散热层可以将电池组的热量导走,使热量分布在长条膜、短条膜上,从而使电池组本身的温度有所降低,保证了电池组的正常放电。

标签:
新能源
湖南 - 长沙 来源:中冶有色网 2023-03-18
新能源恒温房屋
新能源恒温房屋 1222     
 0

本发明公开了一种新能源恒温房屋,包括虹吸进水管,虹吸出水管,房屋本体,其特征在于所述房屋本体是由中空的立柱、梁、墙体拼装连接而成,该房屋主体的中空部分连通成一组密封的通道,该通道的一端通过虹吸进水管与河流的上游连通,该通道的另一端通过虹吸出水管与河流的下游连通。本发明把房屋的墙体和梁柱,在工厂预先做成中空,各部分连接处设计好连接节点,安装完成后,各部分之间形成一组或多组密封的通道,利用河流或小溪的水通过虹吸的方法,使水经房屋墙体和梁柱的内部流过,房屋的温度就会慢慢与水流的温度达到一致,实现用水的调温方式来达到恒温效果的。

标签:
新能源
湖南 - 长沙 来源:中冶有色网 2023-03-18
新能源汽车充电桩的内部自散热结构

本发明公开了一种新能源汽车充电桩的内部自散热结构,包括壳体、设置在壳体内部的蓄电池、与蓄电池相连接且延伸至壳体外侧的电线、与电线输出端连接的充电枪头、设置在壳体外侧且用于悬挂充电枪头的悬挂杆,所述壳体的上端固定连接有箱体,所述箱体的内部盛放有冷却液,所述壳体的内部设有连通腔,所述壳体的内侧壁固定连接有环形管,所述箱体的内部设有延伸至连通腔内部的输送机构和接收机构,所述连通腔的内部设有多个延伸至环形管内部的第一散热机构。本发明结构设计合理,能够对充电桩内部的蓄电池起到充分地散热效果,避免由于其内部温度过高而造成短路现象,进而保证充电桩的正常运行。

标签:
新能源
湖南 - 长沙 来源:中冶有色网 2023-03-18
新能源节能变速器
新能源节能变速器 914     
 0

本发明涉及变速器技术领域,尤其是一种新能源节能变速器,包括:变速器,变速器包括:外壳、输入轴、输出轴;支撑边框,支撑边框固定在外壳外一侧上;移动块,移动块设在外壳靠近支撑边框的一侧,移动块与外壳之间设有导向滑动装置;带动块,带动块固定在移动块一侧上,带动块与外壳之间设有自动带动装置。本发明,通过设置外壳、输入轴、输出轴、支撑边框、移动块、带动块、旋转轴、连接轮、缓冲环、从动摩擦环、主动轮、主动摩擦环、主动带轮、安装架、发电机、从动带轮、连接板、张紧带轮、皮带、使其具有能源回收、自动介入发电、自动解除发电、安全缓冲、自动张紧等功能。

标签:
新能源
湖南 - 长沙 来源:中冶有色网 2023-03-18
新能源厂内烟花爆竹运输车转向机构

本实用新型公开一种新能源厂内烟花爆竹运输车转向机构,其包括转向盘、转向轴、连接套、转向传动轴和转向器;所述转向盘上设有把手以及固定槽;所述转向轴的上端固定在固定槽中;所述转向传动轴的上端和所述连接套的下端相连;所述转向器包括限位板以及固定在限位板上的减速器。本实用新型结构简单,具有稳定性强,易于维护、成本低的特点,且其转向灵敏,转向时,转角比较大,厂内运输车在一个较小的空地上便可完成掉头转弯。

标签:
新能源
湖南 - 长沙 来源:中冶有色网 2023-03-18
新能源汽车零配件用烤漆装置

本实用新型涉及烤漆装置领域,具体为一种新能源汽车零配件用烤漆装置,包括底座,所述底座的顶端左侧和右侧均固定连接有定位架,所述定位架的内侧分别固定连接有喷漆管和保温管,所述喷漆管的右端贯穿在保温管的左端至右端。本实用新型要解决的技术问题是喷漆隔离保护不足和烤漆热能浪费严重。为了解决上述技术问题,本实用新型提供了一种新能源汽车零配件用烤漆装置,通过喷漆管和喷头的搭配,在保温管的内侧对工件进行喷漆操作,通过定位架与保温管组成的半封闭式喷漆烤漆操作框架,抽气机通过抽气管将保温管内侧空气泵送至排气滤芯中过滤处理,提高该装置的喷漆操作安全性,保障了该装置的安装区域的空气质量。

标签:
新能源
湖南 - 长沙 来源:中冶有色网 2023-03-18
新能源汽车用前横梁支撑架

本实用新型属于支撑架技术领域,涉及一种新能源汽车用前横梁支撑架,包括底座、第一凹槽和第一滑杆,所述第一凹槽开设在底座表面,所述第一滑杆固定连接在第一凹槽内壁,所述第一滑杆表面套接有第一滑套,所述第一滑套侧面固定连接有第一连接块,所述第一连接块表面穿设有销轴。其有益效果是,该新能源汽车用前横梁支撑架,通过升降组件的配合,当人们需要调整支撑台的高度时,人们只需要通过控制开关控制第一电机运作,带动第一螺纹柱转动,在第一螺纹帽、第一滑套、伸缩支架和第二滑套的配合下,得以带动支撑台上下移动,当支撑台移动至合适的位置时,人们即可通过控制开关控制第一电机停止运作,方便了人民调整支撑台的高度。

标签:
新能源
湖南 - 长沙 来源:中冶有色网 2023-03-18
新能源电动汽车快充报文数据采集端

本实用新型公开了一种新能源电动汽车快充报文数据采集端,涉及新能源电动汽车充电接口技术领域。本实用新型包括转接口主体,转接口主体的上端固定有接线端主体,转接口主体的内部安装有电源组件和通讯组件,电源组件用于电源导线的连接,通讯组件用于通讯导线的连接。本实用新型通过转接口主体、接线端主体、电源组件和通讯组件的结构设计,能有效的获取快充充电时,充电桩与车辆之间的通讯的数据报文,能够从报文中解析出充电故障的原因,为维修充电故障带来了极大的方便,而且,不破坏原充电系统的线路设施,不增加高压电泄露危险,提升了使用的便捷性和安全性。

标签:
新能源
湖南 - 长沙 来源:中冶有色网 2023-03-18
基于智能芯片的新能源汽车充电线自动回收装置

本发明涉及芯片应用的技术领域,且公开了一种基于智能芯片的新能源汽车充电线自动回收装置,包括外壳一和外壳二,所述外壳一的内部固定连接有接收芯片,外壳一的内部固定连接有蜂鸣器,外壳一的内部固定连接有支撑杆,支撑杆的外部活动连接有驱动器;通过外壳一、接收芯片、蜂鸣器、支撑杆、驱动器、感应组件、触点、接触杆之间的相互作用下,可以使得当使用者在进行充电操作时,可以通过结构之间的传动避免充电器未和车辆完全结合而造成的未进行充电状态,利于插拔的方便,并且可以通过操作终端来使得操作者操控接收芯片,这样就了可以让使用者随意调控充电的时间,避免了由于长时间的充电造成他人无充电器使用。

标签:
新能源
湖南 - 长沙 来源:中冶有色网 2023-03-18
新能源多机接入弱电网的两带阻滤波器高频振荡抑制方法

本发明公开了新能源多机接入弱电网的两带阻滤波器高频振荡抑制方法,主要包括引入带阻滤波器的公共耦合点电压前馈、引入带阻滤波器的网侧电感电流反馈和电流内环PR控制三个部分。该方法相当于在并网逆变器的输出阻抗并串联虚拟阻抗。在基频处,并联虚拟阻抗呈现高阻抗,串联虚拟阻抗呈现低阻抗,使得基波电流流入电网;在高频处,并联虚拟阻抗呈现低阻抗,串联虚拟阻抗呈现高阻抗,使得高频谐波电流流入并联虚拟阻抗支路。该方法有效地抑制逆变器谐波电流流入电网,提高了并网逆变器的抗干扰能力,从而避免谐波谐振现象发生。

标签:
新能源
湖南 - 长沙 来源:中冶有色网 2023-03-18
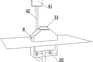
方便清理雨雪的汽车新能源充电桩用防护装置

本实用新型公开了一种方便清理雨雪的汽车新能源充电桩用防护装置,包括底座、充电桩本体和顶板,所述底座的上方设置有充电桩本体,且充电桩本体的左右两侧均设置有防护板,并且防护板的内壁上连接有连接杆,所述隔板的上端通过第二弹力弹簧与固定板相连接,且固定板设置于顶板的内部,所述竖板的底部连接有第三弹力弹簧。该方便清理雨雪的汽车新能源充电桩用防护装置,设置有第一挡板和第二挡板,且第一挡板通过连接块和第二挡板构成滑动结构,这样便于对充电桩本体的前侧进行防护,而且在充电桩本体侧面撞击时,可以使第一挡板和第二挡板之间进行滑动收缩,不影响防护板的移动,进一步保证了对充电桩本体的有效防护。

标签:
新能源
湖南 - 长沙 来源:中冶有色网 2023-03-18
面向新能源应用的直流电能生成电路

本发明公开了一种面向新能源应用的直流电能生成电路,当所述输入交流电压在高压范围时,将所述整流电路的输出电压降低后得到所述直流电能生成电路的输出电压;当所述输入交流电压在低压范围时,将所述整流电路的输出电压直接作为直流电能生成电路的输出电压,以使得所述输入交流电压在高压范围和在低压范围时,所述交流‑直流电压的输出电压接近。本发明所述的直流电能生成电路减小了所述直流电能生成电路的输出电压范围,有利于优化和选择后级功率器件,尤其在新能源应用方面有明显的优势。

标签:
新能源
湖南 - 长沙 来源:中冶有色网 2023-03-18
新能源工程类车辆动作执行电机

本发明涉及执行电机技术领域,且公开了新能源工程类车辆动作执行电机,包括减速器、电机和编码器,减速器背面与电机正面固定连接,电机的传动轴与减速器的输入端通过轴键结构连接,减速器正面的输出端连接有输出轴,电机背面开设有螺纹孔且螺纹连接有编码器,电机背面设有与传动轴同步转动的定位销,且定位销与编码器的输入端连接,通过减速器的设置,减速器采用低压12‑72V直流电机,电压与目前市场上新能源的动力系统完全匹配,且增加减速器,增加传动效率,降低电机的功率,同时采用编码器,使用脉冲方式,使中央控制系统可以准确的读取电机的转动圈数,从而该参数进行准确设置,从而保证动作执行的准确性,整体结构紧凑。

标签:
新能源
湖南 - 长沙 来源:中冶有色网 2023-03-18
新能源空气调节装置
新能源空气调节装置 1184     
 0

本发明公开了一种新能源空气调节装置,包括追光收集设备、集热器、通风设备和风力驱动设备,追光收集设备上设有集光机构,集光机构包括光照强度传感器、第一控制器和遮光板,其中,光照强度传感器,用于检测太阳光的光照强度;第一控制器分别与光照强度传感器和遮光板电连接,用于根据光照强度传感器检测到的太阳光的光照强度,调整遮光板的透明度,以使集热器内的温度保持恒定。本发明提供的新能源空气调节装置,充分利用太阳热能和风能、绿色节能环保;热能收集效果佳、控温效果好。

标签:
新能源
湖南 - 长沙 来源:中冶有色网 2023-03-18
新能源汽车动力电池回收的干燥装置

本实用新型属于电池回收技术领域,涉及一种新能源汽车动力电池回收的干燥装置,包括底座、支撑架和箱体,还包括干燥箱,所述支撑架固定连接在底座上表面,所述箱体固定连接在支撑架内部,所述干燥箱固定连接在箱体内部。其有益效果是,该新能源汽车动力电池回收的干燥装置,通过设置吸水棉,在吸水棉的作用下,将干燥过程中产生的水分和湿气吸附,当人们需要更换吸水棉时,人们只需要转动转把,从而带动螺纹柱转动,在螺纹柱和螺纹帽的配合作用下,从而带动压板向上移动,即可对吸水棉进行更换。

标签:
新能源
湖南 - 长沙 来源:中冶有色网 2023-03-18
升降式汽车新能源用维修平台

本实用新型公开了一种升降式汽车新能源用维修平台,包括固定架、多节电动升缩杆和伺服电机,所述固定架内部贴合设置有限位板,且限位板分别安装在维修平台架体的左右两侧,所述多节电动升缩杆螺栓固定在固定架的上侧,且多节电动升缩杆的下端与限位板固定连接,所述维修平台架体内侧的左右两侧分别设置有左调节板和右调节板,且左调节板和右调节板的前后两端分别焊接连接有调节块和限位块。该升降式汽车新能源用维修平台车轮分别位于不同位置的支撑板上,在对车辆的高度进行调节时,汽车自身的重量压动支撑板,使得支撑板下移,将车轮陷入左调节板和右调节板内的凹槽中,对车辆进行限位,稳定的对车辆进行维修。

标签:
新能源
湖南 - 长沙 来源:中冶有色网 2023-03-18
基于新能源领域的设有散热装置的充电桩

本实用新型公开了一种基于新能源领域的设有散热装置的充电桩,其结构包括充电枪、刷卡感应器、警报器、显示器、发声孔、电子信息板、散热器、底座、接线器、导线、除尘装置,本实用新型一种基于新能源领域的设有散热装置的充电桩,结构上设有除尘装置,底座与除尘装置的下表面相焊接,通过启动减速电机来带动连接杆移动,从而连接杆带动焊接杆移动,从而焊接杆带动移动杆移动进而移动杆带动清扫器在散热器上进行清扫从而将灰尘清扫下来盛放在盛灰槽中,通过除尘装置可以清除散热装置上的灰尘从而大大提高散热速度。

标签:
新能源
湖南 - 长沙 来源:中冶有色网 2023-03-18
新能源汽车电池管理系统数据采集存储系统

本实用新型提供了一种新能源汽车电池管理系统数据采集存储系统,包括供电装置、微处理器、RTC时钟、SD卡存储器、CAN报文信号采集装置、BMS电源电压监控装置和BMS继电器状态监控装置,供电装置分别与微处理器、RTC时钟、SD卡存储器、CAN报文信号采集装置、BMS电源电压监控装置和BMS继电器状态监控装置单向连接,微处理器分别与CAN报文信号采集装置、BMS电源电压监控装置、BMS继电器状态监控装置、RTC时钟双向连接,微处理器与SD卡存储器单向连接,CAN报文信号采集装置、BMS电源电压监控装置、BMS继电器状态监控装置分别与电池管理系统单向连接。本实用新型结构简单,使用方便,数据采集读取简单,成本低。

标签:
新能源
湖南 - 长沙 来源:中冶有色网 2023-03-18
新能源电池托盘用6系铝合金型材及其加工方法

本发明属于铝合金加工技术领域,公开了一种新能源电池托盘用6系铝合金型材,由以下重量份的组分组成:Si,0.75‑0.88%;Mg,0.90‑1.05%;Cu,0.55‑0.65%;Fe≤0.20%;Mn<0.25%;Cr<0.1%;Zn<0.02%;Ti<0.1%;余量为Al。本发明还公开了一种新能源电池托盘用6系铝合金型材的加工方法,包括如下步骤:配料,精炼、扒渣、过滤,浇注,均质,挤压。与相关技术相比,本发明通过合金成分设计,在常规中低强度的6系和高强度的2、7系中,设计一种在6系基础上进行合金成分强化的高强度6系铝合金及其生产方法。实现高强度高效率和成本低多重优势。满足了电池托盘对型材本身力学性能的基本要求。采用6系高强铝合金,有效降低了挤压生产成本,大幅提升了生产效率。

标签:
新能源
湖南 - 长沙 来源:中冶有色网 2023-03-18
用于新能源客车电池防护的防撞装置

本实用新型涉及客车电池防护设备技术领域,且公开了一种用于新能源客车电池防护的防撞装置,包括第一车身骨架和第二车身骨架,第一车身骨架的顶部固定安装有第一钢板,第一钢板和第一车身骨架的内部均开设有第一螺纹孔,第一螺纹孔的内部螺纹套接有第二螺栓,第二螺栓的一端穿过第一螺纹孔并延伸至第一钢板左侧的外部。该用于新能源客车电池防护的防撞装置,通过设置第一钢板、方钢和第二钢板,由于第一钢板、方钢和第二钢板之间的配合,将会对车体内部的电池起到有效的保护作用,以免客车电池受到碰撞而发生事故,同时由于第一钢板、方钢和第二钢板结构简单,从而有利于大规模的生产加工,因此增加了该防撞装置的实用性。

标签:
新能源
湖南 - 长沙 来源:中冶有色网 2023-03-18
便于新能源汽车停放充电基站

本实用新型提供一种便于新能源汽车停放充电基站,涉及新能源技术领域,包括主体、充电枪和保护装置,主体的内壁滑动连接有充电枪,保护装置位于主体的表面设置,保护装置包括保护道,保护道靠近充电枪的一侧与主体的表面固定连接,保护道的内壁滑动连接有保护把,保护把位于主体的一侧设置,保护把的表面固定连接有保护膜,保护膜靠近充电枪的一端通过扭转弹簧与主体的内壁转动连接。本实用新型,通过设置保护装置,便于将主体进行保护,进而避免大多设备为露天放置,设备在使用过程中易受雨水或灰尘干扰,存在影响设备使用的情况,进而降低设备的故障率,提高设备的使用寿命,降低设备的维护成本。

标签:
新能源
湖南 - 长沙 来源:中冶有色网 2023-03-18
测试方法、通讯基站、新能源发电站、直流电力系统、人工智能机器人、智能家居、智能电动车

直流电源电路上的二极管的测试方法,被测电路包括一个直流电源(BAT)、待测二极管(D3),待测二极管(D3)的负极与直流电源的高压极相连,硬件基础具有如下特征:包括限流器(FR)、自举模块(ZJMK)、采样模块(CYMK)、开关(K1)、程控模块(CKMK)。通讯基站、新能源发电站、直流电力系统、人工智能机器人、智能家居、智能电动车,具有前叙的测试电路。本发明成本低廉、应用灵活、使用寿命长、不易损坏、稳定可靠、可以在直流电源运行的情况下利用直流电源的电能测试‘正极与直流电源的高压极相连的二极管’是否存在断路。

标签:
新能源
湖南 - 长沙 来源:中冶有色网 2023-03-18
新能源汽车用电缆材料及其制备方法

本发明公开了一种新能源汽车用电缆材料,属于电缆材料制备技术领域,包括以下原料:聚氯乙烯树脂、SEBS橡胶树脂、丁苯橡胶、PVC树脂、聚磷酸铵、氢氧化铝、氢氧化镁、含硅氢基、纤维素醚、炭黑N330、玻璃纤维、硅酸钠、氯化石蜡、二甲基硅油、膨胀蛭石、改性耐热剂、乙烯基三乙氧基硅烷、促进剂TMDT、氧化锌、硬脂酸、防老剂RD、硅烷偶联剂A187、四溴双酚A;所述的新能源汽车用电缆材料是经过制备基料,制备改性料后将主料和改性料混合后制得。本发明制备得到的电缆料具有优异的耐热性能。

标签:
新能源
湖南 - 长沙 来源:中冶有色网 2023-03-18
废轮胎热解制新能源加热空气干化污水厂污泥工艺及设备

一、用热解炉将废轮胎热解制新能源(燃油、可燃气)。二、用新能源(高热值)送进空气加热炉将常温空气加热到280‑320℃。三、将高温热风送进热风干化炉逐层干化。同时将污泥干化产生含水蒸汽有机臭气送入冷凝器、气水分离器分离后有机臭气再送入空气加热炉与燃油、可燃气高温焚烧,多余气送入余热锅炉生产蒸气。四、空气加热炉排出含有微细颗粒物尾气送入袋式除尘机。经离心引风机(I)送进净化塔I、II,进入净化塔I、II尾气与向塔内输进的净化剂中和。最后由离心引风机(II)排空。五、附产炭黑、生态水泥料、农用有机肥。

标签:
新能源
湖南 - 长沙 来源:中冶有色网 2023-03-18
便于安装维修的新能源汽车电气装置

本实用新型公开了一种便于安装维修的新能源汽车电气装置,包括箱体,其特征是:所述箱体两侧分别固定连通对应的滑槽盒一侧,所述箱体相对一侧上部分别固定连接对应的安装块一一侧,所述箱体一侧上部固定连接安装块二一侧,所述箱体一侧下部固定连接安装块三一侧,所述箱体内下侧中部固定连接丝杠槽下侧,所述丝杠槽两端分别固定连接所述箱体内一侧,本实用新型涉及汽车配件技术领域,具体地讲,涉及一种便于安装维修的新能源汽车电气装置。本装置可以实现将充电机放置在承载板上侧,在无需使用时,通过防尘盖配合箱体对充电机进行保护,在需要维修时,通过承重板将充电机升出,便于后续的维修。

标签:
新能源
湖南 - 长沙 来源:中冶有色网 2023-03-18
新能源场站电能质量闭环控制的检测装置

本实用新型公开了一种新能源场站电能质量闭环控制的检测装置,属于检测设备领域,包括设置在新能源场站并网点的检测装置,检测装置包括检测主体和防护槽体,防护槽体套设在检测主体外,槽体半埋入地面,检测主体与防护槽体装配后的顶部左右两侧为斜面;检测主体的顶部设置有把手;防护槽体的内底部与伸缩杆的缸体固定连接,伸缩杆的推杆与检测外壳的底部固定连接;伸缩杆沿检测外壳的长度方向均匀设置为两组;检测主体和防护槽体通过螺栓固定连接,检测主体和防护槽体上设置有相匹配的螺纹通孔;通过本实用新型可以减弱风沙、盐雾、潮湿、降雨、露水等环境对于检测装置使用寿命的影响,延长使用寿命;十分便于维修和更换。

标签:
新能源
湖南 - 长沙 来源:中冶有色网 2023-03-18
散热抗震型新能源电池防护箱

本实用新型公开了一种散热抗震型新能源电池防护箱,包括防护箱底板和防护箱侧板,防护箱侧板固定安装在防护箱底板的上表面,支撑板通过减震座架设在防护箱底板的上表面,电池储放箱放置在支撑板的上表面,且电池储放箱的侧板均通过限位板限位固定,防护箱侧板的侧板上加工有滑孔,滑孔内滑动安装有导向杆,导向杆的另一端与限位板的外侧壁表面固定连接,导向杆上还套设有压缩弹簧,防护箱底板的中部上表面还安装有气流箱,气流箱的内部设置有空气泵,气流箱的底部通过进气管与防护箱外部的进气口相连通。本实用新型结构简单,设计合理,散热效果好,同时具有良好的抗震性,提高了新能源电池使用的安全性,具有很高的实用价值。

标签:
新能源
湖南 - 长沙 来源:中冶有色网 2023-03-18
新能源汽车驱动电机用铷铁硼磁性材料及制备方法

本发明提供了一种新能源汽车驱动电机用铷铁硼磁性材料及制备方法,以氧化铷、三氧化二铁、氧化硼为主要原料,先将它们混合研磨制成混合粉末,然后将所得混合粉末与碳酸镁、碳酸锶、乙烯基双硬脂酰胺混合均匀,加热加压得到预制料,接着将预制料粉碎后与乙烯基三乙氧基硅烷混合球磨,然后一并倒入甲基硅树脂的甲苯溶液中,制成预混料,挤压成型制成生坯,最后将生坯于硅酸钠溶液中浸渍处理,取出后高温烧结得到一种铷铁硼磁性材料。本发明的铷铁硼磁性材料电阻率大,有效减少磁性能涡流损耗,适用于新能源汽车驱动电机。

标签:
新能源
湖南 - 长沙 来源:中冶有色网 2023-03-18
上一页 12 13 14 15 16 ... 21 下一页
共21页    到第

中冶有色为您提供最新的湖南长沙有色金属新能源材料技术理论与应用信息,涵盖发明专利、权利要求、说明书、技术领域、背景技术、实用新型内容及具体实施方式等有色技术内容。打造最具专业性的有色金属技术理论与应用平台!

全国热门有色金属设备推荐
展开更多 +
全国热门有色金属技术推荐
展开更多 +

 

江西省隆恩特环保设备有限公司
宣传

报名参会
更多+

报告下载

有色专家
更多+

矿冶科技集团有限公司
所长/研究员级高工
矿冶科技集团有限公司工程公司
副总经理
石家庄铁道大学
团委书记/副教授
赣州有色冶金研究所有限公司
副主任/高级工程师
西安建筑科技大学
院长/教授
赤泥综合利用研究报告2025
推广

热门技术
更多+

推荐企业
更多+

福建省金龙稀土股份有限公司
宣传

发布

在线客服

公众号

电话

顶部
咨询电话:
010-88793500-807