青岛垚鑫智能科技有限公司
宣传

位置:北方有色 >

有色技术频道 >

> 新能源材料技术

分类:
全部
矿山技术
冶金技术
材料制备及加工技术
环境保护技术
分析检测技术
 
全部
功能材料技术
复合材料技术
新能源材料技术
合金材料技术
加工技术
地区:
全部
北京
天津
上海
重庆
河北
山西
辽宁
吉林
黑龙江
江苏
浙江
安徽
福建
江西
山东
河南
湖北
湖南
广东
海南
四川
贵州
云南
陕西
甘肃
青海
内蒙
广西
西藏
宁夏
新疆
其他
其他
展开
 
全部
南京
无锡
徐州
常州
苏州
南通
连云港
淮安
盐城
扬州
镇江
泰州
宿迁

江苏苏州有色金属新能源材料技术理论与应用

免费发布技术信息>>
新能源汽车电芯贴胶设备

本发明公开了一种新能源汽车电芯贴胶设备,包括设备主体、输送带、废料箱与贴合工位,所述贴合工位位于设备主体的内部,所述输送带贯穿贴合工位的位置,所述贴合工位的上端安装支撑架、定位底板与安装支架,所述贴合工位的后端安装有上料箱、上料机构、料带与防护架,所述贴合胶料的两侧固定连接有料带。本发明所述的一种新能源汽车电芯贴胶设备,设有电芯定位机构、胶带吸附机构与胶带裁切机构,能够方便更好对汽车电芯进行定位操作,防止在贴胶时出现活动的情况,工作更加稳定,增加贴胶效果,还可以方便对胶带进行吸附与裁切操作,自动一体化程度更高,减少人工,增加工作效率,带来更好的使用前景。

标签:
新能源
江苏 - 苏州 来源:北方有色网 2023-03-18
基于热成型工艺的新能源汽车动力电池壳体生产方法

本发明揭示了基于热成型工艺的新能源汽车动力电池壳体生产方法,包括以下步骤:S1、初次加热;S2、初次镀覆;S3、二次镀覆;S4、二次加热;S5、模压成型。本发明通过热成型工艺生产新能源汽车动力电池壳体,与现有技术中的铸造钣金和铝合金型材拼接焊工艺相比,在保证相同的强度的前提下,可大幅减少壳体的质量,可实现轻量化,从而可减少车辆的自重,减少能源消耗;通过二次镀覆,可大幅提升壳体的各种性能,包括抗腐蚀性、散热性、耐高温性、耐水性和强度稳定性,可对动力电池进行较为全面的保护,提升车辆性能。

标签:
新能源
江苏 - 苏州 来源:北方有色网 2023-03-18
新能源汽车轻质耐用电机壳制造工艺

本发明公开了一种新能源汽车轻质耐用电机壳制造工艺,包括步骤:浇铸:熔化后浇铸;浇铸后及时向冒口补充铝液以补缩,得到带有砂芯的电机壳;开箱清理:用风铲清理型砂、砂芯,去毛刺,打磨,喷丸处理,喷砂处理,或者按要求补焊;一次热处理:T1热处理工艺处理,得热处理铸件;辅助热冲压:热处理铸件加热后通入预先设定的冲压凹模、凸模冲压;淬火:对热冲压后的热处理铸件淬火;车削精加工:得到半成品电机壳;二次热处理:对精加工的半成品电机壳进行T6热处理,得成品。本发明的工艺一改传统的电机壳浇铸制造工艺,得到的成品铝合金电机壳机械性能优异,强度提高15%以上,疲劳强度提高20%以上,耐磨性佳,作为新能源电机壳,轻质耐用。 1

标签:
新能源
江苏 - 苏州 来源:北方有色网 2023-03-18
新能源汽车驱动电机故障判断方法

本发明公开了一种新能源汽车驱动电机故障判断方法,其特征在于,该方法包括以下步骤:获取电机U、V、W三相线的电流IU、IV、IW;判断三相电流的矢量和等式IU+IV+IW=0是否成立,若等式成立则不存在故障,若等式不成立则计算每相电流的误差度δ1、δ2、δ3;依据标定的三相电流误差度故障阈值θ,与所述每相电流的误差度做出比较,若三相电流误差度中最大值达到标定的故障阈值θ,则报出故障,并停车检查,排除故障。若误差度均未超过故障阈值θ,则不报故障。本发明提供一种新能源汽车驱动电机故障判断方法,针对电机接线柱螺栓松动、绕组短路、断路等故障情况提出一种无成本增加的,简单高效的判断方法。

标签:
新能源
江苏 - 苏州 来源:北方有色网 2023-03-18
新能源高压线用高阻燃复合材料及其制备方法

本发明涉及一种新能源高压线用高阻燃复合材料,按重量份计,所述高阻燃复合材料的原料配方包括:聚乙烯树脂5~25份;聚烯烃弹性体25~50份;乙烯‑醋酸乙烯共聚物30~50份;氯化聚乙烯8~20份;复合阻燃剂30~60份;耐磨阻燃协效剂0.2~15份;抗氧剂0.7~2.5份;润滑剂1~2份;交联敏化剂1.5~3份。本发明通过改进配方,如采用双峰聚乙烯和高熔融指数高密度聚乙烯的混合物作为聚乙烯树脂、氯化聚乙烯作为改性剂,添加聚烯烃弹性体和乙烯‑醋酸乙烯共聚物,同时辅助添加复合阻燃剂、阻燃协效剂、抗氧剂等物质,使得本发明复合材料具有更优良的阻燃性能,可通过UL94 V0等级燃烧,同时保留了汽车高压线料的柔软性、耐高温性、耐油性、阻燃性等特点,且挤出工艺性能优异。

标签:
新能源
江苏 - 苏州 来源:北方有色网 2023-03-18
新能源锂电池铝支架的铆钉铆接工艺

本发明涉及新能源锂电池铝支架的铆钉铆接工艺,属于新能源技术领域。设置有铝支架,所述铝支架设置有多个对称放置的主板,以及位于所述主板两端的侧板,所述主板上设置有多个散热孔,所述主板的左右两侧分别设置有通过折弯形成的侧边,所述主板的底部设置有通过折弯形成的支撑底板,所述侧边上设置有多个连接通孔,所述侧板上设置有多个通过冲压形成的冲压孔,将铆钉插入到连接通孔与冲压孔中,通过铆钉枪将铆钉铆接到连接通孔与冲压孔中。本发明的有益之处是:通过设置铝支架以替换传统的铁支架,有效的减轻了重量,通过铆接技术实现了铝支架的铆钉连接,取代了传统的用螺栓和螺母连接的做法,不仅生产过程更简单,还节约了成本。

标签:
新能源
江苏 - 苏州 来源:北方有色网 2023-03-18
新能源汽车风扇模具
新能源汽车风扇模具 862     
 0

本发明公开了一种新能源汽车风扇模具,包含由上到下依次设置的顶板、分流板、上模板、下模板和底座;顶板上设置有进料口,分流板中设置有电热分流器,电热分流器上设置有电源接口以及向下的分流柱;上模板与下模板之间装配有连接块和锁紧块,上模板的下表面上设置有上模芯,下模板的上表面设置有下模芯,上模芯与下模芯组合形成型腔;上模板的上表面设置有与分流柱配合的分流孔,上模芯的周侧设置有多个配合凹槽,下模芯的周侧设置有多个配合凸块;本发明的新能源汽车风扇模具,满足工业化生产的要求,生产效率高;通过本方案的模具生产出的汽车风扇,产品质量好,表面光滑,不会产生气泡,具有更好的强度,和更长的使用寿命。

标签:
新能源
江苏 - 苏州 来源:北方有色网 2023-03-18
新能源汽车抑制驾乘人员晕车的控制方法

本发明公开了一种新能源汽车抑制驾乘人员晕车的控制方法,优化了新能源汽车的电机控制逻辑,并通过各种参数的反馈、对比、计算,来精准的驱动车辆加速度以及在车辆定速巡航时抑制路面摩擦、风阻等带来的扰动,抑制引发人员晕车的物理因素影响,从而明显提升驾乘人员的舒适感。

标签:
新能源
江苏 - 苏州 来源:北方有色网 2023-03-18
新能源汽车电池充电装置

本发明公开的一种新能源汽车电池充电装置,包括充电柜,所述充电柜内设有开口朝右的充电腔,所述充电腔上壁连通设有开口朝上的更换腔所述充电腔左壁内连通设有伸缩腔,所述伸缩腔内左右滑动设有伸缩块,所述伸缩块内设有开口朝右的充电芯滑槽,本发明为一种新能源汽车电池充电装置,其中设有可调节正负极间距的插头,可以不同品牌电池进行充电,还包括插头清洗装置,能够在每次使用前对插头进行清洁,且在清洁的过程中同时对插头弯曲形变程度进行检测,当检测出插头弯曲时,可自行对插头进行更换,防止由于接口处接触不良而发热导致电能浪费,亦可避免失火、漏电等安全隐患。

标签:
新能源
江苏 - 苏州 来源:北方有色网 2023-03-18
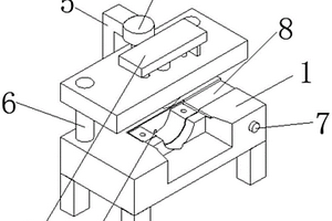
新能源汽车水冷电机壳的铣面装置

本申请公开了一种新能源汽车水冷电机壳的铣面装置,涉及电机壳加工技术领域。在本申请中,新能源汽车水冷电机壳的铣面装置,夹持台面和进刀台面相邻设置有落料口;在夹持台面上固定安装有能够对工件进行固定夹持的夹持装置;在进刀底板的上表面固定安装有第二旋转电机,在进刀底板的一侧一体设置有锯片轴连接架,在锯片轴连接架的内部活动连接有锯片轴,锯片轴的外周固定安装有两个对称的第一锯片能够对工件进行铣面加工,且在一个第一锯片的外侧固定安装有第二锯片,第二锯片的直径大于第一锯片的直径。本实用新型用于解决现有技术中电机壳铣面时固定不牢固,每次只能进行单头铣面,需要重复拆装,以及铣面后废料无法快速集中回收的问题。

标签:
新能源
江苏 - 苏州 来源:北方有色网 2023-03-18
新能源高低温循环恒温机

本实用新型公开了一种新能源高低温循环恒温机,包括底座,所述底座下端面对称固定连接有限位板,所述限位板左右端面通过转轴转动连接有滚轮,所述底座上端面固定连接有箱体,所述箱体上端面前边缘处固定连接有控制箱,所述控制箱前端面设置有控制屏,所述箱体内腔上部固定连接有过滤箱,所述过滤箱上端面通过固定块固定连接有空气压缩机,所述箱体上端面中部设置有进气口,所述进气口固定连通空气压缩机,所述箱体后端面通过安装块固定连接有循环泵。本实用新型涉及恒温机技术领域。该新能源高低温循环恒温机。解决了现有恒温机不便搬运移动,不便对空气压缩机产生的高温气体进行过滤其内部水汽与腐蚀性物质的问题。

标签:
新能源
江苏 - 苏州 来源:北方有色网 2023-03-18
新能源汽车电池电芯测试的同轴探针

本实用新型公开了一种新能源汽车电池电芯测试的同轴探针,包括电流针、电压针、外弹簧、绝缘外壳和下连接线束,所述电流针内设置有空腔,所述电压针设置在空腔内,所述绝缘外壳活动套接在电流针上,所述电流针包括电流针头端和电流针杆端,所述电流针头端端面设置为齿状接触,所述电流针头端和电流针杆端连接,所述电流针杆端套接有外弹簧,外弹簧的一端与电流针头端接触,另一端与绝缘外壳接触。本实用新型所提供的新能源汽车电池电芯测试的同轴探针,电流针采用分体式设计,电流针针头端与针杆端为紧配组装,且针头采用齿状接触增加接触面积和弹簧下压时增加压合强度,保证在测试过程中接触的稳定性,这样在测试时产生的电阻和温度较小。

标签:
新能源
江苏 - 苏州 来源:北方有色网 2023-03-18
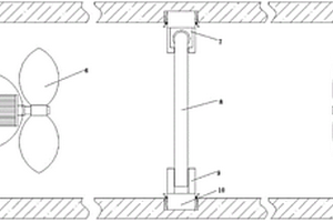
新能源汽车的多电机控制系统

本实用新型公开了一种新能源汽车的多电机控制系统,包括PLC控制器壳体,所述PLC控制器壳体内设置有PLC电源单元、中央处理单元存储器单元和功能模块单元,PLC控制器壳体内设置有风扇电机,风扇电机的一侧设置有主风扇叶片,风扇电机的传动轴自由端固定连接在主风扇叶片的传动轴上,风扇电机的另一侧固定安装有安装板,PLC控制器壳体的一侧内壁上开设有定位槽,安装板设置在定位槽内,所述PLC控制器壳体内还设置有辅助叶片,辅助叶片的传动轴转动安装在轴承座上。该新能源汽车的多电机控制系统中,端盖通过卡接球座在PLC控制器壳体卡接安装,从而方便端盖的取下,进而方便对PLC控制器内部进行定期的检修和维护。

标签:
新能源
江苏 - 苏州 来源:北方有色网 2023-03-18
新能源汽车线束支架模具

本实用新型公开了一种新能源汽车线束支架模具,包括工作板台、成型结构、冲压结构和推出结构;工作板台:其后端壁体上设置有力臂;成型结构:分别设置于力臂的前端和工作板台的上端;冲压结构:设置于成型结构的上端;推出结构:设置于工作板台的内部后端;其中:还包括导柱和控制开关组,所述导柱对称设置于工作板台的上表面左右两侧,且于成型结构位置对应,控制开关组设置于工作板台的前端壁体右侧,该新能源汽车线束支架模具,可以使工件快速成型,保证工作效率,便于废料的收集,自动化推出工件,减少操作人员的负担,防止在取料过程中发生意外,还能防止推料时物料偏斜导致工件报废。

标签:
新能源
江苏 - 苏州 来源:北方有色网 2023-03-18
新能源汽车的充电指示灯电路

本申请提供一种新能源汽车的充电指示灯电路,包括红色指示灯电路、绿色指示灯电路和蓝色指示灯电路,红色指示灯电路、绿色指示灯电路和蓝色指示灯电路并联连接,并且均包括:一个整流二极管、一个恒流控制芯片、一个二极管和LED发光二极管电路,整流二极管与恒流控制芯片的输入端连接,恒流控制芯片的输出端与二极管和LED发光二极管电路连接,LED发光二极管电路具有多个LED发光二极管,红色指示灯电路的LED发光二极管为红光LED二极管、绿色指示灯电路的LED发光二极管为绿光LED二极管、蓝色指示灯电路的LED发光二极管为蓝光LED二极管,三个恒流控制芯片分布控制相应的LED发光二极管的通断及亮度,使得能够任意调节所述新能源汽车的充电指示灯的颜色。

标签:
新能源
江苏 - 苏州 来源:北方有色网 2023-03-18
新能源汽车5DH铝合金压铸件

本实用新型公开了一种新能源汽车5DH铝合金压铸件,包括前后主板、左右侧板、上下端板,所述前后主板的内侧上下两端设置有短边定位槽,所述前后主板的内侧左右两侧设置有长边定位槽,所述前后主板的上方表面设置有散热孔,所述散热孔的下端有扩展槽,所述扩展槽的下端设置有电源孔,所述散热孔的外侧设置有滤网安装孔,所述扩展槽的外侧设置有挡板安装孔,所述扩展槽的外表面设置有隔板,所述隔板的表面设置有隐藏槽,所述左右侧板的两侧设置有长边定位块,所述上下端板的两端设置有短边定位块。该一种新能源汽车5DH铝合金压铸件,具有结构合理,提高了产品密实度、实用性能,同时方便组装。

标签:
新能源
江苏 - 苏州 来源:北方有色网 2023-03-18
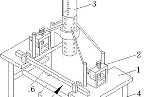
新能源汽车防撞梁弯折测试装置

本实用新型公开了一种新能源汽车防撞梁弯折测试装置,包括固定板、固定机构和测试机构,两组所述固定板并排设置,两组所述固定板的底端均焊接有H字型的支撑杆,支撑杆由两组竖向部和一组连接部一体成型构成,两组支撑杆的连接部之间焊接有两组对称设置的横杆,两组所述固定板的顶端连接有两组固定机构,两组所述固定板的顶端连接有测试机构,两组固定板的顶端还连接有测量机构;所述测试机构包括连接杆、圆管、螺纹管和活动管,所述圆管和两组固定板之间均焊接有两组连接杆,所述圆管的下半部的外周开设有外螺纹。该新能源汽车防撞梁弯折测试装置,不仅能够满足不同的外力的测试,还能进行稳定固定。

标签:
新能源
江苏 - 苏州 来源:北方有色网 2023-03-18
能够智能飞行的新能源巡逻监控用途单片机

本实用新型公开了一种能够智能飞行的新能源巡逻监控用途单片机,括底座和外壳,所述底座的上方设置有支撑机架,所述外壳的下方设置有横向转盘,所述横向转盘的上方设置有运算器,所述控制器的右侧设置有显示器,且显示器的上方设置有存储器,所述存储器的上方设置有螺旋桨,且螺旋桨的左侧设置有太阳能板,所述太阳能板的下方设置有平台,且平台的左侧设置有合页,所述合页的右侧设置有第一滑轮,所述伸缩杆的下方设置有第二滑轮,所述横向转盘的下方设置有纵向转盘,且纵向转盘的内部设置有固定螺栓。该单片机设置有摄像头和螺旋桨,让该单片机具备了飞行和巡逻监控的功能,同时太阳能板的设计让该单片机可以使用新能源,避免了环境污染。

标签:
新能源
江苏 - 苏州 来源:北方有色网 2023-03-18
新能源锂电池外壳用抛光机构总成

本实用新型涉及抛光机构技术领域,且公开了一种新能源锂电池外壳用抛光机构总成,包括固定板,固定板下表面的中间部位固定连接有第一伺服电机,第一伺服电机输出端穿过固定板下表面并且伸入工作腔内部固定连接有转动轴,转动轴顶端固定连接有转动板。该新能源锂电池外壳用抛光机构总成,通过第一伺服电机、转动板、连接板、连接块和限位块的配合作用,可以对电池外壳进行更稳定的夹紧固定,第一伺服电机带动转动板进行转动,通过连接板的连接作用,可以使连接块在限位孔内部进行移动,进而使夹块沿着限位孔进行移动,限位块在限位槽内部进行移动,可以辅助连接块稳定的在限位孔内部进行移动。

标签:
新能源
江苏 - 苏州 来源:北方有色网 2023-03-18
新能源汽车电池极柱清洗包装治具

一种新能源汽车电池极柱清洗包装治具,包括产品清洗治具板和产品包装治具板;产品清洗治具板具体为由若个个矩形框架组成的镂空板,矩形框架内部均匀设置有若干个圆形的产品定位环;产品包装治具板上均匀均匀开设有若干个产品定位槽,同时产品清洗治具板和产品包装治具板上设置有对应的定位机构,产品清洗治具板和产品包装治具板通过定位机构可叠加设置,同时产品清洗治具板上设置的产品定位环与产品包装治具板上设置的产品定位槽在两者叠加时上下一一对应;本方案设计的一种新能源汽车电池极柱清洗包装治具,可快速完成产品的包装,大大提高了产品包装效率,避免浪费人力物力,提高工作效率。

标签:
新能源
江苏 - 苏州 来源:北方有色网 2023-03-18
应用于新能源汽车的防护装置

本实用新型公开了一种应用于新能源汽车的防护装置,属于新能源汽车领域,包括正面挡板,所述正面挡板左右两侧皆固定安装有侧面挡板,所述正面挡板和正面挡板上侧内部皆固定安装有开槽,所述开槽内部皆固定安装有固定杆,所述固定杆内部转动安装有转轴A,所述转轴A内部皆转动安装有橡胶轮,所述侧面挡板下端外壁固定安装有固定块B,所述固定块B下端固定安装有固定块C,所述固定块C下端内部固定安装有滑动槽B,所述滑动槽B内部活动有连杆B。通过设置转动结构、嵌入式滑动结构和谢力结构,提高了防护装置的抗撞击效果。

标签:
新能源
江苏 - 苏州 来源:北方有色网 2023-03-18
用于新能源电池的防盗结构

本实用新型公开了一种用于新能源电池的防盗结构,包括基座、壳体和第一限位组件,基座上设有顶部开口的放置槽,放置槽的侧壁上设有若干个第一限位槽;壳体的第一侧壁中设有第一腔体和第二腔体;第一限位组件包括设于第一腔体内的第一活动板、第一驱动杆和若干个第一限位块,以及设于第二腔体内的第一驱动件;第一驱动杆贯穿第一活动板,二者之间为螺纹连接;各第一限位块的一端与第一活动板相连,另一端与放置槽上的各第一限位槽对应设置;第一侧壁上与各第一限位槽相对的位置处均设有贯通孔;第一驱动件的输出轴与第一驱动杆的一端相连。本实用新型可对新能源电池主体形成防护,避免其直接受到力量冲击,还可方便实现可靠的固定和锁紧。

标签:
新能源
江苏 - 苏州 来源:北方有色网 2023-03-18
新能源汽车尾灯的加强型LED线路板

本实用新型属于新能源汽车车灯的线路板技术领域,具体涉及新能源汽车尾灯的加强型LED线路板,包括金属的线路层、覆盖在线路层正面的正面绝缘层、覆盖在线路层反面的反面绝缘层,其特征在于,所述的正面绝缘层上设有沿柔性线路板长度方向的补强层,所述的反面绝缘层上设有沿柔性线路板长度方向的补强筋,反面绝缘层还设有加强散热的散热条,散热条条体部分嵌在反面绝缘层内,另一部分漏出反面绝缘层外,对柔性线路板的结构进行补强,增强结构强度,提高抗拉扯、撕裂的能力,延长使用寿命。

标签:
新能源
江苏 - 苏州 来源:北方有色网 2023-03-18
新能源汽车客舱节能型自然对流散热器

本实用新型涉及机械设备领域,具体公开了一种新能源汽车客舱节能型自然对流散热器,包括:主板体以及设置在主板体一侧通过螺钉固定连接的金属背板,所述主板体与金属背板之间依次设置有发热板和隔热板,所述发热板至少包括第一发热板和第二发热板,所述第一发热板与第二发热板相接触的一侧设置有若干方槽,所述方槽内镶嵌发热电缆,所述发热电缆与温控开关电性连接,所述主板体远离发热板的一侧设置有若干插板,每个所述插板上均安装有翅片,本实用新型提供的新能源汽车客舱节能型自然对流散热器机械强度高、抗振动、抗热冲击能力强,有利于整体空间的热交换,营造一个舒适的热空间。

标签:
新能源
江苏 - 苏州 来源:北方有色网 2023-03-18
基于Ansys workbench的新能源汽车母牌温度分析方法

本发明公开了一种基于Ansys workbench的新能源汽车母牌温度分析方法,具体步骤如下:步骤一:创建分析项目并定义材料属性:创建分析项目:在Ansys Workbench软件中,双击主界面工具箱中的Thermal‑Electric选项,创建电热耦合分析项目;定义材料属性:双击分析项目的第二行EngineeringData选项,在材料属性界面新建母牌材料并定义材料属性;步骤二:导入并简化新能源汽车控制器母牌的几何模型;在三维数模软件中,将母牌几何数模另存为中立格式文件,另存为stp格式文件。本发明依据仿真结果对母排绝缘层进行选型,节省选型不当造成的损失;同时避免了样件试验验证可能失败带来的样件制作成本、时间成本,大大提高最终样件试验的通过率。

标签:
新能源
江苏 - 苏州 来源:北方有色网 2023-03-18
铜铝合金新能源汽车电池母线排组件及其加工方法

本发明涉及新能源汽车技术领域,具体为一种铜铝合金新能源汽车电池母线排组件及其加工方法,包括母线排本体以及与母线排本体滑动连接的支撑件,母线排本体的中部设置有火线放置仓,火线放置仓的周边设置有若干个成中心对称的零线放置仓,母线排本体的上端通过螺纹旋合连接有散热防护罩,散热防护罩的内部设置有散热器,散热器与所述母线排本体的内部相连通。本发明采用圆形的母线排本体可以大幅度的提升结构强度,将火线和零线分开放置,有效的对导线进行防护,提升使用的安全性,密封的母线排本体可以防止空气进入,同时通过散热防护罩可以对母线排本体进行散热,大大提升母线排本体的使用寿命。

标签:
新能源
江苏 - 苏州 来源:北方有色网 2023-03-18
带有防刮伤功能的新能源电池生产用传送托盘

本发明公开了新能源电池技术领域的一种带有防刮伤功能的新能源电池生产用传送托盘,包括托盘本体,所述托盘本体的前后两侧均设置有防撞块,所述托盘本体的底部内壁上均匀设置有凹槽,且凹槽沿前后方向设置,所述托盘本体的底部内壁上贴合有电池组本体,所述托盘本体的两侧均开设有通槽,且托盘本体底部内壁的高度高于所述通槽底部内壁的高度,通过在托盘本体上设置有凹槽,可以有效电池组本体与托盘本体的接触面,进而可以实现防刮伤的作用,且凹槽、通槽和流通槽的配合,使得电池组本体在传送时,电池组本体与限位板、限位杆和托盘本体底部内壁之间因碰撞摩擦产生的热量可以从多通道流走,进而保证了电池组本体传送时的安全性。

标签:
新能源
江苏 - 苏州 来源:北方有色网 2023-03-18
新能源汽车线用辐照交联无卤阻燃聚烯烃材料及其制备方法和应用

本发明公开了一种新能源汽车线用辐照交联无卤阻燃聚烯烃材料及其制备方法和应用,其原料包括:基础树脂、相容剂、无卤阻燃剂、抗氧剂、助交联剂,基础树脂包括SEBS、聚苯醚、线性低密度聚乙烯树脂、乙烯‑醋酸乙烯共聚物、乙烯基硅橡胶和三元乙丙橡胶,SEBS为充油型SEBS;制备时,可以先分别制成聚苯醚母粒、阻燃母粒,然后与其他原料混合挤出制成;该材料能够同时满足轻量化、耐水、耐油以及耐溶剂的需求,并且能够用于生产大平方(导体面积≥6.0 mm2)新能源汽车车内高压电线。

标签:
新能源
江苏 - 苏州 来源:北方有色网 2023-03-18
新能源汽车太阳能空调制冷装置

本发明涉及新能源汽车技术领域,公开了一种新能源汽车太阳能空调制冷装置,包括光伏组件、储能装置、直流变频器、智能控制器、空调压缩机、空调出风口等部件;光伏组件与储能装置电气连接,将太阳能转化成电能并存储;储能装置、智能控制器分别与直流变频器电气连接,储能装置给直流变频器提供电能,智能控制器给直流变频器提供控制信号;直流变频器与空调压缩机电气连接,直流变频器驱动空调压缩机的启动、停止;空调压缩机与空调出风口通过管道连接。光伏组件与车身顶盖相适配,安装方式简单,便于维护;利用太阳能,采用直流变频控制技术,空调能效比高,更节约电能;采用CAN总线技术,电气连接更简单、可靠。

标签:
新能源
江苏 - 苏州 来源:北方有色网 2023-03-18
新能源平衡车中心罩的注塑模具

本实用新型公开了一种新能源平衡车中心罩的注塑模具,包括注塑模具本体,注塑模具本体包括下模体,下模体的顶端连接有密封胶垫,下模体的顶端连接有上模体,下模体的内部嵌入连接有产品本体,下模体的内部嵌入连接有脱模组件,脱模组件包括第一模台,下模体的内部嵌入有第一模台,下模体的内部嵌入连接有第二模台,第二模台的顶端一侧连接有护条,所述下模体的上边缘连接有限位块,本实用新型一种新能源平衡车中心罩的注塑模具辅助产品进行脱模,其中接触面积大降低局部接触对产品表面造成的损伤,另外产品和第一模台之间更加的吻合,使之产品整个接触面都能受力,在面临产品沾附较为严重时依旧有较大的操作空间,降低对产品的损伤。

标签:
新能源
江苏 - 苏州 来源:北方有色网 2023-03-18
上一页 81 82 83 84 85 ... 99 下一页
共99页    到第

北方有色为您提供最新的江苏苏州有色金属新能源材料技术理论与应用信息,涵盖发明专利、权利要求、说明书、技术领域、背景技术、实用新型内容及具体实施方式等有色技术内容。打造最具专业性的有色金属技术理论与应用平台!

全国热门有色金属设备推荐
展开更多 +
全国热门有色金属技术推荐
展开更多 +

 

江西省隆恩特环保设备有限公司
宣传

报名参会
更多+

报告下载

有色专家
更多+

矿冶科技集团有限公司
中国工程院院士
武汉科技大学
校学术委员会主任 / 教授
长沙矿冶研究院有限责任公司
中国工程院院士
昆明理工大学
教授
辽宁忠旺集团
教授级高工
赤泥综合利用研究报告2025
推广

热门技术
更多+

推荐企业
更多+

福建省金龙稀土股份有限公司
宣传

发布

在线客服

公众号

电话

顶部
咨询电话:
010-88793500-807