青岛垚鑫智能科技有限公司
宣传

位置:北方有色 >

有色技术频道 >

> 新能源材料技术

分类:
全部
矿山技术
冶金技术
材料制备及加工技术
环境保护技术
分析检测技术
 
全部
功能材料技术
复合材料技术
新能源材料技术
合金材料技术
加工技术
地区:
全部
北京
天津
上海
重庆
河北
山西
辽宁
吉林
黑龙江
江苏
浙江
安徽
福建
江西
山东
河南
湖北
湖南
广东
海南
四川
贵州
云南
陕西
甘肃
青海
内蒙
广西
西藏
宁夏
新疆
其他
其他
展开
 
全部
南京
无锡
徐州
常州
苏州
南通
连云港
淮安
盐城
扬州
镇江
泰州
宿迁

江苏苏州有色金属新能源材料技术理论与应用

免费发布技术信息>>
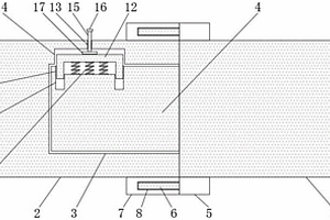
新能源汽车碳纤维电池箱

本实用新型涉及新能源辅助装置技术领域,具体为一种新能源汽车碳纤维电池箱,包括箱体和箱盖,本实用新型在箱体内腔两侧滑槽之间设置支撑板,在支撑板底部焊接有连接块,连接块与滑套通过连接杆相连接,且连接杆与连接块和滑套通过销轴活动连接,使连接杆带动连接套在滑杆上运动,并通过减震弹簧进行减震复位,从而可以有效减少震动对储蓄电池的影响,提高了电池箱的安全性,通过在箱盖上设置电机和风扇,且在箱盖和箱体上开设第一通孔和第二通孔,从而可以很好的将箱体内储蓄电池产生的热量及时排出,保证储畜电池的运行安全,由箱体和箱盖采用碳纤维材质制作,使整个电池箱重量更小,也不易腐蚀,从而有效增加电池箱的实用性和使用寿命。

标签:
新能源
江苏 - 苏州 来源:北方有色网 2023-03-18
新能源汽车电池包的自动翻转试验台

一种新能源汽车电池包的自动翻转试验台,属于节能与新能源汽车技术领域,包括电池包第一支撑座、电池包第二支撑座、X轴旋转平台、Y轴旋转平台、一组捆绑器、一组限位组件、一组压紧组件和电池包,所述X轴旋转平台的两端分别与电池包第一支撑座和电池包第二支撑座连接,所述Y轴旋转平台设置在X轴旋转平台上,所述电池包通过一组捆绑器、一组限位组件和一组压紧组件设置在Y轴旋转平台上。本实用新型的自动翻转试验台,适用于多种电池,不易使电池包脱落,造成危险;通过X轴旋转平台和Y轴旋转平台的双轴旋转运动,能够带动电池包同时进行双向转动,从而能够全方面的进行电池包的翻转试验,试验过程稳定可靠,从而能够获得准确的试验数据。

标签:
新能源
江苏 - 苏州 来源:北方有色网 2023-03-18
用于新能源汽车的分电盒与电缆屏蔽层的连接结构

本实用新型提供了一种用于新能源汽车的分电盒与电缆屏蔽层的连接结构,包括轴套限位法兰,所述轴套限位法兰的中部设有第一容置空间,以及围绕所述第一容置空间的四个侧壁,每个所述侧壁的两侧各设有第一长方形,每个所述侧壁的中部设有第二容置空间,所述第二容置空间的中部设有第二长方形,所述第二长方形的中部设有一个凸起,对目前单片簧片的结构进行了改进,使得电缆屏蔽层具有很好的安装导向性,满足了新能源汽车在线生产时盲装的需求。

标签:
新能源
江苏 - 苏州 来源:北方有色网 2023-03-18
鱼池新能源增氧设备
鱼池新能源增氧设备 768     
 0

本实用新型公开了一种鱼池新能源增氧设备,包括浮板;浮球,固定安装于所述浮板的左右两侧;支撑腿,数量为四个,固定安装于所述浮板的顶端四角;升降机构,设置于所述支撑腿的顶端;挡板,固定安装于四个所述支撑腿的内侧顶端;太阳能板,固定安装于所述升降机构的顶端;蓄电池,固定安装于所述挡板的顶端左侧,且与所述太阳能板电性连接;旋转机构,设置于所述浮板的顶端,第一电机,固定安装于所述挡板的底端中部,且与所述蓄电池电性连接。该鱼池用新能源增氧设备,解决了鱼池增氧设备在设备运行时溅落的水花落在太阳能板上,影响太阳能板的发电效率,改变了增氧设备转板的旋转方式,四个螺旋桨能够在自转的同时一起进行旋转。

标签:
新能源
江苏 - 苏州 来源:北方有色网 2023-03-18
新能源电池模具配件垂直度检查装置

本实用新型提供一种新能源电池模具配件垂直度检查装置。所述新能源电池模具配件垂直度检查装置包括承载台;四个侧边架,四个所述侧边架分别固定安装在所述承载台的外壁上;四个滑动板,四个所述滑动板分别设置在四个所述侧边架的两侧内壁上;四个翻动板,四个所述翻动板分别转动安装在四个所述滑动板的顶部;四个安装板,四个所述安装板分别固定安装在四个所述滑动板的底部,四个所述安装板的顶部均固定安装有电动伸缩杆,四个所述翻动板的底部均滑动安装有转动滑块。本实用新型提供的新能源电池模具配件垂直度检查装置具有操作便捷、提高检查测量的效率、降低测量的误差的优点。

标签:
新能源
江苏 - 苏州 来源:北方有色网 2023-03-18
新能源汽车用HSD全屏蔽型连接器系统

本实用新型公开了一种新能源汽车用HSD全屏蔽型连接器系统,包括线端和板端,所述板端内开设有插槽,所述线端固定连接有插头,线端靠近插头一端外固定套设有第一固定套,第一固定套侧面固定连接有密封框,板端外固定套设有第二固定套,第二固定套侧面内开设有密封槽,密封框连接于密封槽内。该新能源汽车用HSD全屏蔽型连接器系统通过设置限位槽与限位块的配合使用实现线端与板端的稳固连接,限位槽对限位块具有限位作用,通过转动转杆可将限位块从限位槽内推出,从而实现线端与板端的快捷拆装,通过密封槽与密封框提高线端与插槽连接处的密封性,该新能源汽车用HSD全屏蔽型连接器系统结构合理,有效提高装置使用寿命,操作简单,便于使用。

标签:
新能源
江苏 - 苏州 来源:北方有色网 2023-03-18
新能源汽车动力电池的信号采集线束

本实用新型公开了一种新能源汽车动力电池的信号采集线束,涉及新能源汽车线束技术领域,包括第一插接件、防掉落防潮组件、线束组件、固定组件第二插接件,所述第一插接件的一端通过连接件固定安装有线束组件。本方案通过在外部安装有防掉落防潮的防掉落防潮组件,当在新能源汽车日常使用产生震动会导致第一插接件晃动,在晃动过程中,插接端挤压第一安装板和第二安装板,在缓冲弹簧弹力的作用下,对震动起到了良好的缓冲作用的同时不断的挤压气囊,气囊良好的覆盖在插接端的一周,不仅减少了汽车震动产生的缝隙,从而引起的更大程度上的避免水分从缝隙进入插接端,提高了信号采集线束的抗震能力的同时提高了插接端的防潮能力。

标签:
新能源
江苏 - 苏州 来源:北方有色网 2023-03-18
铝材料涂覆的新能源汽车电池连接件

本实用新型公开了一种铝材料涂覆的新能源汽车电池连接件,所述锁合机构设置在所述接电件和所述连接座上;所述解锁组件活动设置在所述接电件上并连接所述锁合机构;所述分离结构设置在所述连接座的外壁上并贴合所述接电件,用于在向所述解锁组件施力时自动将所述接电件从所述连接座中分离;该连接件通过将接电件对准所述连接座并插入到位后,通过锁合机构将接电件与所述连接座固定,在解锁组件不受解锁力时,接电件与所述连接座牢固连接,实现新能源电池的接电;当向解锁组件施加解锁力后带动锁合机构动作,起到解锁功能,且在分离结构的作用下自动将接电件从连接座中分离,实现新能源电池的断电分离。

标签:
新能源
江苏 - 苏州 来源:北方有色网 2023-03-18
便捷式新能源电车支撑组件

本实用新型公开了一种便捷式新能源电车支撑组件,属于电车配件领域,该种便捷式新能源电车支撑组件包括固定头、主体及支架脚,所述主体一端与固定头通过第一固定装置相连,另一端与支架脚通过第二固定装置相连。该种便捷式新能源电车支撑组件结构简单,使用方便、快捷,适用于工业大规模应用。

标签:
新能源
江苏 - 苏州 来源:北方有色网 2023-03-18
节能水冷新能源电机
节能水冷新能源电机 758     
 0

本实用新型公开了一种节能水冷新能源电机,包括底座、第一连接杆、第二连接杆、电机箱、出水管、蛇形管和收集器,所述底座的外部上方左右两侧安装有第一连接杆,所述第一连接杆的端部上方安装有第二连接杆,所述第一连接杆和第二连接杆的外部套接有弹簧,所述第二连接杆的端部上方安装有固定块,所述底座的外部上方安装有水箱,所述水箱的内部上方设置有散热孔,所述电机箱的内部安装有新能源电机本体,所述收集器的内部上方安装有收集箱。本实用新型通过设置的第一连接杆、第二连接杆、弹簧、电机箱、收集器、鼓风机和收集箱,解决了新能源电机在工作的时候,没有减振的设备和新能源电机没有灰尘收集装置,给装置带来了不便的问题。

标签:
新能源
江苏 - 苏州 来源:北方有色网 2023-03-18
新能源汽车的中空轮毂砂芯及模具

本实用新型涉及新能源汽车技术领域,公开了一种新能源汽车的中空轮毂砂芯及模具。所述新能源汽车的中空轮毂砂芯包括砂芯本体,所述砂芯本体与轮毂的通孔的形状相匹配;所述砂芯本体的数量与所述轮毂上的通孔数量相同,相邻两个所述砂芯本体之间经连接筋组件连接,所述连接筋组件包括:沿所述轮毂的径向且远离所述轮毂的中心依次设置第一连接筋、第二连接筋和所述第三连接筋,所述第一连接筋、所述第二连接筋和第三连接筋的两端均连接于相邻两个所述砂芯本体。本实用新型的新能源汽车的中空轮毂砂芯应用于模具内,在浇铸成型轮毂时,能够同时成型出轮毂上的通孔,提高生产效率,降低生产成本。

标签:
新能源
江苏 - 苏州 来源:北方有色网 2023-03-18
新型新能源汽车电机控制响应时间测试系统

本发明涉及新能源汽车电机控制技术领域,且公开了一种新型新能源汽车电机控制响应时间测试系统,包括电机,测试系统还包括控制装置,所述控制装置的信号连接有数据库以及连接端,所述控制装置包括:指令模块,电性连接该电机,用于对电机进行控制;变速模块,电性连接该指令模块,用于控制所述电机进行变速;换挡模块,电性连接该指令模块,用于控制电机进行换挡;通过本发明所提供的一种新型新能源汽车电机控制响应时间测试系统,能够用于对电机控制响应时间进行测试,且相对于普通的测试系统,本发明所提供的测试系统具备能够稳定的对电机的各个指令所需要相应的时间进行检测测试,能够稳定的对电机进行控制等优点。

标签:
新能源
江苏 - 苏州 来源:北方有色网 2023-03-18
无卤阻燃热塑性弹性体新能源汽车用线缆材料

本发明涉及一种线缆材料,特别涉及一种无卤阻燃热塑性弹性体新能源汽车用线缆材料。无卤阻燃热塑性弹性体新能源汽车用线缆材料包括如下重量份的原料:热塑性弹性体25‑45份、聚烯烃10‑40份、聚苯醚5‑25份、无卤阻燃剂0.1‑5份、相容剂1‑5份、抗氧剂0.1‑5份、填充油5‑10份。本发明的新能源汽车用线缆材料具有环保安全、阻燃防火、低烟以及耐老化等性能,能够满足人们日常的需求。

标签:
新能源
江苏 - 苏州 来源:北方有色网 2023-03-18
基于Wifi的新能源领域电力设备在接入Wifi网络时如何输入用户名和密码的方案

一种基于Wifi的新能源领域电力设备在连接Wifi网络时如何输入用户名和密码的方案涉及新能源领域电力设备,其特征在于当新能源领域电力设备以Wifi技术实现对外无线通信时,如何输入接入Wifi网络所需要的用户名和密码。

标签:
新能源
江苏 - 苏州 来源:北方有色网 2023-03-18
新式新能源电力节能装置

本发明涉及电力节能技术领域,尤其为一种新式新能源电力节能装置,包括承载底板,所述支撑框架的正面设置有光伏电池板,承载底板沿宽度方向并且位于支撑框架的左侧设置有光伏逆变器,承载底板沿长度方向并且位于支撑框架的左侧设置有蓄电池箱,风力发电机构包括承载底座、支撑立柱、发电机箱、发电机、机箱盖、发电转轴、安装座、连接板、安装板、风向板、驱鸟连接座和避雷针,通过新能源电力节能机构采用光伏电池板与风力发电机构能够对风能与光能的能源利用更加充分,通过风力发电机构采用垂直式风力发电机配合多个风向板能够使风力发电机构的受风方向更加全面,使风力发电机构对风能的利用更加全面,提高新能源利用率,实现电力节能的目的。

标签:
新能源
江苏 - 苏州 来源:北方有色网 2023-03-18
用于新能源电池的叠片装置

本实用新型公开了一种用于新能源电池的叠片装置,包括底架,底架顶部两侧均固定连接有竖杆,竖杆上部之间固定连接有横杆,横杆底部开设有滑槽,滑槽内部滑动连接有滑杆,滑杆底部固定连接有固定板,本实用新型一种用于新能源电池的叠片装置,通过设置第一吸盘和第二吸盘,液压伸缩杆的伸缩,带动第一吸盘和第二吸盘来回反复运动,使第一吸盘吸取正极片台上的正极片放于隔离膜上,使第二吸盘吸取负极片台上的负极片放于隔离膜上,如此往复运动实现正负极片的多个叠覆,无需将小电芯单体手工绕卷,即可自动叠覆形成大电芯单体,通过设置夹辊,隔膜辊上的隔离膜在被拉伸时被相对设置的夹辊夹平,避免隔离膜弯曲,提高覆合效果。

标签:
新能源
江苏 - 苏州 来源:北方有色网 2023-03-18
新能源汽车高压设备用电气盖板

本实用新型涉及一种新能源汽车高压设备用电气盖板,属于电气设备技术领域。该新能源汽车高压设备用电气盖板,包括电气盖板本体和内衬板,内衬板与电气盖板本体的一侧表面固接,电气盖板本体的边缘间隔设置有安装通孔,内衬板的边缘靠近安装通孔处设置有“V”型的凹槽,电气盖板本体开设有观察窗,观察窗内嵌设有钢化玻璃,电气盖板本体远背离内衬板的一侧表面设置有可开合的观察窗盖板,观察窗盖板靠近观察窗设置并且其大小适于覆盖观察窗,内衬板与观察窗对应处开设有开口。本实用新型通过设置内衬板,大大提高了盖板的强度;通过电气盖板本体开设观察窗,方便了后期的观察和维护,并且观察窗内嵌设有钢化玻璃,保证了电气盖板本体的整体强度。

标签:
新能源
江苏 - 苏州 来源:北方有色网 2023-03-18
高效散热的新能源汽车用充电桩

本实用新型公开了一种高效散热的新能源汽车用充电桩,包括充电桩本体,所述充电桩本体的顶部固定连接有支撑管,所述支撑管的顶部固定连接有干燥箱,所述干燥箱的顶部固定连接有挡雨罩,所述干燥箱内腔的两侧均固定连接有滑轨,所述滑轨相对的一侧固定连接有干燥盒,所述充电桩本体的输出端电性连接有电源线,所述电源线的输出端电性连接有充电枪,所述充电桩本体的右侧分别固定连接有出风扇和网框。本实用具备防护效果好的优点,解决了现有的新能源汽车用充电桩在使用的过程中,不便于对充电桩内部的电器元件进行散热除湿,容易造成电器元件损坏,影响充电桩的使用寿命,不便于对充电桩进行安全防护的问题。

标签:
新能源
江苏 - 苏州 来源:北方有色网 2023-03-18
新能源汽车遮阳板的卡扣安装测试装置

一种新能源汽车遮阳板的卡扣安装测试装置,属于先进制造工艺与装备技术领域,包括遮阳板支撑座、支撑架、遮阳板、卡扣、遮阳板下压装置和卡扣推入检测装置,所述遮阳板设置在遮阳板支撑座上,所述卡扣推入检测装置可驱动卡扣与遮阳板卡合。本实用新型所述的新能源汽车遮阳板的卡扣安装测试装置,能够将遮阳板和拉扣进行自动扣合,然后通过自动驱动的压板在连接后的遮阳板和卡扣之间施加一定压力,从而测试遮阳板和卡扣连接状态下的检测,即实现了卡扣的自动组装,从而能够进行自动测试,为遮阳板的使用提供了有效的数据检测支持,卡扣推入检测装置能够进行卡扣咬口的咬合松紧度进行自主调节,结构设计合理,灵活性高,使用方便。

标签:
新能源
江苏 - 苏州 来源:北方有色网 2023-03-18
新能源电池薄膜珍珠棉包装体

本实用新型公开了新能源电池薄膜珍珠棉包装体,具体涉及包装体技术领域,包括顶板,所述顶板下方设有底板,所述顶板和底板之间设有四个插板,所述顶板顶端和底板的底端均开设有八个凹孔一,所述插板的顶端和底端均固定设有两个螺纹杆一,所述顶板的顶端和插板的外侧均开设有四个凹孔二,所述凹孔二的内部设有螺纹杆二,所述顶板的底端设有气囊一,四个所述插板的内侧均设有气囊二。本实用新型通过将顶板、气囊一以及管道组装成第一包装模块,再将插板、管道以及气囊二组装出四组第二包装模块,最后将第一包装模块和四组第二包装模块彼此固定,实现了新能源电池的包装材料时拆装的简化,使得拆卸后的珍珠棉包装材料继续使用,节约了珍珠棉材料。

标签:
新能源
江苏 - 苏州 来源:北方有色网 2023-03-18
新能源汽车电子真空泵网型密封圈

本实用新型涉及新能源汽车技术领域,具体揭示了新能源汽车电子真空泵网型密封圈,包括密封圈本体,所述密封圈本体的内腔固定连接有过滤网,所述密封圈本体包括表层、中层和基材层,所述表层的底部与中层固定连接,所述中层的底部与基材层固定连接,表层包括耐磨层、耐腐蚀层和耐高温层,耐磨层的底部与耐腐蚀层固定连接,耐腐蚀层的底部与耐高温层固定连接。本实用新型通过密封圈本体、过滤网、表层、耐磨层、耐腐蚀层、耐高温层、中层、耐候层、耐老化层、韧性层和基材层的配合使用,实现了耐老化能力好,且使用寿命长的目的,提高了装置的实用性和使用性,增强了使用者的使用体验,从而能够更好的满足使用者的使用需求。

标签:
新能源
江苏 - 苏州 来源:北方有色网 2023-03-18
带呼吸效果的新能源汽车充电指示灯

本实用新型公开了一种带呼吸效果的新能源汽车充电指示灯,包括指示灯本体和充电桩驱动接线圈,所述指示灯本体包括手板、透光导光板、LED灯板和M12防水堵头,LED灯板加装在手板的内腔中央,透光导光板采用螺丝密封加装在手板的上端。本带呼吸效果的新能源汽车充电指示灯,由芯片IC1产生5V电源提供驱动信号,采用线性稳压,相较于传统降压开关电路,具有低噪音,高可靠性的优点;LED灯板采用高亮度RGB‑LED灯珠,稳定性高,具有更低的驱动电流,更高的亮度,更低的温升,更长的寿命;芯片IC3采用SMT32F作为主控芯片,响应速度快,省电,全面采用SMT技术,机器作业,减少人工操作和出错的可能性;整体响应速度快,省电,可靠性高,使用寿命长。

标签:
新能源
江苏 - 苏州 来源:北方有色网 2023-03-18
便于安装的新能源节能灯

本实用新型公开了一种便于安装的新能源节能灯,包括灯管、卡环、内槽和灯头固定块槽,所述灯管上方连接有灯头部分,且灯头部分上方固定有灯头固定块,所述灯头固定块表面连接有固定块,且固定块中安置有转轴,所述卡环连接在转轴一端,所述灯管上方设置有底座,且底座内部固定有卡钩固定块,所述卡钩固定块上连接有卡钩,所述内槽开设定在底座内部,且底座上固定有螺丝,所述灯管外部设置有玻璃防护罩,且玻璃防护罩上连接有保护罩螺旋固定块。该便于安装的新能源节能灯在底座内部的卡钩固定块上的卡钩能够更好的挂在卡环上,便于更好的将节能灯进行安装,同时在灯管外部设置有玻璃防护罩,能够防止长时间使用节能灯之后,灰尘进入灯管。

标签:
新能源
江苏 - 苏州 来源:北方有色网 2023-03-18
新能源耐插拔连接器辅助固定装置

本实用新型公开了新能源耐插拔连接器辅助固定装置,新能源耐插拔连接器辅助固定装置,包括限位板,限位板上连接有连接线,限位板远离连接线的一侧设有插拔槽基体,插拔槽基体上开凿有外围槽,外围槽的槽底板上开凿有与限位板相匹配的收纳槽,收纳槽的槽底板上连接有铁质定位环,收纳槽的槽底板上开凿有插拔槽,且插拔槽位于铁质定位环内,插拔槽的槽底板上连接有定位针,且插拔槽、收纳槽、外围槽和定位针同圆心,限位板远离连接线的一端连接有插拔头,插拔头上开凿有与定位针相匹配的主定位槽,可以实现对插拔连接器进行加固,不易因使用时间的增长而影响加固效果,同时方便工作人员拔出插拔连接器。

标签:
新能源
江苏 - 苏州 来源:北方有色网 2023-03-18
新能源汽车充电装置用报警触发机构

本实用新型公开了一种新能源汽车充电装置用报警触发机构,包括报警箱,报警箱顶面四角均通过安装螺母固定安装有汽车充电桩,报警箱内部底面位于安装螺母正下方固定设置有触发组件,触发组件包括安装箱,安装箱上表面中心贯穿滑动安装有滑柱,安装箱内部两侧表面均设置有导电块,滑柱两侧表面均设置有弧形铜片,滑柱底部与安装箱内部底面中心之间连接有第二弹簧,两个弧形铜片内侧表面底端与滑柱之间均连接有第一弹簧,两个弧形铜片外侧表面下端分别与两个导电块内侧表面贴合,两个弧形铜片之间通过导线连通。本实用新型结构简单,有效提高了报警触发机构的报警触发机率,大大降低新能源充电装置的被盗风险。

标签:
新能源
江苏 - 苏州 来源:北方有色网 2023-03-18
用于新能源汽车的变频器外壳双工位加工定位装置

本实用新型提供了一种用于新能源汽车的变频器外壳双工位加工定位装置,包括机架、设置于所述机架内的安装板、定位机构以及加工主轴,所述定位机构设置为两个,所述定位机构包括定位台、设置于所述定位台上的定位板和定位压爪,所述定位板设置于所述定位台的两侧,所述定位压爪设置于所述定位台的四角位置;所述定位压爪包括旋转气缸和设置于所述旋转气缸上的压爪;所述加工主轴位于所述机架的顶部,且移动连接所述机架;采用本实用新型所提供的用于新能源汽车的变频器外壳双工位加工定位装置,可以同时进行两个产品的定位加工工作,不仅能够提高定位效果和生产质量,还能够提高生产效率。

标签:
新能源
江苏 - 苏州 来源:北方有色网 2023-03-18
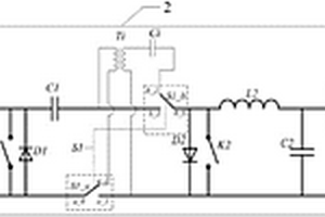
新能源发电用高效双向变换电路

本实用新型涉及一种新能源发电用高效双向变换电路,包括全控开关器件K0、全控开关器件K1、全控开关器件K2、转换开关S0、隔离电路、隔离/非隔离选择开关S1、电容C0、电容C1、电容C2、电感L1、电感L2、二极管D1、二极管D2、接口0、接口1、触点1、触点2、触点S1_a、触点S1_b、触点a_1和触点b_1;触点1端与新能源发电输入接口相连接、触点2与接口1相连接;所述隔离电路包括变压器Ti和电容Ci。本实用新型通过变换电路实现多种电能变换和管理功能,降低常规光伏发电系统的成本,提高系统整体效率,减小系统装置的整体体积和提升功率密度比。电路在多种工作模式间实现灵活转换,适合在多种场合推广应用。

标签:
新能源
江苏 - 苏州 来源:北方有色网 2023-03-18
新能源汽车的车外行人警示音合成方法及系统

本发明公开了一种新能源汽车的车外行人警示音合成方法及系统。一种新能源汽车的车外行人警示音合成方法,包括如下步骤:获取基础音源;根据新能源汽车的车身参数确定警示音的当前播放速率和幅度,并根据所述当前播放速率和所述幅度对基础音源进行处理后,送至功放以驱动扬声器发出警示音;其中,对基础音源进行处理的步骤具体包括:a、根据所述播放速率确定计数器计数最大计数值;b、每当计数器到最大值时,产生一个中断信号,将所述基础音源与所述幅度的放大系数相乘后转化为低比特信号,同时重新开始计数;c、对所述低比特信号进行脉冲宽度调制处理;d、将脉冲宽度调制处理后的信号进行低通滤波处理。本发明实现简单且计算复杂度低。

标签:
新能源
江苏 - 苏州 来源:北方有色网 2023-03-18
新能源汽车电池包装箱

本发明公开了一种新能源汽车电池包装箱,解决了常规用EPS缓冲箱体内新能源汽车电池包装方式所带来的产品出口、环境污染等问题,其主要技术方案是第一底托与第二底托包括相匹配的基板、加厚板、侧填充板与填充底板,以基板为中心,基板一对端设有对中折压的侧封板,另一对端分别设有对中折压的前挡板与后挡板,两侧封板在靠近后挡板的一侧分别设有左插板与右插板,后挡板顶部中心设有第二锁口,后挡板顶部在其与基板连接处自插锁合,基板上还设有对称的第一锁口,侧封板顶部在第一锁口处自插锁合,两侧封板在靠近前挡板的一侧设有对中折压的填充盖板,前挡板底部在第二锁口处自插锁合。

标签:
新能源
江苏 - 苏州 来源:北方有色网 2023-03-18
具有测距功能便于收纳的新能源汽车用充电桩

本发明公开了一种具有测距功能便于收纳的新能源汽车用充电桩,涉及新能源汽车技术领域,包括桩体和固定装置,所述桩体的前部外侧连接有显示屏,且显示屏的顶部外侧设置有红外感应器,所述桩体的左右两侧连接有提示灯,且桩体的外部两侧设置有支撑座,所述桩体前部中端开设有连接口。本发明桩体顶部外侧的红外感应器能对车辆的位置进行判断,当车辆位置过远时,提示灯会显示红色灯光,而车辆驶入充电线触及范围之内时,提示灯会转换为绿色灯光,驾驶者通过对灯光的观察,便可直观的判断出车辆是否驶入充电线的触及范围之内,这能避免车辆与桩体离的过远,导致充电线无法触及车辆而无法的情况发生。

标签:
新能源
江苏 - 苏州 来源:北方有色网 2023-03-18
上一页 83 84 85 86 87 ... 99 下一页
共99页    到第

北方有色为您提供最新的江苏苏州有色金属新能源材料技术理论与应用信息,涵盖发明专利、权利要求、说明书、技术领域、背景技术、实用新型内容及具体实施方式等有色技术内容。打造最具专业性的有色金属技术理论与应用平台!

全国热门有色金属设备推荐
展开更多 +
全国热门有色金属技术推荐
展开更多 +

 

江西省隆恩特环保设备有限公司
宣传

报名参会
更多+

报告下载

有色专家
更多+

江西理工大学
副校长
南方科技大学
外籍院士
长沙矿冶研究院有限责任公司
中国工程院院士
湖南科技大学
所长/教授
矿冶科技集团
中国工程院院士
赤泥综合利用研究报告2025
推广

热门技术
更多+

推荐企业
更多+

福建省金龙稀土股份有限公司
宣传

发布

在线客服

公众号

电话

顶部
咨询电话:
010-88793500-807