青岛垚鑫智能科技有限公司
宣传

位置:北方有色 >

有色技术频道 >

分类:
全部
矿山技术
冶金技术
材料制备及加工技术
环境保护技术
分析检测技术
地区:
全部
北京
天津
上海
重庆
河北
山西
辽宁
吉林
黑龙江
江苏
浙江
安徽
福建
江西
山东
河南
湖北
湖南
广东
海南
四川
贵州
云南
陕西
甘肃
青海
内蒙
广西
西藏
宁夏
新疆
其他
其他
展开
 
全部
成都
自贡
攀枝花
泸州
德阳
绵阳
广元
遂宁
内江
乐山
南充
眉山
宜宾
广安
达州
雅安
巴中
资阳
阿坝藏族羌族自治州
甘孜藏族自治州
凉山彝族自治州

四川成都有色金属理论与应用

免费发布技术信息>>
隔离结构碳纳米管/聚乳酸电磁屏蔽复合材料的制备方法

本发明公开一种隔离结构碳纳米管/聚乳酸电磁屏蔽复合材料的制备方法,复合材料主要原料按以下重量百分比构成:左旋聚乳酸PLLA49.5~49.975%,右旋聚乳酸PDLA49.5~49.975%,碳纳米管CNT1%~0.05%。其制备工艺如下:(1)原料干燥;(2)聚乳酸PLA微粒的制备;(3)CNT/PLA导电复合粒子制备;(4)模压成型。本发明利用非石油基、生物可降解塑料之一的PLA作为电磁屏蔽复合材料的基体,用电性能优异的碳纳米管CNT作为电磁功能填料,利用CNT在PLA微粒表面的选择性分布构建隔离结构,在超低CNT含量下获得了高电磁屏蔽效能复合材料。PLA微粒仅需要转矩混合即可获得,而最终的电磁屏蔽材料通过机械共混和压制成型制备,制备过程简单,无需任何有机溶剂,绿色环保,容易实现工业化生产。

标签:
复合材料
四川 - 成都 来源:北方有色网 2023-03-18
大电流制备铁基复合材料及硬质合金的方法

本发明公开的大电流制备铁基复合材料及硬质 合金的方法,是先将Fe、Ti、C或Fe、V、C或W、C、Co的 粉末按照配比混制均匀,压制成相对密度为65~78%的压坯, 然后将压坯放置于加热设备中,在输出电压为3~10伏特、输 出电流为3000~20000安培的电场,升温速度为50~1200℃/S、真空度为10-4Pa的条件下,对压坯直接通电进行急速加热,使其发生燃烧合成,并在电场的持续作用下,加热至800~1100℃保温2~5分钟完成反应。本发明制备的压坯相对密度高,采用的电流大,电流大小和升温速度等均可以调节,因而可在<800℃下完成燃烧合成;铁基复合材料中Fe含量可在30~85%内变化;可方便、有效地控制反应过程;耗能低、周期短、效率高,符合“绿色生产”的要求。

标签:
复合材料
四川 - 成都 来源:北方有色网 2023-03-18
玄武岩纤维复合材料的制备方法

本发明属于玄武岩纤维复合材料领域,尤其涉及一种玄武岩纤维复合材料的制备方法。该方法包括S1、将多壁碳纳米管和石墨烯纳米片分散在超纯水中,并通入臭氧以氧化多壁碳纳米管和石墨烯纳米片,最终得到分散液;S2、将冰醋酸加入到S1得到的分散液中,然后再加入阳离子聚丙烯酰胺;S3、清洗玄武岩纤维表面,备用;S4、将S2阳离子聚丙烯酰胺处理后带正电荷的多壁碳纳米管和石墨烯纳米片电泳沉积在S3玄武岩纤维上,得到预处理玄武岩纤维;S5、将树脂和固化剂混合液涂敷到S4得到的预处理玄武岩纤维上,再模压得到玄武岩纤维复合材料。本发明制备方法简单易行,制备得到的玄武岩纤维复合材料便于损伤监测,有效避免对材料造成缺陷。

标签:
复合材料
四川 - 成都 来源:北方有色网 2023-03-18
碳化硅碳化硼复合材料的制备方法

本发明涉及无机材料技术领域,具体涉及碳化硅碳化硼复合材料的制备方法,其所需材料为:碳化硼、金属硅、粘结剂、添加剂,本发明的碳化硅碳化硼复合材料的制备方法,采用活性剂包裹碳化硼表面,阻止硅元素侵蚀碳化硼,所制备的复合材料制作工艺简单,所制备的碳化硼复合材料具有强度极高、韧性好、密度低等优点。

标签:
复合材料
四川 - 成都 来源:北方有色网 2023-03-18
多功能苯并噁嗪复合材料及其制备方法

本发明公开了一种多功能苯并噁嗪复合材料,由苯并噁嗪单体在磺化交联结构聚磷腈微球的催化作用下,发生开环固化反应制成。制备方法:S1、制备磺化交联结构聚磷腈微球;S2、将苯并噁嗪单体溶解在溶剂中,加入磺化交联结构聚磷腈微球,超声分散;S3、蒸发除去溶剂丙酮和醇,并除去其中的空气;S4、将苯并噁嗪单体与磺化交联结构聚磷腈微球的混合物趁热倒入用玻璃模具中;S5、将玻璃模具在150~180℃固化2~3h,190~200℃固化1~3h,冷却得到多功能苯并噁嗪复合材料。本发明的复合材料制备过程中苯并噁嗪单体开环固化温度降低,且复合材料兼具显著的阻燃性能和良好的断裂韧性、广泛应用于对材料综合性能要求较高的领域。

标签:
复合材料
四川 - 成都 来源:北方有色网 2023-03-18
尼龙/蒙脱土阻燃复合材料的制备方法

本发明公开的尼龙/蒙脱土阻燃复合材料的制备方法,该方法是先将硅油加入溶剂中搅拌分散均匀后,再加入有机蒙脱土进行改性处理,然后将制得的硅油改性有机蒙脱土与尼龙,阻燃剂经预混合后,放入双螺杆挤出机中挤出造粒,或直接将尼龙,有机蒙脱土,硅油,阻燃剂经预混合后,放入双螺杆挤出机中挤出造粒。本发明制备的尼龙/蒙脱土阻燃复合材料的缺口冲击强度得到改善、极限氧指数得到大幅提高。

标签:
复合材料
四川 - 成都 来源:北方有色网 2023-03-18
纳米非晶C-Si-C复合材料及其制造方法和制造装置

本发明公开了纳米非晶C‑Si‑C复合材料及其制造方法和制造装置,制造方法包括以下步骤:利用载带气将有机炔类气体带入第一裂解区,在催化剂作用下低温裂解得到纳米非晶炭黑后进入第二裂解区;利用载带气将硅烷气体带入第二裂解区,低温裂解得到以纳米非晶炭黑为晶核的纳米非晶硅颗粒后进入第三裂解区;利用载带气将有机炔类气体带入第三裂解区,在催化剂作用下低温裂解得到炭黑并包覆在硅颗粒的表面,气固分离后得到纳米非晶C‑Si‑C复合材料。纳米非晶C‑Si‑C复合材料采用上述制造方法制得。纳米非晶C‑Si‑C复合材料的制造装置包括气相裂解单元、气固分离单元和尾气处理单元,本发明能够连续化生产并且可作为锂离子电池的理想负极材料。

标签:
复合材料
四川 - 成都 来源:北方有色网 2023-03-18
锂基蒙脱土@硫复合材料及其制备方法和应用

一种锂基蒙脱土@硫复合材料及其制备方法和应用,属于锂硫电池正极材料制备领域。所述锂基蒙脱土@硫复合材料为多层锂基蒙脱土@硫复合层层叠得到的层状结构,相邻复合层之间的间距为1.2nm~1.5nm,所述锂基蒙脱土@硫复合材料中,锂基蒙脱土与硫的质量比为(0.1~0.6):1。本发明对商业蒙脱土进行改性处理得到锂基蒙脱土,然后在加热炉内反应得到层状的锂基蒙脱土@硫复合材料,锂基蒙脱土与多硫化物的强相互作用和层间锂离子的扩散能大幅提升锂硫电池的循环稳定性和倍率性能。

标签:
复合材料
四川 - 成都 来源:北方有色网 2023-03-18
用于锂电池的网络状硅/石墨复合材料及制备方法

用于锂电池的网络状硅/石墨复合材料及其制备方法。该网络状硅/石墨复合材料包括纳米硅和石墨;石墨为三维网状结构,内部分布有纳米孔洞和相互连通的微孔隙通道;纳米硅嵌夹在三维网状石墨空隙中。其制备方法包括以下步骤:将石墨、硅源与高分子碳溶液混合后凝胶化处理,然后加入还原剂和熔盐,机械化反应得到硅/石墨复合物凝胶,最后冷冻干燥,得到网络状硅/石墨复合材料;其中,石墨、高分子碳、硅源、还原剂与熔盐的摩尔比为(1‑5):(1‑3):1:(3‑8):(3‑15)。本发明还提供采用上述网络状硅/石墨复合材料作为负极材料的锂离子电池。

标签:
复合材料
四川 - 成都 来源:北方有色网 2023-03-18
污泥固化稳定化复合材料及其制备方法,污泥固化稳定化处置方法及固化污泥

本发明涉及一种污泥固化稳定化技术,具体公开了一种污泥固化稳定化复合材料的制备方法,包括以下步骤:A、建渣预处理;B、将预处理后建渣与其他污泥固化稳定化材料混合。此外,本发明还公开了由上述方法制得的污泥固化稳定化复合材料。以及用该污泥固化稳定化复合材料进行污泥固化稳定化处置的方法。以及由该处置方法制得的固化污泥。本发明的优点是:提供了一种建渣新用途,解决当前建渣回收利用率低的困境;制得的污泥固化稳定化复合材料能够迅速降低污泥含水率,缩短养护时间,改善力学性能,固定污泥中的有害污染物,减小处置体积,降低处置成本,实现多种固废资源化;得到的固化污泥具有含水率低、力学性能优异的特点。

标签:
复合材料
四川 - 成都 来源:北方有色网 2023-03-18
轻金属基复合材料构件及其制备方法

本发明公开了一种轻金属基复合材料构件及其制备方法,属于金属复合材料制备与成型技术领域。本发明采用非熔化极惰性气体保护焊电弧作为热源在经过表面预处理的轻金属基板上增材制造,制得轻金属基复合材料构件;增材制造的送料方式包括:利用惰性保护气体将零维的颗粒增强体沿非熔化极焊枪轴向吹入液态熔池中实现同轴送粉,同时将含有一维/二维的线状/片状增强体的复合焊丝从焊枪前进侧连续送至液态熔池实现旁轴送丝。本发明可以直接制造具有复杂结构大尺寸复合材料构件,后续无需加工或加工量少,实现材料制备成型一体化;采用不同维度的混杂增强体可以实现材料更优越的力学性能、还降低原料的成本;工艺参数少且易于实现自动化智能制造。

标签:
复合材料
四川 - 成都 来源:北方有色网 2023-03-18
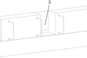
连续纤维增强复合材料连接结构及其制备方法

本发明提供了一种连续纤维增强复合材料连接结构,涉及复合材料连接技术领域,解决了公知技术中复合材料连接结构中机械连接不易形成光滑外形和胶接连接承载力不足的技术问题,该连续纤维增强复合材料连接结构包括连接部件一(1)、连接部件二(2)和中间连接件(3)。本发明克服了机械连接不易形成光滑外形不足,同时也克服了胶接连接承载能力低的缺点,应用范围更广,实用效果更好。

标签:
复合材料
四川 - 成都 来源:北方有色网 2023-03-18
桥梁用复合材料遮板
桥梁用复合材料遮板 930     
 0

本实用新型公开了一种桥梁用复合材料遮板,包括上遮板和与其连接的下遮板,上遮板和下遮板均为纤维增强树脂基复合材料构件,下遮板为贯通式中空构件,上遮板包括若干个间隔设置的中空构段,中空构段的外壁贯通连接,中空构段上设有至少一个连接钢筋,连接钢筋用于与桥梁竖墙预埋钢筋连接。本实用新型的一种桥梁用复合材料遮板,作为主体结构的上遮板和下遮板均为复合材料构件,自重轻,强度高,不易朽烂,有利于降低桥梁二期恒载,提高梁体承载能力,所用材料用量少,成本低,满足工程低成本化需求,无须机械辅助即可安装施工,施工效率高,可有效缩短施工周期,结构简单,使用方便,能够包裹悬臂端,起到保护和防水作用,效果良好。

标签:
复合材料
四川 - 成都 来源:北方有色网 2023-03-18
铝框复合材料模板
铝框复合材料模板 930     
 0

本实用新型公开了一种铝框复合材料模板,属于建筑技术领域,包括四个首尾依次垂直相连的侧板构成的模板边框、若干个两端分别与相对的两个所述侧板连接沿模板边框的长度方向等间距排列的加强次肋、以及采用复合材料制成位于加强次肋的上方与模板边框连接的板体,所述侧板上均设置有若干个连接孔。在重量方面,相较传统的铝模板质量更轻,更易施工,通过加强次肋保证了模板的强度,复合材料可选用的种类较多,复合材料制成的板体与混凝土接触不会存在粘接,免去涂刷脱模剂步骤,对于施工效率有很大的提升。

标签:
复合材料
四川 - 成都 来源:北方有色网 2023-03-18
高安全性锂离子电池负极复合材料及其制备方法

本发明公开了一种高安全性锂离子电池负极复合材料及其制备方法,其材料呈现核壳结构,内核为石墨,外壳为热变相复合材料,其中热变相复合材料是由:(10~60)%(本申请书中所述的比例均为重量分数)无机相变材料,(1~10)%阻燃性材料,(10~30)%的无机复合锂盐,(1~10)%的导热性材料和(1~5)%的分散剂组成。其制备出的负极复合材料利用无机相变材料和阻燃性材料进行热量吸收,并在材料表面形成保护层,在出现热失控时通过导热性材料迅速将热量传导出去,同时在充放电过程中无机复合锂盐能进行锂离子的传导,避免出现过充条件下的锂枝晶,提高其安全性能。

标签:
复合材料
四川 - 成都 来源:北方有色网 2023-03-18
人造岗石废渣填充聚合物复合材料及其制备方法

本发明公开了一种人造岗石废渣填充聚合物复合材料,其原料如下:聚合物基材100份;人造岗石碳酸钙废渣0.05~80份。上述聚合物复合材料的制备方法,包括以下步骤:(1)将人造岗石碳酸钙废渣加入高速粉碎机,实现废渣的超细粉碎;(2)将聚合物与人造岗石碳酸钙废渣粉体按一定比例共混,通过高速搅拌机搅拌10~20min,(3)将混合物通过双螺杆挤出机挤出造粒,随后通过注塑机注塑成型得到所需制品。本发明的优点在于:增强填料与基材之间的界面作用力,聚合物复合材料具有优异的综合性能;有效降低了聚合物复合材料的生产成本,避免了环境污染问题。

标签:
复合材料
四川 - 成都 来源:北方有色网 2023-03-18
异形聚乙烯醇纤维增强复合材料及其制备方法

本发明公开了一种异形聚乙烯醇纤维增强复合材料及其制备方法,属于纤维增强材料技术领域。其包括以下步骤:由短切异形聚乙烯醇纤维或异形聚乙烯醇纤维布增强酚醛树脂制得。本发明采用的异形聚乙烯醇纤维其强度高、异形度大且异形保持度好,能提高异形纤维增强复合材料性能。

标签:
复合材料
四川 - 成都 来源:北方有色网 2023-03-18
纤维素复合材料及其制备方法

本发明涉及一种纤维素复合材料及其制备方法,属于复合材料技术领域。该复合材料包括羟乙基纤维素40‑50份、正硅酸甲酯10‑15份、纳米CaCO3 20‑30份、硫酸3‑5份、甲乙酮50‑100份、1NNaOH 5‑10份、去离子水500‑1000份。本发明采用正硅酸甲酯作为无机前聚物,羟乙基纤维素为有机组分,利用溶胶‑凝胶法在非均相乙醇溶液中制备了综合力学性能较佳的纤维素复合材料。

标签:
复合材料
四川 - 成都 来源:北方有色网 2023-03-18
柔性高分子基材上实现选择性三维导电层的复合材料及其制造方法

本发明公开了一种柔性高分子基材上实现选择性三维导电层的复合材料及其制造方法,其原料组成包括:高分子基材、激光活化剂、无机粗化剂、分散剂、表面改性剂、抗氧剂、粉末粘附剂、增白颜料;将原料于混合机中混合,经双螺杆挤出机挤出造粒及注塑成型后,用激光选择性进行三维镭雕,形成凹坑和/或空穴结构的金属化粗糙表面,再将塑胶制剂浸渍于强酸或强碱中对表面进一步粗化处理后实施化学镀,从而形成具有三维立体电路结构的射频电子部件复合材料。该复合材料耐高温、高湿,镀层结合牢固,柔韧可弯折,从而可按设计要求在特定区域内形成三维立体结构天线及用于智能可穿戴的柔性部件复合材料。同时本发明制造工艺条件易控,易于工业化推广实施。

标签:
复合材料
四川 - 成都 来源:北方有色网 2023-03-18
具有水汽阻隔功能的硅橡胶复合材料及其制备方法

本发明涉及一种具有水汽阻隔功能的硅橡胶复合材料及其制备方法,该具有水汽阻隔功能的硅橡胶复合材料,包括硅橡胶基材层,所述硅橡胶基材层的表面设置有修饰层;所述修饰层表面具有凹坑,所述凹坑中具有亲水性聚合物颗粒;所述修饰层的凹坑部分主要由可溶于水性溶剂的聚氨酯和环氧树脂中的至少一种,以及疏水剂组成;所述凹坑中亲水性聚合物颗粒主要由聚丙烯酸、聚乙烯醇、聚乙二醇、羟乙基纤维素、聚丙烯酰胺中的至少一种组成。通过硅橡胶复合材料表面形成了新型的仿沙漠甲虫结构,具有优异的水汽阻隔能力,且复合材料的制备工艺简单,设备要求低,成本低,具有很高的市场价值和经济价值。

标签:
复合材料
四川 - 成都 来源:北方有色网 2023-03-18
聚烯烃/碳黑PTC导电复合材料及其制备方法

一种聚烯烃/碳黑PTC导电复合材料及其制备方法。其特点是将聚烯烃100重量份与导电碳黑30~45重量份在160~170℃进行捏合,然后在平板硫化机上热压成膜,膜厚150~250μm。在频率2450MHz,功率100~200W条件下,微波辐照0.5~25min。结果表明,微波辐照可诱导两相界面发生物理和化学增容,改善两相界面的聚烯烃结晶结构。它是提高聚烯烃/碳黑导电复合材料PTC性能的一种简便、清洁、高效的制备方法。

标签:
复合材料
四川 - 成都 来源:北方有色网 2023-03-18
同时具有阻燃和增强的热致性液晶聚酯原位复合材料的制备方法

本发明公开的同时具有阻燃和增强的热致性液晶聚酯原位复合材料的制备方法,可在常规的溶液共混或熔融共混工艺流程的基础上,在聚对苯二甲酸乙二醇酯基材中加入同时含有阻燃元素和液晶基元的多元共聚酯来进行制备。用本发明方法制备的复合材料可同时获得阻燃效率高和力学性能强的技术效果,解决了已有技术尚不能解决的阻燃和力学性能之间的矛盾,且工艺简单,易于控制,所获材料的加工性好,对再加工设备磨损小,拓展了聚酯材料在阻燃领域的应用空间。

标签:
复合材料
四川 - 成都 来源:北方有色网 2023-03-18
有机氧化氮敏感复合材料及氧化氮气体传感器

有机氧化氮敏感复合材料及氧化氮气体传感器,属于材料技术领域,涉及气敏材料及传感器。所述复合材料由质量比在0.7∶1~1∶1之间的有机小分子氧化氮敏感材料和有机高分子聚合物氧化氮敏感材料均匀混合组成。其中,小分子材料为酞菁类、TCNQ及其衍生物类或卟啉及其衍生物类,高分子聚合物材料是聚噻吩及其衍生物、聚吡咯及其衍生物、聚苯胺及衍生物或聚甲基丙烯甲酯。所述氧化氮气体传感器包括至少一个以上具有典型叉指电极结构的氧化氮气体传感器单元,其中,氧化氮敏感薄膜材料为本发明所述的有机氧化氮敏感复合材料。本发明提供的有机氧化氮敏感复合材料及氧化氮气体传感器,具有敏感性高,响应时间短,老化性能好,且制作方法简便、成本低,具有规模化生产的实用化前景。

标签:
复合材料
四川 - 成都 来源:北方有色网 2023-03-18
制备高孔隙率金属及复合材料的工艺方法

本发明公开了一种制备高孔隙率金属及复合材料的工艺方法,包括:在含主体料粉和羧甲基纤维素钠粘结剂的浆料中加入双氧水作为一次发泡剂,加入占主体料粉质量8-20%的硬脂酸作为二次发泡剂与之混合均匀,倒入无渗透模具中成坯。坯体置入干燥箱在40~60℃干燥。产生初次发泡后,放入真空烧结炉,硬脂酸挥发产生二次发泡;然后以3℃/MIN速度升温至600~1300℃,保温2~3H,烧结成型,得到高孔隙率的主体材料。与现有技术相比,本方法在成型过程中不需加压,操作简便,由于成型过程中经过两次发泡过程,可以得到高孔率多孔材料制品,且孔隙相互连通,力学强度良好。尤其适合制备医用多孔钛及其复合材料时采用。

标签:
复合材料
四川 - 成都 来源:北方有色网 2023-03-18
金属复合材料制备装置

本实用新型涉及锂电池领域,特别涉及一种金属复合材料制备装置,所述金属复合材料制备装置包括沉积腔体和独立设置于所述沉积腔体内的基台及多个独立设置且气压可调的蒸发腔;所述蒸发腔内设置有放置蒸料的蒸发位,所述基台上用于放置待沉积基底,所述蒸料由蒸发位蒸发并沉积在所述待沉积基底之上。利用上述可金属复合材料制备装置,提高多元材料共蒸发的可控性,从而更精准地控制金属或金属化合物蒸料的蒸发速率,以提高所述蒸发沉积的沉积物中蒸料比例范围及蒸发沉积的均匀度。

标签:
复合材料
四川 - 成都 来源:北方有色网 2023-03-18
miR181a-二氧化锰纳米复合材料及其制备方法和应用

本发明公开了一种miR181a‑二氧化锰纳米复合材料及其制备方法和应用。所述miR181a‑二氧化锰纳米复合材料的制备包括以下步骤:(1)将KMnO4溶液和聚烯丙基胺盐酸盐溶液混合反应,得到MnO2纳米粒子分散液;(2)向MnO2纳米粒子分散液中加入miR181a溶液,搅拌;然后加入甲基咪唑溶液,搅拌,再加入硝酸锌溶液,反应20‑40min,离心、洗涤,得到miR181a/MnO2@ZIF‑8分散液;(3)将miR181a/MnO2@ZIF‑8分散液和C18‑PMH‑PEG混合;在冰水浴中超声处理,离心,收集上清液,即制得miR181a‑二氧化锰纳米复合材料。本发明的miR181a‑二氧化锰纳米复合材料在弱酸性肿瘤微环境中表现出显著的H2O2分解活性,减轻了肿瘤缺氧,提高了结肠癌细胞对放疗的敏感性;同时还可以直接引起放疗后DNA损伤,进一步提高了结肠癌的治疗效果。

标签:
复合材料
四川 - 成都 来源:北方有色网 2023-03-18
可临床塑形的硅酸镁/聚氨基酸复合材料及其在制备骨修复材料中的用途

本发明提供了一种可临床塑形的硅酸镁/聚氨基酸复合材料及其在制备骨修复材料中的用途,所述复合材料是以可临床塑形的聚氨基酸与硅酸镁为原料制得的;所述可临床塑形的聚氨基酸是以6‑氨基己酸与4‑氨基丁酸、脯氨酸、赖氨酸、谷氨酸中的任意3种或4种氨基酸为单体聚合得到的。本发明的复合材料中,基底材料为可热水塑形的聚氨基酸,其玻璃化转变温度为44~55℃,能在较低温度下进行任意塑形,有利于医生在手术过程中根据骨缺损的具体形状进行操作。本发明的复合材料具有良好的生物活性,利于体内骨形成,并能够有效促进骨髓间充质干细胞增殖,在制备修复不规则骨缺损、促进骨缺损再生的骨修复材料中具有很好的应用前景。

标签:
复合材料
四川 - 成都 来源:北方有色网 2023-03-18
用于“Λ”型复合材料零件精确制造的软模

本发明公开了一种用于“Λ”型复合材料零件精确制造的软模,包括贴合“Λ”型复合材料零件表面的第一柔性保护层,所述第一柔性保护层上部覆盖有刚性加强层,所述刚性加强层表面覆盖有第二柔性保护层;所述软膜还设置有若干贯穿第一柔性保护层、刚性加强层、第二柔性保护层的导气传压孔,所述导气传压孔的直径为2~3mm,相邻导气传压孔之间的间距为20~100mm。本发明通过提供一种新型的软膜,使得零件固化过程中,软模与零件坯料紧密贴合,将复合材料零件成型过程中的压力有效传递到零件表面,从而避免造成复合材料零件内部空隙、分层等缺陷。

标签:
复合材料
四川 - 成都 来源:北方有色网 2023-03-18
三维网络结构纳米硅碳/钛氧化物复合材料及其制备方法

本发明公开了一种三维网络结构纳米硅碳/钛氧化物复合材料的制备方法,包括:(1)将纳米硅、钛源、碳源和分散剂,经球磨机球磨复合制备粘稠前驱体浆料;(2)在鼓风烘箱中50~120℃烘烤1~10h后,研磨破碎得干燥的前驱体粉料;(3)在还原气氛下800~1000℃热处理2~5h得块状硅、碳与钛氧化物复合材料;(4)用破碎机破碎处理过筛后,即得尺寸均一的三维网络结构纳米硅碳/钛氧化物复合材料。本发明还公开了一种三维网络结构纳米硅碳/钛氧化物复合材料制备工艺。本发明工艺简单可控,有效抑制充放电过程中硅的体积膨胀效应,相较于常规石墨负极材料容量值有大幅度提升。

标签:
复合材料
四川 - 成都 来源:北方有色网 2023-03-18
改性无机纳米粒子、改性无机纳米粒子/生物可降解聚酯类复合材料及其制备方法

本发明属于纳米复合材料制备技术领域,具体涉及改性无机纳米粒子、改性无机纳米粒子/生物可降解聚酯类复合材料及其制备方法。针对无机纳米粒子表面活性羟基数量较少且羟基的反应活性较低,使得无机纳米粒子接枝上的有机分子较少,进而导致该纳米粒子在生物可降解聚酯类高分子材料中的分散性差以及与聚合物复合时的界面相容性不理想的缺陷。本发明的技术方案是:所述无机纳米粒子表面的羟基通过二异氰酸酯偶联后再与二元醇反应,从而在无机纳米粒子表面上生成具有有机分子链的醇羟基物质,再由该醇羟基引发內酯开环聚合得到高接枝率的改性无机纳米粒子。所述改性无机纳米粒子再与生物可降解聚酯复合形成一种新型的复合材料。本发明还提供了上述复合材料的制备方法并适用于生物可降解材料增强增韧领域。

标签:
复合材料
四川 - 成都 来源:北方有色网 2023-03-18
上一页 496 497 498 499 500 ... 720 下一页
共720页    到第

北方有色为您提供最新的四川成都有色金属理论与应用信息,涵盖发明专利、权利要求、说明书、技术领域、背景技术、实用新型内容及具体实施方式等有色技术内容。打造最具专业性的有色金属技术理论与应用平台!

全国热门有色金属设备推荐
展开更多 +
全国热门有色金属技术推荐
展开更多 +

 

江西省隆恩特环保设备有限公司
宣传

报名参会
更多+

报告下载

有色专家
更多+

蒙纳士苏州校区
中国工程院外籍院士/校长
矿冶科技集团
副所长/研究员
长沙矿冶院检测技术有限责任公司
总经理
中南大学
教授
中国铝业股份有限公司
总裁 党委副书记
赤泥综合利用研究报告2025
推广

热门技术
更多+

推荐企业
更多+

福建省金龙稀土股份有限公司
宣传

发布

在线客服

公众号

电话

顶部
咨询电话:
010-88793500-807