青岛垚鑫智能科技有限公司
宣传

位置:中冶有色 >

有色技术频道 >

> 加工技术

分类:
全部
矿山技术
冶金技术
材料制备及加工技术
环境保护技术
分析检测技术
 
全部
功能材料技术
复合材料技术
新能源材料技术
合金材料技术
加工技术
地区:
全部
北京
天津
上海
重庆
河北
山西
辽宁
吉林
黑龙江
江苏
浙江
安徽
福建
江西
山东
河南
湖北
湖南
广东
海南
四川
贵州
云南
陕西
甘肃
青海
内蒙
广西
西藏
宁夏
新疆
其他
其他
展开
 
全部
沈阳
大连
鞍山
抚顺
本溪
丹东
锦州
营口
阜新
辽阳
盘锦
铁岭
朝阳
葫芦岛

辽宁沈阳有色金属加工技术理论与应用

免费发布技术信息>>
有效利用稀土元素Y强化双相Mg‑Li‑Zn‑Y镁锂合金及制备方法

本发明涉及镁锂合金领域,具体为一种有效利用稀土元素Y强化双相Mg‑Li‑Zn‑Y镁锂合金及制备方法,解决了镁锂合金绝对强度低的问题。在Y含量一定的前提下,通过合理选择合金中锌钇比(Zn/Y=5~10),使引入到镁锂合金基体中准晶相的体积分数达到最大,制备出具有超低密度、高强度、较好塑性的双相Mg‑Li‑Zn‑Y合金。该镁合金材料的组分及其含量为:锂(Li)含量为5~20%;锌(Zn)含量为3~20%;钇(Y)含量为0.5~5%和余量的镁(Mg)组成,所有百分数为重量百分数。经合金熔炼及后续热挤压加工变形成制品,其加工工艺操作简单、方便。本发明材料的抗拉强度为σb=200~350MPa,屈服强度为σ0.2=140~220MPa,延伸率为δ=10~40%,密度为1.58~1.85g/cm3。

标签:
加工技术
辽宁 - 沈阳 来源:中冶有色网 2023-03-18
用于铝锂合金DC铸造的熔体浇注装置及方法

一种用于铝锂合金DC铸造的熔体浇注装置及方法,装置包括氩气控制单元、顶板单元、吹氩单元、液位检测单元、导流单元和坩埚;方法之一为:坩埚熔炼铝合金液,压入固态金属锂,吹氩气后抽真空,氩气加压,铝锂合金液经导流管流入结晶器,进行连铸;方法之二为:中频炉熔炼铝合金液,经导流管导入坩埚,向坩埚压入固态金属锂,吹氩气后抽真空,氩气加压,铝锂合金液经导流管流入结晶器,进行连铸;方法之三为:中频炉熔炼铝锂合金液,经导管导入导入坩埚,吹氩气后抽真空,氩气加压,铝锂合金液经导流管流入结晶器,进行连铸;本发明的方法可实现熔体的全保护流动,保证熔体不污染,又可以实现恒流量浇注,保证熔体稳定流动,铸造稳定运行。

标签:
加工技术
辽宁 - 沈阳 来源:中冶有色网 2023-03-18
金属锂负极用铜箔的图案化方法

本发明公开了一种金属锂负极用铜箔的图案化方法,属于电池材料技术领域。本发明通过飞秒激光对铜箔表面进行图案化处理,并经高温还原直接作为集流体,可实现金属锂可控电化学沉积。本发明飞秒激光制备的图案化铜箔,利用氧元素分布差异,可有效调控金属锂的沉积,使金属锂在铜箔上的沉积容量得到提高。本发明工艺过程简单,可提高铜箔比表面积、体积利用率和金属锂电池能量密度,为铜箔集流体在金属锂电池中的应用提供了解决方案。

标签:
加工技术
辽宁 - 沈阳 来源:中冶有色网 2023-03-18
锂电池充电器电路
锂电池充电器电路 755     
 0

本发明公开了一种锂电池充电器电路,包括集成到一块印制线路板上的锂电池充电核心控制芯片、USB充电接口和锂电池接口;所述的锂电池充电核心控制芯片型号为TP4667,兼容大小3mA‑600mA的充电电流,所述USB充电接口采用Micro—USB接口,通过所述的USB充电接口与输出电压为5V的USB电源适配器相连,为锂电池充电器电路提供输入电压;所述锂电池接口为两芯PH2.0接头,所述的PH2.0接头的2脚与锂电池正极相连,PH2.0接头的1脚与锂电池负极相连,本发明采用的锂电池充电器核心控制芯片TP4667能够提供3mA‑600mA的充电电流和一个内部自带的P沟道功率MOSFET和热调节电路,无需隔离二极管或外部电流检测电阻器,极大的简化了电路,缩小了充电器电路体积,适合应用于多种小型智能设备当中。

标签:
加工技术
辽宁 - 沈阳 来源:中冶有色网 2023-03-18
稀土金属元素掺杂的碳包覆钛酸锂、制备方法和应用

本发明涉及一种稀土金属元素掺杂的碳包覆钛酸锂、制备方法和应用。稀土金属元素掺杂的碳包覆钛酸锂分子的表达式为LixMpTiy‑pOz/C,式中M为掺杂改性金属离子,其中0<x≤8,0<p<5,0<y≤6,1≤z≤12,1/2≤x:y≤2。其制备方法为采用燃烧法制备的掺杂稀土金属元素的纳米二氧化钛和纳米碳酸锂为初始原料,通过高温机械力化学法制备。该制备方法制备的钛酸锂粉体材料具有粒度均匀、品质高的优点,制备过程中能显著降低合成温度,且制备过程能耗少,降低了生产成本低;获得的复合材料电池容量和电子导电性都有明显提高,显著改善了电池性能。

标签:
加工技术
辽宁 - 沈阳 来源:中冶有色网 2023-03-18
铝锂合金低频方波电磁连铸装置及方法

一种铝锂合金低频方波电磁连铸装置及方法,装置包括结晶器、电磁线圈及铝锂合金液导管;电磁线圈位于结晶器内,用于产生低频方波电磁场;结晶器内套设有冷却水喷孔,内套上端筒口设有吹氩管及喷油管,铝锂合金液导管架设在结晶器内套上端筒口上方,导管上端管口设有吹氩管,导管下端管口吊装有盘式过滤网。方法为:将氩气保护恒流浇注设备和铸造机安装到位;接入冷却水;电磁线圈通电;预热导管;接入润滑油;接入氩气;启动氩气保护恒流浇注设备输出铝锂合金熔体,熔体依次通过导管和盘式过滤网进入结晶器内套中,达到设定液面高度后,启动铸造机下移引锭杆,凝固壳遇冷却水,铸锭初步冷却结晶,继续恒速铸造,当铸锭达到设定长度后,结束铸造。

标签:
加工技术
辽宁 - 沈阳 来源:中冶有色网 2023-03-18
超临界二氧化碳流体萃取从锂电池芯片中除邻苯二甲酸二丁脂的方法

超临界二氧化碳流体萃取从锂电池芯片中除邻苯二甲酸二丁脂的方法,是按照下述工艺步骤进行:1、将压合后的锂电池芯片放入萃取釜内,萃取温度45-55℃,萃取压力25-35Mpa,动态循环萃取,时间为1-2小时;2、在动态循环中加入乙醇添加剂50分钟;3、在整套设备运行1-2小时后,把分离物质装桶,将萃取釜中的锂电池取出。至此,从萃取釜中取出即为合格干燥的锂电池芯片。具有工艺流程简单、效率高、不污染环境的特点。

标签:
加工技术
辽宁 - 沈阳 来源:中冶有色网 2023-03-18
锂电池防爆箱
锂电池防爆箱 717     
 0

锂电池防爆箱属于防爆箱技术领域,尤其涉及一种锂电池防爆箱。本实用新型提供一种使用方便、防护效果好的锂电池防爆箱。本实用新型包括外壳,其结构要点外壳内壁和底面设置有内衬耐火板,外壳上端设置有箱盖,箱盖下端面设置有内衬耐火板;箱盖中部设置有爆炸压力泄压阀,爆炸压力泄压阀侧方的箱盖上设置有安全阀;所述外壳一侧上部设置有横向进水管,进水管下侧方的外壳下部设置有排水管;所述箱盖与外壳宽度方向两侧通过竖向锁紧搭扣相连,箱盖与外壳宽度方向一侧通过铰接件相连。

标签:
加工技术
辽宁 - 沈阳 来源:中冶有色网 2023-03-18
从电解质酸性浸出液中分离碳酸锂的方法

本发明公开一种从电解质酸性浸出液中分离碳酸锂的方法。其包括以下步骤:S1、搅拌和加热下,将可溶性盐溶液加入到铝电解质酸性浸出液中,并监测酸度和氟离子浓度,当pH值大于5,氟离子浓度小于0.01g/L时,停止添加;可溶性盐为MeSO4、MeNO3、MeCl中的一种或多种,Me为可与F生成沉淀的金属;S2、将反应物过滤,滤渣经洗涤、干燥,得到金属Me的氟化盐;搅拌和加热下,在滤液中加可溶性碳酸盐溶液,当锂离子浓度小于0.08g/L时,反应终止;S3、将滤液过滤,滤饼经洗涤、干燥得到碳酸锂;滤液蒸发、结晶、洗涤、干燥得到无机盐。本发明通过控制氟离子浓度和酸度控制反应过程,使锂离子与其他离子分离,获得高回收率碳酸锂,同时得到高纯度的氟化物和无机盐产品。

标签:
加工技术
辽宁 - 沈阳 来源:中冶有色网 2023-03-18
锂离子电池用硅基负极的制备方法

本发明涉及锂离子电池负极制备领域,特别是一种锂离子电池用硅基负极的制备方法,解决目前硅基材料作为锂离子电池负极材料,在嵌Li和脱Li过程中体积发生较大变化导致活性材料内部破坏及与集流体分离导致电池循环寿命低的问题。采用多孔金属、表面粗化处理的金属网或表面粗糙处理的金属箔为集流体,增加活性物质与集流体的接触面积及结合力,并为活性物质体积膨胀提供缓冲空间;采用物理气相沉积的方法在集流体表面共沉积不同比例的硅—金属合金活性物质,在硅—金属合金活性物质表面采用物理气相沉积一层完整的碳材料保护层,形成锂离子电池用硅基负极。本发明操作简单,对环境影响小,产品人为影响小,电池一致性高,更适合锂电池的要求。

标签:
加工技术
辽宁 - 沈阳 来源:中冶有色网 2023-03-18
铝锂合金表面残余应力分析方法

本发明公开了一种铝锂合金表面残余应力分析方法。所述铝锂合金表面残余应力分析方法包括如下步骤:步骤1:将待测铝锂合金零件分为待测孔挤压零件以及待测喷丸强化零件;步骤2:对待测孔挤压零件进行疲劳试验,并分别选取并测试待测孔挤压零件的净截面对称位置上距孔边多个距离的纵向的残余应力;步骤3:对待测喷丸强化零件进行疲劳试验,并分别测试待测喷丸强化零件破坏时的待测喷丸强化零件的表面纵向的残余应力;步骤4:分别绘制待测孔挤压零件的残余应力曲线图以及待测喷丸强化零件的残余应力曲线图。采用这种方法,将残余应力与待测铝锂合金零件的使用寿命联系起来,并通过分析残余应力来找出铝锂合金零件的寿命变化规律。

标签:
加工技术
辽宁 - 沈阳 来源:中冶有色网 2023-03-18
基于还原气氛处理的富锂锰基正极材料表面改性方法

本发明提供了一种基于还原气氛处理的富锂锰基正极材料表面改性方法,其步骤包括:将富锂锰基正极材料放入坩埚,然后置于管式炉中;使用氩氢混合气排尽管式炉内的空气,并使管式炉内外气压平衡;将管式炉升温至100‑400℃,对富锂锰基正极材料热处理2‑6h;待富锂锰基正极材料自然冷却后取出,经洗涤、干燥得到表面改性后的富锂锰基正极材料。本发明提供的一种基于还原气氛处理的富锂锰基正极材料表面改性方法,工艺简单,可操作性强,性能提升明显可靠。

标签:
加工技术
辽宁 - 沈阳 来源:中冶有色网 2023-03-18
软包锂电池化成分容治具

本发明涉及一种软包锂电池化成分容治具,电池分层机构包括多个夹紧板,位于两端的夹紧板的一面分别与压紧板的一面和固定支撑机构的一端相连,另一面以及位于两端之间的各夹紧板的两面均设有硅胶片,各夹紧板之间通过连接导向机构相连,压紧板上连接自锁传动机构,驱动压紧板对各夹紧板施加压紧力或卸压;自锁传动机构的一端安装在固定支撑机构的另一端,另一端与压紧板相连;相邻两硅胶片之间在压紧状态形成容置软包锂电池的隔间。本发明能够夹持多个软包锂电池,完成其化成、分容加工过程,且在过程中确保软包锂电池受到均匀稳定的压紧力,不会发生形变的化成分容治具。

标签:
加工技术
辽宁 - 沈阳 来源:中冶有色网 2023-03-18
金属硫化物应用于锂二次电池正极的方法

本发明公开了一种金属硫化物应用于锂二次电池正极的方法,属于电化学技术领域。本发明通过电化学电荷注入过程来有效调控金属硫化物电极材料,使其在1.7V~3.1V(vs.Li/Li+)具有稳定电化学活性,可作为正极材料用于锂二次电池。本发明适用于多种金属硫化物。同时本发明工艺过程简单并且与现有工艺兼容,可有效简化电极材料的生产、匹配流程,因此具有极大的应用前景。

标签:
加工技术
辽宁 - 沈阳 来源:中冶有色网 2023-03-18
快充的柔性锂离子电池及其电极的制备方法

本发明公开了一种快充的柔性锂离子电池及其电极制备方法,属于锂离子电池技术领域。该锂离子电池电极采用集流体与活性物质一体化设计。采用超轻且柔性的三维石墨烯联通网络结构(简称石墨烯泡沫)为集流体,活性物质内嵌在三维石墨烯泡沫表面,可通过水热、浆料灌注和浸渍过程得到一体化活性物质和集流体,并可根据需要调整活性物质含量。这种电池电极无需金属集流体、粘结剂及导电剂,三维石墨烯网络超高的导电性和多孔结构为锂离子和电子提供了快速的扩散通道。利用上述正负电极组装成锂离子电池,可实现快速充电,并且可弯折而无容量损失。本发明所述方法生产产品成本低、超轻超薄、可实现大批量生产,具有很高的实际应用价值。

标签:
加工技术
辽宁 - 沈阳 来源:中冶有色网 2023-03-18
锂离子电池电极结构及其制备方法

本发明涉及一种锂离子电池电极结构及其制备方法,属于锂离子电池技术领域。该方法通过将纳米碳材料与活性物质叠层,可在不降低锂离子电池容量基础上减少整个锂离子电池正负极中非活性物质含量,如正负极金属集流体、正负极极耳以及隔膜的用量,实现大幅提升锂离子电池的质量能量密度和体积能量密度。本发明方法可与现有工艺兼容,工艺简单操作方便效果明显,因此具有极大的应用意义。

标签:
加工技术
辽宁 - 沈阳 来源:中冶有色网 2023-03-18
铝硅固体酸包覆材料及其改性富锂正极材料制备方法

本发明涉及一种铝硅固体酸包覆材料,正硅酸四乙酯和异丙醇铝按SiO2:Al2O3的质量比为1:0.2~1:4,异丙醇铝和乙醇的质量比为1:100~1:200。使用所述材料包覆富锂正极材料的制备方法:S1、制备混合溶液:将正硅酸四乙酯和异丙醇铝混合材料溶解于无水乙醇中,并超声处理至全部溶解;S2、往步骤S1制备的混合溶液中按1‑xSiO2·xAl2O3:富锂正极材料=1:100~1:20的质量比加入富锂正极材料,x为正整数;经超声分散、静置再干燥获得前驱体;S3、将步骤S2获得的前驱体进行热处理,获得铝硅固体酸包覆的富锂正极材料。本发明制备的材料不仅能通过氧化物包覆层减少电解液对材料的侵蚀,而且通过固体酸的表面酸性进一步减少其侵蚀效果,从而改善材料的循环性能。

标签:
加工技术
辽宁 - 沈阳 来源:中冶有色网 2023-03-18
真空铝热还原生产镁锂合金的方法

一种真空铝热还原生产镁锂合金的方法,按以下步骤进行:(1)将白云石煅烧后磨细,与一水氢氧化锂混合均匀,制成球团;(2)球团在800~1100℃煅烧2~10获得煅烧料;(3)煅烧料磨细后与铝粉混合均匀,制成二次球团;(4)二次球团在真空度0.01~10Pa和1100~1250℃条件下真空还原,金属镁和金属锂被蒸馏出来,在结晶端冷凝合金化,形成粗镁锂合金;(5)粗镁锂合金在氩气气氛条件下加热熔化,加入精炼剂进行精炼,精炼渣捞出,合金熔体浇铸。本发明的方法无废弃物生成;制取的镁锂合金成分均匀,工艺简单,无危险,生产成本大幅度降低。

标签:
加工技术
辽宁 - 沈阳 来源:中冶有色网 2023-03-18
锂硫电池用聚硫化物正极材料、制备方法及应用

本发明公开了一种锂硫电池用聚硫化物正极材料、制备方法及应用,属于锂硫电池电极材料技术领域。该制备方法为:以氢氧化钠、硫粉和卤代烷为原料,调控结构导向剂的种类以及界面反应,制备具有高能量、高功率、高稳定性的锂硫电池用聚硫化物电极材料。本发明的材料应用于锂硫电池正极,不仅提高了材料的导电性,而且有效的缓解了体积膨胀,抑制了多硫化锂的产生,将穿梭效应减少至接近零,保证了优异的循环性能和倍率性能,使复合材料达到了较长的循环稳定性。是一种工艺流程简单、安全、环保,具有大规模生产潜力的锂硫电池正极材料。

标签:
加工技术
辽宁 - 沈阳 来源:中冶有色网 2023-03-18
真空金属热还原制取锂的装置与方法

本发明属于真空冶金技术领域,尤其涉及一种真空金属热还原制取锂的装置与方法。真空金属热还原制取锂的装置包括加热炉和反应罐;所述反应罐顶部具有开口端,并且其开口端设置有法兰盖,所述法兰盖与开口端密封连接;所述法兰盖上设置有充氩口、抽真空口、金属冷凝器和设置在法兰盖上表面的反应罐冷却水套;所述反应罐内由下而上依次放置有料桶、隔热装置和辅助冷凝器;所述料桶设置在反应罐腔体的底部且位于加热炉的加热区;隔热装置将料桶和辅助冷凝器隔开,使料桶底部和隔热装置之间形成还原反应区,隔热装置至法兰盖之间形成金属锂冷凝区。真空金属热还原制取锂的装置可以大幅度提高金属锂的冷凝与收集效率,降低单位质量金属锂的生产成本。 1

标签:
加工技术
辽宁 - 沈阳 来源:中冶有色网 2023-03-18
零点电源与锂离子电池的电池组作为航天仪器电源的应用

本发明公开了一种零点电源与锂离子电池的电池组作为航天仪器电源的应用,该电池组包括至少一个零点电源单体和至少一个锂离子电池单体,所述零点电源单体与所述锂离子电池单体能够串联和/或并联。本发明提供的所述电池组将零点电源和锂离子电池整合在一起,所述零点电源单体与所述锂离子电池单体可以串联和/或并联,也可以断开连接。例如,在使用时,如果锂离子电池的电量能够满足使用要求,则可以将所述零点电源单体与所述锂离子电池单体断开连接,锂离子电池与用电设备相连提供稳定的电压和电流;当锂离子电池使用一段时间之后(例如电量不足时),可以将所述零点电源单体与所述锂离子电池单体串联和/或并联,零点电源可以持续不断地、稳定地为锂离子电池充电,续航时间长,适合用作航天仪器电源,使用方便。

标签:
加工技术
辽宁 - 沈阳 来源:中冶有色网 2023-03-18
具有高倍率和长循环稳定性的Zn2SiO4锂离子电池负极的制备方法

本发明涉及锂离子电池领域,具体为一种具有高倍率和长循环稳定性的Zn2SiO4锂离子电池负极的制备方法。选用粘附性高、力学性能优异及利于锂离子迁移的聚丙烯酸锂作为粘结剂,高比表面积、大的长径比、高导电性的单壁碳纳米管作为添加剂;通过包碳技术将微波辅助溶剂热合成的Zn2SiO4进行碳包覆,将碳包覆的Zn2SiO4与粘结剂聚丙烯酸锂、导电剂及单壁碳纳米管水性添加剂按照一定比例在水溶剂中制成均匀的浆料,涂覆于集流体并在真空烘箱中干燥,裁片、组装成扣式电池。该电池不仅倍率性能得到了显著改善,而且长循环稳定性也得到了有效提高。本发明适用于多种锂离子电池负极材料,尤其对于合金化和转化型储锂机制的负极材料。

标签:
加工技术
辽宁 - 沈阳 来源:中冶有色网 2023-03-18
锂离子电池负极材料的改性方法

一种锂离子电池负极材料的改性方法,负极材料为一维纳米炭材料或一维纳米炭材料与碳质、锡基、硅基材料的复合物,一维纳米炭材料的直径范围在1nm-500nm之间,其特征在于:对负极材料表面进行金属与非金属间隔多层包覆处理,金属采用锡、铜、银、铬,非金属采用碳、硅、硼。本发明方法对锂离子电池负极材料的改性提高了锂离子电池负极的储锂容量、循环特性、动力学性能。

标签:
加工技术
辽宁 - 沈阳 来源:中冶有色网 2023-03-18
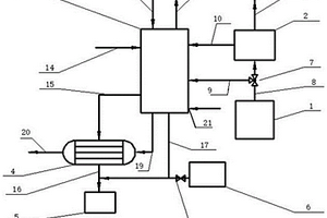
基于生物质斯特林溴化锂机组的三联供系统

基于生物质斯特林溴化锂机组的三联供系统属于烟气余热回收利用设备技术领域,具体涉及一种溴化锂机组三联供系统烟气利用装置,特别是溴化锂机组对多级烟气的回收利用。本实用新型节能、环保、高效,特别适用于偏远的农村地区基于生物质燃烧炉的斯特林溴化锂机组的三联供系统。本实用新型包括燃烧炉、斯特林发动机、供暖设备、生活热水设备和具有冷却水进口和冷却水出口的溴化锂机组,其特征在于:所述燃烧炉的烟气输出口分别与斯特林发动机和溴化锂机组的烟气入口相连;斯特林发动机的烟气输出接口也与溴化锂机组的烟气入口相连。

标签:
加工技术
辽宁 - 沈阳 来源:中冶有色网 2023-03-18
堆叠片状形貌锂离子电池负极材料的制备方法

本发明公开一种堆叠片状形貌锂离子电池负极材料Li4Ti5O12/rutile‑TiO2的制备方法,步骤:1)将CH3COOLi·2H2O、十二烷基硫酸钠置于乙醇中,搅拌混合,加入硫酸氧钛,干燥条件下反应,得反应液;2)向所述反应液中加入去离子水,搅拌,得乳白色溶液,将乳白色溶液移至反应釜中,170‑180℃反应36‑40h,离心分离,收集沉淀,乙醇洗涤,真空干燥,得产物前驱体;3)将产物前驱体置于空气氛围中,490‑700℃煅烧6‑7h,自然冷却至室温,研磨,得目标产物。不仅解决了嵌锂碳材料的安全隐患问题,其堆叠状结构增大了离子导电性,提高了材料的电化学性能,推动锂离子电池负极材料新时代。

标签:
加工技术
辽宁 - 沈阳 来源:中冶有色网 2023-03-18
受围挡的锂离子电池组超细水雾灭火实验装置

一种受围挡的锂离子电池组超细水雾灭火实验装置,包括防爆仓体、围挡外壳、锂离子电池组、电加热棒及超细水雾发生机构,锂离子电池组封装在围挡外壳内部,防爆仓体内设有温度传感器、烟气传感器、辐射热流计、激光粒子图像测速仪、相位多普勒粒子分析仪、红外摄像仪及高速摄像机。实验方法为:仅开展受围挡的锂离子电池组热失控及燃烧实验时,组装锂离子电池组并放置电加热棒,启动电加热棒直至电池组发生热失控或燃烧,记录实验数据,调整实验参数后重复实验;完整开展受围挡的锂离子电池组细水雾灭火实验时,组装锂离子电池组并放置电加热棒,启动电加热棒直至电池组发生热失控或燃烧,开启喷雾,记录实验数据,调整实验参数后重复实验。

标签:
加工技术
辽宁 - 沈阳 来源:中冶有色网 2023-03-18
柔性锂离子电池黑磷纳米片-石墨烯复合薄膜负极及制备

本发明属于电化学电池领域,具体涉及一种柔性锂离子电池用黑磷纳米片-石墨烯复合薄膜负极及其制备方法。采用矿物质辅助的气相输运方法高效合成高纯度、大尺寸的黑磷块体,随后将其在水中超声大量制备出干净、高质量的黑磷纳米片,进而将其与插层剥离法制备的高导电性石墨烯纳米片混合超声分散,真空抽滤制备柔性、高强度的层状复合薄膜,柔性复合薄膜负极制备过程简单、易控,可实现大面积、低成本制备。本发明充分利用黑磷纳米片的高容量和石墨烯良好的导电性以及两者同时具有柔性、高强度的二维结构特点,解决黑磷导电性和稳定性差的问题,提高锂离子电池的容量、循环稳定性及整体能量密度,实现锂离子电池电极一体化柔性设计。

标签:
加工技术
辽宁 - 沈阳 来源:中冶有色网 2023-03-18
带电池容量灯指示锂离子电池

本实用新型属于锂离子电池技术领域,具体为一种带电池容量灯指示锂离子电池,其包括:电池主体卡圈和卡槽,电池主体其顶部设置有电量指示灯;卡圈一体设置在所述电池主体顶部,所述卡圈上开设有相对的第一接线槽;卡槽开设在所述电池主体底部,所述卡槽与卡圈相互嵌合,所述卡槽上开设有相对的第二接线槽,所述第一接线槽与第二接线槽对应分布,在锂电池的顶部与底部设置相互嵌合的卡圈和卡槽,并在卡圈和卡槽的相对面开设接线槽,方便对锂电池进行堆叠接线,提高锂电池的安装适用范围,同时方便对锂电池进行堆叠运输。

标签:
加工技术
辽宁 - 沈阳 来源:中冶有色网 2023-03-18
氯化锂提纯的工艺方法

本发明涉及一种氯化锂的提纯工艺方法,以工业 碳酸锂和工业盐酸为原料,在搅拌条件下进行反应,得到氯化 锂溶液,添加氯化钡、氢氧化锂调pH=9~13,再加入草酸锂 或草酸溶液,在室温、搅拌条件下反应,所得硫酸钡,草酸钙, 氢氧化镁和氢氧化铁沉淀,再经膜固液分离技术达到固液分 离,除去硫酸根离子、钙、镁和铁等杂质离子,得到的清液在 常温、常压,控制pH=9~13条件下,添加LF净化剂:其组 成结构式为:Li1+xAxB2-x(PO4)3式中A=Sc3+、Al3+、Fe3+、Cr3+、Y3+、La3+B=Ti4+、Zr4+、Hf4+X=0~1, 在搅拌条件下,净化6~96小时,再经过膜固液分离技术达到固液分离,清液经过浓缩、干燥得到高纯度氯化锂(纯度>99.9%)产品,其中杂质含量Na<30ppm,K<10ppm,Ca<20ppm,Mg<10ppm,Fe<5ppm。

标签:
加工技术
辽宁 - 沈阳 来源:中冶有色网 2023-03-18
从铝电解质酸性浸出液中回收锂的方法

本发明涉及一种从铝电解质酸性浸出液中回收锂的方法,包括步骤:S1、调节铝电解质酸性浸出液中K++Na+、Al3+、F‑、Li+的摩尔比,使其满足:Al3+和F‑的摩尔比为1:1‑10;K++Na+和Li+的摩尔比为1:0.2‑2;K++Na+和Al3+的摩尔比为1:0.2‑2;S2、反应一定时间后产生沉淀,过滤得滤渣A;S3、将滤渣A与铝盐溶液混合,反应产生沉淀,过滤得到滤渣B和滤液C;S4、调节滤液C的pH>7,加入可与Li+形成沉淀的阴离子,使溶液中的锂沉淀出来并分离。本发明采用了与常规方法相反的顺序,先以锂钠冰晶石沉淀的形式将铝电解质酸性浸出液中的锂富集到沉淀中去,然后再将锂浸出到溶液,而铝氟被留在沉淀中,最后回收溶液中的锂。本发明可回收铝电解质酸性浸出液中的锂元素,并得到副产品羟基氟化铝。

标签:
加工技术
辽宁 - 沈阳 来源:中冶有色网 2023-03-18
上一页 25 26 27 28 29 ... 33 下一页
共33页    到第

中冶有色为您提供最新的辽宁沈阳有色金属加工技术理论与应用信息,涵盖发明专利、权利要求、说明书、技术领域、背景技术、实用新型内容及具体实施方式等有色技术内容。打造最具专业性的有色金属技术理论与应用平台!

全国热门有色金属设备推荐
展开更多 +
全国热门有色金属技术推荐
展开更多 +

 

江西省隆恩特环保设备有限公司
宣传

报名参会
更多+

报告下载

有色专家
更多+

太原理工大学
院长/教授
中南大学
中国工程院院士
南方科技大学
外籍院士
武汉科技大学
校学术委员会主任 / 教授
中国矿业大学(北京)
院长/教授
赤泥综合利用研究报告2025
推广

热门技术
更多+

推荐企业
更多+

福建省金龙稀土股份有限公司
宣传

发布

在线客服

公众号

电话

顶部
咨询电话:
010-88793500-807