青岛垚鑫智能科技有限公司
宣传

位置:中冶有色 >

有色技术频道 >

> 新能源材料技术

分类:
全部
矿山技术
冶金技术
材料制备及加工技术
环境保护技术
分析检测技术
 
全部
功能材料技术
复合材料技术
新能源材料技术
合金材料技术
加工技术
地区:
全部
北京
天津
上海
重庆
河北
山西
辽宁
吉林
黑龙江
江苏
浙江
安徽
福建
江西
山东
河南
湖北
湖南
广东
海南
四川
贵州
云南
陕西
甘肃
青海
内蒙
广西
西藏
宁夏
新疆
其他
其他
展开
 
全部
合肥
芜湖
蚌埠
淮南
马鞍山
淮北
铜陵
安庆
黄山
阜阳
宿州
滁州
六安
宣城
池州
亳州

安徽芜湖有色金属新能源材料技术理论与应用

免费发布技术信息>>
新能源汽车用可调节座椅

本发明公开了一种新能源汽车用可调节座椅,包括支撑底座,所述支撑底座的顶部开设有滑动槽,所述滑动槽的底部内壁上滑动连接有两个滑动板,所述滑动板上开设有转动孔,两个转动孔螺纹连接有同一个转轴,所述滑动槽的一侧内壁上开设有通孔,所述转轴的一侧延伸至滑动槽的侧壁上并和滑动槽的侧壁转动连接,所述转轴的另一侧延伸至通孔内并固定套设有第一伞齿轮,所述通孔的顶部内壁上固定安装有步进电机。本发明结构简单,在需要调节座椅本体时,步进电机可以带动转轴进行转动,进而可以调节座椅本体的水平位置,然后转动调节轴,便可以调节靠背承载垫的角度,因而便于调节座椅本体来适应不同人群的坐姿。

标签:
新能源
安徽 - 芜湖 来源:中冶有色网 2023-03-18
利用新能源的分离式台灯

本发明属于居家设备技术领域且公开了一种利用新能源的分离式台灯,包括底板、设备箱、高位照明组和低位照明组。本发明通过设置高位照明组和低位照明组,将高位照明组和低位照明组同时安装在设备箱的两个卡槽上,同时开启高位灯开关和低位灯开关,使高位LED灯和低位LED灯同时亮起,由于高位LED灯和低位LED灯存在高差和位置差,使得被光照射区域的影子部分消失,可实现无影灯的效果,设置的底板底部设置有太阳能电池板,需要充电时,将高位照明组和低位照明组拆下,将底板朝上放置在太阳光下,太阳能电池板可不间断的为蓄电池充电,节能环保。

标签:
新能源
安徽 - 芜湖 来源:中冶有色网 2023-03-18
新能源光伏发电网互联导体

本发明公开了一种新能源光伏发电网互联导体,其特征在于,包括以下步骤:采用纯度为99.957%以上的高纯阴极电解铜为基体,严格去除表面脏物,再经过烘烤预热;采用工频电磁熔炼炉熔炼,将熔炼、电磁搅拌一体化,熔炼温度控制在1150±10℃范围;采用细化晶粒方法,增大冷却管道,保障冷却水温度。本发明通过选用的铜体为纯度为99.957%以上的高纯阴极电解铜为基体,且去除表面脏污的方法是将铜进行清洗,使用的清洗溶剂为由多种螯合剂丶渗透剂丶氧化物溶解剂等助剂配制而成,再经过烘烤预热,烘烤预热的温度为80‑100℃,实现了铜体的高质量制作,使得最后的的导体产品质量高端,不会发生易破损的情况。

标签:
新能源
安徽 - 芜湖 来源:中冶有色网 2023-03-18
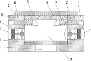
新能源鸡粪烘干系统
新能源鸡粪烘干系统 974     
 0

本发明公开了一种新能源鸡粪烘干系统,具有:支架;平板集热器,固定设置在支架上端;通风管,设置在平板集热器底部,平板集热器上端能够吸收太阳能的热量、下端能够散发热量从而对通风管内的空气进行加热;风机,其设置在通风管的进风端上;输送带,其设置在支架内平板集热器下方位置,输送带上输送鸡粪;通风管的出风端向下弯折朝向输送带;出风口,与通风管的出风端固定连接,送料履带,设置在输送带侧面并能将鸡粪输送到输送带上,利用太阳能烘干物料,是清洁可再生能源,有利于保护环境。

标签:
新能源
安徽 - 芜湖 来源:中冶有色网 2023-03-18
新能源汽车充电桩自动测试装置

本发明公开了一种新能源汽车充电桩自动测试装置,包括外壳,外壳内安装有电源模块和测试接收模块,外壳底面安装有万向轮,电源模块连接有温度测试仪,测试接收模块连接有负载箱、功率分析仪、安全性能综合测试仪和示波器,功率分析仪连接有PC主机,PC主机连接有控制箱,控制箱连接电源模块,控制箱内安装有Wifi接收模块,通过万向轮的设计使测试装置方便被移动,通过交流变频测试电源和可调直流电源可对交直流充电桩供电,电源可调满足了大多数不同种类和标准的充电桩的测试要求,通过各种仪器配合能检测电压、电流、波形、温度、绝缘性、异常反应能力等,检测全面可靠,WiFi接收模块的设计使测试电源模块能得到及时地改变和控制,保护了充电桩。

标签:
新能源
安徽 - 芜湖 来源:中冶有色网 2023-03-18
办公室用的新能源保温热水器

本发明提供一种办公室用的新能源保温热水器,包括机箱和内胆,机箱外侧均为保温隔板,一侧保温隔板上设有控制屏,控制屏上方,保温隔板上设有第一光能转换装置,又保温隔板上设有第二光能转换装置,且第一光能转换装置和所述第二光能转换装置均电性连接逆变器,逆变器位于所述机箱后方,且逆变器电性连接蓄电池,又蓄电池电性连接加热器,内胆下方设有导热板,导热板滑动连接加热器;内胆一侧设有出水孔,出水孔内侧旋转连接堵塞,机箱上设有取水装置,取水装置转动连接所述堵塞,且内胆上方,机箱滑动连接盖板,盖板上设有第一太阳能集热板。本发明通过在保温板上设有多个光能转换装置将室内的广内再次利用,节省资源。

标签:
新能源
安徽 - 芜湖 来源:中冶有色网 2023-03-18
应用在新能源汽车电池组的泡棉材料

本发明涉及泡棉材料制备技术领域,且公开了一种应用在新能源汽车电池组的泡棉材料,包括以下重量份数配比的原料:25份的107硅橡胶、8份的乙烯基硅油、28份的导热粉体、5份的气相法白炭黑、20份的阻燃剂、13份的三聚氰胺磷酸盐、4份的三氧化二锑、3份的氢氧化铝、0.5份的抗老化剂和1份的抑制剂、12份含氢硅油、0.5份的铂催化剂;上述泡棉材料的制备工艺包括以下步骤:步骤一:在室温下将上述物料混合均匀;步骤二:之后加入含氢硅油、铂催化剂,混合均匀,同时抽真空,以除去物料中的空气;步骤三:将混合好的物料放置在发泡装置内进行发泡10min,即制备得到泡棉材料。本发明解决了目前的泡棉材料存在导热功能较差的技术问题。

标签:
新能源
安徽 - 芜湖 来源:中冶有色网 2023-03-18
用于新能源汽车的减震器

本发明公开了一种用于新能源汽车的减震器,包括筒体和散热片,所述筒体上方中间位置处贯穿连接有活塞杆,且活塞杆上方连接有固定环,所述固定环一侧通过旋转轴连接有连接杆,且连接杆下方通过旋转轴连接有安装座,所述安装座一侧表面连接有缓冲弹簧,所述安装座下方抵接在筒体上方表面安装有轴承,所述活塞杆底端位于筒体内部设有活塞。本发明中,该减震器采用采用液压方式来实现减震作用,通过设置的第一单向阀、第二单向阀和活塞的作用,当汽车因震动导致活塞杆受力时,内油腔和外油腔内的液压油,在第一单向阀和第二单向阀的阻尼缓冲下循环流动,从而缓冲吸收汽车的震动。

标签:
新能源
安徽 - 芜湖 来源:中冶有色网 2023-03-18
针对焊接处理后新能源汽车软连接铜排的抛光设备

本发明涉及一种针对焊接处理后新能源汽车软连接铜排的抛光设备,包括固定框,所述固定框内设有升降柱,所述升降柱上铰接安装有沿升降柱轴线对称分布的压杆,所述固定框内设有带动压杆摆动以夹紧铜排的压紧机构,所述固定框上方分布有对铜排进行打磨的打磨机构,所述固定框的侧边分布有带动铜排进行翻面的翻转机构。本发明通过一号液压缸带动梯形块与梯形槽带动升降柱升降,使压杆压紧铜排,通过抛光轮对铜牌进行打磨,无需人工操作,同时电机带动气缸转动可使铜排翻面,保证正反两面打磨的一致性。

标签:
新能源
安徽 - 芜湖 来源:中冶有色网 2023-03-18
新能源安全教育电子宣传板

本发明属于宣传设备技术领域且公开了一种新能源安全教育电子宣传板,包括主体、挡雨板、太阳能板、LED显示屏、风机、置物槽、设备箱和垃圾箱,主体顶部设置有挡雨板,挡雨板顶部与支撑杆底部固定连接。本发明通过设置有太阳能板,太阳能板通过转换器将光能转化为电能储存在蓄电池内,供宣传板使用,更加环保节能,通过设置有音响,可以为一些视力不好的人群提供语音播报功能,使使用更方便以及人性化,通过设置的温度传感器和红外线传感器共同控制风机工作,使得只有在室外温度达到设定值,且宣传板前有人时,风机才会工作,否则风机停止工作,减少了资源的浪费,通过设置有垃圾桶,可以放置人们将垃圾倒出乱扔,对环境造成污染。

标签:
新能源
安徽 - 芜湖 来源:中冶有色网 2023-03-18
新能源汽车锂电池箱灭火装置

本发明公开了一种新能源汽车锂电池箱灭火装置,属于电池安全技术领域,包括电池板、盖板、若干个锂电池、移动板和灭火机构,每个所述锂电池均安装在所述电池板内,所述盖板安装在所述电池板上且所述盖板与所述电池板相匹配,所述移动板能够移动的安装在所述盖板上,所述灭火机构安装在所述盖板一端。本发明在盖板上设置有移动板,当锂电池起火产生烟雾时,烟雾传感器接收到信号,拉动气缸动作使移动板移动将盖板上的所有散热孔覆盖,隔绝电池板与外界的空气流动,同时主控制器控制主阀体和阀体转换器工作,罐体内的稀有气体通过主阀体进入阀体转换器中,稀有气体通过阀体转换器进入电池板内,实现电池板内锂电池的自动灭火。

标签:
新能源
安徽 - 芜湖 来源:中冶有色网 2023-03-18
新能源汽车充电桩的自动上电机构

本发明公开了一种新能源汽车充电桩的自动上电机构,包括充电枪插座、插座保护罩、充电枪和充电桩本体,充电枪插座安装在充电桩本体内,插座保护罩套接在充电枪插座外,插座保护罩与充电枪插座之间通过螺栓固定,充电枪包括充电枪外壳、微型开关触点和升降杆,充电枪外壳上设有倾斜板,倾斜板与充电枪外壳之间设有折叠面,倾斜板下设有第一弹簧,升降杆安装在第一弹簧内,第一弹簧外还增设有弹性外罩,微型开关触点安装在升降杆的下方,并且微型开关触点和升降杆在同一条直线上,在充电枪插座的上方设有压针杆,结构简单紧凑,实现充电桩自动上电断电,通过延时接通电源,对充电枪起到保护的作用,增强了自动上电机构的断电和上电稳定性。

标签:
新能源
安徽 - 芜湖 来源:中冶有色网 2023-03-18
新能源汽车集成电路板测试系统及测试方法

本发明涉及一种新能源汽车集成电路板测试系统及测试方法,包括底座、测试单元和夹持单元,所述的底座上端安装有测试单元,测试单元上端安装有夹持单元;本发明通过对集成电路板的四角进行同时的柔性夹持,防止了集成电路板因受理过猛受损的问题,同时也避开了集成电路板上端的电子原件,没有对电子原件造成损害;同时通过对集成电路板进行了离心测试和摆动测试,通过进行强度更大的测试,保证集成电路板的质量。

标签:
新能源
安徽 - 芜湖 来源:中冶有色网 2023-03-18
新能源汽车电池包上下壳体气密性检测工装

本发明提供一种新能源汽车电池包上下壳体气密性检测工装,包括底座,所述底座两侧设置有定位机构,所述底座周围设置有夹紧机构,所述底座上端旁设置有电池包上限位机构和电池包下限位机构,所述底座上端设置有密封硅胶,所述底座底部设置有通气口,通气加压装置通过通气口对工装进行通气加压,并通过气密性检测仪进行压降数据监测。通过定位机构对上下壳体进行定位,通过夹紧机构对上下壳体进行固定,通气加压装置通过通气口对工装进行通气加压,并通过气密性检测仪进行压降数据监测,用以检测上下壳体的气密性,设置电池包上限位机构和电池包下限位机构以提高检测精度,通过脚轮带动底座运动,便于对工装进行移动。

标签:
新能源
安徽 - 芜湖 来源:中冶有色网 2023-03-18
新能源电动车用低压控制电缆

本发明涉及电缆领域,具体是一种新能源电动车用低压控制电缆,包括电缆芯,所述的电缆芯包括数根相互绞合的退火铜导体、挤包在退火铜导体外部的交联聚烯烃绝缘层,所述的电缆芯的外部挤包有横截面呈三角状且具边角处具有圆弧过渡的低烟无卤聚乙烯固定层,所述的低烟无卤聚乙烯固定层的外部设置有金属铠装屏蔽层,所述的金属铠装屏蔽层的外部绕包有缓冲层,所述的缓冲层的外部挤包有丁腈橡胶支撑层,所述的丁腈橡胶支撑层的外部挤包有辐照聚氯乙烯护套,利用耐磨条使得本发明在使用时耐磨性能好,延长电缆的使用寿命;利用横截面呈三角状的低烟无卤聚乙烯固定层对电缆内部进行位置的相对固定,使得传输效果好。

标签:
新能源
安徽 - 芜湖 来源:中冶有色网 2023-03-18
新能源汽车用空气过滤装置

本发明公开了一种新能源汽车用空气过滤装置,包括过滤外壳,所述过滤外壳为圆柱形中空结构,且过滤外壳内开设有圆柱形的安装腔,所述安装腔的一端穿过过滤外壳的顶部,并连通外侧,所述过滤外壳的定位焊接有支撑块,且支撑块设置在过滤外壳表面的一侧,所述过滤外壳的顶部活动设置有盖板,且盖板通过转轴活动连接在支撑块的表面,所述盖板上开设有圆形的空槽,且空槽设置在安装腔的正上方,所述空槽内设置有过滤网,且过滤网设置在空槽内远离安装腔的一侧。本发明中,通过设置支撑板,可以对过滤筒芯内过滤的灰尘进行收集,防止堆积在过滤筒芯内,影响空气过滤的效果,通过设置活动的盖板,可以对盖板表面的过滤网和吸风扇进行清洁。

标签:
新能源
安徽 - 芜湖 来源:中冶有色网 2023-03-18
新能源汽车电池安装箱

本发明公开了一种新能源汽车电池安装箱,包括电池安装箱本体,所述电池安装箱本体呈中空型长方体结构设置,且其内部设有安装腔,所述电池安装箱本体的两侧内壁设有对称设置的活动槽,活动槽呈水平方向设置,且其内部滑动连接有活动杆,所述活动杆靠近电池安装箱本体中心位置的一端连接有挡板,且活动杆位于活动槽外部的圆周侧壁套接有弹簧,所述弹簧的两端分别与挡板和电池安装箱本体内壁相互靠近的一侧连接。本发明使得该电池安装箱能够便于安装拆卸电池,且可以将电池安装牢固,避免电池块脱离电池安装箱,同时能够及时对电池块进行散热处理,有效的延长了电池块的使用寿命。

标签:
新能源
安徽 - 芜湖 来源:中冶有色网 2023-03-18
新能源汽车太阳能板充电装置

本发明公开了一种新能源汽车太阳能板充电装置,包括风力发电机和水泥层,所述水泥层内部设有蓄电池组,所述水泥层顶部埋设有钢构架,且钢构架周围位于水泥层上端开设有泄水沟,所述水泥层顶部位于钢结构下方固定安装有充电机柜,且充电机柜侧方置放有灭火器,所述充电机柜上端设有显示界面,所述充电机柜中端设有操作台,所述充电机柜中端设有二维码。本发明中,随着网络逐渐升级,人们的支付方式也随之改变,从以前的纸币到现在的卡支付和微信支付,在充电机柜上的二维码和插卡口提供了多种支付方式,再通过显示器和操作台操作,方便人们支付费用,且节省部分人力。

标签:
新能源
安徽 - 芜湖 来源:中冶有色网 2023-03-18
具有防护功能的新能源汽车用充电桩

本发明公开了一种具有防护功能的新能源汽车用充电桩,包括防雨顶棚和装置本体,所述防雨顶棚的表面设置有太阳能电池板,且太阳能电池板的下方位于防雨顶棚的底部设置有干粉存储仓。本发明中,该装置设置了干粉存储仓和收缩隐藏式干粉灭火机构,当在汽车充电过程中充电桩的装置本体发生意外起火时,通过漏电保护器进行自动断电保护后,干粉存储仓底部的温度传感器就会感应到火灾温度源并利用干粉存储仓内的干粉通过收缩隐藏式干粉灭火机构上的高压喷头进行对装置本体进行灭火,达到了自动高效灭火的作用,不但能够第一时间投入灭火对装置进行保护,同时也保障了人员生命和财产的安全。

标签:
新能源
安徽 - 芜湖 来源:中冶有色网 2023-03-18
新能源汽车高压线束的连接装置

本发明公开了一种新能源汽车高压线束的连接装置,包括装置本体,所述装置本体的两侧内壁底端之间固定有两组限位杆,所述限位杆之间设置有双向螺纹杆,所述双向螺纹杆上螺纹连接有两组移动块,所述移动块的顶端四组均固定有固定杆,所述固定杆的顶端固定有固定板,所述固定杆上滑动连接有活动板,所述活动板的顶端两侧均固定有连接杆,所述连接杆的顶端均贯穿固定板并固定有回形框架,所述回形框架的两侧内壁中部均固定有齿条,回形框架的内部设置有扇形齿轮。本发明设计巧妙,结构合理,操作简单,能够对不同型号的高压线束进行夹持固定,有利于扩大装置的适用范围,同时方便对两组高压线束进行连接或者拆卸,灵活性强,适宜推广使用。

标签:
新能源
安徽 - 芜湖 来源:中冶有色网 2023-03-18
新能源汽车阻燃线束护套材料及其制备方法

本发明涉及线束护套材料领域,具体公开了一种新能源汽车阻燃线束护套材料,包括以下组分:聚醚醚酮PEEK 35‑50份、EVA树脂20‑35份、热固性液体聚酰亚胺纯树脂15‑20份、改性活性碳纤维4‑6份、超细活性碳酸钙6‑10份、邻苯二甲酸二异壬酯3‑5份、润滑剂2‑4份、抗氧剂0.5‑0.9份。本发明采用EVA树脂和聚醚醚酮PEEK等作为基质,基质本身具有阻燃、耐热、抗腐蚀等性能,再复配改性活性碳纤维等,使得制备得到的材料性能更加优异(如阻燃、抗腐蚀、耐热等性能)。

标签:
新能源
安徽 - 芜湖 来源:中冶有色网 2023-03-18
新能源汽车用扭杆弹簧喷塑装置

本发明公开了一种新能源汽车用扭杆弹簧喷塑装置,包括底座、步进电机一、轴承端座、伺服电机、丝杆、滑块、转轴、电动推杆组件和连接座,底座中间设有矩形槽,底座上端右侧设有连接板,步进电机一与连接板连接,轴承端座与底座右端端面连接,伺服电机与轴承端座连接,伺服电机的输出轴与丝杆一端同轴连接,丝杆的另外一端与底座连接,滑块与矩形槽滑动连接,滑块下端设有螺纹孔,且丝杆与螺纹孔形成螺旋副连接,滑块上端设有圆柱孔,转轴与圆柱孔转动连接,电动推杆组件由推杆电机、齿轮箱和推杆组成,连接座与推杆前端连接,连接座上设有喷塑架,实现了扭杆弹簧的自动化喷塑操作、均匀性好,且不会出现局部漏喷情况的发生。

标签:
新能源
安徽 - 芜湖 来源:中冶有色网 2023-03-18
对流型有机废物无害化处理系统发酵产生新能源的方法

本发明公布了对流型有机废物无害化处理系统发酵产生新能源的方法,储气板内的沼气气压增大,挤压发酵腔室内的沼液流向进料管、出料管、布菌装置,布菌装置的布菌排水管内的沼液高度与进料管、出料管内的沼液高度相同,储气板内的沼气气压进一步增大时,沼液将通过进料管排水管、出料管排水管、布菌排水管流入水压间内,并在水压间内充分混合;当使用储气板内存储的沼气时,储气板内的沼气气压下降,促使水压间内存储的沼液分别通过进料管排水管、出料管排水管、布菌排水管回流至发酵腔室中,回流过程中再次促进了沼液对流,从而促进发酵原料、菌种的均匀分布。

标签:
新能源
安徽 - 芜湖 来源:中冶有色网 2023-03-18
新能源公交车温度调节系统

本发明公开了一种新能源公交车温度调节系统,其中调节系统由手动控制模式和智能控制模式两种组成,所述手动控制模式即由人工可调节温度、出风量以及换气系统,智能模式为通过分布式红外系统采集基础数据,传输回数据处理模块,经过综合分析,实时调整不同区域的温度、出风量,避免风量过大、温度设置不合理给乘客带来不好的感受,同时避免在乘客较少的情况下,空调以额定功率运转,产生不必要的浪费,在未达到空调启动温度时,智能系统开启间断换气系统,大大降低能源消耗,具有广泛的应用前景。

标签:
新能源
安徽 - 芜湖 来源:中冶有色网 2023-03-18
基于厌氧发酵技术制取新能源的系统

本发明公布了基于厌氧发酵技术制取新能源的系统,其包括发酵罐体、安装于发酵罐体内的储气板、安装于发酵罐体内的水压间、将发酵罐体分隔的料口分隔板,储气板上设置有与挡气板相匹配的挡气板导向槽,挡气板的侧壁上设置有若干沿着方向布置的挡气板插孔,储气板上设置有与挡气板插孔相匹配的定位插孔;移动挡气板运动至指定位置,使得挡气板插孔与定位插孔同轴布置,并插入与之相匹配的插件,利用插件将挡气板与储气板固定。

标签:
新能源
安徽 - 芜湖 来源:中冶有色网 2023-03-18
新能源汽车换电操作提示系统及汽车

本实用新型涉及汽车控制技术领域,提供了一种新能源汽车换电操作提示系统及汽车,该系统包括:电池框,电池框上设有位置传感器;位置传感器与电池管理系统BMS通讯连接;上升触发键,下降触发键,上升触发键和下降触发键与电池管理系统BMS通讯连接,电池管理系统BMS与行人提示装置PPD通讯连接。在对动力电池进行换电操作时,通过行人提示装置向周围的行人发出语音提醒,通过ICM/HMI向车内的驾乘人员发出相关提示。

标签:
新能源
安徽 - 芜湖 来源:中冶有色网 2023-03-18
新能源车型的前座椅安装支架总成

一种新能源车型的前座椅安装支架总成,包括固定连接在中通道板和地板上的前座椅安装横梁,所述的前座椅安装横梁上方固定设置有前座椅安装支架,所述的前座椅安装支架为罩体结构,所述前座椅安装支架的内侧壁与前座椅安装横梁的外侧壁固定连接,所述前座椅安装支架的上端沿Y向依次设置有若干安装孔。本实用新型解决了传统前座椅安装点的位置受前座椅安装横梁的Z向高度限制,不利于车身平台化设计的问题,同时前座椅横梁料厚较厚,不利于车身轻量化设计的问题。

标签:
新能源
安徽 - 芜湖 来源:中冶有色网 2023-03-18
新能源汽车动力电池组移动吊装工具

本实用新型公开了一种新能源汽车动力电池组移动吊装工具,包括吊具固定支架(1),吊具固定支架(1)为水平设置的方框形结构,在其下表面靠近四个角的位置,分别设置吊链单元(2),每个吊链单元(2)的下端分别设置吊链起吊钩(3);吊链起吊钩(3)用于勾住目标动力电池组箱体的吊装环的孔。采用上述技术方案,使动力电池组移动吊具有多个吊钩安装孔,可以实现不同厂家、不同重量、不同型号动力电池的吊装;操作便捷,一个人即可完成动力电池组的移动吊装、安装工作,极大地提高了产生效率;起吊和移动过程更加稳定,提高了生产的安全性。

标签:
新能源
安徽 - 芜湖 来源:中冶有色网 2023-03-18
新能源汽车A柱结构
新能源汽车A柱结构 823     
 0

本实用新型公开了一种新能源汽车A柱结构,包括A柱主结构和A柱外饰板(2);所述的A柱主结构为A柱铝型材(1),所述的A柱铝型材(1)为中空的管状结构。采用上述技术方案,具有轻量化的技术优势;该结构还具备开发周期短、模具费用低、尺寸精度易于控制等优点。

标签:
新能源
安徽 - 芜湖 来源:中冶有色网 2023-03-18
新能源电池散热板气动夹具

本实用新型的一种新能源电池散热板气动夹具,涉及夹具领域,包括加工台和散热板,加工台上设有第一加工装置和第二加工装置,第一加工装置由支撑模块、小气缸组和工件压板构成,第二加工装置由支撑模块、固定模块、大气缸、整压装置构成,第一加工装置和第二加工装置均通过螺栓和螺纹孔的连接方式与工作台固定连接,加工台上设有机械手和控制器,控制器分别与机械手、小气缸和大气缸电性连接,本实用新型具有工艺短、设备少、流程快、效率高的优点,解决了当前技术中存在的工艺流程长,设备过多,效率低下等问题。

标签:
新能源
安徽 - 芜湖 来源:中冶有色网 2023-03-18
上一页 23 24 25 26 27 ... 50 下一页
共50页    到第

中冶有色为您提供最新的安徽芜湖有色金属新能源材料技术理论与应用信息,涵盖发明专利、权利要求、说明书、技术领域、背景技术、实用新型内容及具体实施方式等有色技术内容。打造最具专业性的有色金属技术理论与应用平台!

全国热门有色金属设备推荐
展开更多 +
全国热门有色金属技术推荐
展开更多 +

 

江西省隆恩特环保设备有限公司
宣传

报名参会
更多+

报告下载

有色专家
更多+

矿冶科技集团有限公司
中国工程院院士
矿冶科技集团
副所长/研究员
任灵宝金源矿业股份有限公司
技术发展部经理
赣州有色冶金研究所有限公司
副主任/高级工程师
重庆理工大学
教授
赤泥综合利用研究报告2025
推广

热门技术
更多+

推荐企业
更多+

福建省金龙稀土股份有限公司
宣传

发布

在线客服

公众号

电话

顶部
咨询电话:
010-88793500-807