青岛垚鑫智能科技有限公司
宣传

位置:北方有色 >

有色技术频道 >

> 固/危废处置技术

分类:
全部
矿山技术
冶金技术
材料制备及加工技术
环境保护技术
分析检测技术
 
全部
废水处理技术
大气治理技术
固/危废处置技术
土壤修复技术
地区:
全部
北京
天津
上海
重庆
河北
山西
辽宁
吉林
黑龙江
江苏
浙江
安徽
福建
江西
山东
河南
湖北
湖南
广东
海南
四川
贵州
云南
陕西
甘肃
青海
内蒙
广西
西藏
宁夏
新疆
其他
其他
展开
 
全部
沈阳
大连
鞍山
抚顺
本溪
丹东
锦州
营口
阜新
辽阳
盘锦
铁岭
朝阳
葫芦岛

辽宁沈阳有色金属固/危废处置技术理论与应用

免费发布技术信息>>
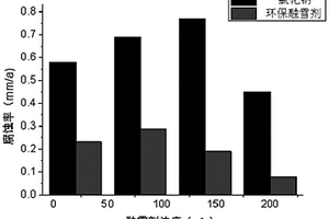
利用废水处理沉淀物作为阻燃填料制备硅橡胶复合绝热材料的方法

本发明属于固体废弃物资源化利用技术领域,具体涉及一种利用废水处理沉淀物作为阻燃填料制备硅橡胶复合绝热材料的方法。本发明利用镁法脱硫废弃物作为镁源,含有六价铬的废水作为铬源,在酸性条件下充分反应后,调节pH至中性,使铬镁形成共沉淀;将沉淀绿泥压滤脱水后,于100℃干燥脱水,将干燥后的试样在马弗炉中高温焙烧得到墨绿色铬镁尖晶石粉体(阻燃填料);将甲基乙烯基硅橡胶(VMQ)、甲基苯基乙烯基硅橡胶(PVMQ)、白炭黑、羟基硅油及硫化剂DPC按一定比率混炼并静置24h后再加入阻燃材料后充分混炼,将上述混炼好的硅橡胶混炼胶置于平板硫化机中,加压加温进行一次硫化,取出试样后再放入电热鼓风干燥箱中进行二次硫化,即可得到产品。本发明将废弃物无害化处理的同时,实现废弃物的资源化利用,从而产生明显的经济效益、社会效益及环境效益。

标签:
固废
辽宁 - 沈阳 来源:北方有色网 2023-03-19
基于半干法烟气脱硫灰的高级氧化体系处理有机废水的方法

本发明属于固体废弃物资源化利用和废水高级氧化处理技术领域,具体涉及一种基于半干式钙法烟气脱硫灰的高级氧化体系处理有机废水的方法,该体系是由紫外光或可见光、纳米过渡金属氧化物、溶解氧、缓释SO3的脱硫灰组成。该体系在紫外光或可见光照射且通氧(含有溶解氧)的条件下,由SO3经过光照活化产生的SO3·‑与溶解氧O2作用,可产生强氧化性的硫酸根自由基SO4·‑,破坏废水中有机的化学键,从而将污染物降解并提高废水可生化性。本发明对废水中有机物具有较好的去除效果,同时也实现了半干法脱硫灰的源化利用,达到以废治废的目的。

标签:
固废
辽宁 - 沈阳 来源:北方有色网 2023-03-19
环保节能的工业垃圾废水处理装置

本实用新型公开了一种环保节能的工业垃圾废水处理装置,包括废水处理池、除水装置和静置池,所述静置池的内部装配有用于检测沉降污泥高度的污泥检测器,本实用新型设置了一种带有污泥检测器的废水处理装置,在使用时,污水从废水处理池的内部被抽出,经过螺旋除水机后,将污水分离为固体废料和接近于澄清的污水,随后水流继续被排放到静置池进行静置沉降,在沉降一段时间后,电机带动升降杆向下移动,当配重环触底后,配重环停止运动,移动片离开触点开关,电机停止转动并记录电机的转动圈数,经过计算得到污泥厚度,有效的解决了现有的工业垃圾废水处理设备的沉降池内部堆积的污泥不便于探测厚度,因此不便于清理的问题。

标签:
固废
辽宁 - 沈阳 来源:北方有色网 2023-03-19
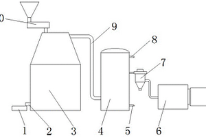
利用熔融气化炉处理危废的装置

本实用新型涉及一种危废处理装置,特别是一种利用熔融气化炉处理危废的装置,该装置包括熔融气化炉、安装在熔融气化炉出渣口的渣包、设置在熔融气化炉上的给料装置、与熔融气化炉相连的热交换器,其特征在于上述热交换器通过烟气回收管与熔融气化炉相连,在热交换器上设置有进水口和出水口,在热交换器的排气口设置有除尘装置,除尘器的排气口与二次燃烧装置相连。本装置具有配置合理、热利用效率高、危废处理效果和对环境友好等特点,非常适合危废和城市固体垃圾的处理。

标签:
固废
辽宁 - 沈阳 来源:北方有色网 2023-03-19
废气净化再生能源装置
废气净化再生能源装置 1001     
 0

本实用新型适用于废气处理净化辅助装置领域,公开了一种废气净化再生能源装置,包括处理管,所述处理管左右两侧中端内部均竖向开设有第一滑动槽,所述第一滑动槽内部底部滑动安装有滑动柱,所述滑动柱侧边之间固定安装有过滤板。本实用新型可以通过推动滑动柱在第一滑动槽内部进行移动,进而便于快速的将过滤板从处理管内部进行移出,进而在过滤板对废气进行过滤处理后,可以对过滤板表面堆积的固体杂质进行清理处理,保证对废气正常的通过对其中的杂质进行过滤处理,并且通过液压推动缸的运转可以自动快速推动连接板,进而带动过滤板在处理管内部进行移动,进而保证后续的清理,较为实用,适合广泛推广与使用。

标签:
固废
辽宁 - 沈阳 来源:北方有色网 2023-03-19
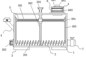
具有高效排污结构的废水处理装置

本实用新型公开了一种具有高效排污结构的废水处理装置,包括处理仓、底座、进水口和排污口,所述处理仓底端的四个拐角处均固定连接有底座,所述处理仓内部底端的一端设置有出污机构,所述处理仓的一侧设置有进水口,所述处理仓的内部设置有压紧结构,所述处理仓顶端的一侧设置有净化结构,所述处理仓一侧的底端设置有排污口。本实用新型通过在压紧结构的内部依次设置有挤压网、螺纹轴、转盘、滑块、滑槽和驱动块,在使用时,废水絮凝完成后转动转盘,转盘会带动螺纹轴转动,螺纹轴带动驱动块向下运动,从而带动挤压网通过滑块和滑槽向下滑动,这样就可以对底部的固体絮凝物固定,从而可以便于将固体絮凝物输出,便于对废水的处理。

标签:
固废
辽宁 - 沈阳 来源:北方有色网 2023-03-19
树脂吸附再生高浓度有机废液的处理工艺装置及方法

一种树脂吸附再生高浓度有机废液的处理工艺装置及方法,属于水处理领域。该装置包括催化凝聚反应设备、泥水分离浓缩设备、吸附设备和固体脱水设备;催化凝聚反应设备、泥水分离浓缩设备和吸附设备依次用管路连接,泥水分离浓缩设备旁路设置有固体脱水设备。该方法为:向树脂吸附再生高浓度有机废液,投加催化剂,搅拌,将生成的泥水混合物进行泥水分离,将过滤清液进行吸附处理;将泥水浓缩料液进行脱水,污泥外运填埋处置,脱水残液回流至泥水分离浓缩设备前段。该方法对高浓度有机废液中有机物去除率可高达99%以上,同时具有投资、运行成本低、运行管理简单等优点,排水经简单处理就可以实现达标排放,与传统工艺相比具有巨大技术经济优势。

标签:
固废
辽宁 - 沈阳 来源:北方有色网 2023-03-19
从废三元催化剂中提纯铂族金属的方法

一种从废三元催化剂中提纯铂族金属的方法,其特点是有以下步骤:(1)经破碎研磨、高温焙烧得到的废三元催化剂,加入硼氢钠水溶液煮沸还原;(2)还原液过滤,配入氯化钠和亚氯酸钠的盐酸溶液浸出、过滤得到固体催化剂,再进行酸洗和水洗,将洗液和浸出液合并、浓缩、化验;(3)将浸出液进行铂族金属分离,提纯,得到高纯铂族金属。本发明针对现有从废汽车催化剂铂族金属回收方法存在的问题,给出了在回收铂族金属流程中加入催化剂预处理和使用不同氧化剂做浸出剂的方法,具有作业环境好、铂族金属收率高、能量消耗小的特点。

标签:
固废
辽宁 - 沈阳 来源:北方有色网 2023-03-19
利用水淬渣和粉煤灰处理废水制作土壤基肥的方法

本发明涉及一种利用水淬渣和粉煤灰处理废水制作土壤基肥的方法。该方法包括将水淬渣、粉煤灰预处理后,经过碱熔水热混合法制备人工沸石即4A沸石,利用合成的沸石首先对粉煤灰“一步酸溶法”提取氧化铝工艺产生的含钙废水进行净化,之后继续对氮磷废水进行净化处理,将处理废水后的产物过滤、干燥并研磨成粉,直接作为酸性土壤基肥。本发明方法处理成本低,且处理过程中不会产生“二次污染”,有效利用了废水中丰富的钙离子成分,间接避免了资源的浪费,并实现了对城市内两大固体废弃物的高值利用,充分提升了“城市内矿山”的潜在利用价值,且对两种类型工业废水起到了净化效果,真正做到了节能减排、变废为宝,具有超高的现实意义及应用价值。

标签:
固废
辽宁 - 沈阳 来源:北方有色网 2023-03-19
基于镁法烟气脱硫废弃物的高级还原体系去除卤代有机物的方法

本发明属于固体废弃物资源化利用和废水高级还原处理技术领域,具体涉及一种基于镁法烟气脱硫废弃物的高级还原体系去除卤代有机物的方法,主要步骤如下:(1)将取自稳定运行的湿式镁法烟气脱硫系统产生的废弃物经过干燥破碎后,研磨过80目筛子;(2)将含有卤代有机物的废水与烟气脱硫废弃物充分混合,向混合后的废水中通入氮气去除体系中的溶解氧;(3)持续搅拌并调节体系至中性或弱碱性,采用UVB或UVC波段的紫外灯,在功率20W‑80W,持续照射15‑180 min。本发明对卤代有机物具有较好的去除效果,同时也实现了镁法烟气脱硫废弃物的低成本资源化利用,达到以废治废的目的。

标签:
固废
辽宁 - 沈阳 来源:北方有色网 2023-03-19
利用不锈钢酸洗废液制备碳包覆复合氧化物粉体的方法

本发明涉及一种利用不锈钢酸洗废液制备碳包覆复合氧化物粉体的方法,属于废物利用领域。一种利用不锈钢酸洗废液制备碳包覆复合氧化物粉体的方法,利用固体碱或碱溶液将不锈钢酸洗废液的pH值调至7~11,使其充分混合并生成含有沉淀物的混合液;过滤所得混合液,并将所得沉淀物干燥后于400~700℃球磨,得复合氧化物粉体;将所得复合氧化物粉体与碳源材料混合后干燥,氩气氛围下,300~400℃球磨,反应0.5~4h,获得碳包覆复合氧化物粉体。本发明实现了不锈钢酸洗废液无害化排放的同时将有害的重金属离子进行固化处理和资源化利用,得到锂离子电池的复合负极材料。

标签:
固废
辽宁 - 沈阳 来源:北方有色网 2023-03-19
利用废瓷制备低温发泡陶瓷防腐砖的方法

一种利用废瓷制备低温发泡陶瓷防腐砖的方法,主要解决了废瓷的再利用和工业用防腐材料性能差的技术问题。该方法采用废瓷和废玻璃作为主要原料,进行粉碎加工,再辅以助熔剂、稳泡剂,将以上物料装入球磨罐中球磨,并将混匀的原料装入模具中经过低温烧制,生产出低温发泡陶瓷防腐砖。上述稳泡剂采用含有低熔点物质的组分,磷酸盐和硼酸盐;助熔剂采用工业钙盐、工业钠盐、硼酸盐中的一种,球磨介质球采用鹅卵石和高铝球混合使用。采用本方法制得的发泡陶瓷防腐砖,耐腐蚀、耐高温和耐候性好。可有效替代工业生产中,诸如炼钢厂和发电厂现有烟道用防腐材料。充分利用了陶瓷废瓷等废料资源,提高了固体废弃物的资源化利用,具有很好的经济价值和环保价值。

标签:
固废
辽宁 - 沈阳 来源:北方有色网 2023-03-19
从晶体硅的切割废料浆中回收高纯硅粉的方法

一种从晶体硅的切割废料浆中回收高纯硅粉的方法,属于二次资源利用的技术领域。该方法,首先,晶体硅的切割可采用电镀金刚线或者树脂金刚线切割。其次,切割时采用不含氧化铝和氧化钙的板材作为把持材料,以替代传统的含氧化铝约为20~60%的树脂板。再次,将切割晶体硅所得的废料浆进行固液分离得到固体物料。然后,对固体物料进行磁选分离和酸浸除杂得到净化物料。最后,对净化物料进行干燥筛分得到纯度高于98%的高纯硅粉。该方法具有流程短、能耗低、污染小、回收率高、简单易行等优点,并且易于实现工业化生产。该方法实现了高效生态化的回收,不仅变废为宝,而且减少了环境污染。

标签:
固废
辽宁 - 沈阳 来源:北方有色网 2023-03-19
以醋酸废液与秸秆灰为原料的环保融雪剂及其制备方法和应用

本发明涉及一种以醋酸废液与秸秆灰为原料的环保融雪剂及其制备方法和应用,属于融雪剂技术领域。环保融雪剂的制备涉及小麦秸秆灰、醋酸废液等,在干燥的小麦秸秆灰中加入稀释的醋酸废液,其中小麦秸秆灰与醋酸废液的质量比为1:10,在85℃条件下水浴加热75min,机械搅拌,反应结束后抽滤除去不溶物,得到的浅黄色的溶液经旋转蒸发器结晶,溶于蒸馏水中用活性炭吸附,最终得到融雪剂固体。利用小麦秸秆热裂解液化产生的大量的醋酸﹑羟基丙酮和乙醛与醋酸废液混合,制造出醋酸盐类环保型融雪剂。环保融雪剂原料廉价易得、融雪效果好、无污染且无腐蚀性低。

标签:
固废
辽宁 - 沈阳 来源:北方有色网 2023-03-19
利用含钛高炉渣和页岩废渣制备发泡陶瓷的方法

本发明涉及一种利用含钛高炉渣和页岩废渣制备发泡陶瓷的方法,按以下步骤进行:S1、准备含钛高炉渣、页岩废渣、二氧化硅粉作为原料;S2、准备硼砂、球粘土、发泡剂、氧化镁、氧化锰和偏磷酸钠作为添加剂;S3、将全部原料和添加剂混合后湿磨制成料浆;S4、将料浆放入烘箱进行干燥,然后在粉碎机中粉碎,制成粉体,粉体粒径为200~300目;S5、将粉体颗粒填充到模具后用中温箱式电阻炉进行焙烧发泡和析晶过程;之后冷却获得发泡陶瓷。本发明的方法制备工艺简洁,操作简单,所用含钛高炉渣和页岩废渣为废弃物,实现了固体废弃物的资源化利用,得到的发泡陶瓷产品价值高。

标签:
固废
辽宁 - 沈阳 来源:北方有色网 2023-03-19
钛铝金属间化合物化学铣切废液的处理方法

本发明涉及废液处理领域,特别是一种钛铝金属间化合物化学铣切废液的处理方法,处理的具体过程为:(1)过滤:将化学铣切废液中的固体杂质过滤去除;(2)化学铣切废液冷却至20℃以下后加入形核剂,使氟氧化铝从溶液中沉淀出来;(3)将钾盐加入到废液中,使钛离子成为氟钛酸钾从溶液中沉淀出来,并通过离心分离机将其集中到残渣中;(4)离心分离机出来的废液进行有效成分分析标定,可作为再生化铣溶液。本发明可以使失效的化学铣切废液得到再生,进行循环使用,有效降低了化铣溶液成本,降低了化学铣切废液的排放成本,可以使工厂见到明显的经济效益,并且降低了化学铣切废液排放对环境造成的污染,具有明显的社会效益。

标签:
固废
辽宁 - 沈阳 来源:北方有色网 2023-03-19
处理印染废水的改性煤矸石吸附剂的制备方法和应用

本发明涉及一种处理印染废水的改性煤矸石吸附剂的制备方法和应用,属于固体废物资源化利用领域。本发明是将废弃煤矸石粉粹至120目与ZnCl2按质量比1∶1.8混合,在620℃的缺氧条件下焙烧,再用1.25mol/L的HF溶液酸化回流,1h后冲洗至中性,在105℃下烘干即可获得一种处理印染废水的改性煤矸石吸附剂。本发明将废弃煤矸石应用于印染废水的处理,制备简便,成本低廉,对印染废水的色度去除率可达92.16%,同时对COD去除率可达57.31%,与其他同种印染废水脱色吸附剂相比处理COD的效率较高。

标签:
固废
辽宁 - 沈阳 来源:北方有色网 2023-03-19
选择性去除不锈钢酸洗废水中氟离子的方法

一种选择性去除不锈钢酸洗废水中氟离子的方法,涉及一种去除废水中氟离子的方法,本发明包括将氟离子从大量的不能直接排放的酸洗废水中分离出来并浓缩和将改性水滑石吸附剂再生两个步骤。该方法充分利用了改性镁铝水滑石对水溶液中不同阴离子吸附能力有差别的特性。将水滑石投入主要含硝酸、硫酸和氢氟酸的酸性废水中,氟离子被优先吸附,通过减压过滤将水滑石从溶液中分离,放入少量碳酸钠溶液中,氟离子被碳酸根离子置换到溶液中,再将水滑石从溶液中分离,经干燥、焙烧后可再次使用。这种方法特别适合于对所排放废水中硫酸根和硝酸根含量不限制的情况,并且能减少危险固体废弃物的排放量。

标签:
固废
辽宁 - 沈阳 来源:北方有色网 2023-03-19
利用石墨提高废弃印刷线路板中金属生物浸出率的方法

本发明利用石墨提高废弃印刷线路板中金属生物浸出率的方法,属于固体废弃物回收技术领域,方法步骤为:1)将废弃印刷线路板破碎,使其粒度≤0.25mm。2)使用9K培养基活化培养中温混合嗜酸菌。3)将破碎后的废弃印刷线路板粉末与石墨放入含有混合嗜酸菌的微生物反应器中进行生物浸出铜和锌,浸出完成后过滤,即为含铜和锌的浸出液。本发明方法采用添加石墨强化手段,固液传质较好,与未添加石墨的生物浸出相比,可提高铜浸出率3‑17%,锌浸出率可提高1.47‑2.44%。石墨的高导电性、大比表面积可以有效的提高电子转移速率,从而提高铜和锌的浸出率。

标签:
固废
辽宁 - 沈阳 来源:北方有色网 2023-03-19
生物质石墨烯及其制备方法和在处理染料废水中的应用

本发明属于染料废水处理技术领域,具体涉及一种生物质石墨烯及其制备方法和在处理染料废水中的应用。制备方法如下,将NiCl2配制成水溶液,向纤维素中加入NiCl2水溶液,加热至纤维素半干状态;铺到刚玉方舟内,进行热裂解反应,得到固体粉末;置于盐酸中,热回流处理三次,每次回流时间为4h,用去离子水洗涤至中性后进行真空干燥,即得生物质石墨烯。本发明所制备的生物质石墨烯处理含有亚甲基蓝和罗丹明B的废水具有较好的效果。本发明变废为宝,为废弃生物质提供了一种绿色环保、高值化的途径,且用来处理染料废液的方法,达到了以废治废的目的。

标签:
固废
辽宁 - 沈阳 来源:北方有色网 2023-03-19
利用粉煤灰合成沸石处理废水制作土壤改良剂的方法及装置

本发明涉及一种利用粉煤灰合成沸石处理废水制作土壤改良剂的方法及装置,对粉煤灰进行预处理,采取碱熔水热混合法处理合成粉煤灰沸石;将待处理的废水与粉煤灰沸石分别投入到反应器中,充分搅拌均匀后,向反应器中加入含二价镁离子和磷酸根离子的水溶液,混合均匀形成新的粉渣,将其进行干燥,并研磨成细小颗粒;将细小颗粒与农家肥、富含氮磷钾的农用化肥或农用钾肥分别混合均匀,形成新型土壤改良剂。可用于促进农作物生长。本发明的方法及装置做到了响应国家号召将粉煤灰“变废为宝”,不仅处理了堆积的固体废物粉煤灰,还用其净化废水,降低了净化氨氮废水的成本,制作为土壤改良剂后还降低了农业制作化肥的成本,因而由此带来的经济效益与环境效益十分显著。

标签:
固废
辽宁 - 沈阳 来源:北方有色网 2023-03-19
糠醛废水处理方法
糠醛废水处理方法 1188     
 0

本发明的糠醛废水处理方法,包括以下工艺过程:1.将糠醛废水与碱性物质中和,使废水中的有机酸与碱反应生成盐,经沉淀分离去除杂质,所得废水液的PH值控制在6-9之间;2.利用糠醛生产中水解锅排出醛汽的余热去蒸发废水,使废水液浓缩,当浓缩液固体含量达到20-35%时排出浓缩液;2.将所得的浓缩液送锅炉焚烧,或经已知精制设备制成成品醋酸或醋酸盐。本发明与现有技术相比,其最大特点在于该方法不但回收了重要的化工原料醋酸或醋酸盐,而且还解决了困扰糠醛企业的环保难题,同时实现了废水回收利用,达到了生产废水零排放的目的。

标签:
固废
辽宁 - 沈阳 来源:北方有色网 2023-03-19
基于半干法烟气脱硫灰的高级还原-氧化耦合体系处理卤代有机物废水的方法

本发明属于固体废弃物资源化利用和废水高级氧化还原处理技术领域,具体涉及一种基于半干法烟气脱硫灰的高级还原‑氧化耦合体系处理卤代有机物废水的方法。该体系利用紫外光将半干法脱硫灰释放的SO3在体系缺氧条件下活化,产生强还原性水合电子eaq及氢自由基H·破坏卤代有机物的C‑X键,实现卤代有机物还原脱卤;脱卤阶段完成后于原位通氧(补充溶解氧),脱硫灰释放的SO3与溶解氧O2在紫外光活化作用下,产生强氧化性的硫酸根自由基SO4·‑,将脱卤后的有机物进一步氧化分解为小分子有机物直至矿化,提高废水可生化性降低有机污染负荷。

标签:
固废
辽宁 - 沈阳 来源:北方有色网 2023-03-19
机械生产用废料处理装置

本实用新型公开了一种机械生产用废料处理装置,包括机壳,机壳的内侧壁面固定连接有预破碎机构、破碎机构和行进机构,预破碎机构包括绞龙,破碎机构包括转盘柱,转盘柱的内侧壁面固定连接有破碎锤,机壳的内侧壁面固定连接有筛板,机壳的右侧壁面开设有排放口,本装置中自入料口加入废料,经预破碎机构处理后,在转盘柱的转动带动破碎锤对废料进行破碎处理,使破碎后得废料额经筛板筛选,小颗粒可自出料口筛落,大颗粒被破碎锤带至排放口,经行进机构运作,将大颗粒由排放口推动至入料口,重复上述破碎处理,使固体废物经多次反复破碎,减小后续分类工作的差错率,提高处理效率。

标签:
固废
辽宁 - 沈阳 来源:北方有色网 2023-03-19
从蓝宝石粗研磨废料浆中回收碳化硼并重复利用的方法

从蓝宝石粗研磨废料浆中回收碳化硼并重复利用的方法,按以下步骤进行:(1)将蓝宝石粗研磨废料浆加水稀释后固液分离得到固体物料;(2)将固体物料与酸液混合后进行常温常压酸洗和高温高压酸洗得到净化物料;(3)将净化物料进行板框压滤、水洗,得到水洗物料;(4)将水洗物料以水为介质进行球磨破碎、酸洗除杂后再板框压滤、水洗,然后沉降水选,干燥后制成碳化硼微粉;或者将水选物料直接干燥后用气流磨粉碎,然后进行沉降水选,干燥后制成碳化硼微粉;或者将水选物料干燥后用风力分级机制成碳化硼微粉。本发明的方法不需再额外碱洗除Al2O3;具有流程短、能耗低、污染小、科学合理、简单易行,实用性强、回收率高等优点。

标签:
固废
辽宁 - 沈阳 来源:北方有色网 2023-03-19
处理巯基乙醇法合成对位酯产生的废水的方法

本发明属于环保废水处理领域,具体涉及一种处理巯基乙醇法对硝基氯苯路线合成染料中间体对‑(β‑硫酸酯乙基砜)苯胺(俗称对位酯)产生的废水的方法。合成对位酯产生的废水通过催化湿式氧化—生化处理,处理后废水达到GB8978—96三级排放标准;所述废水与催化剂混合进入换热器管程与反应后的高温氧化废水进行热量交换,而后通过预热器经高温导热油加热到反应温度后进入氧化反应器实现催化湿式氧化反应。本发明针对巯基乙醇法对硝基氯苯路线合成对位酯废水高含DMF等难生物降解物质、色度高、有机硫化物恶臭等特点,开发的催化湿式氧化‑生化组合处理工艺,具有工艺流程简单、处理效率高、不产生固体废物等优点,处理后废水达到GB8978~96三级排放标准。

标签:
固废
辽宁 - 沈阳 来源:北方有色网 2023-03-19
用高炉渣处理六价铬废水的方法

一种用高炉渣处理六价铬废水的方法,将高炉渣破碎、球磨、筛分;调节六价铬废水的pH为0.5~4.5;将六价铬废水加入到容器中,将容器放到调速振荡器中,再将高炉渣粉末投加到六价铬废水中进行吸附处理,将达到吸附平衡后废水的pH值调节到7~9;对废水进行过滤,除去固体物。本发明方法处理工艺简便、运行费用低于常规方法。处理后废水中剩余六价铬的含量均低于污水排放标准0.5mg/l。该方法不仅具有一般吸附法的优点,而且以高炉渣为吸附剂,成本低、吸附效果好,是一种“以废治废”的方法。

标签:
固废
辽宁 - 沈阳 来源:北方有色网 2023-03-19
机床加工废料收集装置
机床加工废料收集装置 1091     
 0

本实用新型公开了一种机床加工废料收集装置,包括废水箱,所述废水箱的右侧安装有收集箱,所述废水箱的右侧开设有排料口,且排料口位于收集箱的顶端,所述废水箱的内腔顶端安装有过滤网,所述废水箱的内腔顶端安装有清理机构。该机床加工废料收集装置,通过过滤网可将固定和液体进行分离,使液体可在过滤后直接掉入废水箱的内腔,固体可跟随过滤网的倾斜面移动至收集箱的内腔,通过左右往复移动把手,可带动毛刷左右往复移动,使毛刷可对过滤网进行清理,避免杂物堵塞过滤网,通过该装置可对碎屑和废水进行分类收集,避免在后续清理时较为麻烦,减少了工作人员的劳动量。

标签:
固废
辽宁 - 沈阳 来源:北方有色网 2023-03-19
利用工业废渣制备轻体无机板材的方法

一种利用工业废渣制备轻体无机板材的方法,主要解决了抛光砖为主的陶瓷生产企业排放废料对环境的危害问题。同时也克服了传统外墙材料保温、耐腐蚀、防火及耐候性能差等缺点。该方法主要以工业废渣作为主要原料,辅以硅酸盐、硼酸盐、工业碳酸钙、工业碳酸钠或硼砂组分,制备轻体无机板材。其主要步骤:先将工业废渣干燥处理,并与助熔剂、稳泡剂混合,然后球磨过筛放入模具中入窑炉烧成。上述步骤所述工业废渣为废瓷、抛光废渣、转炉渣、铁尾矿中的一种或多种。可以替代现有外墙保温材料使用,其成本低廉、耐久性好、施工方便。有效降低火灾、地震等自然灾害对建筑本身和人身财产安全的影响。充分利用了抛光废渣等废料资源,提高了固体废弃物的资源化利用,可广泛应用于建材领域。

标签:
固废
辽宁 - 沈阳 来源:北方有色网 2023-03-19
利用抛光陶瓷废渣制备低容重、高强度保温材料的方法

一种利用抛光陶瓷废渣制备低容重、高强度保温材料的方法,由以下原料按重量份额经干燥处理、配料、混合、球磨、装模、烧成、修整等步骤制得保温材料。其原料由抛光陶瓷废渣、助熔剂、稳泡剂以80~90:7~10:3~5的比例构成。本发明可以替代现有外墙保温材料使用,具有很高的安全性,充分利用了抛光陶瓷废渣等废料资源,提高了固体废弃物的资源化利用,具有很好的经济价值和环保价值。

标签:
固废
辽宁 - 沈阳 来源:北方有色网 2023-03-19
上一页 22 23 24 25 26 ... 31 下一页
共31页    到第

北方有色为您提供最新的辽宁沈阳有色金属固/危废处置技术理论与应用信息,涵盖发明专利、权利要求、说明书、技术领域、背景技术、实用新型内容及具体实施方式等有色技术内容。打造最具专业性的有色金属技术理论与应用平台!

全国热门有色金属设备推荐
展开更多 +
全国热门有色金属技术推荐
展开更多 +

 

江西省隆恩特环保设备有限公司
宣传

报名参会
更多+

报告下载

有色专家
更多+

湖南科技大学
所长/教授
西安建筑科技大学
教授
广东省科学院工业分析检测中心
副主任
北京工业大学、中国工程院
中国工程院 院士
中国有色金属工业协会
教授级高级工程师
赤泥综合利用研究报告2025
推广

热门技术
更多+

推荐企业
更多+

福建省金龙稀土股份有限公司
宣传

发布

在线客服

公众号

电话

顶部
咨询电话:
010-88793500-807