青岛垚鑫智能科技有限公司
宣传

位置:北方有色 >

有色技术频道 >

> 固/危废处置技术

分类:
全部
矿山技术
冶金技术
材料制备及加工技术
环境保护技术
分析检测技术
 
全部
废水处理技术
大气治理技术
固/危废处置技术
土壤修复技术
地区:
全部
北京
天津
上海
重庆
河北
山西
辽宁
吉林
黑龙江
江苏
浙江
安徽
福建
江西
山东
河南
湖北
湖南
广东
海南
四川
贵州
云南
陕西
甘肃
青海
内蒙
广西
西藏
宁夏
新疆
其他
其他
展开
 
全部
沈阳
大连
鞍山
抚顺
本溪
丹东
锦州
营口
阜新
辽阳
盘锦
铁岭
朝阳
葫芦岛

辽宁沈阳有色金属固/危废处置技术理论与应用

免费发布技术信息>>
处理高浓度有机废水的方法

一种处理高浓度有机废水的方法属于污水处理技术领域,更具体地说,是涉及一种利用Pickering乳液处理高浓度有机废水的方法。本发明提供一种又操作简单,在较低的处理费用基础上达到废水的有效的处理高浓度有机废水的方法。本发明采用的方法是:首先用偶联剂将具有高浓度碳酸钙粉体的有机废水改性,使固体颗粒具有合适的表面湿润性;再将有机污染物苯乙烯作为油相与水及表面改性后的固体乳化剂碳酸钙颗粒混合分散,经超声乳化后形成Pickering乳液;再采用离心的方法分离。

标签:
固废
辽宁 - 沈阳 来源:北方有色网 2023-03-19
处理养猪废水的方法及设备

本发明涉及一种快速、高效、卫生的处理养猪废水的方法及设备,其包括:原液过滤掉固体颗粒;滤液输入芬顿氧化罐,调节pH值2至6,Fe2+按5‑50mmol/L、30%质量浓度的H2O2按废水体积的1/20‑1/3投入,芬顿反应10至24h;上清液输入脱铁处理罐,加入碱性金属化合物,搅拌1‑10min,Fe离子沉降反应1至5h;上清液输入脱氮处理罐,按N:P:Mg摩尔比为=1 : 1 : (1‑1.3),投入溶解后含磷酸根的和含Mg2+的药剂,搅拌1‑10min,磷酸铵镁反应1至5h。按此方法处理后的废水满足国家废水排放1级标准。此外,各步骤产生的固体沉降物经压滤处理后,按固体废弃物进行安全处理,压滤出来的液体返回原液。本发明适用于处理养猪场的尿液、废水,具有周期短、效率高、效果好、实施环境卫生等优点。

标签:
固废
辽宁 - 沈阳 来源:北方有色网 2023-03-19
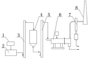
铝电解废槽衬无害化处理装置

本实用新型公开了一种铝电解废槽衬无害化处理装置,它属于铝电解技术领域。铝电解废槽衬无害化处理装置,其结构如下:破碎设备(2)的出料端与料仓(4)的入料端连接,料仓(4)的出料端与连续式中高温处理设备(6)的入料端连接,连续式中高温处理设备(6)的烟气出口与净化设备(7)的烟气入口连接,净化设备(7)的烟气出口与烟囱(8)连接。本实用新型利用废槽衬与冶炼行业废旧白云石质耐材混合、破碎、焙烧,废槽衬中的碳质材料作为燃料提供热源,烟气用氧化钙吸附形成氟化钙,与焙烧后的固体渣混合用于建筑行业铺路用砖,实现了铝电解槽废槽衬的无害化处理,使两种固体废物的资源化再利用。

标签:
固废
辽宁 - 沈阳 来源:北方有色网 2023-03-19
牛奶加工厂废水处理方法

本发明提供了一种牛奶加工厂废水处理方法,包括使废水依次通过流量及水质调节阶段、厌氧水解酸化阶段、接触氧化阶段进行处理;废水在厌氧水解酸化阶段中所分离聚集出来的浮渣及沉淀污泥通过破解处理后,再重新回到厌氧酸化阶段进行处理。水解酸化过程中浮渣及沉淀污泥通过刮渣(泥)机聚集并通过机械破解后重新回到厌氧酸化阶段处理;从而实现牛奶加工废水的低成本处理(降低成本30%以上)和有机污泥零排放的目的。本处理方法可以将固体悬浮物、溶解性有机物和NH4+含量分别为300~1200?mg/L,1000~5000?mg/L和5~60?mg/L的原水经过1.5~4天的停留时间,达到出水Ⅳ类标准且不产生剩余污泥,解决了废水处理过程中絮凝剂成本高,气浮能耗大,污泥处理费用高等问题。

标签:
固废
辽宁 - 沈阳 来源:北方有色网 2023-03-19
利用纸浆废液提高陶瓷性能的方法

一种利用纸浆废液提高陶瓷性能的方法,该方法是采用亚硫酸盐纸浆废液作陶瓷添加剂,其成分为水分93%,固体物质7%,固体物质主要为有机物占90%,其它为矿物质,密度为1.1g/ml,PH值7-8。主要步骤:(1)将陶瓷料、球石和水放入球磨机中,加入纸浆废液,纸浆废液占陶瓷料的重量百分比为0.25%-10%;(2)用球磨机球磨;(3)测量料浆的流动性;(4)测量可塑度;(5)将陶瓷料造粒,用压机将其压制成陶瓷试条并测坯体干燥强度和测量烧成收缩的程度。本发明合理利用纸浆废液作添加剂并加入到陶瓷料浆中,扩大陶瓷用结合剂的品种,同时起到节能减排的作用,具有广阔的市场前景。

标签:
固废
辽宁 - 沈阳 来源:北方有色网 2023-03-19
利用含钛高炉渣处理偶氮染料废水中甲基橙的方法

一种利用含钛高炉渣处理偶氮染料废水中甲基橙的方法,将含钛高炉渣破碎、球磨、筛分至粒度为10~80μm;调节偶氮染料废水的pH为0.5~4.5;将废水投加到调速振荡器中,加入H2O2溶液,再将含钛高炉渣粉末投加到废水中进行吸附处理,对吸附后的偶氮染料进行离心过滤处理,除去固体物。利用含钛高炉渣粉末处理废水中的甲基橙,处理后甲基橙废水的浓度远低于污水排放标准,是一种“以废治废”的新方法。整个处理工艺简单可行、运行费用低于常规方法。

标签:
固废
辽宁 - 沈阳 来源:北方有色网 2023-03-19
铁件光饰机废液的循环再生工艺

本发明公开了一种铁件光饰机废液的循环再生工艺,包括废液的循环回用工艺和废液的处理外排工艺,废液的循环回用工艺如下:a、重金属离子去除:调节废液pH于6-9之间,通过重金属捕集剂与废液中重金属离子发生反应生成络合物析出,同时去除铁离子所产生的色度;b、去除悬浮固体颗粒物:通过投加絮凝剂将废液中的悬浮颗粒物以及重金属离子络合物经过絮凝作用与水分离;c、泥水分离:强制废液与污泥离心沉降;d、过滤去除浊度;e、调节出水pH至6-9;废液的处理外排工艺需在上述工艺基础上进行COD去除。本发明的工艺实现了铁件光饰机废液的循环再生,保护了环境,节省了水资源。

标签:
固废
辽宁 - 沈阳 来源:北方有色网 2023-03-19
酸碱联合法处理铝电解废旧阴极炭块的方法

一种酸碱联合法处理铝电解废旧阴极炭块的方法,其特征在于包括以下步骤:(1)将铝电解废旧阴极加入到浓碱溶液中反应;过滤得到过滤固相加入到浓酸溶液中反应;过滤得到碳粉;(2)将滤液混合并滴入浓碱溶液,调节PH值为9,静置过滤,得到冰晶石;(3)在滤液中加入漂白粉饱和溶液,静置过滤,得到氟化钙;(4)将四次滤液加热蒸发结晶,得到氯化钠固体。本发明基于废物利用和保护环境的目的,成功的研究出酸碱法处理铝电解废旧阴极的工艺,使废旧阴极不再是传统的废物和污染,而变成了人造矿资源,为铝电解行业解决了废物利用的问题,也增加了效益,提升我国了铝电解工业的综合水平。

标签:
固废
辽宁 - 沈阳 来源:北方有色网 2023-03-19
微波加热粉煤灰和铝电解废阴极炭块合成碳化硅的方法

本发明是一种微波加热粉煤灰和铝电解废阴极炭块合成碳化硅的方法,制造工艺为:将粉煤灰进行磨矿处理至粒度小于0.074mm的部分占整体的比例≥40wt%,添加适量的硫酸铵进行焙烧,然后用硫酸水溶液浸出获得含硅的固体物料;将铝电解废阴极炭块进行磨矿处理至粒度小于0.074mm的部分占整体≥40wt%,进行浮选分离、酸碱除杂处理后获得炭粉;把含硅的固体物料和炭粉混合均匀,在2450MHz或916MHz的微波场中合成30~300min,得到碳化硅产品。本发明微波加热粉煤灰和铝电解废阴极炭块合成碳化硅的方法,可有效实现固体废弃物--粉煤灰和铝电解废阴极炭块的无害化与资源综合利用,生产效率和能源利用率高。

标签:
固废
辽宁 - 沈阳 来源:北方有色网 2023-03-19
溶剂法从烟气脱硫废渣浆中提取硫磺

溶剂法从烟气脱硫废渣浆中提取硫磺,涉及一种从废渣或废浆中提取硫磺的方法,本发明公开了两种从废物中提取硫磺的方法,利用本方法可从烟气脱硫、生物处理的废渣浆中回收高品质的硫磺。将固、液混合物(或脱水、干燥成为干固体),按照干固体、溶剂质量比1∶1~1∶15加入溶剂二硫化碳(或四氯乙烯),在混合物温度10~45℃(四氯乙烯20~90℃)条件下,搅拌浸取5MIN~3H;然后,将浸取后的固液混合物保温过滤,滤液冷却结晶或蒸发结晶后过滤得固体硫磺,经低温干燥得到硫磺产品。本发明所述方法简单易行,溶剂可回收利用,并且可在较低能耗下,获得较高纯度的硫磺产品,实现了废物的合理利用。

标签:
固废
辽宁 - 沈阳 来源:北方有色网 2023-03-19
改性废旧聚苯乙烯泡沫塑料涂料

改性废旧聚苯乙烯泡沫塑料涂料,采用低毒、价廉工业级溶剂在常温下对废旧聚苯乙烯泡沫塑料充分溶解后做为基料,再加入乳化、分散剂,固体填料,体质颜料,增塑剂,防冻剂及颜料。其中废旧聚苯乙烯泡沫塑料14-20;环己烯60-80;乳化、分散剂十二烷基苯磺酸钠0.1-0.3及OP-10 0.1-0.3;固体填料碳酸钙10-20;滑石粉4-8;体质颜料钛白粉1-3;增塑剂邻苯二甲酸二丁酯1-3;防冻剂乙二醇或丙三醇2-3;颜料适量。本发明由于原料的选择为废旧聚苯乙烯泡沫塑料,使用的环己烯是一种低毒、价廉工业级溶剂,其原料来源广泛,具有制备工艺简单、价格低廉、附着力好、耐酸碱、不易退色及不污染环境的优点,是一种较理想的外墙涂料。

标签:
固废
辽宁 - 沈阳 来源:北方有色网 2023-03-19
含钛废渣的综合利用方法

本发明涉及环保技术领域,具体涉及一种含钛废渣的综合利用方法,按如下步骤进行:实现本发明目的的技术方案是按如下步骤进行:⑴破碎和粉磨:将含钛废渣经破碎和粉磨得到直径50~160μm的粉末;⑵物料混料:将含钛废渣粉末与硫酸铵进行混合,然后再与硫酸钾混合均匀;⑶熔融:将上述混匀的物料升温至200~500℃并保温1~50min,得到块状固体和氨气;⑷溶解和过滤:将上述块状固体置于水中溶解、过滤得到滤液和残渣,残渣用作水泥添加剂;⑸钛的沉淀;⑹铝的沉淀。本发明的原料来源广泛,既解决了含钛废渣的大量排放造成的环境污染问题,又合理利用了钛和铝等资源,具有可观的环境效益、社会效益和经济效益。?

标签:
固废
辽宁 - 沈阳 来源:北方有色网 2023-03-19
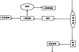
处理废水中砷的方法
处理废水中砷的方法 736     
 0

本发明属于湿法冶金及环保技术领域,具体的说是一种处理废水中砷的方法。向含砷溶液中加入含铁离子的溶液,在15-75℃下,使Fe离子与As离子的摩尔比为1-5,搅拌均匀后,用碱调节反应体系的pH值为2-12,并使反应体系在此pH值下继续反应0.17-72小时,形成第一步的含砷共沉淀物;向第一步已经形成的含砷共沉淀物中继续投加金属离子溶液,在15-75℃下,使金属离子与As离子的摩尔比为0.1-5,而后用碱调节反应体系的pH值为2-12,形成最终的含砷共沉淀物,使废水中As离子形成高稳定性的含砷固体废弃物。本发明两步共沉淀方法的使用在保证了废水除砷效果的同时提高了含砷固体废弃物的稳定性,大大降低了含砷废渣二次污染的风险。

标签:
固废
辽宁 - 沈阳 来源:北方有色网 2023-03-19
处理生产6-甲氧基萘满酮产生废水的方法

本发明属于涉及化学领域的处理方法,尤其涉及从一种处理生产6‑甲氧基萘满酮产生废水的方法,再进一步是一种从生产6‑甲氧基萘满酮产生废水中回收分离硫酸锰和硫酸钾的方法。将反应液分液所得废水层进行减压蒸馏,析出晶状固体,过滤,所得滤饼依次用易溶于水的有机溶剂打浆洗涤,再用不易溶于水的有机溶剂打浆洗涤,打浆洗涤后干燥得到淡粉色硫酸钾和硫酸锰的混合固体,固体溶解后经高温、加压蒸馏析出硫酸锰结晶体,分离获得硫酸锰纯品,蒸馏出水分冷却析晶得到纯品硫酸钾。本发明方法减少了固废的排放,所得高纯度硫酸锰质量能够达到国家颁布的饲料级硫酸锰标准,硫酸钾达到国家颁布的农业用硫酸钾标准,提高了经济效益,降低了工艺成本。

标签:
固废
辽宁 - 沈阳 来源:北方有色网 2023-03-19
NaOH亚熔盐处理铝电解废旧阴极炭块的方法

本发明一种NaOH亚熔盐处理铝电解废旧阴极炭块的方法,属于铝电解固废资源循环利用技术领域。一种NaOH亚熔盐处理铝电解废旧阴极炭块的方法,将铝电解废旧阴极炭块粉碎,得阴极炭块颗粒,置于NaOH亚熔盐溶液中浸出,阴极炭块颗粒与NaOH亚熔盐溶液固液比为1:5g/ml,浸出温度为120~240℃,浸出时间0.5~6h,浸出搅拌速率为500~1500r·min‑1,浸出氧分压为0~1.0Mpa,经过滤后,得到浸出固体产物和滤液,将浸出固体产物洗涤至滤液为中性,将所得滤液蒸发结晶析出电解质粉末,蒸发所得蒸馏水重复利用。得到固体产物中的碳含量高达95%,最终实现了铝电解废旧阴极的高效回收利用。

标签:
固废
辽宁 - 沈阳 来源:北方有色网 2023-03-19
钢铁热轧用酸洗废液的废酸再生方法

钢铁热轧用酸洗废液的废酸再生方法,包括下列步骤:首先,将废酸先经70~100℃预热,再在100~150℃下通过蒸发器蒸发处理,制成过饱和母液;再将过饱和母液在100~150℃下,经石墨刮板刮入石墨结晶器结晶成氯化亚铁固体,同时蒸出含氯化氢的水蒸汽,含氯化氢的水蒸汽通过常规吸收器吸收成再生酸回用。本发明变传统的降温结晶为高温结晶,能耗低、投入成本小,工艺过程严谨合理、简便易控。

标签:
固废
辽宁 - 沈阳 来源:北方有色网 2023-03-19
铝电解废槽衬中废阴极炭块的处理装置

本实用新型涉及一种阴极炭块的处理装置,特别是涉及一种铝电解废槽衬中废阴极炭块的处理装置,属于铝电解技术领域。铝电解废槽衬中废阴极炭块的处理装置,破碎机的出料端与干式磁选机的入料端连接,干式磁选机的出料端与湿式磨粉设备的入料口连接,湿式磨粉设备的出料口与混合罐的入料口连接,混合罐的出料口与浮选机的入料口连接,浮选机的液体出口与碱浸槽的入料口连接,碱浸槽的出料口与过滤器的入料口连接,过滤器的液体出口与湿式磨粉设备的液体入口连接,过滤器的固体物料出口与沉淀池连接。本实用新型铝电解废槽衬中废阴极炭块的处理装置结构简单,使用安全方便,处理成本低、处理效率高,不产生二次污染,经处理后的物料可以再次利用。

标签:
固废
辽宁 - 沈阳 来源:北方有色网 2023-03-19
利用原料氧化-还原特性浸出废铅酸蓄电池膏泥的方法

本发明公开一种利用原料氧化-还原特性湿法处理废铅膏泥的方法,由以下步骤构成:(1)将废铅酸蓄电池膏泥和硫化铅精矿按质量比3:1加到已配好的盐酸溶液中进行浸出,反应一段时间后加入氯化镁,将温度调到80℃~95℃,反应时间60min~120min;(2)浸出结束后趁热过滤,浸出渣可经浮选提取元素硫,浸出液冷却结晶,得到固体氯化铅和含有MgSO4、MgCl2的结晶母液;(3)结晶母液经氯化镁再生及净化处理后返回废铅膏泥与硫化铅精矿的同时浸出,结晶母液加入过量的氯化钙使浸出剂氯化镁再生,同时产出副产品石膏,脱除SO42-后的结晶母液经净化处理后返回废铅膏泥与硫化铅精矿的同时浸出工序。

标签:
固废
辽宁 - 沈阳 来源:北方有色网 2023-03-19
多孔固体碱催化剂合成碳酸甲乙酯的方法

一种多孔固体碱催化剂合成碳酸甲乙酯的方法,涉及一种合成碳酸甲乙酯的方法,本发明提出一种固相研磨‑燃烧法制备高分散、多孔、高比表面积的碱性催化剂的方法,用于高效催化碳酸二甲酯和碳酸乙醇合成碳酸甲乙酯。该催化剂制备工艺流程短、免了常规制备方法中繁琐的老化洗涤环节,同时避免了大量含酸或碱废水的产生。燃烧剂燃烧过程中产生的气体使催化剂具有多孔、蓬松的特点,这大大提高了催化剂的比表面积,增加了活性组分与反应原料的接触几率。如采用该方法制备的CaO‑SrO‑Al2O3/SiO2催化剂用于固定床反应工艺,催化剂酥松多孔,活性中心分散度高,比表面积大,热稳定性好,其催化效果优于共沉淀法或尿素水解法制备的催化材料。

标签:
固废
辽宁 - 沈阳 来源:北方有色网 2023-03-19
以硬毛粗毛盖孔菌产漆酶的固体发酵培养基及其应用

本发明涉及利用真菌和秸秆废弃物产的固体发酵方案,具体的说就是一种真菌,硬毛粗毛盖孔菌以稻草秸秆为生长基物,在一定的营养条件配比下,产生高活性漆酶,其方案组成包括适量的琼脂菌丝块、2克干稻草粉末,添加以蒸馏水为溶剂、终质量浓度为0.5-1%硫酸铜、0.3-0.5%尿素和1-2%淀粉的混合营养液5-6ml,灭菌后湿度为60-70%为最佳。本发明以硬毛粗毛盖孔菌和稻草秸秆产漆酶活性高、成本低。

标签:
固废
辽宁 - 沈阳 来源:北方有色网 2023-03-19
微生物靶向菌群固体有机肥

本发明属于微生物靶向菌群应用技术,尤其涉及一种微生物靶向菌群固体有机肥。基本原料配方是以50%d1有机肥做主料,包括有机农家肥20%;有机废弃料渣10%;有机农作物秸秆20%。以25%菌群培养基原料做辅料,包括牛肉膏2%;大亚豆5%(提汁);糖浆7%;竹沥5%;淀粉6%。以25%微生物靶向菌群及添加剂做功能增效剂,包括枯草芽孢杆菌4%(一代)、1000个亿/克上;乳酸菌4%;酵母原种菌4%;木霉菌5%;聚天冬氨酸(聚肽活性酶)4%;生物酶活化剂4%。通过粉碎过筛、集中堆放、合成发酵、风干等流程,制成微生物靶向菌群固体有机肥。

标签:
固废
辽宁 - 沈阳 来源:北方有色网 2023-03-19
家禽加工用除固体污物地漏

本实用新型涉及家禽加工领域,具体地说是一种家禽加工用除固体污物地漏,包括地漏盖、地漏腔、固体承装罐和水流道,其中地漏腔设置于地表下,地漏盖设置于地漏腔上端,且在所述地漏腔上端开口内设有过滤网,所述过滤网位于地漏盖下侧,固体承装罐设于地漏腔内,在所述地漏腔一侧设有水流道,且所述水流道的入口高于所述固体承装罐上端罐口。本实用新型利用过滤网过滤禽类羽毛等质量较轻的杂质,利用固体承装罐承装固体杂质,保证废水只有液体由水流道流走,从而有效防止水流道堵塞,进而改善家禽加工环境,符合国家关于家禽健康养殖屠宰加工要求。

标签:
固废
辽宁 - 沈阳 来源:北方有色网 2023-03-19
用于治理农村黑臭水体的固体微生物制剂及其制备方法与应用

本发明属于环境微生物技术领域,具体涉及一种用于治理农村黑臭水体的固体微生物制剂及其制备方法与应用。本发明的技术方案如下:一种用于治理农村黑臭水体的固体微生物制剂,包括固定化微生物体和生物促生剂,所述固定化微生物体包括微生物和改性生物炭(固定化载体),所述微生物包括东洋芽孢杆菌、阿氏芽孢杆菌和枯草芽孢杆菌,所述改性生物炭为由5.5mol/L HNO3改性的废弃核桃壳;所述生物促生剂包括碳源、营养蛋白、氨基酸和生物酶。本发明具有工艺流程短、操作方法简单、投资低、见效快等特点,特别适用于农村黑臭水体的治理。

标签:
固废
辽宁 - 沈阳 来源:北方有色网 2023-03-19
以负载固体碱催化剂合成N,N,N’,N’-四(β-羟丙基)己二酰胺方法

本发明公开了一种用负载固体碱催化剂合成N,N,N’,N’-四(β-羟丙基)己二酰胺的方法,涉及合成N,N,N’,N’-四(β-羟丙基)己二酰胺方法。在带有机械搅拌,恒压滴液漏斗和蒸馏装置的四口烧瓶中,加入二异丙醇胺及固体碱催化剂。加热至?135~145℃,滴加己二酸二甲酯,滴加完毕继续反应一段时间。反应结束后冷却,同时在搅拌下补加甲醇避免结块,经过滤、冷甲醇洗涤、干燥得白色粉末状产品。本发明对设备不会造成腐烛,产物易于分离,可循环使用,减少废弃物等优点,使整个过程更环保,同时该催化剂可增大碱的接触面积、加速反应进行,而且还能降低了碱的含量,同时也不会引入新的介质。

标签:
固废
辽宁 - 沈阳 来源:北方有色网 2023-03-19
固体粉末抗静电剂及其制备方法

本发明公开了一种固体粉末抗静电剂及其制备方法,属于粉末抗静电助剂技术领域,其原料包括漆渣、导电炭黑、石墨烯且三者的质量比为(25‑50):(25:50):(1‑2)。所用的石墨烯为含碳量不低于95%的少层石墨烯和/或多层石墨烯,漆渣是喷漆过程中产生的废渣,或是废弃油漆的残渣。抗静电剂的制备方法是将漆渣除杂后,高温预处理;然后与导电炭黑、石墨烯,高速混合,球磨2‑4h;最后过600目筛后制成。采用本发明的技术,将漆渣大比例替代导电炭黑,有效降低炭黑生产所带来的环境污染问题,解决了漆渣回收利用的难题;制备获得了一种抗静电效果良好的抗静电剂。

标签:
固废
辽宁 - 沈阳 来源:北方有色网 2023-03-19
多粘芽孢杆菌固体发酵产孢的方法

本发明提供一种多粘芽孢杆菌固体发酵产孢的方法,包括多粘芽孢杆菌菌种活化,一级液体种子液的制备和二级液体种子液的制备,再采用固体发酵方法发酵产生孢子。所述固体发酵使用的固体发酵培养基由玉米秸秆粉、豆粕粉和无机盐组成,固体发酵过程中向培养基上喷洒补料培养基。采用本发明提供的多粘芽孢杆菌固体发酵产孢的方法,可产生大量的孢子,基质孢子量最高可达279×108cfu/g,发酵单位高,生产过程不产生废料,环保无污染。发酵获得的孢子-基质混合物经干燥后可直接用于农作物的生防。

标签:
固废
辽宁 - 沈阳 来源:北方有色网 2023-03-19
动态筛孔旋转筛面自清理固体垃圾处理装置

本发明属于环保工程固体废物处理与资源回收利用技术领域,其特征在于:一个动态筛孔滚筒装置倾斜安装在滚轮上,滚轮通过传动机构与电动机连接;动态筛孔滚筒装置的上方和下方设置有密封罩;动态筛孔滚筒装置主要是由滚圈、两端带螺纹的轴和T型件构成,多个T型件的一端组装在一个两端带螺纹的轴上,另一端相互搭接形成筛孔;组装T型件的多个两端带螺纹的轴固定在滚圈上,形成动态的滚筒筛面。本发明的目的是解决筛孔被堵孔、提高筛分分级效率和生产率问题。这种动态筛孔旋转筛面自清理固体垃圾处理装置,筛孔是动态的不堵,从而达到指定的生产率和筛分效率。

标签:
固废
辽宁 - 沈阳 来源:北方有色网 2023-03-19
可塑形固体基质及其制备方法和应用以及一种草坪砖的制备方法

本发明涉及种植基质技术领域,具体涉及一种可塑形固体基质及其制备方法和应用以及一种草坪砖的制备方法。本发明提供的可塑形固体基质,由包括以下重量份数的制备原料混合得到:发酵后的含纤维素或几丁质的废弃物100份,发酵后的动物粪便20~100份,水80~200份。本发明以含纤维素或几丁质的废弃物和动物粪便为基料,经发酵后,利用“淤泥固化”和“泥丕成型”原理,在足量水的作用下充分发挥动物粪便的粘结性使发酵后基料中的短纤维或几丁质碎片与动物粪便中被降解的粗脂肪、粗蛋白、肠道分泌物和脱落角质层等充分缠绕、交织,进而形成可塑形固体基质,能够提高可塑形固体基质的粘结力和成型稳定性。

标签:
固废
辽宁 - 沈阳 来源:北方有色网 2023-03-19
固体燃料粘合剂及制备方法

本发明涉及一种粘合剂,尤其涉及一种生物质固体蜂窝状燃料冷压成型的固体燃料粘合剂及制备方法。本发明固体燃料粘合剂,主要由下述组份按重量份数比组成:废纸浆∶玉米面∶催化糊化剂∶氧化剂∶络合剂=800-900∶70-150∶5-15∶0.5-1.5∶0.5-1.5。本发明的优点效果:工艺简单、反应温度低、耗能少、设备投资少;操作工艺易于掌握、无味、无三废排出;初粘力强、粘牢度高、有一定存放期;原料来源广、成本低。

标签:
固废
辽宁 - 沈阳 来源:北方有色网 2023-03-19
报纸纸浆固体吸附剂及其制备方法

一种报纸纸浆用固体吸附剂及其制备方法,涉及一种吸附剂对废报纸中的纤维素及半纤维素经过粉碎、浸泡、脱墨过程制备的报纸纸浆吸附剂;即以质量分数均为4%的氢氧化钠溶液和硅酸钠溶液为改性剂,在脱墨过程中加入双氧水和洗衣粉增加漂白效果,经过烘干,二次粉碎制成一种报纸纸浆固体吸附剂。包括以下过程:一次粉碎,二次碎浆、制成纸浆再冲洗、去除报纸纸浆中残留的氢氧化钠,再用滤筛过滤、干燥粉碎即得到固体吸附剂。本发明利用废报纸,处理废水,实现了废弃物资源化,以废治废,符合固体废物“Reduce(减量化)、Reuse(再利用)、Recycle(再循环)”的“3R”处置原则,对实现循环经济发展和保护环境有积极意义。

标签:
固废
辽宁 - 沈阳 来源:北方有色网 2023-03-19
上一页 24 25 26 27 28 ... 31 下一页
共31页    到第

北方有色为您提供最新的辽宁沈阳有色金属固/危废处置技术理论与应用信息,涵盖发明专利、权利要求、说明书、技术领域、背景技术、实用新型内容及具体实施方式等有色技术内容。打造最具专业性的有色金属技术理论与应用平台!

全国热门有色金属设备推荐
展开更多 +
全国热门有色金属技术推荐
展开更多 +

 

江西省隆恩特环保设备有限公司
宣传

报名参会
更多+

报告下载

有色专家
更多+

中国工程院
院士
矿冶科技集团有限公司
中国工程院院士
西安建筑科技大学
教授
昆明冶金研究院有限公司
党委书记、执行董事
矿冶科技集团有限公司
正高级工程师/副所长
赤泥综合利用研究报告2025
推广

热门技术
更多+

推荐企业
更多+

福建省金龙稀土股份有限公司
宣传

发布

在线客服

公众号

电话

顶部
咨询电话:
010-88793500-807