青岛垚鑫智能科技有限公司
宣传

位置:中冶有色 >

有色技术频道 >

> 新能源材料技术

分类:
全部
矿山技术
冶金技术
材料制备及加工技术
环境保护技术
分析检测技术
 
全部
功能材料技术
复合材料技术
新能源材料技术
合金材料技术
加工技术
地区:
全部
北京
天津
上海
重庆
河北
山西
辽宁
吉林
黑龙江
江苏
浙江
安徽
福建
江西
山东
河南
湖北
湖南
广东
海南
四川
贵州
云南
陕西
甘肃
青海
内蒙
广西
西藏
宁夏
新疆
其他
其他
展开
 
全部
广州
韶关
深圳
珠海
汕头
佛山
江门
湛江
茂名
肇庆
惠州
梅州
汕尾
河源
阳江
清远
东莞
中山
潮州
揭阳
云浮

广东东莞有色金属新能源材料技术理论与应用

免费发布技术信息>>
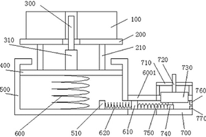
新能源太阳能发电装置
新能源太阳能发电装置 1014     
 0

本实用新型公开了一种新能源太阳能发电装置,包括底座、固定杆和太阳能板,所述底座上端安装有固定架,固定架上端安装有第一转动轴承,第一转动轴承连接固定杆,固定杆顶端安装有托架,托架上端安装有太阳能板,固定杆上端安装有第一连接杆,第一连接杆连接第二转动轴承,第二转动轴承安装在长杆内部。长杆中部底端安装有第三转动轴承,第三转动轴承底端安装有转动杆,转动杆底端连接第一齿轮,第一齿轮外侧连接第二齿轮,第二齿轮安装在电机前端的转轴上;底座外侧安装有感光器。本实用新型结构合理,操作方便,能够实时根据太阳的位置变化,调节太阳能板的角度,使太阳能板进行充分光照,提高太阳能的使用率。

标签:
新能源
广东 - 东莞 来源:中冶有色网 2023-03-18
用于新能源电池圆底铝壳的拉深模具

本实用新型公开了一种用于新能源电池圆底铝壳的拉深模具,包括模具本体,模具本体底部设有固定台,模具本体中部插接有顶杆,顶杆底端固定于电动伸缩杆顶端;本实用新型实施过程中,当对零部件拉深操作之后,由于压力的作用,第一活塞下移,液压缸内也有推动传动筒中的第二活塞右移,由于导体摩擦块受到摩擦力的作用,因此第三弹簧的传动会迟滞,导体摩擦块缓缓向右移动最终接通第一导体块和第二导体块;电源对电动伸缩杆供电,将顶杆上移,分离加工零件与模具本体,旋转螺杆,能够改变活动板与导体摩擦块之间摩擦力,即能够改变电路接通响应时间,根据产线的实际需要调整;在每次拉深加工之后将加工后零件与模具本体分离。

标签:
新能源
广东 - 东莞 来源:中冶有色网 2023-03-18
具有散热功能的新能源汽车电池箱

本实用新型为一种具有散热功能的新能源汽车电池箱,包括内置容置空间的电池箱本体,所述电池箱本体内部设置有导热板,所述导热板上方设置有定位片以及导热片,所述导热板下方设置有散热片模组,其中相邻导热片紧贴每一电池模组,并通过热导管将电池模组工作产生的热量更有效率的传递至散热片模组上,且电池箱本体在散热片模组相对的两端设置有栅格网以及散热风扇,用于空气的循环流动并带走热量,避免热量聚集在散热空腔内而影响散热效果,整体散热性能好,使电池模组在保持在较低温度下工作,也有利于延长使用寿命。

标签:
新能源
广东 - 东莞 来源:中冶有色网 2023-03-18
应用于新能源电池铝壳的自动伸缩旋切模具

本实用新型公开了一种应用于新能源电池铝壳的自动伸缩旋切模具,包括上模板,上模板内固定有伸缩气缸,伸缩气缸伸缩端连接有伸缩连接杆,上模板下端固定有凸模固定板,凸模固定板内嵌设有与其相配合的凸模,凸模下端开设有定位腔,定位腔内设有旋切芯片,凸模通过伸缩芯片和凹模连接,定位槽左右两侧均设有导轨固定板,导轨固定板上固定有导轨,滑块左右两端分别设有第一错位块、第二错位块,导轨左右两端分别设有与第一错位块、第二错位块相配合的第一抵接块、第二抵接块,本实用新型能够实现自动伸缩旋切功能。

标签:
新能源
广东 - 东莞 来源:中冶有色网 2023-03-18
基于微弧氧化的镁合金新能源电池盒

本实用新型涉及微弧氧化领域,具体涉及基于微弧氧化的镁合金新能源电池盒,包括盒体、设置于盒体顶部的手提件和缓冲柱、设置于盒体外壁的缓冲胶带;所述盒体从内到外依次包括导热层、缓冲层、镁合金基层、等离子体微弧氧化彩色膜层和红外转换层;所述缓冲层粘接于镁合金基层一侧表面,所述等离子体微弧氧化彩色膜层镀覆于镁合金基层一侧表面,所述导热层涂覆于缓冲层一侧表面,所述红外转换层磁控溅射于等离子体微弧氧化彩色膜层一侧表面;所述缓冲层包括波浪形热塑性弹性体和设置于热塑性弹性体空腔内的聚氨酯发泡颗粒。本实用新型抗震能力强、散热能力强、抗老化能力强、使用寿命长且外表美观。

标签:
新能源
广东 - 东莞 来源:中冶有色网 2023-03-18
新能源汽车用单相变压器

本实用新型提供一种新能源汽车用单相变压器,包括变压器本体,其骨架包括底筒,所述底筒内设置有磁芯,所述绕组设置在所述底筒上;底筒的外侧套接有上散热管和下散热管,所述上散热管和下散热管之间设置有散热环,所述绕组绕接在所述上散热管、下散热管和散热环的外侧;所述上散热管和下散热管内部分别设置有散热用槽道,所述上散热管和下散热管的外表面分别设置有多个散热孔,所述散热环连通所述槽道一端;所述槽道另一端连接所述散热孔;还包括冷却风机,所述冷却风机连通所述散热环。该单相变压器结构可以实现将变压器内部绕组热量进行排放,快速对变压器进行冷却,达到很好的散热效果;气体在散热环中流动呈现环状,不容易产生感应电流。

标签:
新能源
广东 - 东莞 来源:中冶有色网 2023-03-18
新能源汽车充电桩及其管理系统

本发明公开了一种新能源汽车充电桩及其管理系统,包括底座,底座包括防护围挡和边延板,边延板固定连接在防护围挡的侧面,边延板的顶端固定开设有螺孔,螺孔螺纹连接有连地大螺栓,边延板通过连地大螺栓与地面固定连接,防护围挡的内侧设置有集线管,充电桩座设置在底座的顶端,充电桩座包括底连座和充电桩本体,底连座与底座固定连接,充电桩座固定设置在底座的顶端,充电桩座的两边侧均设置有充电枪,充电枪的顶端固定有导电线,挡雨棚固定设置在桩座的顶端。本发明一方面可以防止雨水浸入充电桩和底座内部,同时提高了充电桩的底部高度,即提高了充电桩的底部防水性能,同时内分配模块确保了充电桩对各种不同汽车的充电电压分配。

标签:
新能源
广东 - 东莞 来源:中冶有色网 2023-03-18
新能源汽车用圆形薄板加工抓取机构

本发明公开了一种新能源汽车用圆形薄板加工抓取机构,包括机架,所述机架的顶板的左右两侧固定有竖直支撑板,上板体固定在两个竖直支撑板的顶面上,上板体的中部具有移动通槽,上板体的顶面的左右两端固定有连接板,无杆气缸的两端固定在两个连接板上,无杆气缸的移动块上固定有移动连接块,移动连接块插套在移动通槽中,移动连接块的底面固定有连接架,连接架的底板上固定有伸缩气缸,伸缩气缸的推杆穿过连接架的底板并固定有真空吸盘,真空吸盘对着机架的顶板上放置有的料桶;它可以自动将圆形薄板抓取出来,无需人工拿取,非常方便。

标签:
新能源
广东 - 东莞 来源:中冶有色网 2023-03-18
新能源汽车充电用伸缩电缆

本发明公开了一种新能源汽车充电用伸缩电缆,包括螺旋状的伸缩套管,伸缩套管的两端成型有竖直的支管,伸缩套管内插接有电缆,支管上插套固定有定位接头,定位接头的外壁上成型有螺旋形凹槽,伸缩套管上插套有弹簧,弹簧的两端螺接在定位接头上;所述定位接头上成型有外六角形的棱柱,棱柱的外壁上成型有环形的卡槽,所述的电缆上插套有外六角形的定位块,定位块的一侧端面成型有外螺纹套,外螺纹套螺接在棱柱内,定位块的另一侧端面成型有圆锥形的夹套,夹套上成型有若干道切槽,切槽分割夹套呈若干个圆弧片,所述的夹套上螺接有锁紧套,夹套上的圆弧片夹持在电缆上。本发明采用充电桩和充电枪之间的电缆能进行拉伸变长,为便于为立体车库上层的汽车充电。

标签:
新能源
广东 - 东莞 来源:中冶有色网 2023-03-18
新能源圆柱形电池顶部封口焊缝3D缺陷检测方法及系统

本发明实施例公开了一种新能源圆柱形电池顶部封口焊缝3D缺陷检测方法及系统,所述方法包括:步骤1:使用面阵结构光3D传感器获取焊缝点云数据;步骤2:对焊缝部分区域进行切片投影,均匀展开截面轮廓数据,形成平铺点云;步骤3:对平铺点云进行多项式拟合,得到基准曲面;步骤4:计算平铺点云和基准曲面的z差异值;步骤5:利用差异点云构建高度图,计算z极值及其所处连通域面积;步骤6:根据设定的极值和面积阈值,判定是否存在缺陷。本发明利用结构光扫描设备快速获取焊缝周边三维点云数据,利用本发明的方法,高效提取和分析存在的三维缺陷,具有采样速度快,检测精度高和稳定性强的优势特性。

标签:
新能源
广东 - 东莞 来源:中冶有色网 2023-03-18
新能源高压线抗震动测试仪

本发明公开了新能源高压线抗震动测试仪,本发明涉及测试仪技术领域。在电机的动力驱动端套接有减速机,减速机的其中一个动力输出口固定连接有第一齿轮,另一个动力输出口通过转动轴杆与第二齿轮形成可转动的固定连接,第一齿轮的一侧啮合有第一齿条,并通过托柱与纵向震动板形成可调节的固定连接,第二齿轮的一侧啮合有第二齿条,并通过移动柱与横向震动板形成可移动的固定连接,第一连接控制开关的输出端电性连接有计数器,第一连接柱和第二连接柱的输出端和输入端共同连接有被测样品,可精确测试出高压线的震动次数,保障了安全性,降低了敷设的局限性,补充了市场上对线缆抗震动测试方面的空白,提高了便捷性。

标签:
新能源
广东 - 东莞 来源:中冶有色网 2023-03-18
新能源汽车用太阳能光伏集电整车蓄电设备

本发明公开了一种新能源汽车用太阳能光伏集电整车蓄电设备,包括底座,底座的两侧面分别固定有U型钢板,U型钢板的顶面均匀螺纹连接有多个螺栓A,U型钢板的内壁侧面均匀螺纹连接有多个螺栓A,底座的顶面固定有水箱,水箱的顶面均匀设有多个通孔A,水箱的侧面上部贯通固定有进水管,水箱的侧面下部贯通固定有出水管,水箱的顶面固定有箱体,箱体的底面均匀设有与通孔A数量相同的通孔B。本发明的蓄电零件部分安装的更加稳固,具有备用电池代替蓄电池为汽车提供电能,使汽车能够正常工作,以防出现意外事故,散热效果更好,提高;额蓄电设备的使用寿命,并且太阳能蓄能板的安装简单、便捷、速度快、效率高,更加的实用、可靠。

标签:
新能源
广东 - 东莞 来源:中冶有色网 2023-03-18
新能源动力电池极柱锻造加工工艺及其锻造装置

本发明涉及电池极柱加工技术领域,具体涉及一种新能源动力电池极柱锻造加工工艺及其锻造装置,包括底板,所述底板的顶面固定安装有冲压组件,所述底板顶面的四个顶角均固连有支腿,其四个支腿的顶端之间固连有顶板,所述顶板的底面中间位置固连有固定座,所述固定座的底面固连有毡台,所述顶板的顶面一端固连有直线电机。本发明中,通过固定模块和推送机构的设置,将复合极柱胚型安放在固定模块上,通过锻头对接口件和封板件进行冲压,使得接口件和封板件之间连接的更加紧密,除去或减少接口件和封板件连接位置之间的间隙与气泡,增加接口件和封板件之间的连接强度,同时冲压使得封板件表面杂质层剥离,降低方便后续处理。

标签:
新能源
广东 - 东莞 来源:中冶有色网 2023-03-18
新能源电池的电容母排及其成型方法

本发明提供了一种新能源电池的电容母排包括正极母排与负极母排,并在负极母排的中间部成型有第一安装槽,可以安装多个电容元件,并在负极母排的右侧成型多个第一焊接部,使得电容元件可以通过第一焊接部固定在第一安装槽中,从而大大的方便了电容元件的安装,另外第一负极端子和第一正极端子在同一个方向,使得第一负极端子和第一正极端子之间的配合更为方便,第四正极端子和第五正极端子分别单独焊接在第二安装板和第一安装板,从而大大的简化了正极母排的成型工艺;另外还通过在正极和负极端子分别进行包绝缘胶,大大的提高了正极和负极端子的绝缘性和使用寿命。

标签:
新能源
广东 - 东莞 来源:中冶有色网 2023-03-18
用于新能源汽车驱动的高效电机

本发明公开了一种用于新能源汽车驱动的高效电机,包括电机主体、散热罩组件、散热扇安装架、散热石墨膜,所述电机主体包括电机轴、电机外壳、电机前端盖、安装座、电机风罩、接线盒,本发明的有益效果是:散热石墨膜加快散热筋以及散热外壳的热量传递到空气中,外部的冷空气快速带走散热筋表面以及电机表面的高温,从散热后盖上的通孔排出,从而有效的降低电机的温度,保证电机的最佳运行效果;通过设计了隔尘罩组件,在隔尘罩组件上安装了过滤网,外部的空气从隔尘罩组件的过滤网口进入到散热罩组件的内部,过滤网过滤空气中的微尘,防止灰尘吸附到电机以及散热筋的表面,影响散热筋的散热效率。

标签:
新能源
广东 - 东莞 来源:中冶有色网 2023-03-18
新能源汽车用圆形薄板自动取料上料成型机构

本发明公开了一种新能源汽车用圆形薄板自动取料上料成型机构,包括机架,所述机架的顶板右侧固定有上支撑架,机架的顶板的左侧放置有料桶,料桶和上支撑架之间的机架的顶板上固定有旋转气缸架,旋转气缸固定在旋转气缸架的顶面上,旋转气缸的旋转轴的端部固定有旋转杆,旋转杆的端部底面固定有真空吸盘,真空吸盘处于料桶的正上方;机架的顶板的中部成型有连接凸起部,连接凸起部的外侧壁处的机架的顶板上固定有环形套体;它自动将料桶的圆形薄板抓取并将圆形薄板放置在模具支撑座上,然后自动调节圆形薄板,无需人工上料,其上料方便,从而提高了其加工效率和加工效果。

标签:
新能源
广东 - 东莞 来源:中冶有色网 2023-03-18
新能源汽车用水循环换热锂电池装置

本发明公开了一种新能源汽车用水循环换热锂电池装置,包括底部换热连接板、水箱、锂电池主体和底部壳体,所述底部换热连接板固定在汽车电池舱底板上,水箱固定在底部换热连接板上,底部壳体处于水箱正上方,底部壳体的底部固定有支撑腿,支撑腿固定在底部换热连接板的顶面上;两个锂电池主体的下部插套在底部壳体中,上壳体在底部壳体上方,两个锂电池主体的上部插套在上壳体中,两个锂电池主体之间夹持有中间支撑块,中间支撑块的中部具有竖直流通孔,两个锂电池主体的下部外侧壁上具有环形限位槽,环形换热圈插套在两个锂电池主体的环形限位槽中;它冷却效果好,通过水循环和吹风实现散热,从而提高其使用寿命。

标签:
新能源
广东 - 东莞 来源:中冶有色网 2023-03-18
新能源货架DTS支架弯折成型流水线

本发明公开了一种新能源货架DTS支架弯折成型流水线,包括有底座、装设于底座并用于对钢材冲压异形结构的冲压装置、装设于底座并用于将钢材弯折成型出DTS支架的多道冷轧轮组以及装设于底座的驱动单元;多道冷轧轮组包括有从左往右依次间隔设置;冲压装置位于第一道冷轧轮组的左侧,驱动单元连接第二道冷轧轮组以及第九道冷轧轮组。与现有技术相比,先冲出异形结构后再进行弯折成型,可以减少出现因冲压装置对钢材的作用力而导致钢材弯折角度不符合设计要求的问题,从而提高DTS支架的生产良率。

标签:
新能源
广东 - 东莞 来源:中冶有色网 2023-03-18
新能源汽车芯片散热器

本发明提供了一种新能源汽车芯片散热器,包括主板、芯片以及散热机构,芯片安装在主板上,散热机构包括铜板、铜管、散热箱、储水箱、输水管、排水管以及散热风扇装置,铜板和芯片顶部相抵,铜板连接于主板上,铜管一端和铜板连接,铜管另一端穿过散热箱后延伸至散热风扇装置上的安装槽内,铜管由散热箱底部进入散热箱内并由散热箱侧壁穿出散热箱外,散热风扇装置上设有第一格状风道口、第二格状风道口以及清洁机构,储水箱底部通过输水管和散热箱顶部连接,排水管连接于散热箱底部。本发明能够根据芯片温度自动调节散热程度。

标签:
新能源
广东 - 东莞 来源:中冶有色网 2023-03-18
新能源货架DTS支架弯折成型设备

本实用新型公开了一种新能源货架DTS支架弯折成型设备,包括有底座、装设于底座的多道冷轧轮组以及装设于底座并用于传动冷轧轮组转动的驱动单元;每一道冷轧轮组均包括有两个冷轧轮,每一冷轧轮均包括有轮本体以及连接于轮本体的正旋螺杆以及反旋螺杆;驱动单元连接正旋螺杆,驱动单元传动正旋螺杆旋转时,正旋螺杆传动轮本体以及反旋螺杆随正旋螺杆的旋转方向同步旋转;作用正旋螺杆正转时,正旋螺杆联动反旋螺杆反转以传动轮本体位移;或,作用正旋螺杆反转时,正旋螺杆联动反旋螺杆正转以传动轮本体位移。与现有技术相比,可以通过记录正旋螺杆转动的圈数来确定轮本体的位移量,以便于将多到冷轧轮组的轮本体的弯折作用部调整至同一直线上。

标签:
新能源
广东 - 东莞 来源:中冶有色网 2023-03-18
应用于新能源汽车的车档装置

本实用新型公开了一种应用于新能源汽车的车档装置,包括下辊轴和上辊轴,下辊轴和上辊轴上分别铰接在下铰接轴和上铰接轴上,下铰接轴的两端分别铰接在两根底杆,两根底杆的一端通过支轴固定连接,支轴的两端伸出底杆铰接有连杆,上铰接轴的两端铰接在连杆的顶端,底杆之间固定有阻尼板,阻尼板的底面上成型有若干道防滑槽,所述的底杆上成型有圆弧形的调节支架,调节支架上成型有圆弧形的调节槽,调节支架的调节槽内插接有螺栓,螺栓螺接紧固在连杆上。本实用新型在能保证有效阻挡车轮滚动的基础上,可实现方便快捷的搬运。

标签:
新能源
广东 - 东莞 来源:中冶有色网 2023-03-18
用于新能源汽车的锂电池箱总成

本实用新型公开了一种用于新能源汽车的锂电池箱总成,属于锂电池技术领域,包括电池箱主体、铰接在电池箱主体上端的箱盖和设置在电池箱主体侧端用于对锂电池进行散热的外置散热装置,所述电池箱主体内部还设有用于陪锂电池进行安装固定的限位组件。本实用新型中,通过设置的限位组件和与之配合使用的安装槽及外置散热装置,不仅可以方便对锂电池进行固定,防止锂电池箱在震动过程中电池遭受碰撞,同时能够起到很好的散热效果,防止锂电池箱内部热量堆积,造成安全隐患。

标签:
新能源
广东 - 东莞 来源:中冶有色网 2023-03-18
新能源汽车充电控制系统

本实用新型公开了一种新能源汽车充电控制系统,包括控制柜,所述控制柜的两侧内壁上设置有支撑板,所述支撑板的上表面中心位置设置有透气板,所述透气板的上表面设置有控制箱,所述控制箱的外壁和端面上均设置有通孔,所述通孔的一侧内壁上下均设置有限位槽,所述通孔内设置有防尘板,所述防尘板的一侧外壁上设置有第一限位板,所述第一限位板位于限位槽内,所述防尘板的另一侧外壁上中心位置设置有卡块,所述控制箱的前端面一侧设置有卡槽。本实用新型可以快速对防尘板进行更换,避免防尘板堵塞影响电子元件的散热效果,可以对控制元件进行散热,保证控制元件的稳定运行,延长控制元件的使用寿命,实用性强。

标签:
新能源
广东 - 东莞 来源:中冶有色网 2023-03-18
新能源锂电池充放电恒温老化环境测试房

本实用新型公开了一种新能源锂电池充放电恒温老化环境测试房,通过PLC控制电性控制风道循环系统以及冷水机组工作,风道循环系统包括有多个均布排列设置的循环风道架,可以对多个样品架上放置的测试样品进行分段控制,单个循环风道架通过顶端安装的循环电机带动进入的气流转动,并在加热丝作用下升温,由风叶罩输送至循环风道架的前后两端支架与测试房体的内壁之间形成风道空腔中,由风道出风口与风道回风口形成平行循环送入升温气流,并在冷水机组输送冷却水至蒸发器的作用,水液吸热蒸发,进行换热冷却,使得的老化样品温度恒定。采用本技术方案,其恒温调控操作方便,有效利用资源,提高了测试效率,节约了成本。

标签:
新能源
广东 - 东莞 来源:中冶有色网 2023-03-18
新能源汽车电子信息处理器

本实用新型涉及一种新能源汽车电子信息处理器,包括电子信息处理器体,所述电子信息处理器体的下端安装有自动移动式底座,所述电子信息处理器体的右侧安装有润滑油接入弧形管,所述电子信息处理器体的底部安装有检测样板,所述检测样板分别位于自动移动式底座和润滑油接入弧形管的一侧,所述检测样板的左侧设有采集套,所述电子信息处理器体的上端安装有参数信息采集器。本实用新型既有助于安装电子信息处理仪器部件及参数采集仪器又有助于安装机械传动连接动力传动采集仪器部件,本实用新型还既有助于极限测量灯光信息指示、移动装置整体及润滑油输入管连接又有助于存放检测样件及电子信号采集部件。 1

标签:
新能源
广东 - 东莞 来源:中冶有色网 2023-03-18
户外医疗用品的新能源冷冻保存箱

本实用新型涉及医疗箱技术领域,尤其涉及一种户外医疗用品的新能源冷冻保存箱,其技术方案包括:底座和箱体,所述箱体底端呈矩形阵列开设有第二透气孔,所述箱体底端嵌入安装在底座上表面,所述底座两侧下方分别等距开设有第一透气孔,所述箱体上表面通过铰链转动安装有盖体,所述盖体两侧分别开槽并滑动安装有安装架,两个所述安装架上表面分别嵌入安装有第一光伏板本体,所述箱体内部底端固定安装有制冷装置本体,所述箱体上表面外侧呈环形开槽并嵌入安装有密封圈。本实用新型解决了现有医疗箱不能很好的在户外进行低温药物存储的问题。

标签:
新能源
广东 - 东莞 来源:中冶有色网 2023-03-18
新能源汽车电池用汇流排

本实用新型公开了一种新能源汽车电池用汇流排,包括外壳,所述外壳的正面均匀开设有电池槽,所述外壳的背面内嵌有导电片,且导电片的正面均匀焊接有凸点,所述外壳内部的上下两侧皆开设有侧腔,所述外壳内部的左右两端皆开设有传动腔,所述第一锥形齿轮中心轴的上下两端皆焊接有转杆,所述转杆的中部皆套接有移动套,所述连接杆远离第二锥形齿轮的一端皆焊接有旋钮,所述外壳的顶部焊接有卡头,所述外壳底端的左右两侧皆焊接有卡杆,所述导电片背面的左右两侧皆焊接有固定片。本实用新型便于对一排电池组进行固定,并且可再将一排的电池组拼装城一整个电池组,大大缩减了用户拼装整个电池组的安装难度,实用性强。

标签:
新能源
广东 - 东莞 来源:中冶有色网 2023-03-18
新能源汽车四驱混合动力控制系统

本实用新型公开了一种新能源汽车四驱混合动力控制系统,包括:前驱动力系统、后驱动力系统、VCU;前驱动力系统为六档ATM系统的前驱,后驱动力系统为两档AMT纯电系统的后驱;VCU控制前驱动力系统和后驱动力系统的整车动力分配和模式决定;当VCU控制前驱动力系统工作时,后驱动力系统挂空档;当VCU控制后驱动力系统工作时,前驱动力系统挂空挡。本实用新型通过前驱动力系统和后驱动力系统相互配合,由VCU控制其工作,当功率满足要求时,首先使用后驱动力系统驱动,由前驱动力系统做补充,并且,在前驱动力系统熄火时,后驱动力系统可进行能量回收,整体提高车辆的动力性,提高节油水平,降低排放。

标签:
新能源
广东 - 东莞 来源:中冶有色网 2023-03-18
用于新能源汽车电池的电池盖板

本实用新型为一种用于新能源汽车电池的电池盖板,所述电池盖板为内部开设空腔的平板结构,且所述空腔内设置有若干个加强筋,可减轻整体的重量,又保证盖体的强度,做到防震缓冲的作用,所述电池盖板在顶部顺序设置有正极压板、安全防爆阀、金属散热板、排气构件以及负极压板,排气构件可对内部产生的气体进行单向的缓慢排除,顺便排走热量,而设置安全防爆阀是为了防止出现气体暴增、热量聚集,压力瞬间增大而导致爆炸的情况,增加整体的安全性能;另外设置金属散热板,使电池工作产生的热量尽快散出,延长电池的工作寿命,也保证了安全性。

标签:
新能源
广东 - 东莞 来源:中冶有色网 2023-03-18
新能源汽车智能车载太阳能充电站

本实用新型公开了一种新能源汽车智能车载太阳能充电站,包括光伏安装座,所述光伏安装座通过行李架连接杆与车顶行李架连接固定,车顶行李架与车顶连接固定,所述光伏安装座上端中间位置固定有下层光伏板,所述光伏安装座左侧设有上层前光伏板,所述光伏安装座右侧设有上层后光伏板,上层前光伏板和下层后光伏板通过上层光伏板展开支架与光伏安装座连接固定,上层光伏展开支架的输入端与上层光伏展开电机的输出端连接固定,本实用新型结构简单、合理,具有太阳能、智能感应、自动运行、节能环保、远程掌控特点,响应速度快,降污染,防汽车曝晒,科技含量高,性能稳定可靠等。

标签:
新能源
广东 - 东莞 来源:中冶有色网 2023-03-18
上一页 17 18 19 20 21 ... 30 下一页
共30页    到第

中冶有色为您提供最新的广东东莞有色金属新能源材料技术理论与应用信息,涵盖发明专利、权利要求、说明书、技术领域、背景技术、实用新型内容及具体实施方式等有色技术内容。打造最具专业性的有色金属技术理论与应用平台!

全国热门有色金属设备推荐
展开更多 +
全国热门有色金属技术推荐
展开更多 +

 

江西省隆恩特环保设备有限公司
宣传

报名参会
更多+

报告下载

有色专家
更多+

中南大学
中国工程院院士
中南大学
常务副校长
蒙纳士苏州校区
中国工程院外籍院士/校长
有研科技集团有限公司
中国工程院 院士
郑州大学
校长/党委书记
赤泥综合利用研究报告2025
推广

热门技术
更多+

推荐企业
更多+

福建省金龙稀土股份有限公司
宣传

发布

在线客服

公众号

电话

顶部
咨询电话:
010-88793500-807