青岛垚鑫智能科技有限公司
宣传

位置:中冶有色 >

有色技术频道 >

> 新能源材料技术

分类:
全部
矿山技术
冶金技术
材料制备及加工技术
环境保护技术
分析检测技术
 
全部
功能材料技术
复合材料技术
新能源材料技术
合金材料技术
加工技术
地区:
全部
北京
天津
上海
重庆
河北
山西
辽宁
吉林
黑龙江
江苏
浙江
安徽
福建
江西
山东
河南
湖北
湖南
广东
海南
四川
贵州
云南
陕西
甘肃
青海
内蒙
广西
西藏
宁夏
新疆
其他
其他
展开
 
全部
广州
韶关
深圳
珠海
汕头
佛山
江门
湛江
茂名
肇庆
惠州
梅州
汕尾
河源
阳江
清远
东莞
中山
潮州
揭阳
云浮

广东东莞有色金属新能源材料技术理论与应用

免费发布技术信息>>
新能源汽车充电桩上的充电枪固定装置

本发明公开了一种新能源汽车充电桩上的充电枪固定装置,包括充电桩的本体,所述本体上设有充电电缆,所述充电电缆的端部固定连接有充电枪,所述本体的侧壁上成型有充电枪的插孔,所述插孔的内壁上成型有插槽,插槽两侧的插孔内壁上上下设有一对夹持件,所述夹持件包括电机、固定在所述电机转轴上的夹持凸轮和固定在所述夹持凸轮凸出部上的夹持板;所述插孔下方的本体侧壁上铰接支撑板,所述支撑板的顶面上设有缓冲层,支撑板的中部成型有圆形的穿孔,所述穿孔一侧的支撑板上成型有两端分别与穿孔和第一过孔相连通的第二过孔。本发明能将充电枪有效固定防止充电枪掉落,从而减少经济损失和安全隐患。

标签:
新能源
广东 - 东莞 来源:中冶有色网 2023-03-18
应用于新能源汽车的动力电池预热装置及方法

本发明公开了一种应用于新能源汽车的动力电池预热装置及方法,其中,所述装置可通过电池管理系统开启或关闭,其包括:至少一电池调温板,设置于电池包外侧;所述电池调温板上端面贴合连接有一加热板。本发明所提供的装置,使得动力电池在低温下,可经过与电池调温板进行热交换而预热后平稳过渡到工作状态,减小了动力电池在启动前后的瞬间温差,从而降低了启动对动力电池本身造成的冲击,提高了其使用寿命。同时,动力电池经过与电池调温板进行热交换预热后达到动力电池合理工作温度,解决了其低温环境不能工作的问题,且动力电池预热装置可通过电池管理系统(BMS)启停,简单方便。

标签:
新能源
广东 - 东莞 来源:中冶有色网 2023-03-18
新能源汽车自动充电桩

本实用新型涉及新能源汽车充电设备技术领域,具体涉及一种新能源汽车自动充电桩,包括上臂、支座以及充电线,所述上臂的内部中空,所述充电线设于上臂的内部,所述支座包括上盖以及底座,所述上臂固定于上盖,所述上盖与底座活动连接,所述支座设有旋转驱动组件,所述旋转驱动组件的输出端与上盖连接,所述上臂包括支撑段以及出墙段,所述支撑段的一端固定于上盖,所述支撑段的另一端与出墙段连接,所述支撑段与出墙段之间形成角度,所述出墙段设有供充电线伸出的出线口。本实用新型的自动充电桩能够实现自动出入墙功能,便于充电桩的收纳,很好地解决了充电桩占用空间大的问题,并且可以通过旋转进行调整,使充电桩的出线口位于最佳充电方位。

标签:
新能源
广东 - 东莞 来源:中冶有色网 2023-03-18
用于新能源电池一体铝盖板整形冲压模具

本实用新型公开了新能源电池技术领域的一种用于新能源电池一体铝盖板整形冲压模具,包括上模板和下模板,所述上模板位于下模板的上方,所述上模板的底部设有公夹垫板,所述公夹垫板的底部设有公夹板,所述公夹板的底部设有卸料垫板,所述卸料垫板的底部设有卸料板,所述下模板的顶部设有凹模垫板,所述凹模垫板的顶部设有凹模板,所述上模板的底部一侧设有定位导柱,所述定位导柱的顶端分别贯穿公夹垫板、公夹板、卸料垫板和卸料板,所述凹模板的顶部一侧设有定位槽,所述凹模板的外壁四周均匀设有导头,模具整体结构设计较为简单,便于调整、维修和保养,一副模具同时完成五道工序,批量生产效率高,零件尺寸稳定。

标签:
新能源
广东 - 东莞 来源:中冶有色网 2023-03-18
新能源水冷板搅拌摩擦焊结构

本发明涉及动力电池包热管理系统技术领域,且公开了一种新能源水冷板搅拌摩擦焊结构,包括操作台,所述操作台底部固定连接有支撑腿,所述操作台顶部设置有夹持机构,所述夹持机构内部设置有焊接机构;所述焊接机构包括冷板主体,所述冷板主体前侧固定连接有水冷板封端板,所述水冷板封端板顶部开设有流线型流道。该新能源水冷板搅拌摩擦焊结构,通过设置焊接机构,流线型水道设计的间隔距离小于搅拌焊接刀具轴肩的直径,保证了搅拌焊过程内部不会有焊接缺陷,从而稳定焊接,能够改变传统无此结构时,需采取拉拔垫块等辅助工装才能实现搅拌焊接,减少生产工序,提高生产效率,增强水冷板的一体密封性,从而保证产品可靠性。

标签:
新能源
广东 - 东莞 来源:中冶有色网 2023-03-18
新能源汽车专用密封橡胶配合结构及其加工工艺

本发明公开了一种新能源汽车专用密封橡胶配合结构及其加工工艺,涉及新能源汽车组件技术领域。本发明中:上位凸起圈层板上卡合安装有硬质橡胶圈体;外围软橡胶圈体包括外侧的软橡胶宽体和内侧的内围实体橡胶圈体;软橡胶宽体上开设有开口朝外的外围形变缺口。硬质橡胶圈体上侧配合安装有定位框架体;定位框架体上包括有卡位圈架。盖板下侧凸块卡合安装在盖板定位卡槽位置处。本发明形成外围软性密封防护、内围硬性密封隔离,既避免了电池舱盖板在密封卡合时局部过度挤压形变产生的微缝隙所带来的隐患,也保证了外围化基本密封隔绝的结构需求设计;阻隔因车体振动、事故等渗透的杂质、油污等,防止出现油污与电池组件的氧化自然等危险事故。

标签:
新能源
广东 - 东莞 来源:中冶有色网 2023-03-18
新能源充电电缆用环保稳定剂

本发明属于稳定剂技术领域,尤其涉及一种新能源充电电缆用环保稳定剂,按质量百分比计,至少包括如下组分:辅助稳定剂A 3‑15%;主稳定剂B 5‑15%;主稳定剂C 15‑25%;水滑石15‑62%;抗氧剂D 2‑12%;改质剂S 1‑15%;表面活性剂1‑8%。相对于现有技术,使用本发明提供的新能源充电电缆用环保稳定剂,所得制品具有优秀的耐高温性能,优异的电绝缘性能,完全符合新国标绝缘电阻要求。另外使用该稳定剂制得的耐高温聚氯乙烯材料,可通用到电缆绝缘层和护套层,所制电缆耐磨性好,柔韧性高,抗撕裂,耐侯性很好,成本优势明显,且具有环保的优势。 1

标签:
新能源
广东 - 东莞 来源:中冶有色网 2023-03-18
无卤阻燃热塑性弹性体新能源汽车用线缆材料

本发明属于线缆材料技术领域,涉及一种无卤阻燃热塑性弹性体新能源汽车用线缆材料,按质量百分比计,所述电线线缆材料包括以下组分:聚苯乙烯类弹性体10%‑40%;橡胶5%‑25%;聚烯烃10%‑40%;聚苯醚或改性聚苯醚5%‑25%;无卤阻燃剂0.1%‑10%;相容剂0.1%‑5%;抗氧剂0.1%‑5%;动态硫化体系0.1%‑10%;碳纳米管0.1%‑2%;所述动态硫化体系包括质量比为100:(30‑70):(5‑20):(5‑30)的过氧化物、硫化助剂、活化剂和白油的混合物;所述碳纳米管为经过表面处理带有羧基的碳纳米管。相对于现有技术,本发明提供的无卤阻燃热塑性弹性体新能源汽车用线缆材料具有耐油、耐磨特性、高的抗撕裂性能和高的阻燃性能,可以满足正常使用的需求。

标签:
新能源
广东 - 东莞 来源:中冶有色网 2023-03-18
用于新能源汽车零部件的冲压模具

本实用新型公开了一种用于新能源汽车零部件的冲压模具,本实用新型涉及冲压模具技术领域,本实用新型包括工作台,所述工作台的顶面固定连接有门式框,所述门式框的内顶壁安装有电动推杆,且电动推杆的伸缩端固定安装有凸模,所述工作台的顶面固定安装有凹模,所述门式框的顶面固定安装有卸料机构,且门式框的内部安装有接料机构。该用于新能源汽车零部件的冲压模具通过吹吸风机吸气负压箱内部产生吸力经过软管传导至真空吸盘将冲压件吸起,吹吸风机吹气经过软管传递到真空吸盘将冲压件吹落,实现该装置的自动卸料,避免传统需要人工从模具中拿取下来,使卸料过程比较简单,提高了卸料速度,保证了冲压效率。

标签:
新能源
广东 - 东莞 来源:中冶有色网 2023-03-18
大功率新能源连接器
大功率新能源连接器 937     
 0

本实用新型提供了一种大功率新能源连接器,包括对接端连接器和面板端连接器,对接端连接器与面板端连接器相连接;对接端连接器包括第一壳体、第一胶芯、第一金属接触件、接管以及尾盖;第一壳体与接管的一端连接,接管的另一端与尾盖连接,第一胶芯位于第一壳体和接管的内侧,第一金属接触件设置于第一胶芯内;面板端连接器包括第二壳体、第二胶芯和第二金属接触件,第二胶芯设置于第二壳体内侧,第二金属接触件设置于第二胶芯内侧;第一壳体上设置有按压部,第二壳体上设置有卡扣部,按压部与卡扣部相匹配;第一金属接触件与第二金属接触件相对接,且均分别设置有铆压孔。所述大功率新能源连接器具有使用安全、安装方便等有益效果。

标签:
新能源
广东 - 东莞 来源:中冶有色网 2023-03-18
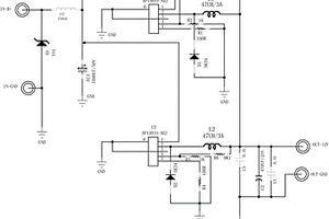
新能源电动车的收音机供电电路

本实用新型公开了一种新能源电动车的收音机供电电路,其包括电瓶连接端、负载连接端、以及在该电瓶连接端与负载连接端之间的降压电路,该降压电路包括第一降压芯片U1和第二降压芯片U2,其中该第一降压芯片U1和第二降压芯片U2并联;电瓶连接端用于与新能源电动车的电瓶电连接,负载连接端用于与收音机电连接,降压电路用于将电瓶提供的电压转换为收音机所需工作电压。本实用新型通过两个降压芯片并联使用代替原有开关电源作为收音机的电源供给,通过本实用新型的降压电路输出的电源相比原来的开关电源输出的电源大大地降低了对收音机的干扰,提高了收音工作的稳定性。

标签:
新能源
广东 - 东莞 来源:中冶有色网 2023-03-18
新能源汽车动力电池水冷散热系统

本实用新型涉及散热技术领域,具体涉及一种新能源汽车动力电池水冷散热系统,包括至少两组的液冷板,每组所述液冷板均连接有第一接口和第二接口,所述第一接口连接有导入管道,所述第二接口连接有导出管道;所述液冷板中心镂空一体成型有液冷槽,所述液冷槽一体成型有若干加固条分隔形成导流槽,所述液冷板两侧一体焊接有封装板,所述封装板将液冷槽封装;本实用新型针对新能源汽车进行散热冷却,采用了多组液冷板独立散热工作,从而保证了散热效果,同时还采用迷宫结构的散热设计,进一步保证散热均匀性。

标签:
新能源
广东 - 东莞 来源:中冶有色网 2023-03-18
新型新能源充电设备温度检测探头

本实用新型适用于温度检测探头技术领域,尤其涉及一种新型新能源充电设备温度检测探头,包括安装主体以及探头本体,所述探头本体包括一体设置的外壳、镀镍铜管以及弹簧,其中外壳的外部设有车件螺母,所述镀镍铜管的一端设有电阻,另一端设有红银,所述安装主体内部设有与车件螺母相配合的安装主体螺孔;本装置在安装时,将温度探头引线先穿过安装主体螺孔,将车件螺母扭进安装主体螺孔内部,再用工具紧固螺头即可,安装时较为简单,占用空间较小,采用螺母连接的方式不易崩裂,紧固性较高。

标签:
新能源
广东 - 东莞 来源:中冶有色网 2023-03-18
移动式新能源汽车充电桩

本实用新型公开了一种移动式新能源汽车充电桩,包括充电桩箱体、支撑件和驱动机构,所述充电桩箱体底面四角处均设有一轮滚,所述所述支撑件套设于所述充电桩箱体外表面下端,且所述支撑件可沿所述充电桩箱体高度方向进行滑动,用以支撑所述充电桩箱体,所述驱动机构设于所述充电桩箱体底面,用以驱动所述支撑件沿所述充电桩箱体高度方向进行移动,本实用新型结构简单,移动方便快捷,实用性强,适用性广,使用效果好。

标签:
新能源
广东 - 东莞 来源:中冶有色网 2023-03-18
结构改良的新能源正极、负极材料混合机

本实用新型公开了一种结构改良的新能源正极、负极材料混合机,包括主机架,所述主机架的上端部装设有混合高混机,混合高混机的上盖装设有粉体搅拌入料桶和助剂入料箱,主机架侧边架在冷却高混机入料口通过连接套与混合高混机排料口对接相连,粉体搅拌入料桶上盖螺装有粉体入料管,粉体入料管上端螺连接有粉体入料软管和螺连接有粉体入料气动阀门,且粉体入料气动阀门与粉体储蓄搅拌桶对接相连,本实用新型具有设计新颖、自动化程度高、连续化生产的优点,且能够在整个投料、生产过程达到全封闭真空状态改善工作环境中的粉尘污染和避免物料混合过程中的污染和生产安全保障。

标签:
新能源
广东 - 东莞 来源:中冶有色网 2023-03-18
新能源汽车蓄电池保护装置

本实用新型公开了一种新能源汽车蓄电池保护装置,汽车底板上部固定有放置箱体,放置箱体中央设有蓄电池,本实用新型通过在汽车外部的气流顺着进风弯管进入到放置箱体内部并从放置箱体上的散热孔出去,形成散热气流对蓄电池散热,很好的保护了放置箱体中央的蓄电池;通过设置在放置箱体内的的第一防护板与第二防护板及若干弹簧,发生碰撞时第一防护板能最大限度的缓冲外在的碰撞,设置在第一防护板和第二防护板之间的第一压缩弹簧、第二压缩弹簧和第三压缩弹簧起到第二道缓冲作用,以及在放置箱体内部左右设置的橡胶制作的减震柱及波纹板能较好的保护蓄电池,这样整体就提高到了蓄电池的防撞能力,蓄电池的保护能力大为提高。

标签:
新能源
广东 - 东莞 来源:中冶有色网 2023-03-18
新能源汽车上的茶杯托座

本实用新型公开了一种新能源汽车上的茶杯托座,包括方型的托座外壳,托座外壳下端的侧边上弯折成型有翻边,托座外壳的上端面成型有向托座外壳内侧弯折的座套,座套内插接有升降杯套,升降杯套螺接有在从动齿轮上,从动齿轮铰接在托座外壳的座套上并和主动齿轮相啮合,主动齿轮插套固定在电机的转轴上,电机固定在电机支架上,电机支架固定在底板上,底板插接固定在托座外壳内,所述升降杯套下端两相对的外壁上成型有插槽,底板上成型有竖直的限位板,限位板插接在升降杯套的插槽内。本实用新型能实现自动调节茶杯托座的杯托,减小汽车运行时水杯洒水的状况。

标签:
新能源
广东 - 东莞 来源:中冶有色网 2023-03-18
特大型新能源电池箱体的生产装置

本发明属于新能源电池箱体技术领域,尤其是新能源电池箱体技术领域,针对现有加工装置中机加工和喷涂需要分开操作,装夹麻烦,加工效率低的问题,现提出如下方案:包括底座,所述底座的顶部开设有安装槽和第一滑槽,所述第一滑槽为环形结构,所述第一滑槽位于安装槽的外部,所述安装槽的内部安装有第一电机,所述第一电机的输出轴上安装有转盘,所述转盘的底部固定有环形的第一滑块,所述第一滑块滑动安装在底座顶部的第一滑槽内,所述底座的顶部安装有支撑座、第一气缸、第二气缸、第二滑杆和喷漆装置。本发明通过X、Y和X方向的移动再通过转盘的转动,可对电池箱体侧边的任意位置进行机械加工或者喷涂作业,操作非常简单。

标签:
新能源
广东 - 东莞 来源:中冶有色网 2023-03-18
顶部可换色的新能源汽车

本发明公开了一种顶部可换色的新能源汽车,包括车身、连接盖板和第一螺旋管道,所述车身的前方安装有前车盖,且车身的前侧面设置有挡风玻璃,所述车身的上方固定有车顶,且车身的左右两侧均安装有反光镜,所述车身的底部设置有车底盘,且车身的后侧安装有后车盖,所述连接盖板的下方安装有过渡盖板,且连接盖板位于空槽的中间,所述第一螺旋管道的前侧设置有第二螺旋管道,且第一螺旋管道位于车顶的内部。该顶部可换色的新能源汽车通过空槽、连接盖板、过渡盖板和滑块的设置,使车顶能够正常封闭成密闭结构,利用连接盖板和过渡盖板之间的尺寸配合,使车顶密闭后在雨天环境下雨水不会渗透到顶槽中,对太阳能光伏板进行保护。

标签:
新能源
广东 - 东莞 来源:中冶有色网 2023-03-18
具有备用电源的新能源汽车

本发明公开了一种具有备用电源的新能源汽车,包括车身、防护板和散热箱,所述车身的左侧安装有前车盖,且前车盖的左侧设置有前车大灯,所述前车盖的下方安装有车轮架,且车轮架的右侧设置有方向侧灯,所述方向侧灯的右侧安装有车门,且车门的上方设置有车窗,所述车身的下方固定有车底盘,且车底盘的右侧设置有车尾,所述防护板的内部安装有调节杆,且防护板位于支板的上方,所述散热箱的中间固定有水箱,且散热箱位于发动机组的右侧。该具有备用电源的新能源汽车通过加固轮的设置,使单个前车轮、单个后车轮的结构强度更高,使前车轮和后车轮与地面的接触面积更大,对前车轮与后车轮进行重点加固,增强前车轮与后车轮的行动稳定性。

标签:
新能源
广东 - 东莞 来源:中冶有色网 2023-03-18
新能源汽车冷却管路快速接头

本实用新型涉及冷却管路技术领域,且公开了一种新能源汽车冷却管路快速接头,包括冷却管体,所述冷却管体的一端螺纹连接有连接件,所述连接件的另一端固定连通有连接管,所述连接管的另一端固定连接有接头组件;该新能源汽车冷却管路快速接头,先将每段的连接管分别与对接公头和对接母头连接,然后将对接公头的对接管插入对接母头中,对接管将会抵压在密封环垫二上,对接母头将会抵压在密封环垫一上,然后松开推圈,弹簧推动推圈上移,推圈内壁的环形斜面挤压锁球抵压在环形卡槽中,同时定位珠也会卡在对接管外表面的环槽中,实现对对接母头和对接公头的快速对接,从而实现对相邻的两个冷却管道之间的快递衔接。

标签:
新能源
广东 - 东莞 来源:中冶有色网 2023-03-18
新能源交流充电枪电缆
新能源交流充电枪电缆 1086     
 0

本实用新型属于新能源汽车电缆技术领域,尤其是一种新能源交流充电枪电缆,针对现有的电缆在使用过程中频繁拖拽移动,容易造成破损而降低使用寿命,并且在室外使用时,阻燃效果较差的问题,现提出如下方案,其包括外护套,所述外护套的内壁固定连接有阻燃层,所述阻燃层的内壁固定连接有屏蔽层,所述屏蔽层的内壁固定连接有填充层,所述填充层的内部安装有第一缆芯,所述第一缆芯的外壁固定套设有第一绝缘层,本实用新型中外护套、保护套、第一耐磨层与第二耐磨层的材质为氯化聚乙烯,氯化聚乙烯提高整体的耐磨强度,并且增加电缆的机械强度,阻燃层上的聚氯乙烯,提高电缆整体的阻燃性能。

标签:
新能源
广东 - 东莞 来源:中冶有色网 2023-03-18
新能源汽车动力电池绝缘片

一种新能源汽车动力电池绝缘片,包括依次设置的PET层、纤维阻燃层、散热层、导热层和PH试纸层,所述散热层包括散热腔和环形散热圈,所述散热腔设置于所述环形散热圈的内部,所述环形散热圈的外边缘与所述PET层、所述纤维阻燃层、所述导热层和所述PH试纸层的边缘对齐,所述环形散热圈为弹性散热圈,散热孔沿所述散热圈周向均匀设置,所述散热孔呈“Y”型设置,具有安全检测漏液,以及改善电池过热引发的安全问题,保证新能源汽车的安全。

标签:
新能源
广东 - 东莞 来源:中冶有色网 2023-03-18
新能源节能燃烧器
新能源节能燃烧器 986     
 0

本实用新型公开了一种新能源节能燃烧器,包括基座、燃烧外室、热过渡密闭罐和二次燃烧室,所述基座的左侧设置有进水管,且基座的右侧安装有出水管,所述基座的上方固定有热传递水箱,且热传递水箱的内侧设置有散热管,所述热传递水箱的上方安装有水泵,且水泵的左右两侧均固定有燃料进管,所述燃烧外室的内部设置有混合室,且燃烧外室位于燃料进管的上方,所述热过渡密闭罐的内部设置有热传递中空层,且热过渡密闭罐位于燃烧外室的上方,所述二次燃烧室的下方中间安装有电动阀,且二次燃烧室位于热过渡密闭罐之间。该新能源节能燃烧器可对热量进行高效循环利用,燃料可进行二次充分燃烧,燃烧器本身具有自预热功能。

标签:
新能源
广东 - 东莞 来源:中冶有色网 2023-03-18
用于新能源的可燃气湿式净化设备

本实用新型涉及一种用于新能源的可燃气湿式净化设备,包括净化设备主体、温度计、上固定板和盖体,所述净化设备主体的外侧连接有进气管,且进气管上安装有第一气泵,所述进气管的外侧连接有第一净化箱,且第一净化箱的内部设置有抽拉槽,所述抽拉槽的外表面固定有把手,所述进气管的内侧连接有连接管,且连接管的内侧连接有冷却箱,所述冷却箱的外部四周设置有电机,且冷却箱的内部安置有第二净化箱,所述第二净化箱的中间位置安装有第二气泵,所述温度计设置于冷却箱的外表面,所述上固定板固定于净化设备主体的底部。本实用新型的有益效果是:该用于新能源的可燃气湿式净化设备,通过3个进气管同时进行进气,这样会使得进气的效果得以提高。

标签:
新能源
广东 - 东莞 来源:中冶有色网 2023-03-18
新能源压接机
新能源压接机 744     
 0

本实用新型公开了一种新能源压接机,包括工作壳体,所述工作壳体的正面活动连接有压动块,所述工作壳体的背面活动连接有连接杆,所述工作壳体的背面且位于连接杆的底部固定连接有底座,所述连接杆与底座活动连接,所述工作壳体正面的左侧固定连接有第一导线固定盒,所述工作壳体正面的右侧固定连接有第二导线固定盒。本实用新型通过工作壳体、压动块、连接杆、底座、第一导线固定盒、第二导线固定盒、放置台、导线、橡胶块、限位板、压缩弹簧、承重块和凹槽的设置,不仅可以方便对导线进行压接,还能够对导线进行保护,同时解决了传统压接机不能对导线进行固定的问题,该新能源压接机,具备可以对导线进行固定的优点。

标签:
新能源
广东 - 东莞 来源:中冶有色网 2023-03-18
新能源电池用便于拆卸的电池盖板

本实用新型涉及新能源电池技术领域,尤其一种新能源电池用便于拆卸的电池盖板,包括上盖板主体及下盖板主体,所述上盖板主体的内部设有收集箱,且收集箱的上端内部固定连接有报警器,所述收集箱的内部固定连接有传感器,且上盖板主体的内部开设有安装孔,所述上盖板主体的上端前后两侧内部固定连接于第一散热板,且第一散热板的下侧设有第二散热板,本实用新型中,通过设置的导流槽与导流管的配合,便于将上盖板主体表面的雨水收集至收集箱内部,防止上盖板主体上端的雨水流进电池箱内部,造成电池的损坏,同时通过传感器与报警器的配合,当收集箱内部的水位达到临界值时,报警器报警,从而提醒使用者将收集箱内部水排出。

标签:
新能源
广东 - 东莞 来源:中冶有色网 2023-03-18
新能源防潮充电桩
新能源防潮充电桩 1183     
 0

本发明公开了一种新能源防潮充电桩,包括本体,所述本体顶部的四周均固定连接有支撑杆,所述支撑杆的顶部固定安装有雨棚,所述本体顶部的中端固定连接有加热箱,所述加热箱顶部的中端开设有进气口,所述加热箱内腔的底部固定安装有电热板,所述加热箱内腔顶部的左端固定安装有温度感应器,所述本体内腔的底部从左到右依次开设有风机槽和凹槽,所述风机槽内腔的底部固定安装有风机。本发明通过雨棚、支撑杆、加热箱、电热板、进气口、温度感应器、吸气管、本体、风机槽、风机、凹槽、电子元件、出气管和湿度感应器相互配合,解决了现在的新能源充电桩长期在外面会受到潮湿环境的影响,导致充电桩容易出现故障的问题。

标签:
新能源
广东 - 东莞 来源:中冶有色网 2023-03-18
新能源汽车用动力电机防震式悬挂装置

本发明公开了一种新能源汽车用动力电机防震式悬挂装置,包括电机防尘箱和过滤箱,电机防尘箱前后两端对称设有与其滑动连接的固定板,电机防尘箱内固定有与固定板贴合的挡板,挡板中间设有通孔,电机防尘箱内设有穿过通孔与固定板固定连接的动力电机,固定板的侧壁与电机防尘箱的内壁之间固定有弹簧,固定板的四角处设有与电机防尘箱固定的弧形块,电机防尘箱和固定板上在动力电机输出轴的一端设有轴孔,电机防尘箱内壁上端固定有上吊架,上吊架下端固定有固定杆,动力电机通过固定板与电机防尘箱之间滑动,使用弹簧和弧形块对各个方向都具有减震的作用,减震效果好,动力电机通过固定杆和吊架固定防止颠簸时产生扭力,保证动力平稳输出。

标签:
新能源
广东 - 东莞 来源:中冶有色网 2023-03-18
新能源汽车空调尾吸式进气系统

本发明提供一种新能源汽车空调尾吸式进气系统,包括汽车本体、控制装置、第一进风口、通风管道、吸入风机及出风口,控制装置设置于汽车本体内,控制装置与吸入风机电连接,第一进风口设置于汽车本体的尾翼处,通风管道设置于汽车本体的顶篷的内部,出风口设置于顶篷上,通风管道的一端与第一进风口连通,通风管道的另一端与出风口连通,吸入风机设置于通风管道上。本发明的第一进风口设置于汽车本体的尾翼处,远离热源,可减少车内空气的污物及霉菌,提高空气新鲜度,并利用回旋气流进气,减少吸入风机的功耗,能够节省能源。

标签:
新能源
广东 - 东莞 来源:中冶有色网 2023-03-18
上一页 19 20 21 22 23 ... 30 下一页
共30页    到第

中冶有色为您提供最新的广东东莞有色金属新能源材料技术理论与应用信息,涵盖发明专利、权利要求、说明书、技术领域、背景技术、实用新型内容及具体实施方式等有色技术内容。打造最具专业性的有色金属技术理论与应用平台!

全国热门有色金属设备推荐
展开更多 +
全国热门有色金属技术推荐
展开更多 +

 

江西省隆恩特环保设备有限公司
宣传

报名参会
更多+

报告下载

有色专家
更多+

中国矿业大学(北京)
教授
矿冶科技集团
中国工程院院士
重庆理工大学
教授
中铝检测科技(郑州)有限公司/国家轻金属质量检验检测中心
正高级工程师
国家钨与稀土产品质量检验检测中心
主任
赤泥综合利用研究报告2025
推广

热门技术
更多+

推荐企业
更多+

福建省金龙稀土股份有限公司
宣传

发布

在线客服

公众号

电话

顶部
咨询电话:
010-88793500-807