青岛垚鑫智能科技有限公司
宣传

位置:中冶有色 >

有色技术频道 >

> 新能源材料技术

分类:
全部
矿山技术
冶金技术
材料制备及加工技术
环境保护技术
分析检测技术
 
全部
功能材料技术
复合材料技术
新能源材料技术
合金材料技术
加工技术
地区:
全部
北京
天津
上海
重庆
河北
山西
辽宁
吉林
黑龙江
江苏
浙江
安徽
福建
江西
山东
河南
湖北
湖南
广东
海南
四川
贵州
云南
陕西
甘肃
青海
内蒙
广西
西藏
宁夏
新疆
其他
其他
展开
 
全部
广州
韶关
深圳
珠海
汕头
佛山
江门
湛江
茂名
肇庆
惠州
梅州
汕尾
河源
阳江
清远
东莞
中山
潮州
揭阳
云浮

广东东莞有色金属新能源材料技术理论与应用

免费发布技术信息>>
新能源汽车用锂电池装置

本发明公开了一种新能源汽车用锂电池装置,包括锂电池主体和底部壳体,所述底部壳体的底板具有排气通孔,底部壳体的侧壁底部具有侧通孔,锂电池主体的下部插套在底部壳体中,上壳体在底部壳体上方,锂电池主体的上部插套在上壳体中;上壳体的底端边部具有向下延伸的连接延伸部,底部壳体的顶部插套在连接延伸部中,上壳体的左右两侧底端面与底部壳体的左右两侧的顶端面之间形成安装凹槽,锂电池主体的两侧具有限位块,限位块插套在安装凹槽中,安装凹槽的顶面固定有上缓冲弹簧,底部壳体的左右两侧的顶端面上固定有下缓冲弹簧;它冷却效果好,通过风冷带动实现散热,从而提高其使用寿命。

标签:
新能源
广东 - 东莞 来源:中冶有色网 2023-03-18
新能源涡旋加工夹具
新能源涡旋加工夹具 924     
 0

本实用新型公开了新能源涡旋加工夹具,涉及涡旋加工夹具技术领域,解决了现有加工夹具在夹持产品进行加工时,容易产生加工波动的问题,包括支撑架、抵压结构和清理结构,支撑架上设有工作台,工作台上对称设有放置槽,放置槽内设有定位柱,抵压结构位于支撑架上,用于对放置槽内的产品进行抵压,清理结构位于抵压结构内,用于在产品加工过程中对产品侧面进行实时清理,本实用新型通过设有抵压结构,在对产品进行加工时,可以对产品的侧面进行抵压,避免加工过程中由于产品定位孔与定位柱间的微小误差产生加工波动。

标签:
新能源
广东 - 东莞 来源:中冶有色网 2023-03-18
新能源宣传栏
新能源宣传栏 982     
 0

本实用新型公开一种新能源宣传栏,属于宣传栏技术领域,包括底座和安装架,安装架内固定安装有宣传箱,宣传箱内固定安装有宣传板,宣传板前端设置有两个夹板,两个夹板上均设置有凹槽把,且两个夹板靠近宣传板一侧均固定安装有连接杆,宣传板内对应连接杆处均设置有安装槽,多个连接杆均穿过宣传板延伸至安装槽内,且多个连接杆远离夹板一侧上均固定安装有限位板,多个连接杆上均套设有压紧弹簧,多个压紧弹簧的一侧固定安装在限位板上,多个压紧弹簧远离限位板的一侧固定安装在安装槽内前端,本实用新型的有益效果是:本设备结构简单,相比与传统宣传栏利用螺钉对海报进行安装拆卸更加方便快捷,大大缩短了海报更换的时间,具有极高的实用性。

标签:
新能源
广东 - 东莞 来源:中冶有色网 2023-03-18
新能源汽车动力锂电池加热板

本实用新型公开一种新能源汽车动力锂电池加热板,包括有内发热线路层以及两面环氧树脂玻纤布;该内发热线路层夹设于两氧树脂玻纤布之间,内发热线路层和两面环氧树脂玻纤布通过热压结合固定在一起。本产品采用两面环氧树脂玻纤布通过热压与内发热线路层结合在一起,其电阻性电路排布均匀,热惯性小,与受热体紧密接触,升温速度快,与绝缘材料有极低的饱和蒸汽压,放气性低;并且,本产品为平面设计,相对其他发热丝加热片功率负荷低,使用寿命长,绝缘性好;还可以抵抗大多数化学物质,如酸和溶剂的腐蚀。

标签:
新能源
广东 - 东莞 来源:中冶有色网 2023-03-18
新能源车充电直通电子锁

本实用新型公开了一种新能源车充电直通电子锁,包括齿轮箱壳体、锁杆驱动机构和锁杆,锁杆驱动机构安装在齿轮箱壳体的内部,锁杆驱动机构包括复合齿轮、出力螺杆、电机齿轮、齿轮架和电机,齿轮架上设有齿轮螺杆安装套管,复合齿轮可转动地安装在齿轮架的内部,复合齿轮包括齿轮主体和外齿轮,齿轮主体的内孔上设有内螺纹,电机的输出轴与电机齿轮固定连接,外齿轮和电机齿轮相互啮合,出力螺杆安装在齿轮螺杆安装套管内部,出力螺杆上设有外螺纹,外螺纹与内螺纹螺纹连接,锁杆与出力螺杆相连接。本实用新型结构简单、紧凑,设计合理,不易出现齿轮箱失效的情况,内部零件较少,生产时投入的固定模具少,提高了生产效率的同时也降低了人工成本。

标签:
新能源
广东 - 东莞 来源:中冶有色网 2023-03-18
应用于新能源电池铝壳制造的大行程送料装置

本实用新型公开了一种应用于新能源电池铝壳制造的大行程送料装置,包括送料器垫板,送料器垫板下端左右两侧均固定有支撑脚,支撑脚上开设有偏摆导轨,送料器垫板上端设有送料箱,送料箱前端设有气缸,气缸左右两侧均设有送料活动轴,送料箱上端固定有送料器上板,送料器上板通过内螺纹和送料箱上端固定,偏摆导轨左右两端通过偏摆活动轴连接,偏摆活动轴左右两端均固定有偏摆固定板,偏摆固定板下端固定有偏摆固定轴,偏摆固定轴通过弹性弹簧和偏摆固定板连接,送料器垫板上端设有运料带,本实用新型能够解决电池铝壳在输送过程中偏摆幅度较大的问题,提高送料装置的稳定性。

标签:
新能源
广东 - 东莞 来源:中冶有色网 2023-03-18
新能源汽车充电桩弹簧
新能源汽车充电桩弹簧 1092     
 0

本实用新型公开了一种新能源汽车充电桩弹簧,包括若干首尾相接围成圆环弹簧的弹性单体,弹性单体包括侧支撑部、与侧支撑部上端连接的上弹性部、与侧支撑部下端连接的下弹性部,侧支撑部倾斜设置,上弹性部往侧支撑部的一侧偏折且倾斜向下设置,与侧支撑部形成的夹角为锐角,以实现圆环弹簧的上表面形成一锥面;下弹性部往侧支撑部的另一侧偏折且倾斜向上设置,与支撑部形成的夹角为锐角;本实用新型将若干个弹性单体首尾相接围成圆环弹簧,圆环弹簧的内孔设置成比充电桩插头组件的外径小,当车主将插头组件直接拔出,拔出过程中将圆环弹簧的内径撑开强行脱出,使用完毕后直接将插头组件塞入至圆环弹簧的内孔处,将内孔撑开并且相对固定在锥面处。

标签:
新能源
广东 - 东莞 来源:中冶有色网 2023-03-18
大电流新能源充电器触点结构

本实用新型公开了一种大电流新能源充电器触点结构,包括充电器主体、凹型框、防脱支块、指示器和螺纹调节套,所述充电器主体底部的侧壁上设有凹型框,凹型框底部的拐角位置处皆固定铰接有上螺杆,所述上螺杆的底端螺纹连接有螺纹调节套,螺纹调节套的底端螺纹连接有下螺杆,所述凹型框一侧的两端皆安装有弹簧,所述凹型框一侧的充电器主体中心位置处固定有处理框,处理框内部的一端安装有单片机,所述单片机一侧的处理框内部固定有蓝牙模块,所述触点器两侧的充电器主体表面皆安装有报警器。本实用新型不仅实现了触点结构充电时的距离检测功能,提高了触点结构的使用范围,而且提高了触点结构使用时的安全性。

标签:
新能源
广东 - 东莞 来源:中冶有色网 2023-03-18
新能源电动汽车的铝板电池箱体

本实用新型公开了一种新能源电动汽车的铝板电池箱体,包括箱体和箱盖,所述箱盖卡扣安装于箱体顶端,所述箱体内部开设有电池固定槽,所述电池固定槽内镶嵌有分隔板,所述分隔板两侧表面均开设有电池定位槽。本实用新型通过将电池卡扣于箱体内的电池固定槽中,通过分隔板两侧表面开设的电池定位槽,可对所安装的电池进行固定定位,通过电池固定槽内镶嵌的分隔板,可区分整个汽车电池的存储区域,根据不同情况摆放不同使用需求的电池组,通过箱盖表面镶嵌的导液管,便利于与汽车电池散热管道相互连通,从而使散热装置所输送的降温液通过分隔板与箱体内部镶嵌的冷却液流通管进行循环,从而降低箱体内电池的工作温度。

标签:
新能源
广东 - 东莞 来源:中冶有色网 2023-03-18
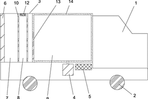
新能源冷链物流车
新能源冷链物流车 810     
 0

本实用新型提供一种新能源冷链物流车,包括车头、车胎、车厢、制冷机、电池、车厢门,车厢被依次间隔分成进厢区、回流区、冷藏区,进厢区位于车厢门一侧;回流区两侧设置有门帘,回流区内设置有向下送风的风机;冷藏区一侧铰接有与冷藏区连通的舱门,制冷机输出口与冷藏区连通,制冷机和风机均与电池电连接。在回流区两侧设置门帘对回流区进行半封闭,并在回流区顶部设置风机,以达到加强回流区内气压,形成一气流屏障,既可阻挡车厢外气流及灰尘通过回流区,也可阻挡冷藏区内气流泄漏,以提升冷藏区内温度稳定性。其结构简单,使用方便,取货时可有效阻挡车厢外部气流或灰尘进入冷藏区,并阻挡冷藏区内冷气向外泄漏,冷藏区温度稳定性高。

标签:
新能源
广东 - 东莞 来源:中冶有色网 2023-03-18
方便使用的新能源充电柱

本实用新型公开了一种方便使用的新能源充电柱,包括充电箱体,所述充电箱体顶部设有第一支撑板,所述第一支撑板顶部设有控制开关,所述充电箱体内部设有防溜车装置。本实用新型通过充电箱体设置为存放于地下,可以有效的增加地面的利用率,其次可以很好的对充电柱起到保护的作用,控制开关控制第二电动伸缩杆将开口打开,第一电动伸缩杆伸长将充电头推出地面,充电头可以从第一电动伸缩杆的顶部拔下,方便进行充电,防溜车装置当汽车对第二支撑板造成压力时,第一转轴转动,带动第一旋转杆转动,从而带动滑动块进行移动,带动第二旋转杆升起,对防溜车块产生力,使得防溜车块上升,可以很好的汽车起到固定的作用,防止溜车。

标签:
新能源
广东 - 东莞 来源:中冶有色网 2023-03-18
新能源石墨烯电池用便于调节的隔膜收卷架

本实用新型属于石墨烯电池领域,具体说的是一种新能源石墨烯电池用便于调节的隔膜收卷架,包括立杆,所述立杆的正面中间固定设定有第一滚轮,所述第一滚轮的底端固定设定有第二滚轮,所述第二滚轮的顶端两侧固定设定有限位块,所述限位块的正面一侧导杆设定有调节装置;通过立杆、第一滚轮、第二滚轮和限位块的结构设计,通过将隔膜从第一滚轮与第二滚轮之间导出至卷辊上,使得隔膜在收卷时能够扯平,不会褶皱,并且通过限位块使得隔膜收卷不会移位,使得隔膜收卷整齐,实现了高效收卷的功能,解决了隔膜收卷架对于隔膜的收卷效率不是很好,收卷的过程中会导致隔膜的破损,以及褶皱,从而影响到隔膜的使用的问题,提高了收卷架的效率。

标签:
新能源
广东 - 东莞 来源:中冶有色网 2023-03-18
新能源动力汽车水冷系统的接头装置

本实用新型提供了一种新能源动力汽车水冷系统的接头装置,涉及水冷散热领域,其包括主体以及盖合在主体上的盖板,主体上设有进水腔和出水腔,盖板上设有与进水腔连通的进水接口以及与出水腔连通的出水接口,主体上还设有至少一个用于与水冷散热器的进水接头连接的第一接头以及至少一个用于与水冷散热器的出水接头连接的第二接头,第一接头与进水腔连通,第二接头与出水腔连通。与现有技术相比,该接头装置利用进水腔和第一接头将水分流至多个水冷散热器,又利用出水腔和第二接头将多个水冷散热器流出的水进行回收,该接头装置与各水冷散热器组装方便,提高整个水冷系统的散热效率,减小水冷系统的体积,节省占用空间。

标签:
新能源
广东 - 东莞 来源:中冶有色网 2023-03-18
用于新能源汽车电池包的温度采样线束

本实用新型公开了一种用于新能源汽车电池包的温度采样线束,包括有主线束、第一分支线束、第二分支线束和温度传感器;主线束的一端连接有主连接器,另一端连接有第一副连接器;第一分支线束的一端连接于主线束,另一端连接有第二副连接器;第二分支线束的一端连接于主线束,另一端连接温度传感器;第二分支线束和温度传感器的相接处设置有热缩套管,所述热缩套管的外表面压合有一碳纤维外壳。利用热缩套管来密封,可以有效地防止外界的水分渗入到温度传感器和第二分支线束的连接处,保证其连接处不受腐蚀,线束的温度采集工作能够可靠进行;碳纤维外壳压合在热缩套管的表面,不仅可以起到隔热作用,还可使第二分支线束和温度传感器的连接更可靠。

标签:
新能源
广东 - 东莞 来源:中冶有色网 2023-03-18
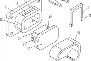
应用于新能源汽车的高压充电插头

本实用新型公开了一种应用于新能源汽车的高压充电插头,包括陶瓷外座,陶瓷外座包括矩形的前挡板,前挡板成型有矩形的中心孔,前挡板的后端面上成型有与中心孔相连通的“回”字形的外套,外套的上端面上成型有“一”字型的凹槽,凹槽的两端成型有贯穿外套的下端面的插孔,外套的下端面上成型有与插孔相连通的卡槽,所述陶瓷外座内插接有绝缘内嵌件,绝缘内嵌件包括插设在陶瓷外座内的矩形嵌件,矩形嵌件的后端面成型有挡块,挡块抵靠在陶瓷外座外套的后端面上,矩形嵌件的两侧壁上成型有T型的插槽,矩形嵌件的上端面成型贯穿矩形嵌件的下端面的定位槽,定位槽和插槽相连通。本实用新型结构简单,安装、拆卸非常便利,易于实现自动化装配。

标签:
新能源
广东 - 东莞 来源:中冶有色网 2023-03-18
新能源充电桩用防潮电缆

本实用新型涉及电缆技术领域,具体涉及一种新能源充电桩用防潮电缆,包括软质十字骨架、三个导体线芯单元和一个控制线芯单元,三个导体线芯单元和一个控制线芯单元均布在软质十字骨架的四个角处以形成缆芯,缆芯的外侧绕包有第一防水层,第一防水层与缆芯之间填充有绝缘材料,第一防水层外侧绕包有铠装层,铠装层外侧绕包有第二防水层,第二防水层外侧设有外护套层,外护套层的外表面涂覆有防火涂层;各个导体线芯单元均包括由多根软铜丝绞合而成的铜导体,铜导体的外侧挤包有绝缘护套层。通过设置第一防水层和第二防水层,从而增强了电缆的防潮性能,使电缆适用于环境湿度较大的户外环境。

标签:
新能源
广东 - 东莞 来源:中冶有色网 2023-03-18
用于新能源汽车充电的快速降温电缆

本实用新型公开了一种用于新能源汽车充电的快速降温电缆,涉及电缆技术领域,每个第一弹簧和第二弹簧分别安装有第一夹持板和第二夹持板,第一夹持板和第二夹持板的内部分别设置有第一腔室和第二腔室;第一夹持板和第二夹持板通过若干个第一弹簧和第二弹簧的作用,对电缆进行贴合,适用于各种尺寸的电缆,第一夹持板和第二夹持板内开设的第一腔室和第二腔室内分别设置有冷却液,对电缆的表面进行降温处理;第一通风孔和第二通风孔可以对内部进行散热处理,第一滤网和第二滤网可以对外界的杂质进行过滤,防止通孔处进行堵塞,通过卡槽和卡块的设置可以对第一防护罩和第二防护罩进行固定安装,便于工作人员的安装和拆卸,整个过程简单易操作。

标签:
新能源
广东 - 东莞 来源:中冶有色网 2023-03-18
应用于新能源汽车的动力电池预热装置

本实用新型公开了一种应用于新能源汽车的动力电池预热装置,其中,所述装置可通过电池管理系统开启或关闭,其包括:至少一电池调温板,设置于电池包外侧;所述电池调温板上端面贴合连接有一加热板。本实用新型所提供的装置,使得动力电池在低温下,可经过与电池调温板进行热交换而预热后平稳过渡到工作状态,减小了动力电池在启动前后的瞬间温差,从而降低了启动对动力电池本身造成的冲击,提高了其使用寿命。同时,动力电池经过与电池调温板进行热交换预热后达到动力电池合理工作温度,解决了其低温环境不能工作的问题,且动力电池预热装置可通过电池管理系统(BMS)启停,简单方便。

标签:
新能源
广东 - 东莞 来源:中冶有色网 2023-03-18
高安全性的新能源逆变器

本实用新型公开了一种高安全性的新能源逆变器,包括保护箱,所述保护箱内腔的顶部和底部均固定连接有固定块,所述固定块的数量不少于五个,所述固定块的一侧开设有弹簧槽,所述弹簧槽内腔的一侧固定连接有第一弹簧,保护箱内腔两侧的顶部和底部均开设有滑动开槽,滑动开槽的内腔滑动连接有第一限制板,第一限制板靠近第一弹簧的一侧与第一弹簧固定连接。本实用新型通过固定块、第一弹簧、第一限制板、弹簧管、第二弹簧、连接件、第二限制板、第一保护垫和第二保护垫的配合使用,提高了逆变器的安全性,使得逆变器在移动过程中避免受到硬物的撞击而损坏,逆变器在使用时保证了电网的安全,进而保证了人们的人身安全。

标签:
新能源
广东 - 东莞 来源:中冶有色网 2023-03-18
散热式的防震新能源电池装置

本发明涉及电池技术领域,尤其是指一种散热式的防震新能源电池装置,包括底座,底座上装设有箱体,箱体内从左至右等间隔设置有多个间隔板,相邻间隔板之间形成电池腔;箱体的两侧均设置有固定块,底座上的两侧均设置有滑动支撑板;箱体的底部等间隔设置有多个弹性块,相邻弹性块之间设置有弹性组件;箱体从上至下间隔设置有两组散热组件,每个环形套管分别套设于一个电池腔的外周;散热套管的一端设置有吸风嘴,微型吸风机的吸风口与吸风嘴连通,散热套管的另一端设置有多个入风嘴,入风嘴设置有过滤网。本发明可以减少本发明的震动,稳定性好,起到防震效果;可以提高通风效果以及散热效果,防止灰尘堵塞环形套管而影响散热效果。

标签:
新能源
广东 - 东莞 来源:中冶有色网 2023-03-18
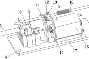
新能源汽车发动机减压装置

本发明公开了一种新能源汽车发动机减压装置,包括发动机本体和发动机缸头,发动机本体内设有曲轴,曲轴上固定有主动正时齿轮,其特征在于:所述主动正时齿轮上啮合有从动正时齿轮,所述从动正时齿轮侧端设有凹槽,凹槽中间固定有圆盘,圆盘侧端阵列有三个盲孔,盲孔内滑动连接有滑块,滑块上固定有挡块,滑块与盲孔之间固定有弹簧A,所述弹簧A为收缩弹簧,通过不同弹力的弹簧A设定滑块和挡块因离心力滑出的距离,当转速超过设定值时滑块因离心力滑出盲孔,将三角形块卡住进行旋转,使气门开始放气,转速降低后弹簧A收回滑块和挡块,三角形块停止旋转,关闭气门。

标签:
新能源
广东 - 东莞 来源:中冶有色网 2023-03-18
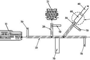
新能源汽车电池托盘气驱自动化夹具及装夹方法

本发明提供一种新能源汽车电池托盘气驱自动化夹具,包括基座,基座的一对侧分别设有单自由度长边装夹单元和双自由度长边装夹单元,基座的另一对侧分别设有单自由度短边装夹单元和双自由度短边装夹单元。与现有技术相比,该夹具采用单自由度长边装夹单元、双自由度长边装夹单元、单自由度短边装夹单元、双自由度短边装夹单元以及可拆卸安装的基座,适用于同一系列尺寸在一定范围内变化的电池托盘产品的CMT焊接机器人加工过程,柔性程度高;各具有移动功能的装夹单元具有更多的位置选择,既能使夹具靠近指定类型的电池托盘产品,又能保证推紧单元和夹紧单元位于夹持边的中心对称位置,整个装夹过程简单迅速,极大提高生产效率与产品质量。

标签:
新能源
广东 - 东莞 来源:中冶有色网 2023-03-18
新能源材料导热散热的汽车大灯

本发明公开一种新能源材料导热散热的汽车大灯,包括散热器,散热器内穿设有液态金属固定座,液态金属固定座的一端设有一扁条状液态金属棒,扁条状液态金属棒内填充满有具有导热作用的液态金属,扁条状液态金属棒的表面安装有LED灯板,LED灯板上设有LED光源。本发明采用的灯头部分即前端导热部分采用新型材质,该新型材质为液态金属或者其他比铝和铜导热更好的材料,使得LED灯板上的热量能更高效往后面的散热器传递,散热器采用多鳍片设计最大限度的增加散热面积,风扇安装在散热器后端,能快速的对散热器的鳍片进行风冷,达到高效散发热量的目的。

标签:
新能源
广东 - 东莞 来源:中冶有色网 2023-03-18
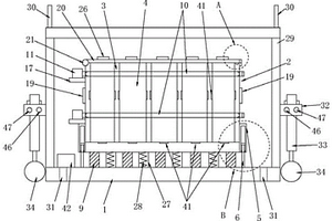
新能源领域的生物质颗粒处理设备

本发明公开了一种新能源领域的生物质颗粒处理设备,包括底板,底板的顶面对称固定有L形支撑架,L形支撑架的顶面固定有箱体,箱体的底面中心部位设有通孔A,箱体的顶面固定有电机,电机的驱动端穿入箱体,电机的驱动端固定连接有筒体,筒体的底部与通孔A滑动连接,筒体内部形成腔体A,筒体上均匀设有多个通孔B,通孔B内固定有过滤网A,箱体的内壁顶面设有环形凹槽,环形凹槽内滑动设有与其相匹配的环形杆,筒体的顶面固定有套筒A,套筒A的顶面与环形杆的底面相固定。本发明能够对生物质颗粒进行除尘,并且除尘效率高、质量好,并且能够将颗粒中的尘土筛分出去,提高了生物质颗粒的使用效率,而且收料速度快,非常的实用、可靠。

标签:
新能源
广东 - 东莞 来源:中冶有色网 2023-03-18
配电网新能源消纳能力确定的双层二阶锥规划方法与系统

本发明提供一种配电网新能源消纳能力确定的双层二阶锥规划方法与系统,根据分布式电源实时最大出力的情况,计算出在调度周期内配电网可消纳分布式电源的最大输出功率,根据配电网可参与调度的有功功率资源和无功功率资源,反映分布式电源出力的不确定性对配电网电压分布和无功潮流的影响机理,协调配电网可参与调度的各种有功和无功功率资源可充分消纳分布式电源,并且基于配电网中上层规划的目标函数和下层规划的目标函数,获取电网安全运行需要满足的约束条件,求解配电网中上层规划决策变量与下层规划决策变量,即计算得到配电网分布式电源消纳能力,并采用下层规划决策变量的求解结果反馈至配电网中上层规划决策变量,最终准确确定配电网分布式电源消纳能力。

标签:
新能源
广东 - 东莞 来源:中冶有色网 2023-03-18
电磁式自动控制新能源多芯线材张紧力的方法及设备

本发明公开了一种电磁式自动控制新能源多芯线材张紧力的方法,其特征在于,其包括以下步骤:(1)设置一电磁式自动控制张紧力放线端,其设置多组电磁式自动控制张紧力放线架,所述电磁式自动控制张紧力放线架设置一电磁自动控制芯线张紧力设备;(2)设置一主动式收线端,该主动式收线端设置一电动收线盘;(3)将各个芯线轴盘安装在所述电磁式自动控制张紧力放线架上并固定,将各股芯线绕过所述电磁式自动控制张紧力放线架后连接到所述主动式收线端;(4)设置所述电磁自动控制芯线张紧力设备的参数;(5)启动所述电动收线盘,各股芯线随着所述电动收线盘的转动被拉动,收卷到所述电动收线盘中。本发明还公开了一种实现该方法的设备。

标签:
新能源
广东 - 东莞 来源:中冶有色网 2023-03-18
新能源电池的一体式侧板结构

本实用新型提供了一种新能源电池的一体式侧板结构,包括本体,所述板体上表面冲压成型有多块安装块,每块所述安装块设置有安装孔,每个所述安装孔内铆压有销钉,所述板体的底面热压有PET膜,所述板体上还开设有多条长圆形孔。与现有技术相对比,本实用新型去掉了连接支架,通过在本体上一体冲压成型有安装块来代替连接支架,由于减少了原来的连接支架,从而可以节省原材料,还可以减去连接支架的加工工艺,从而大大的提高了生产效率,降低了生产成本。

标签:
新能源
广东 - 东莞 来源:中冶有色网 2023-03-18
新能源汽车的轮毂探伤在线检测装置

本实用新型涉及一种新能源汽车的轮毂探伤在线检测装置,包括机架以及安装在机架上的轮毂定位机构和旋转机构,该旋转机构位于轮毂定位机构的下部,用于驱动轮毂定位机构旋转;探伤仪的探测板分布在轮毂定位机构的上方和周边,用于对轮毂定位机构上的轮毂进行探测;所述的轮毂定位机构包括旋转板、左夹紧板和右夹紧板,在所述的旋转板的左侧滑动的安装有左夹紧板,右侧滑动的安装有右夹紧板,所述的左夹紧板和右夹紧板通过动力机构驱动。本实用新型的优点是:将探伤仪进行固定,而对轮毂进行驱动,且探伤仪的探测板分布在轮毂的上面和周边,实现了全方位的检测。通过设置轮毂定位机构,调整左夹紧板和右夹紧板的距离,可以实现各种型号的轮毂固定。

标签:
新能源
广东 - 东莞 来源:中冶有色网 2023-03-18
新能源汽车智能锂电池充放电装置

本实用新型公开了一种新能源汽车智能锂电池充放电装置,包括壳体、第一空仓、第二空仓和散热空腔,所述壳体的内部均匀设置有第一空仓、第二空仓和散热空腔,第一空仓、第二空仓和散热空腔之间的连接处皆设置有吸热板,并且散热空腔内侧壁的吸热板上均匀固定有散热翅片,同时壳体一端的中间通过螺栓安装有驱动电机,驱动电机的输出轴延伸至散热空腔的内部并固定连接有U型架,所述U型架的外侧壁上均匀安装有清洁刷。本实用新型驱动电机带动U型架外侧壁上均匀安装的清洁刷对散热翅片进行有效的清洁,保证散热效果,另外U型架内侧的顶端安装有扇叶,在U型架转动的同时带动扇叶转动产生风力,将灰尘有效的吹出。

标签:
新能源
广东 - 东莞 来源:中冶有色网 2023-03-18
用于新能源电池铝壳的连续拉深一体印花模具

本实用新型公开了铝壳制造技术领域的一种用于新能源电池铝壳的连续拉深一体印花模具,包括保护套和上模板,所述上模板位于保护套的上方,所述保护套的顶部设有下模板,所述下模板的顶部设有模座,所述模座的顶部两侧设有凹模,所述模座的内腔两侧壁均开有调节杆位,所述模座的内腔两侧壁均滑动设有滑动块,所述滑动块的顶部安装有印花刀架,所述印花刀架的外壁安装有印花刀,所述保护套的中间位置安装有铝壳,所述上模板的底部两侧均设有限位凸模,所述上模板中间位置的两侧设有调节杆,利用调节杆作斜切进行一次冲压成型,运用到一体成型拉深量产中,有效降低了制造成本,减少人员设备投入,大幅提高产能。

标签:
新能源
广东 - 东莞 来源:中冶有色网 2023-03-18
上一页 16 17 18 19 20 ... 30 下一页
共30页    到第

中冶有色为您提供最新的广东东莞有色金属新能源材料技术理论与应用信息,涵盖发明专利、权利要求、说明书、技术领域、背景技术、实用新型内容及具体实施方式等有色技术内容。打造最具专业性的有色金属技术理论与应用平台!

全国热门有色金属设备推荐
展开更多 +
全国热门有色金属技术推荐
展开更多 +

 

江西省隆恩特环保设备有限公司
宣传

报名参会
更多+

报告下载

有色专家
更多+

湖南有色金属研究院
教授级高工/原总工程师
中国瑞林工程技术有限公司
中国工程院院士
矿冶科技集团有限公司工程公司
副总经理
赣州江钨钨合金有限公司
工程师
任灵宝金源矿业股份有限公司
技术发展部经理
赤泥综合利用研究报告2025
推广

热门技术
更多+

推荐企业
更多+

福建省金龙稀土股份有限公司
宣传

发布

在线客服

公众号

电话

顶部
咨询电话:
010-88793500-807