青岛垚鑫智能科技有限公司
宣传

位置:中冶有色 >

有色技术频道 >

> 固/危废处置技术

分类:
全部
矿山技术
冶金技术
材料制备及加工技术
环境保护技术
分析检测技术
 
全部
废水处理技术
大气治理技术
固/危废处置技术
土壤修复技术
地区:
全部
北京
天津
上海
重庆
河北
山西
辽宁
吉林
黑龙江
江苏
浙江
安徽
福建
江西
山东
河南
湖北
湖南
广东
海南
四川
贵州
云南
陕西
甘肃
青海
内蒙
广西
西藏
宁夏
新疆
其他
其他
展开
 
全部
武汉
黄石
十堰
宜昌
襄阳
鄂州
荆门
孝感
荆州
黄冈
咸宁
随州
恩施土家族苗族自治州
仙桃
潜江
天门

湖北有色金属固/危废处置技术理论与应用

免费发布技术信息>>
碱性固废洗涤除臭塔
碱性固废洗涤除臭塔 1052     
 0

本实用新型公布了一种碱性固废洗涤除臭塔,其结构是:设有塔体和与之相连的出气管(1)、进气管(6),塔体内腔上部装有水喷淋管(12);塔体内腔中部设置填料区(3),填料区内填充颗粒状碱性固废填料(2),填料区上部和下部分别设有可开启式进料孔(11)和出料孔(4);塔体内腔下部设有碱液区(5),该碱液区底部装有排空管(7);塔体底部由循环回流管(8)连接循环泵(9),该泵再经管道(10)连接水喷淋管(12)。本实用新型的优点是:采用碱性工业废料为填料,利用水喷淋其表面形成碱液,不仅能大幅降低化学药剂费用,对酸性臭气除臭彻底,二次污染少,实现以废治废的目的,而且对填料碱性利用率高。

标签:
固废
湖北 - 武汉 来源:中冶有色网 2023-03-19
钢材固废垃圾回收再利用方法

本发明涉及一种钢材固废垃圾回收再利用方法,主要包括以下步骤,原料分类、输送作业以及除锈作业等多种工序,使用到的钢材固废除锈设备包括底板、送料装置、除锈装置和出料装置,本发明可以解决现有的废旧钢材除锈时存在的以下难题,a,传统的废旧钢材除锈时,通常是人工使用除锈工具对废旧钢材表面的铁锈进行去除,由于铁锈的硬度较大,经常发生除锈人员手部划伤的现象,并且人工除锈的劳动强度较大,效率较低;b,现有的废旧钢材除锈设备不能对废旧钢材进行全面的除锈作业,经常发生铁锈残留的现象,并且不能对废旧钢材进行轻微的矫正作业,降低了废旧钢材再利用的效果。

标签:
固废
湖北 - 襄阳 来源:中冶有色网 2023-03-19
减少固废产生的电催化氧化废水处理装置

本实用新型公开了一种减少固废产生的电催化氧化废水处理装置,包括电催化氧化池、芬顿反应池、混凝沉淀池以及铁泥溶解池;电催化氧化池内设置含多个电极板,相邻的电极板之间设置有折板,折板和电极板之间形成湾流通道,芬顿反应池其进水端连接电催化氧化池;混凝沉淀池包括底部连通的混凝区和沉淀区,芬顿反应池与混凝沉淀池的混凝区连通,混凝区上方设有碱液投加口,混凝沉淀池的沉淀区底部与铁泥溶解池连通;所述铁泥溶解池将过滤液回流至电催化氧化池。采用的推流式运行方式能使废水充分有效的与催化剂接触,从而在最大程度上发挥催化剂的作用,增强了废水的处理效果;实现了Fe3+循环利用,克服了常规芬顿法处理过程中产生大量固废。

标签:
固废
湖北 - 黄石 来源:中冶有色网 2023-03-19
由电石渣制备碳酸钙碳化晶核并进行固废固碳的方法

本发明提供了一种由电石渣制备碳酸钙碳化晶核并进行固废固碳的方法,包括如下步骤:步骤1、将按重量份记的10‑20份干重电石渣,加入100‑240份水混合,得到浆料A;步骤2、浆料A和300‑400份氧化锆研磨体混合置于湿磨机中研磨2‑3h;步骤3、湿磨的过程中向立式搅拌磨中通入CO2进行碳化反应,并进行湿磨处理,得到浆体B;步骤4、将1‑5份浆体B混合100份含有钙、镁基固废的浆体C中,通入CO2进行碳化反应,直至浆体pH稳定时,得到浆体D。本发明利用湿法研磨工艺将碳酸钙颗粒始终保持至纳米粒径,制备工艺简单、操作方便以及颗粒范围可控,成本低廉,碳转化效率高,适合工业化大规模生产。

标签:
固废
湖北 - 武汉 来源:中冶有色网 2023-03-19
自动上料的固废压缩装置

本发明涉及一种自动上料的固废压缩装置,包括上料机构、压缩机构和出料机构,所述出料机构固定设置在所述压缩机构的底端,所述上料机构固定设置在所述压缩机构的外侧;所述压缩机构的顶端设有入料斗,所述上料机构倾斜设置,所述上料机构的出料端与所述入料斗对接。将上料机构设置在压缩机构的入料斗处,物料自动上料后直接进入压缩机构内进行压缩,然后通过出料机构排出,实现上料、压缩、出料流水线一体化,简化了固废处理流程,省时省力。

标签:
固废
湖北 - 武汉 来源:中冶有色网 2023-03-19
利用化粪池固废物发酵生产复合微生物有机肥的方法

本发明提供一种利用化粪池固废物发酵生产复合微生物有机肥的方法,包括以下步骤:将化粪池固废物粉碎脱水,并将枯枝落叶和餐厨垃圾废弃有机物粉碎;将原料混合后送入高温发酵装置,加入高温发酵菌种后搅拌;将高温发酵装置的发酵产物在降温补料装置进行降温,同时加入矿粉和复合生物菌剂;将降温补料装置降温后的物料送入到中温发酵装置搅拌;通过挤压后进行造粒,得到颗粒状的所述复合微生物有机肥。本发明有效的解决传统有机肥制造过程中若温度过低不但发酵时间长而且没能把有害病菌和蛔虫卵杀死,而温度过高虽然缩短了腐烂熟化过程但又同时消灭了许多有益微生物和降低了微生物的活性这两对无法解决的矛盾问题。

标签:
固废
湖北 - 武汉 来源:中冶有色网 2023-03-19
固废处理用的降尘装置

本实用新型属于降尘装置技术领域,尤其为一种固废处理用的降尘装置,包括箱体、竖杆、降尘装置喷头、降尘装置和清理装置,竖杆一端焊接在箱体上,降尘装置喷头设置在箱体一侧,清理装置设置在箱体一侧,降尘装置包括固定块一、弹簧、转盘、齿牙、齿轮、微型电动机和降尘机构,固定块一一端固定安装在降尘装置喷头上,弹簧两端分别固定安装在降尘装置喷头和转盘上,转盘通过轴承转动连接在箱体一侧,齿牙固定安装在转盘上,齿牙和齿轮相啮合,可以有效的对固废进行全方位的降尘处理,不需要人为的对降尘装置喷头进行调整,同时也可以对降尘结束后的降尘装置进行清理,避免时间长,使降尘装置内的部件发生损坏的问题。

标签:
固废
湖北 - 黄冈 来源:中冶有色网 2023-03-19
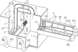
固废焚烧烟气除尘器
固废焚烧烟气除尘器 975     
 0

本实用新型公开了烟气除尘技术领域的一种固废焚烧烟气除尘器,所述静电除尘装置左侧设有烟气进口,所述烟气进口下方设有控制装置,所述静电除尘装置右侧设有烟气输送管,所述烟气输送管左端安装有第一气体检测装置,所述第一气体检测装置右侧设有气体回收装置,所述气体回收装置右侧安装有电动阀门,所述烟气输送管右端连接有废气处理装置,所述废气处理装置右侧设有排放管道,所述排放管道上安装有第二气体检测装置,解决了目前在固废焚烧时产生的烟气里含有大量烟尘、颗粒等有害物质,直接排放会造成环境污染,危害人体健康,而现有的一些除尘方式存在效率低、处理不彻底的问题。

标签:
固废
湖北 - 黄石 来源:中冶有色网 2023-03-19
尾矿固废综合处理利用方法

一种尾矿固废综合处理利用方法,包括称取以下组分:固废尾矿92~98%,P型胶凝剂2~8%,上述组分的质量百分比之和为100%;加水拌合成混合料,拌和后的控制含水率为5%~10%,拌合时间控制在2~5min;上面称好的组分加水拌合时,从加水拌合开始到成型结束,混合料的初凝时间控制在3.0~7.0h;将加水拌合成的混合料击实或碾压做成预设规格试块或路面基层,湿水养护5~15d,养护温度控制应≥5℃;本申请的方法具有能够将多种尾矿处理变成可以用于道路路面基层的筑路材料、而且尾矿处理量大,不需要额外添加集料,获得的材料能够用于市政工程、水利防护工程的构造物施工的优点。

标签:
固废
湖北 - 武汉 来源:中冶有色网 2023-03-19
基于水泥窑协同处置含氯固废的氯组分干法回收工艺

本发明公开了一种基于水泥窑协同处置含氯固废的氯组分干法回收工艺,解决了传统含氯组分采用湿法处理存在的流程长、能耗大、设备投资和运行成本高、对环境污染的问题。技术方案包括含氯组分的固废进入水泥生产线,在回转窑内高温环境下,含氯组分气化进入烟气中,从回转窑的窑头烟气罩中引出部分烟气,引出的所述部分烟气经干法除尘后送入冷却塔内与氯化钾粉体物料直接换热降温,烟气中的含氯组分冷凝下来进入氯化钾粉体物料中,换热后的烟气由冷却塔顶部排出,换热后的氯化钾粉体物料由冷却塔底排出。本发明工艺简单、投资成本和运行成本低、对环境友好、节能降耗、可有效回收氯化钾产品。

标签:
固废
湖北 - 武汉 来源:中冶有色网 2023-03-19
智能化建筑固废处理装置

本实用新型公开了一种智能化建筑固废处理装置,包括支架部分,还包括:储物传输部分,设置于所述支架部分上,包括四个存放不同粒径大小废料的储物箱,用于废料的运输;动力传输系统,位于所述储物传输部分下方并设置于所述支架部分上,用于将储物传输部分送来的废料输送至出料口;液压夯击系统,位于所述支架部分一侧并设置于所述支架部分上,用于通过液压夯击锤上下移动将废料压实。本实用新型结构简单,成本低、实用性强,能够自动完成小批量的建筑固废回填工作。

标签:
固废
湖北 - 武汉 来源:中冶有色网 2023-03-19
有机固废裂解处理的分离装置

本发明公开了一种有机固废裂解处理的分离装置,包括底部基座、螺旋搅拌杆、横向丝杆、排气管、转动环和精馏装置,所述底部基座上方固定安装有裂解炉,且底部基座上表面右侧固定安装有驱动电机,所述螺旋搅拌杆轴承安装在裂解炉内部,且螺旋搅拌杆右侧顶端固定安装有从动小齿轮,所述裂解炉内部下方左右两侧开设有安装滑槽,所述横向丝杆轴承安装在裂解炉内部。该有机固废裂解处理的分离装置,采用新型的结构设计,使得在内部原料进行反应时利用螺旋搅拌杆不断的对其进行搅拌,防止出现堆积而造成气体无法及时排出的情况,并且用于对气体进行干燥的干燥装置安装在排气管的外侧,在达到吸附上限时可以方便取下进行更换。

标签:
固废
湖北 - 武汉 来源:中冶有色网 2023-03-19
以“磷固废”为原料制备的轻质砌块及其制备方法

本发明涉及一种以“磷固废”为原料制备的轻质砌块及其方法解决了现有轻质砌块制备存在的工艺复杂、能耗高、生产周期长、生产成本低、利废率低的问题。技术方案中以磷尾矿55-65份、电石渣10-15份、硅铝质活性矿物掺合料10-20份、磷石膏2-3份、水泥6-8份、外加剂3-5份为原料经破碎、湿式球磨、搅拌成型,然后发气、修坯、蒸压得到轻质砌块。本发明施工简单,利废率高,能有效激发磷尾矿潜在活性,无需对原料进行预烘干,节能降耗,对环境友好、生产成本低、原料易得、成本低、性能优异、利废率高。

标签:
固废
湖北 - 武汉 来源:中冶有色网 2023-03-19
考虑植物根系作用的固废堆填场土质覆盖层的设计方法

本发明公开了一种考虑植物根系作用的固废堆填场土质覆盖层的设计方法,涉及固废堆填场土质覆盖层设计领域,旨在解决现有技术中未考虑含水率非线性空间变化和植物根系作用等对气体运移过程的影响的问题,采用的技术方案是,包括以下步骤:堆填场覆盖层数学模型的构建;计算覆盖层的水气运移分布情况;评价堆填场覆盖层的服役性能;通过综合考虑了植物根系类型以及随空间变化的含水率分布等因素,有效地降低了假设覆盖层含水率恒定和忽略植物作用等引起的计算气体运移的误差,更周全地考虑了现场覆盖层所处的实际环境,提高了计算准确性。

标签:
固废
湖北 - 武汉 来源:中冶有色网 2023-03-19
磷石膏固废物制取新型高效污泥固化剂及制备方法

本发明属于磷石膏固废物再生利用技术领域,具体的说是一种磷石膏固废物制取新型高效污泥固化剂及制备方法,污泥固化剂由以下质量百分比的原料组成:磷石膏65.1%、生石灰14.2%、普通硅酸盐水泥(P.O42.5)14.2%、粉煤灰2%、吸附剂3%、矿化剂1%、速凝剂0.07%、减水剂0.07%、三乙醇胺0.36%;本发明的生产难度低,生产成本低,同时,制备得到的固化剂对污泥的固化效果好。

标签:
固废
湖北 - 武汉 来源:中冶有色网 2023-03-19
高强度镍渣基固废胶凝材料及制备方法

本发明公开了一种高强度镍渣基固废胶凝材料及制备方法,属于建筑材料领域。本发明的胶凝材料利用高炉镍渣与磷石膏制备得到,按质量份计,其原料包括:钢渣100~200份,高炉镍渣400~500份,磷石膏300~400份,水泥熟料100份,水300~320份,减水剂1~3份。本发明应用于道路工程中的胶凝材料中,能使路基材料的初始流动度达到190mm以上,水泥试块1天抗压强度达到25Mpa以上,28天的抗压强度达到45Mpa以上,本发明具有较高的工作和耐久性能。本发明操作简单,固废利用率高,节能环保,经济性好。

标签:
固废
湖北 - 武汉 来源:中冶有色网 2023-03-19
工业固废的焚烧处理方法

本发明涉及固废处理技术领域,尤其涉及一种工业固废的焚烧处理方法。包括步骤:收集、预处理、热解式焚烧炉焚烧处理、烟气二次燃烧、烟气余热利用、烟气净化、烟囱排放,其中,烟气净化的过程为经余热锅炉降温后的烟气通入急冷塔进一步降低烟气的温度,然后在烟道管道中喷入消石灰和活性炭,随后烟气依次进入旋风除尘器、布袋除尘器,随后烟气再进入尾气吸收塔,尾气吸收塔喷铝粉吸收尾气中的氯化氢气体,反应后的物料进入压滤机进行压滤,压滤后物料进入氯化铝循环塔循环用于尾气吸收塔,最后烟气经排风机引进烟囱高空排入大气。采用烟气净化系统除去烟气中HCl、SO2、NOX、CO、和二噁英有害气体,最终达标排放。

标签:
固废
湖北 - 武汉 来源:中冶有色网 2023-03-19
含氯固废水泥窑协同处置的氯化钾回收系统

本实用新型公开了一种含氯固废水泥窑协同处置的氯化钾回收系统,解决了传统含氯组分固废采用湿法处理存在的流程长、能耗大、设备投资和运行成本高、对环境污染的问题。技术方案包括回转窑,所述回转窑的窑头烟气罩设有旁路引风口,所述旁路引风口经干法除尘装置与冷却塔中部的烟气进口连接,所述冷却塔设有粉体喷入口;所述干法除尘装置包括依次连接的控温燃烧室及高温除尘器。实用新型工艺简单、投资成本和运行成本低、对环境友好、节能降耗、可有效回收氯化钾产品。

标签:
固废
湖北 - 武汉 来源:中冶有色网 2023-03-19
用于建筑固废的振动筛

本实用新型涉及建筑固废处理技术领域,公开了用于建筑固废的振动筛,包括侧板,所述侧板为两块,两块所述侧板之间固定安装有四根横梁,两块所述侧板通过四根所述横梁固定连接,且两块所述侧板之间设置有第一网框、第二网框和第三网框,所述第二网框位于所述第一网框的正上方,所述第三网框位于所述第二网框的正上方,所述第一网框的内部安装有第一筛网,所述第二网框的内部安装有第二筛网,所述第三网框的内部安装有第三筛网,所述第一网框、所述第二网框和所述第三网框之间均固定安装有四根连杆,所述第一网框、所述第二网框和所述第三网框之间均通过所述连杆固定连接。本实用新型通过设置一系列的结构使得本装置具有筛分速度快效果好的特点。

标签:
固废
湖北 - 荆州 来源:中冶有色网 2023-03-19
全固废纳米水化硅酸钙凝胶早强剂及其制备方法和应用

本发明公开了一种全固废纳米水化硅酸钙凝胶早强剂及其制备方法和应用,该全固废纳米水化硅酸钙凝胶早强剂利用电石渣、磷渣和锂渣反应,生成水化硅酸钙(C‑S‑H)及水化硅铝酸钙(C‑A‑S‑H)凝胶,然后,在湿磨条件下,C‑S‑H凝胶和C‑A‑S‑H凝胶的粒度可降低到纳米尺寸,能够在水泥水化过程中提供良好的填充效应和晶核效应,特别是C‑A‑S‑H晶核,可诱导水化产物中C‑A‑S‑H的形成,具有更好的力学性能及抗腐蚀性能。该晶核早强剂可显著加快水泥的水化进程,提高水化产物生成量,使水泥净浆的凝结时间缩短45%以上,同时提高水泥砂浆12h抗压强度230%以上。

标签:
固废
湖北 - 武汉 来源:中冶有色网 2023-03-19
大宗固废基地聚物保温混凝土及其制备方法

本发明提供一种大宗固废基地聚物保温混凝土,由以下质量份的原料组成:再生粗集料100份,粉煤灰10~45份,矿渣粉10~45份,氢氧化钠2~10份,硅酸钠10~20份,砂子0~130份,漂珠0~30份,玻化微珠10~15份,硅灰0~6份,减水剂0.5~0.8份,水15~25份;其中,按质量份计,所述砂子由天然砂0~50份、再生砂0~35份和铁尾矿砂0~45份组成。本发明还提供了上述大宗固废基地聚物保温混凝土的制备方法。本发明提供的制备方法提高了保温混凝土的性价比,有效提高了资源的循环利用率,具有较大的经济效益。

标签:
固废
湖北 - 武汉 来源:中冶有色网 2023-03-19
固废基生物炭材料及其制备方法和作为改善污泥脱水性能的添加材料应用

本发明公开了一种固废基生物炭材料及其制备方法和作为改善污泥脱水性能的添加材料应用。将赤泥粉末与秸秆粉末球磨混合后,进行热解处理,即得固废基生物炭材料。该固废基生物炭材料具有多孔结构,且表面粗糙,由不规则颗粒状结构组成,其含铁量高,孔隙内部和表面负载有丰富的活性Fe3O4,能够与双氧水产生双重芬顿反应,此外,生物质炭材料包含大量极性基团,亲水性较好。将其作为改善污泥脱水性能的添加材料应用,可以有效改善污泥的脱水性能。

标签:
固废
湖北 - 武汉 来源:中冶有色网 2023-03-19
移动式固废再生搅拌装置

本实用新型涉及固废回收的技术领域,特别是涉及一种移动式固废再生搅拌装置,其能够便于移动,并且使装置能够在固定和移动的两种状态下进行快速转换,便于在各个工作场所进行搅拌作业,降低装置的使用局限性;包括搅拌筒、多组支柱、多组万向轮、环板、多组螺管、多组螺杆、多组限位板、多组垫块、多组第一齿轮、限位箍、外齿环、冠齿齿环、多组第一电机、多组第二齿轮、搅拌组件和碾压组件,搅拌筒上端面连通设有进料口,搅拌筒下端连通设有出料管,并且出料管上设有控制阀,搅拌组件安装在搅拌筒上,碾压组件安装在搅拌组件上,多组支柱均匀分布固定安装在搅拌筒下部,多组万向轮分别转动安装在多组支柱下端,环板固定套装在搅拌筒上。

标签:
固废
湖北 - 武汉 来源:中冶有色网 2023-03-19
固废垃圾填埋池
固废垃圾填埋池 1014     
 0

本实用新型公开了一种固废垃圾填埋池,属于固废垃圾填埋领域,该填埋池包括:池体和若干密封分隔墙;其中,所述若干密封分隔墙设置在所述池体内,将所述池体内分割为若干互不连通的填埋区。该填埋池通过在池体内设置若干密封分隔墙,将池体内分成若干互不连通的填埋区,可以分区对垃圾进行填埋,这样在未填埋垃圾的非作业区就不会因雨水的混入增加垃圾渗滤液,减少了渗滤液处理站处理量。未填埋垃圾的非作业区的雨水就不会转化为垃圾渗滤液,而是直接当作雨水导入截洪沟或地下水导排系统内外排。

标签:
固废
湖北 - 宜昌 来源:中冶有色网 2023-03-19
尾矿充填全固废胶凝材料及其制备方法

本发明涉及充填材料技术领域,提出了一种尾矿充填全固废胶凝材料,按照重量份包括以下组分:尾矿渣22~31份、钢渣45~50份、氟化钙渣3~5份、石膏18~22份、煅烧粘土7~9份、聚羧酸高效减水剂0.2~0.5份、激活剂4~6份,还提出了一种尾矿充填全固废胶凝材料的制备方法。通过上述技术方案,解决了现有技术中的沉缩率较高,抗压强度较低的问题。

标签:
固废
湖北 - 黄石 来源:中冶有色网 2023-03-19
使用铁剂的固废/危废冶炼配方及其冶炼方法

本发明公开了一种使用铁剂的固废/危废冶炼配方,按重量计,包括50~100份用于制砖的第一配方和10~50份用于冶炼的第二配方,第一配方包括40~80份固废/危废、5~10份铁粉和5~10份鹅卵石;第二配方包括2~10份石灰石、2~10份四氧化三铁、3~6份高岭石、2~5份伊利石、3~25份冰铜渣和2~15份焦炭。本发明还提供了该配方的冶炼方法。本发明的有益效果:1)本发明能够减少铁铜凝结物的产生,从而不会造成冶炼炉被阻塞,同时得到的冰铜中铜的含量高,杂质少;2)本发明制砖后只经过自然养护得到成品砖即进行冶炼,在自然养护过程,铁充分与空气反应生成更多的高价铁,能够提高铜的提取率;3)加入的冰铜渣中还含有少量的金属铜及铁等其他杂质,能够对其中的金属铜进行回收利用。

标签:
固废
湖北 - 黄石 来源:中冶有色网 2023-03-19
磷石膏固废物再生节能绿色环保材料凝结剂及其制备方法

本发明属于磷石膏固废物再生利用技术领域,具体的说是一种磷石膏固废物再生节能绿色环保材料凝结剂及其制备方法,该制备方法采用的粉料冷却机包括筒形的本体;本体下方连通有下料管,下料管一侧通过进风管连通有鼓风机;本体上部两侧设有进料斗,进料斗通过下料孔与本体内部连通;本体顶部设有出风管,出风管与回转炉的进气管连通;本发明通过出风管与回转炉的进气管连通,回转炉内由于热对流作用不断从进气管抽取本体内的空气,进而增加本体内常温空气的流通效率,从而降低鼓风机的鼓风量,节约鼓风机的耗电,增加粉料冷却机的冷却效率。

标签:
固废
湖北 - 潜江 来源:中冶有色网 2023-03-19
基于磷石膏的多种固废免烧陶粒及其制备方法

本发明属于建筑材料领域,公开了一种基于磷石膏的多种固废免烧陶粒及其制备方法,本发明免烧陶粒包括以下质量百分比:磷石膏35‑70%、粉煤灰10‑30%、磷尾矿5‑20%、水泥5‑15%,水和外加剂分别占磷石膏、粉煤灰、磷尾矿、水泥混合物总量的25%‑33%、0%‑3%;先将磷石膏、粉煤灰、磷尾矿、水泥、外加剂水溶液搅拌均匀形成混合料,然后水进行造粒,最后进行陈化、养护即得免烧陶粒。本发明工艺方法较为简单、成本低,大量利用多种固废材料,制成的陶粒可广泛应用于陶粒混凝土、水泥混凝土砌块、隔音墙、公路路基材料等行业。

标签:
固废
湖北 - 武汉 来源:中冶有色网 2023-03-19
城乡固废物环保型节能复合材料及其制备方法

本发明属于污泥固废物的处理技术领域,具体的说是一种城乡固废物环保型节能复合材料及其制备方法;包括去杂混合装置;所述去杂混合装置包括悬浮囊、固定支座、固定套环、转动环和转动扇叶;所述悬浮囊的底端设置有固定支架,且悬浮囊的宽度小于污泥池的宽度;所述悬浮囊内开设有挤压腔,且挤压腔内填充有混合料剂;所述固定支座内均匀设置有多个固定套环,且固定套环内部开设有转动槽;所述转动环通过转动块转动设置在转动槽内,且转动环的内壁上安装有转动扇叶;转动扇叶可以将污泥中混合的轻浮类塑料或片状类杂物进行清除作业;同时转动的转动扇叶可以对污泥池中投放的原料进行再次搅拌混合,有效的提高了污泥池中原料的混合均匀效果。

标签:
固废
湖北 - 武汉 来源:中冶有色网 2023-03-19
污泥固废物协同工业矿渣制备节能防火隔音墙材的方法

本发明公开了污泥固废物协同工业矿渣制备节能防火隔音墙材的方法,制备方法包括如下步骤:材料选取:污泥固废物10‑15份;铁矿矿渣20‑25份;碳酸钠4‑7份;粉煤灰25‑50份;硅源材料4‑16份;有机质8‑12份;改性剂0.1‑0.25份;稳泡剂0.1‑0.25份;珍珠岩10‑15份。通过此方法制成的墙体,内部含有碳酸钠养护后所形成的气孔,以及珍珠岩内部的裂隙,声音传递后经过内部裂缝能够使声波通过材料细小的孔转化成热能,从而达到吸音的效果,且墙体整体采用不可燃物质制成,防火性能较好。

标签:
固废
湖北 - 武汉 来源:中冶有色网 2023-03-19
上一页 93 94 95 96 97 ... 108 下一页
共108页    到第

中冶有色为您提供最新的湖北有色金属固/危废处置技术理论与应用信息,涵盖发明专利、权利要求、说明书、技术领域、背景技术、实用新型内容及具体实施方式等有色技术内容。打造最具专业性的有色金属技术理论与应用平台!

全国热门有色金属设备推荐
展开更多 +
全国热门有色金属技术推荐
展开更多 +

 

江西省隆恩特环保设备有限公司
宣传

报名参会
更多+

报告下载

有色专家
更多+

矿冶科技集团江苏北矿金属循环利用科技有限公司
书记 / 总经理
北京科技大学
主任/教授
矿冶科技集团有限公司
所长/研究员级高工
昆明理工大学
教授
广西大学
处长/教授
赤泥综合利用研究报告2025
推广

热门技术
更多+

推荐企业
更多+

福建省金龙稀土股份有限公司
宣传

发布

在线客服

公众号

电话

顶部
咨询电话:
010-88793500-807