青岛垚鑫智能科技有限公司
宣传

位置:北方有色 >

有色技术频道 >

> 固/危废处置技术

分类:
全部
矿山技术
冶金技术
材料制备及加工技术
环境保护技术
分析检测技术
 
全部
废水处理技术
大气治理技术
固/危废处置技术
土壤修复技术
地区:
全部
北京
天津
上海
重庆
河北
山西
辽宁
吉林
黑龙江
江苏
浙江
安徽
福建
江西
山东
河南
湖北
湖南
广东
海南
四川
贵州
云南
陕西
甘肃
青海
内蒙
广西
西藏
宁夏
新疆
其他
其他
展开
 
全部
成都
自贡
攀枝花
泸州
德阳
绵阳
广元
遂宁
内江
乐山
南充
眉山
宜宾
广安
达州
雅安
巴中
资阳
阿坝藏族羌族自治州
甘孜藏族自治州
凉山彝族自治州

四川有色金属固/危废处置技术理论与应用

免费发布技术信息>>
利用石材切割固废料替代粉煤灰使用的设备和方法

本发明涉及石材处理技术领域,具体的说是利用石材切割固废料替代粉煤灰使用的设备和方法,其中利用石材切割固废料替代粉煤灰使用的设备,包括设备安装板,所述设备安装板下端分别四角处支撑柱,所述设备安装板上端开设有废液储存槽,本发明通过预处理组件可以实现分别针对两种对应的废料处理,通过预处理组件内部结构从而可以避免人员进行多次的转移材料至不同的加工设备中,使得本发明集成性较高并且对材料转移进行优化处理,从而降人工操作,并且还可分别针对两种不同废料进行不同方式的处理,和现有技术相比本发明使用时更为简单且功能性强,还有效减少整体加工时间。

标签:
固废
四川 - 泸州 来源:北方有色网 2023-03-19
工业固废装配式预制构件成型装置

本实用新型公开了一种工业固废装配式预制构件成型装置,属于装配式预制构件成型装置领域,用于解决现有的工业固废制备预制构件通过模具生产,不能实现连续不间断生产的问题。本实用新型包括下输送带,下输送带的上方设置有上输送带,上输送带与下输送带之间并排设置有左输送带和右输送带,下输送带、上输送带、左输送带和右输送带围合形成型腔,型腔内设置有抽芯装置,左输送带和右输送带的成型面设置为相互配合的阴榫模和阳榫模,左输送带及右输送带的上下两端均分别与上输送带的下表面和下输送带的上表面契合,上输送带及下输送带外表面的左右两侧还设置有密封胶条,密封胶条的外侧壁分别与左输送带和右输送带紧密挤合。

标签:
固废
四川 - 德阳 来源:北方有色网 2023-03-19
固废炉渣高效预处理装置

本实用新型公开了一种固废炉渣高效预处理装置,包括第一箱体,所述第一箱体顶部的四角均固定连接有支撑柱,所述支撑柱的顶部固定连接有第二箱体,所述第二箱体顶部的中心处固定连接有第一电机。本实用新型通过设置第一箱体、电磁阀、搅拌板、转轴、第一电机、第二箱体、电热板、碾磨辊、网孔板、固定板、限位杆、滤网、框体、振动电机、横板、弹簧、竖杆、连接壳、螺纹套、转杆、第二电机、控制器、支撑柱、连通管、限位槽和箱门的配合使用,解决了现有的固废炉渣预处理装置在对其进行处理时,通常处理的方式较为单一,使得对其处理的效果较差,导致处理的效率较低,容易给使用者的使用造成一定不便的问题。

标签:
固废
四川 - 成都 来源:北方有色网 2023-03-19
基于升降气固分离装置的固废物及生活垃圾管道运输中转站

本实用新型涉及基于升降气固分离装置的固废物及生活垃圾管道运输中转站,包括垃圾转运车、置于地坑内的升降平台、固定于升降平台上的气固分离装置、置于机架上并与气固分离装置的进口管和出口管可实现自动对接的智能对接装置及能够承载垃圾转运车的移动桥,智能对接装置位于地坑内且处于气固分离装置进口管和出口管的开口一侧,移动桥设于升降平台与地面的交接处并可穿过升降平台。本实用新型的优点在于:解决了固废物及生活垃圾在气力输送过程中的气固完全分离、地埋管道无爬坡及垃圾倒运、压缩回收等问题,实现了收集管道与分离压缩垃圾箱高智能、全自动对接,做到了完全密封、无泄漏和零污染运行,而且气固分离装置网孔发生堵塞后可自动清理。

标签:
固废
四川 - 成都 来源:北方有色网 2023-03-19
固废物及生活垃圾管道运输锤切式破碎装置

本实用新型属于垃圾处理设备技术领域,公开了一种固废物及生活垃圾管道运输锤切式破碎装置,包括机体,机体上设置有进料仓,所述进料仓的下端连通有破碎腔,破碎腔内设有转轴,转轴上安装有锤切破碎机构,锤切破碎机构包括锤头、捻轮和多个相互间隔设置在转轴上的安装盘,相邻的两安装盘之间形成用于安装锤头和捻轮的安装空间,每一安装空间内安装有至少一个用于对混合垃圾进行碾压、剪切破碎的捻轮和至少一个对混合垃圾中的硬质垃圾进行锤切破碎的锤头。本实用新型具有结构合理,使用操作方便,能对各种柔性和硬质垃圾进行综合破碎,并能对破碎后的垃圾中的铁件进行初步筛选,提高了破碎效率,减小了破碎动耗,适用于气力回收垃圾系统。

标签:
固废
四川 - 成都 来源:北方有色网 2023-03-19
固废建材再利用快速加工装置

本实用新型涉及固废建材再利用技术领域,特别是一种固废建材再利用快速加工装置,包括装置箱,所述装置箱内部上方的两侧均设置有通过液压缸进行往复运动的挤压板,所述装置箱内部的中端设置有通过电机进行转动的两个粉碎筒,所述装置箱内部的下方设置有倾斜放置的筛网板,所述装置箱外表面两侧的下方设置有可上下运动支撑腿。本实用新型的优点在于:通过在装置箱内部的上方设置挤压板,挤压板通过液压缸带动进行运动,且在挤压板的下方设置有通过电机带动进行转动的粉碎筒,挤压板的外表面设置有顶针和通槽,使用时,两个挤压板的顶针和通槽的位置相对应,便于对废料进行破碎,粉碎筒的设置,可以将废料粉碎成粉末,方便进行后续操作。

标签:
固废
四川 - 成都 来源:北方有色网 2023-03-19
采用固废硫酸钠制备硫化钠工艺中分离回收硫酸氨的方法

本发明公开了一种采用固废硫酸钠制备硫化钠工艺中分离回收硫酸氨的方法,具体步骤如下:干燥:将固废硫酸钠进行干燥处理;除尘及喷淋:产生的废气进行除尘及喷淋;结晶:喷淋后得到的溶液进行结晶;分离:结晶通过分离装置分离出硫酸氨。本发明能够对废气中的主要有害成分氨气、二氧化硫、氯气进行滤除,同时产生工业用的硫酸氨,即防止了环境被污染,同时制备了有用的化工原料,一举两得。

标签:
固废
四川 - 攀枝花 来源:北方有色网 2023-03-19
环保用固废处理装置
环保用固废处理装置 928     
 0

本实用新型公开了一种环保用固废处理装置,涉及环保领域,包括筛选箱,筛选箱上开设有中间口,筛选箱内设置有筛选层,筛选层包括第一筛选层和第二筛选层,第一筛选层高度较低的一端端部设置有输送管,第二筛选层位于第一筛选层下方,第二筛选层高度较低的一端端部设置有输送管,输送管下端设置有小推车,第一筛选层和第二筛选层上均设置有若干小圆柱,且第一筛选层上设置的小圆柱之间的间隙大于第二筛选层上设置的小圆柱之间的间隙,通过设置带磁性的辊柱在粉碎固废的同时可以将其中含有的金属颗粒进行回收利用,通过设置含有小圆柱的筛选层,筛选效率高,筛选效果好,且不易出现堆积现象。

标签:
固废
四川 - 成都 来源:北方有色网 2023-03-19
钻井固废生物处理发酵罐

本发明公开了一种钻井固废生物处理发酵罐,包括固定支架和箱体,所述固定支架的顶部固定连接有发酵桶,且发酵桶的内壁固定安装有第一过滤网,并且第一过滤网的顶部固定有轴承,而且轴承的内壁固定连接有连接杆。该钻井固废生物处理发酵罐,通过设置的臭气输送管,使得发酵桶内部自然产生的臭气能够进入箱体内进行处理,通过设置的空气输送管,使得处理完毕的空气能够排入发酵桶内,通过设置的除臭剂存储箱和除臭剂循环结构,使得除臭剂能够进行循环往复的使用,进而极大的降低了使用者的使用成本,通过设置的臭气处理结构,使得发酵桶内部的臭气能够被完美的处理掉,避免了罐体内部存在大量臭气造成发酵罐内部的生物大量死亡的情况发生。

标签:
固废
四川 - 成都 来源:北方有色网 2023-03-19
混凝土固废资源化处理装置

本实用新型公开了一种混凝土固废资源化处理装置,包括箱体和传输装置,所述箱体内设置磁性吸附装置、偏心轮、固定轴、定模臂、动模臂、定挤压板、动挤压板、阻挡调节机构和弹性机构,所述定挤压板设置于所述定模臂上,所述动挤压板设置于所述动模臂上,所述定挤压板与所述动挤压板围成一个“V”形,所述定模臂与所述固定轴连接,所述定模臂下端分别与所述阻挡调节机构和弹性机构连接。通过本装置将混凝土固废进行资源化处理,提高了建筑垃圾的利用率,能够减少对设备产生损坏或影响。

标签:
固废
四川 - 成都 来源:北方有色网 2023-03-19
生活有机固废资源化处理装置

本实用新型涉及生活垃圾处理装置技术领域,公开了一种生活有机固废资源化处理装置,包括竖式搅拌塔和设置在搅拌塔底部出口下方的振动仓,振动仓远离搅拌塔一端与暂存仓连通,暂存腔远离振动仓的一端设有压缩仓,压缩仓的入口处设有可受控动作的推料板,推料板可将暂存腔中的物料推入压缩仓中,压缩仓中水平设置多个压缩腔,压缩腔的出口端设有多个滑道,滑道尾端通入烘干室,压缩腔出口与滑道之间竖直设置切粒板,不仅可高效利用有机固废,将其转化为资源化产品即有机肥料,而且所得的肥料颗粒具有不同的粒径,适用范围更广泛,具有极大的推广价值和广阔的应用前景。

标签:
固废
四川 - 成都 来源:北方有色网 2023-03-19
级配固废机制砂用配料混合装置

本实用新型涉及机制砂混合技术领域,尤其涉及一种级配固废机制砂用配料混合装置,解决了现有技术中混合装置一般只是利用一个搅拌杆进行搅拌,导致混合速度慢,混合效率差的现象,不利于快速生产的问题。一种级配固废机制砂用配料混合装置,包括混料箱、支撑架和入料箱,所述支撑架的表面固定安装有电机,所述电机的输出轴表面固定安装有主动齿轮,所述电机的输出轴端口固定安装有主动转盘,所述混料箱的内部设置有转动架,所述转动架的侧壁固定安装有从动齿轮。本实用新型通过设置电机、主动齿轮、从动齿轮、主动转盘、从动转盘、转动架和转动轴,方便对物料进行充分搅拌,而且两个方向的搅拌使混合速度快,混合质量高,有利于生产。

标签:
固废
四川 - 达州 来源:北方有色网 2023-03-19
固废物及生活垃圾管道运输螺旋破碎装置

本实用新型属于垃圾处理设备技术领域,公开了一种固废物及生活垃圾管道运输螺旋破碎装置,用于解决现有技术对于景区、车站、机场等垃圾量巨大且要求瞬间回收的场所采用直接回收的方式容易造成输送管道堵塞和气爆噪音的问题。本实用新型包括机体,机体上设置有进料仓,进料仓的下端连通有进料通道,进料通道的下端连通有螺旋破碎筒,螺旋破碎筒的下端与配套的气力回收垃圾系统的输送管道连通,螺旋破碎筒内设置有空心转轴,空心转轴的外围设置有螺旋刀片,空心转轴的圆周壁上开设有多个沿着空心转轴轴向方向设置的贯通槽,空心转轴的内部套设有能随空心转轴转动并能沿空心转轴上下移动的芯轴,芯轴上连接有多个能在贯通槽内上下滑动的纵切刀。

标签:
固废
四川 - 成都 来源:北方有色网 2023-03-19
基于原钻井遗留固废制备粉煤灰微粉的破碎设备

本发明公开了一种基于原钻井遗留固废制备粉煤灰微粉的破碎设备,涉及到粉煤灰加工设备领域,其包括固定安装架,固定安装架上设有物料下料斗,物料下料斗内开设有空腔,空腔的内壁上固定安装有导料块,导料块上开设有圆弧形下料槽,圆弧形下料槽内转动安装有下料卷,下料卷上固定安装有中心动力传输轴,中心动力传输轴的两端均转动安装在物料下料斗上,物料下料斗的侧面固定固定安装有固定安装板。本发明中,通过导料块和下料卷设置,在使用粉碎机处理原钻井遗留固废时,利用导料块和圆弧形下料槽的相互配合,实现间歇性的下料,从而避免设备内部出现没有处理好的物料,保证了粉碎机的加工效果,提高了装置的实用性。

标签:
固废
四川 - 成都 来源:北方有色网 2023-03-19
利用钻井固废制备烧结砖的装置与方法

本发明公开了一种利用钻井固废制备烧结砖的装置与方法,先将钻井固废和一般烧结砖原料页岩分别进行破碎,然后按照一定的比例投入进陈化装置中陈化,陈化结束后将制砖原料脱水再投入挤压机中压制成型,经切割、烘干、焙烧等步骤最终得到烧结砖成品,通过本发明对陈化时间的优化和陈化装置的改进,最终制备出的烧结砖不良率低,裂纹少;砖坯质量得到提高,表面光洁度,密实度等有了明显改善,同时排放的有害气体含量较低,烧结砖产生辐射也较低。

标签:
固废
四川 - 德阳 来源:北方有色网 2023-03-19
速凝剂沉渣固废装置
速凝剂沉渣固废装置 1233     
 0

本实用新型提供了一种速凝剂沉渣固废装置,涉及沉渣固废技术领域,包括搅拌装置、沉渣槽和螺旋输送机;搅拌装置包括基座、搅拌筒、行星齿轮组件和若干搅拌杆;基座开设有出料槽,基座固定于工作平台;搅拌筒横向设置于基座上方,搅拌筒设有出料口和入料口,出料口连通出料槽;行星齿轮组件的齿圈固定于搅拌筒一端,行星齿轮组件的太阳齿的中心轴连接驱动杆;搅拌杆横向设置于搅拌筒内,若干搅拌杆一一对应的连接行星齿轮组件的行星齿的中心轴;沉渣槽设于工作平台;螺旋输送机倾斜设置用以向上输送物料,螺旋输送机的出口连通入料口,螺旋输送机的入口连通沉渣槽,本实用新型设计合理,有效的提升了加料效率和搅拌效率,增加了生产的安全性。

标签:
固废
四川 - 眉山 来源:北方有色网 2023-03-19
高原固废焚烧尾气除酸塔

本实用新型涉及高原固废焚烧技术领域,具体为一种高原固废焚烧尾气除酸塔,包括主体,所述主体的顶端固定连接有顶盖;所述主体的一侧固定连接有储料箱,所述储料箱的顶端连通有输送管,所述顶盖的顶端活动连接有驱动电机,所述驱动电机的底端活动连接有转轴,所述转轴的底端固定连接有连接杆,本实用新型利用储料箱和输送管将碱性清洁水输送到连接件的内部,再通过喷头喷到主体的内表面,从而达到方便对主体表面的除酸凝结水进行反应,同时方便后期的清洁,提高设备的使用寿命,通过驱动电机带动转轴、连接杆和固定杆进行转动,利用固定杆带动清洁刷在主体的内表面进行清洁,解决现有设备不方便清洁的问题。

标签:
固废
四川 - 成都 来源:北方有色网 2023-03-19
CO2矿化固废发电耦合制氢方法及装置

本发明公开了CO2矿化固废发电耦合制氢方法及装置,包括矿化发电单元和电解制氢单元,采用CO2矿化发电单元为电解制氢单元提供电能,所述矿化发电单元的正极和电解制氢单元的阳极相连,所述矿化发电单元的负极和电解制氢单元的阴极相连。本发明的有益效果是:整个工艺过程绿色、环保、经济,矿化发电所使用的原料碱性工业固废和CO2是带来严重环保问题的工业排放物,矿化发电原料之一芒硝,自然储量丰富,价格低廉,制氢系统所需原料H2O或乙醇,来源广、成本低,极大的降低了电解制氢工艺中的电费成本,极具经济竞争力。

标签:
固废
四川 - 成都 来源:北方有色网 2023-03-19
资源化处理混凝土固废制成透水砖

本实用新型公开了一种资源化处理混凝土固废制成透水砖,包括由混凝土固废材料压制的透水砖本体,所述透水砖本体两侧分别设置有方形的凹槽,所述凹槽两端形成方形的凸起部,4个所述凸起部的长度均相等,所述凹槽的长度为所述凸起部的长度的2倍,所述透水砖本体中部设置沿所述透水砖本体长度方向贯穿的第一孔,所述凹槽两端形成的凸起部上各设置有贯穿的第二孔,所述凹槽上设置有两个贯穿的第三孔。本实用新型通过将混凝土固废进行资源化处理,提高了建筑垃圾的利用率。

标签:
固废
四川 - 成都 来源:北方有色网 2023-03-19
可对固废炉渣筛选的装置

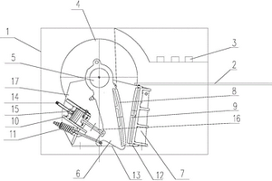
本实用新型公开了一种可对固废炉渣筛选的装置,包括底板,所述底板顶部的中心处固定连接有固定座,所述固定座的左侧设置有输送壳,所述输送壳的底部固定连接有驱动电机,所述驱动电机的输出端贯穿至输送壳的内腔并固定连接有螺旋杆,所述螺旋杆远离驱动电机的一端活动连接于输送壳内腔的顶部。本实用新型通过电动伸缩杆、连接板、箱体、细过滤框、粗过滤框、过滤格栅框、缓冲弹簧、震动电机、送料框、输送壳、螺旋杆和驱动电机的配合使用,解决了现有的固废炉渣筛选装置通常需要人工从高处进行进料,非常不方便,且人工进料会导致进料不均匀的情况,从而容易导致炉渣在筛选时出现堆积的情况,降低了筛选效果的问题。

标签:
固废
四川 - 成都 来源:北方有色网 2023-03-19
重金属工业固废的处理系统

本实用新型公开了一种重金属工业固废的处理系统,涉及环保技术领域。该系统包括依次连接的预处理装置、熔炼炉和电弧炉;所述熔炼炉包括炉体,所述炉体设置有中空的熔炼腔;所述炉体顶部设置有进料口和喷射枪,所述进料口及所述喷射枪的下端均向所述熔炼腔底部延伸;所述喷射枪与所述炉体底部间隔设置;所述炉体侧壁设置烟尘出口,所述烟尘出口与所述熔炼腔连通;所述进料口的下端延伸过所述烟尘出口与所述炉体的连通处。该系统将重金属工业固废经预处理后依次进行粗炼、精炼回收得到重金属,该重金属可进行合金化后二次利用,一方面减小环境污染,另一方面促进资源的有效利用,提高经济效益。

标签:
固废
四川 - 成都 来源:北方有色网 2023-03-19
玻璃纤维固废丝再改性利用处理生产线及处理工艺

本发明公开了一种玻璃纤维固废丝再改性利用处理生产线及处理工艺,其处理生产线包括离心工段、颗粒粒径预处理工段、切粒工段、初步筛分工段、高温硫化工段以及二次筛分工段,所述离心工段包括离心设备,所述颗粒粒径预处理工段包括颗粒预粉碎机,所述切粒工段包括切纱颗粒设备,所述初步筛分工段以及二次筛分工段均包括筛分机,所述高温硫化工段包括高温硫化设备。本发明与现有技术相比的优点在于:其核心是将废丝通过核心工艺技术改性后达到玻纤原性能产品,成为短玻纤产品,实现该产品力学性能再利用能力,固废纱处理转化率较高,解决了现有技术中废纱难以处理以及污染环境的问题,可有效将玻璃纤维固废丝转化为可有的改性玻纤。

标签:
固废
四川 - 成都 来源:北方有色网 2023-03-19
含有多种固废材料的免烧砖及其制备方法

本发明涉及建筑材料技术领域,公开了一种含有多种固废材料的免烧砖,按重量份计,其原料包括脱水脱硫石膏30~50份、钢渣10~20份、黄磷渣10~20份、建筑垃圾20~30份、改性玄武岩纤维2~5份和水8~15份;本发明还公开了制备该免烧砖的方法,包括以下步骤:S1.按配比称取上述原料;S2.分别对脱水脱硫石膏、钢渣、黄磷渣和建筑垃圾进行粉磨,得到各自的粉料;S3.将各粉料与改性玄武岩纤维混合均匀,得到混合干料;S4.将混合干料与水混合均匀,得到混合浆料;S5.将混合浆料压制成型,得到坯体;S6.对坯体进行养护,即得;该免烧砖通过各组分之间的协同作用,实现了优异的抗压、抗裂、耐磨和耐水性能;同时,本发明能够消纳多种固废材料,并且制备工艺简单、成本低。

标签:
固废
四川 - 成都 来源:北方有色网 2023-03-19
高效医疗固废处理系统
高效医疗固废处理系统 1028     
 0

本发明公开了一种高效医疗固废处理系统,包括破碎电机,所述破碎电机的驱动轴延伸至破碎箱内,位于所述破碎箱内的驱动轴上设置有破碎刀片,所述破碎箱与送料管的一端连接,所述送料管的另一端与焚烧炉连接,所述焚烧炉的一侧设置有进氧管,所述焚烧炉的另一侧设置有出料管,所述焚烧炉的上部与第一排气管的一端连接,所述第一排气管的另一端与脉冲布袋除尘器连接,所述脉冲布袋除尘器下部设置有灰斗,所述灰斗下方设置有排灰口,所述脉冲布袋除尘器与第二排气管的一端连接,所述第二排气管的另一端与尾气处理装置连接。通过设置焚烧炉,能够高温灭菌使医疗固废得到快速的处理,实现90%~95%的减量化,节约大量填埋场占地。

标签:
固废
四川 - 广安 来源:北方有色网 2023-03-19
固废材料免烧砖
固废材料免烧砖 776     
 0

本实用新型提供一种固废材料免烧砖,包括矩形砖体,所述矩形砖体内的横向两侧中与外部接触一侧固定连接钢管,钢管外表面设置固定防尘面板的外螺纹。所述固废材料免烧砖,解决了现有免烧砖长时间使用后,与外部接触一面易积尘变脏,不易清除,进而给用户带来困扰的问题。

标签:
固废
四川 - 成都 来源:北方有色网 2023-03-19
固废综合利用生产的复合生态地铺石及其制备方法

本发明公开了一种固废综合利用生产的复合生态地铺石及其制备方法,涉及地铺砖技术领域,包括以下步骤:S1.选定面层材料,将面层材料的一面涂刮粘接剂,然后将涂有粘接剂的一面向上放入模具中待用;S2.将包括改性固废物的底层材料干搅拌,然后再加入水进行湿搅拌,得到湿搅拌料;S3.将湿搅拌料倒入上述模具中进行成型,然后经过养护,脱模,捡验,得到成品,入库存放。以废石粉,为主要增强细骨料,废石子为粗骨料,充分体现废物利用;变废为宝,节约天然石材应用。

标签:
固废
四川 - 德阳 来源:北方有色网 2023-03-19
固废焚烧用烟气处理装置

本实用新型公开了一种固废焚烧用烟气处理装置,涉及烟气处理技术领域,包括底座,所述底座的顶端固定安装有过滤箱和净化箱,所述过滤箱的外侧壁固定连接有入气管,且入气管贯穿过滤箱的外侧壁并延伸至过滤箱的内部,所述过滤箱的内顶壁固定连接有储存管,且储存管内放置有蓄冷剂,所述过滤箱顶部对应于储存管的位置设有密封盖。该固废焚烧用烟气处理装置,通过设置冷却装置对烟气进行冷却,清除烟气中的固定颗粒,对其固定颗粒收集处理,设置可取出的过滤盒,便于对活性炭过滤网进行更换,设置抽气泵将过滤后的烟气通入净化箱内的液体吸收剂内,对烟气内的有害气体进行净化处理,解决了因颗粒阻塞管道和过滤网的问题。

标签:
固废
四川 - 南充 来源:北方有色网 2023-03-19
工业固废制备预制板材用在线切断码垛装置

本发明公开了一种工业固废制备预制板材用在线切断码垛装置,属于板材切断码垛装置技术领域,用于解解决现有的工业固废板材切断后的板材下线码垛困难的问题。本发明沿物料输送方向位于切断装置的后端设置有翻转装置,翻转装置包括多个同步转动的翻转单元,翻转单元包括翻转板、连接板、扇齿板、中间齿、动力齿和翻转轴座,扇齿板沿竖直方向转动连接在翻转轴座的一侧,中间齿与翻转轴座转动连接,中间齿的一侧与扇齿板相互啮合,中间齿的另一侧与动力齿相互啮合,动力齿套设有动力轴上,所有动力齿套设在同一动力轴上,动力轴连接有翻转电机,翻转轴座靠近扇齿板的一侧并排设置有码垛装置。

标签:
固废
四川 - 德阳 来源:北方有色网 2023-03-19
复掺微粉全工业固废混凝土及其制备方法

本发明属于建筑工业混凝土制备技术领域,具体涉及一种复掺微粉全工业固废混凝土及其制备方法。针对工业废弃物电炉钢渣产量大,不好利用,如何利用其制备混凝土的问题,本发明提供了一种复掺微粉全工业固废混凝土,其组成包括:按重量份数计,水泥280~290份,高钛型高炉渣渣砂1020~1040份,高钛型高炉渣碎石880~890份,电炉钢渣微粉52~79份,粉煤灰26~53份,膨润土微粉6~10份,高效减水剂7~9份,水185~191份。本发明还提供了上述混凝土的制备方法。本发明的混凝土,采用电炉钢渣微粉、粉煤灰和膨润土微粉的复合料作为掺和料替代部分水泥制备混凝土,后期强度增长明显,和易性好,具有很好的应用价值。

标签:
固废
四川 - 攀枝花 来源:北方有色网 2023-03-19
固废物及生活垃圾管道运输旋风斗式回收装置

本发明公开了一种固废物及生活垃圾管道运输旋风斗式回收装置,属于垃圾回收设备领域。主要部件由移动式水平压缩回收箱、智能限位轨道、气动对接口、斗式提升机、气固分离装置和气动阀组成。所述气固分离装置是在普通旋风分离器的基础上在圆筒部分的顶部出风口处设计一旋转笼,锥筒部分底部设计有关气阀、卸料阀,两阀之间为垃圾储存节。经料气分离的垃圾由斗式提升机,经气动对接口落入垃圾回收箱内。本发明可以解决气料完全分离、地埋管道爬坡、自动输送、撒料和二次污染等问题,实现了气力系统的智能化自动收集。

标签:
固废
四川 - 成都 来源:北方有色网 2023-03-19
上一页 89 90 91 92 93 ... 104 下一页
共104页    到第

北方有色为您提供最新的四川有色金属固/危废处置技术理论与应用信息,涵盖发明专利、权利要求、说明书、技术领域、背景技术、实用新型内容及具体实施方式等有色技术内容。打造最具专业性的有色金属技术理论与应用平台!

全国热门有色金属设备推荐
展开更多 +
全国热门有色金属技术推荐
展开更多 +

 

江西省隆恩特环保设备有限公司
宣传

报名参会
更多+

报告下载

有色专家
更多+

中南大学
中国工程院院士
广东省科学院资源利用与稀土开发研究所
教授
武汉理工大学
外籍院士/教授
矿冶科技集团
中国工程院院士
中国有色金属工业协会
副会长兼秘书长
赤泥综合利用研究报告2025
推广

热门技术
更多+

推荐企业
更多+

福建省金龙稀土股份有限公司
宣传

发布

在线客服

公众号

电话

顶部
咨询电话:
010-88793500-807