青岛垚鑫智能科技有限公司
宣传

位置:中冶有色 >

有色技术频道 >

> 固/危废处置技术

分类:
全部
矿山技术
冶金技术
材料制备及加工技术
环境保护技术
分析检测技术
 
全部
废水处理技术
大气治理技术
固/危废处置技术
土壤修复技术
地区:
全部
北京
天津
上海
重庆
河北
山西
辽宁
吉林
黑龙江
江苏
浙江
安徽
福建
江西
山东
河南
湖北
湖南
广东
海南
四川
贵州
云南
陕西
甘肃
青海
内蒙
广西
西藏
宁夏
新疆
其他
其他
展开
 
全部
成都
自贡
攀枝花
泸州
德阳
绵阳
广元
遂宁
内江
乐山
南充
眉山
宜宾
广安
达州
雅安
巴中
资阳
阿坝藏族羌族自治州
甘孜藏族自治州
凉山彝族自治州

四川有色金属固/危废处置技术理论与应用

免费发布技术信息>>
有机固废气化焚烧回热一体化装置及系统

本实用新型公开了一种有机固废气化焚烧回热一体化装置及系统,该装置包括:呈自下而上依次布置且相互连通的气化炉段、焚烧炉段和废锅段,在所述气化炉段、焚烧炉段和废锅段的内筒分别设有内衬,且在气化炉段与焚烧炉段之间、焚烧炉段与废锅段之间均设有分隔装置,并通过该分隔装置进行工艺分段。

标签:
固废
四川 - 自贡 来源:中冶有色网 2023-03-19
炼钢厂固废废弃物钢渣处理磁选分选处理系统

本发明涉及一种炼钢厂固废废弃物钢渣处理磁选分选处理系统,包括底座、存放机构、高度调节机构、磁选机构、支撑板和驱动机构,底座上端面上中部安装有存放机构、底座上端面上前后两侧通过滑动配合的方式对称安装高度调节机构,高度调节机构之间设置有磁选机构,且磁选机构位于存放机构上方,底座上端面上左右两侧对称安装有支撑板,支撑板之间设置有驱动机构,且驱动机构位于磁选机构上方;现有对钢渣进行磁选的过程中存在的:由于需要振动筛之后才能继续进行磁选,所以增加了厂家对振动筛选机械的的采购成本;振动筛选之后需要分别对掺着废渣的钢粒和掺着废渣的铁粉进行磁选,所以降低了对钢渣的磁选的效率等问题。

标签:
固废
四川 - 成都 来源:中冶有色网 2023-03-19
固废物及生活垃圾管道智能控制及收集方法

本发明公开了一种固废物及生活垃圾管道智能控制及收集方法,所述的方法包括自动模式和手动模式,其中,自动模式为点对点高位模式和点对点定时模式,适用于系统中地面投放单元和楼宇投放单元的收集,能做到高智能全自动化回收,可有效避免垃圾收集死区;手动模式适用于系统中存在安全操作需专人处理的地面大件处理单元和自动回收单元,进行密码解锁、身份识别和控制中心确认后才能启动,旨在提高的系统的安全性和操作的合理性。本发明还包括有消防报警、振动报警和活物报警的步骤以及定时消毒控制的步骤。本发明设计合理,科学,具有人性化,符合我国国情,便于系统推广使用。

标签:
固废
四川 - 成都 来源:中冶有色网 2023-03-19
固废炉渣用破碎装置
固废炉渣用破碎装置 822     
 0

本实用新型公开了一种固废炉渣用破碎装置,包括壳体,所述壳体内腔的顶部横向固定连接有破碎箱,所述破碎箱内腔顶部的中心处连通有加料漏斗,所述加料漏斗的顶部贯穿至壳体的顶部,所述壳体正表面和背表面的两侧均固定连接有稳定轴承座,纵向两个稳定轴承座相对的一侧贯穿设置有活动杆,所述活动杆的表面且位于破碎箱的内腔固定套设有破碎辊,所述活动杆的背表面贯穿至壳体的后侧。本实用新型通过设置收集框、磁铁、竖管、电磁铁、第二电机、手动伸缩杆、丝杆、连接杆、支撑杆和螺套配合使用,解决了现有的破碎装置无法方便的回收炉渣中铁质金属,增加了铁质金属的回收时间,降低了破碎装置回收效率的问题。

标签:
固废
四川 - 成都 来源:中冶有色网 2023-03-19
用于含油固废热解处理系统的冷凝回收装置

本实用新型提供一种用于含油固废热解处理系统的冷凝回收装置,包括冷凝套管支架和固定于所述冷凝套管支架上的多级U形冷凝套管,在每一级U形冷凝套管上连接有裂解油收集装置和冷却水系统,在最后一级U形冷凝套管的出气口上连接有裂解气收集装置,所述每一级U形冷凝套管由两个直形套管和一个U形接管组成,所述每一级U形冷凝套管之间连接一个密封的U形接头,形成多级U形冷凝套管。采用本实用新型所述冷凝回收装置,由于使用了多级冷凝方式,并且每一级冷凝均采用独立的冷却水系统,冷却更彻底,冷却后的产生的裂解气和裂解油均被收集到相应的装置中,能源回收效率高。

标签:
固废
四川 - 德阳 来源:中冶有色网 2023-03-19
固废炉渣压制成型装置

本实用新型公开了一种固废炉渣压制成型装置,包括底座,所述底座顶部表面的四角均固定连接有支撑柱,所述支撑柱的顶部横向固定连接有顶板,所述顶板底部表面的两侧均固定连接有液压缸,所述液压缸的底部固定连接有升降板,所述升降板底部的表面固定连接有压板。本实用新型通过设置移动框、转动板、弹性胶条、定位框、定位轴、储纳凹槽、转动槽口、复位弹簧、滑动槽、连接轴、滑动块和收纳孔的配合使用,可避免压制过程中发生硬性碰撞,这样有效保护了压制成型装置,解决了压制成型装置在使用时,因不能对压制连接处进行保护,使得压制过程中容易出现硬性碰撞的状况,从而导致压制成型装置出现使用寿命较短的问题。

标签:
固废
四川 - 成都 来源:中冶有色网 2023-03-19
冶金灰渣固废资源回收系统

本实用新型涉及一种冶金灰渣固废资源回收系统,其包括:溶解釜、反应釜A、板框过滤机A、纳滤膜浓缩器、干燥机、硫酸及化工添加剂储罐和纯碱储罐;溶解釜的第一进口与灰渣的出口连接,其第二进口与硫酸及化工添加剂储罐连接,其出口与所述反应釜A的第一进口连接;反应釜A的第二进口与纯碱储罐连接,其出口与板框过滤机A的进口连接;板框过滤机A的出口与纳滤膜浓缩器的进口连接;纳滤膜浓缩器的出口与干燥机的进口连接。本实用新型能够解决目前采用MVR蒸发器蒸发过程中容易出现结垢,维修麻烦且成本高的技术问题,是一种更加稳定的替代方式,节能高效。

标签:
固废
四川 - 成都 来源:中冶有色网 2023-03-19
生活污水及生活固废垃圾一体化处理设备

本实用新型涉及污水处理领域,具体公开了一种生活污水及生活固废垃圾一体化处理设备,包括立式布置的处理罐,处理罐的外壁顶部和底部分别安装有进水管和排水管,处理罐的内部安装有过滤组件,过滤组件包括滤笼、驱动件和清理件,处理罐内壁固定有挡板,滤笼呈倾斜设置,且两端转动连接连接于挡板和滤笼,驱动件用于驱使滤笼转动;在使用的过程中,驱动件驱使滤笼在过滤过程中转动,同时拨杆底部凸块的一端伸入到滤笼内的过滤孔中,并随着滤笼的转动,拨杆在支撑板的底部摆动,通过摆动驱使凸块依次伸入到每个过滤孔中,通过凸块的伸入将过滤孔内部卡住的物体推出,避免物体卡在过滤孔的内部造成其堵塞的现象。

标签:
固废
四川 - 成都 来源:中冶有色网 2023-03-19
玄武岩岩棉固废循环利用生产线及工艺

本发明公开了一种玄武岩岩棉固废循环利用生产线及其生产工艺,通过由输送装置依次相连的混合料仓Ⅰ、破碎机、磁选机、制砂机、搅拌机及成型机对矿渣进行粉碎、混合、制块及回炉,从而实现有用物质的回收再利用,不仅解决了当前倾倒掩埋手段所存在的环境污染大、人力及运费投入量大等问题,还增加上万吨的原料及新棉,减少了外购原料的数量,节约了成本投入,使企业实现了清洁生产,适于推广应用。

标签:
固废
四川 - 广安 来源:中冶有色网 2023-03-19
楼宇固废物及生活垃圾管道输送储存节

本发明公开了一种楼宇固废物及生活垃圾管道输送储存节,它包括储存箱体,箱体上装有电器盒、插板阀、消防喷淋头和料位检测仪,所述箱体内设有垃圾分类储存箱,所述电器盒分别位于所述垃圾分类储存箱外部上端一侧,电器盒内设有防毒、防爆、防疫、防烟、防火、活物等多项检测仪,所述插板阀位于箱体内上部,切断垃圾落入,所述消防喷淋头安装在所述垃圾分类储存箱顶部,所述料位检测仪分别间隔位于所述垃圾分类储存箱侧壁上,箱体上端连接有可分类楼宇竖管。本发明与气力输送垃圾系统楼宇投放单元配套使用,对投入的垃圾分类暂存、实时检测并发现异情及时处理。

标签:
固废
四川 - 成都 来源:中冶有色网 2023-03-19
基于在钻井一般固废制备陶粒的烧结装置

本发明公开了一种基于在钻井一般固废制备陶粒的烧结装置,涉及到陶粒烧结设备领域,其包括烧结筒,烧结筒上设有出料口,烧结筒的一侧固定安装有底板,底板的顶侧固定安装有四个支撑腿,四个支撑腿的顶侧固定安装有处理仓,处理仓的一侧固定安装有支撑杆,支撑杆的顶侧固定安装有下料漏斗。本发明中,通过下料漏斗、连接架、冷却风扇、间歇转盘等结构的设置,在烧结筒烧结完陶粒之后,通过间歇转盘能够间歇性对陶粒进行输送,输送的过程中会通过冷却风扇进行冷却,从而能够实现快速的对陶粒物料进行转运,并且陶粒中的碎渣会通过筛孔进行过筛,保证了陶粒的整体质量,而且输送的同时搅杆会搅动陶粒,进而提升了冷却与过筛的效果。

标签:
固废
四川 - 成都 来源:中冶有色网 2023-03-19
固废炉渣余热再利用装置

本实用新型公开了一种固废炉渣余热再利用装置,包括箱体,所述箱体的底部连通有出料管,所述箱体内腔的右侧固定连接有导流板,所述导流板的顶部设置有振动电机,所述振动电机的数量为四个,所述振动电机的顶部固定连接有散热板,所述箱体顶部的左侧连通有连通管。本实用新型通过设置箱体、出料管、导流板、振动电机、散热板、电机、进料管、输料筒、抽风机、水泵、烟囱、蛇形管、过滤箱、蓄水箱、连通管、出气管、散热翅片、加热箱、转轴、螺旋叶片和过滤网的配合使用,具备能使底部炉渣的热量完全散发出去,提到了热量回收效率,能够减缓高温气体流速,使其能够充分的对水管进行加热的优点。

标签:
固废
四川 - 成都 来源:中冶有色网 2023-03-19
含油固废综合处理装置

本实用新型公开了一种含油固废综合处理装置,包括依次连接的回转炉、旋风分离器、多级冷却系统、三相分离器、循环风机和加热炉,加热炉出口与回转炉连通,三相分离器顶部气相出口与回转炉气体入口之间的管线上还连接有与加热炉连通的不凝气排放管线,多级冷却系统包括依次连接的一级换热器的管程、二级空冷器和三级水冷器,一级换热器管程的入口与旋风分离器连接,循环风机出口与一级换热器壳程连通,一级换热器壳程出口与加热炉入口连通,冷、热循环气体可以进行换热,实现了热量的综合利用;加热炉与回转炉之间设置有加热器,易于调节回转炉入口气体温度;不凝气排放管线上依次连接有脱水罐和脱硫罐,保证了外排烟气合格。

标签:
固废
四川 - 攀枝花 来源:中冶有色网 2023-03-19
固废物及生活垃圾气力管道运输气密阀门

本发明提供一种固废物及生活垃圾气力管道运输气密阀门,充气密封圈为空心可充气圈体,橡胶材质,外接充气装置,阀板顶端为刀刃状,可以剪断夹在阀板与第一阀体和第二阀体之间底部的垃圾,在管道气力输送垃圾的过程中有效的实现了垃圾回收管道运输中气体泄露问题,做到了零泄漏;解决了垃圾回收管道运输中阀座底部积料问题和阀板与阀体之间夹料问题。

标签:
固废
四川 - 成都 来源:中冶有色网 2023-03-19
提高垃圾容积的固废处理器

本发明公开了提高垃圾容积的固废处理器,包括垃圾桶本体,垃圾桶本体投放垃圾的入口设置有入口收紧装置,在垃圾桶本体还设置有内部收紧装置,拉紧层连接在垃圾桶本体内壁上,拉紧层中部设置有与垃圾桶本体投放垃圾入口同等尺寸的大孔,大孔四周设置有中心绳索,从拉紧层的大孔四周辐射出多个收紧拉线通道,收紧拉线通道中各自设置有一根内部收紧拉线,内部收紧拉线的一端连接在中心绳索上,另一端连接外部拉紧总拉线;外部拉紧总拉线连接内部分拉线端的另一端与外部总拉线连接。本发明内部收紧装置能够对垃圾进行压缩的前提是内部收紧装置吸收的垃圾对内部收紧装置进行挤压时才能对内部垃圾进行有效压缩。

标签:
固废
四川 - 绵阳 来源:中冶有色网 2023-03-19
固废物及生活垃圾智能管道运输防堵装置

本发明提供一种固废物及生活垃圾智能管道运输防堵装置,在气力垃圾管道运输方面解决了垃圾堵塞管道的问题,彻底杜绝管道堵塞,不会出现垃圾堵塞腐烂变质发臭的问题出现,而且无需专人清理堵塞处,提高了工作效率,主要是通过在管道易堵得地方开设凸缘口,在凸缘口内插装软轴装置,把通过此处的易堵塞垃圾进行搅起,随负压送走。

标签:
固废
四川 - 成都 来源:中冶有色网 2023-03-19
固废物生活垃圾管道运输沉降式压缩分离装置

本发明提供一种固废物生活垃圾管道运输沉降式压缩分离装置,实现了可隐蔽在地下,占地空间小,解决了异味气体和垃圾渗透液外溢问题,杜绝二次污染;解决了料气分离、回收集一体的问题;解决了增加专门的物料分离器带来的设备安装空间不足、工程施工困难、系统运营故障率高等一系列问题;节省了市区建筑群地上空间;解决了输送管道爬坡的问题;实现了真正的智能化、自动化回收问题。

标签:
固废
四川 - 成都 来源:中冶有色网 2023-03-19
固废物及生活垃圾管道运输楼宇储存装置

本实用新型涉及一种固废物及生活垃圾管道运输楼宇储存装置,包括箱体和控制器,所述箱体内固定有用于将箱体分隔成至少两个垃圾储存箱的隔板,所述箱体上端出口连接有可分类楼宇竖管,所述垃圾储存箱左右侧内壁上间隔设置有用于料位检测的料位检测仪,所述控制器与料位检测仪相连,所述垃圾储存箱的底部具有开口,在开口处还设有卸料机构。本实用新型的优点在于:垃圾储存箱左右侧内壁上间隔设置有用于料位检测的料位检测仪,与气力输送垃圾系统楼宇投放单元配套使用,对投入的垃圾分类暂存,杜绝垃圾散落、异味、蚊虫及渗透液的污染,自动检测箱内垃圾量,管道运输系统自动启动,从而达到自动回收,分拨、批量的向管道内给料,避免管道堵塞。

标签:
固废
四川 - 成都 来源:中冶有色网 2023-03-19
放射性固废收集转运装置

本实用新型涉及放射性废料处理装置的领域,具体而言,涉及一种放射性固废收集转运装置,配合于屏蔽箱使用。屏蔽箱底部设置有废料口。放射性固废收集转运装置包括设置有升降平台的转运车和转运罐。转运罐配合升降台设置,以使转运罐能够放置于升降台。转运罐顶部配合废料口开设有进料口,以使进料口能够连通废料口。使用时,将转运罐放置于升降台并将转运车推动至屏蔽箱正下方。升降台上升使得进料口逐渐靠近废料口并与废料口对接。屏蔽箱与转运罐连通且没有缝隙,避免屏蔽箱内的气溶胶通过间隙泄漏。需要转运废料时,升降台下降,使得屏蔽箱与转运罐分离。用屏蔽性好的盖子盖住转运罐的进料口即可推动转运车而转运废料,使用方便。

标签:
固废
四川 - 成都 来源:中冶有色网 2023-03-19
具有除臭功能的固废生物处理发酵罐

本实用新型公开了一种具有除臭功能的固废生物处理发酵罐,包括固定支架和箱体,固定支架的顶部固定连接有发酵桶,且发酵桶的内壁固定安装有第一过滤网,并且第一过滤网的顶部固定有轴承,而且轴承的内壁固定连接有连接杆。该具有除臭功能的固废生物处理发酵罐,通过设置的臭气输送管,使得发酵桶内部自然产生的臭气能够进入箱体内进行处理,通过设置的空气输送管,使得处理完毕的空气能够排入发酵桶内,通过设置的除臭剂存储箱和除臭剂循环结构,使得除臭剂能够进行循环往复的使用,进而极大的降低了使用者的使用成本,通过设置的臭气处理结构,使得发酵桶内部的臭气能够被完美的处理掉,避免了罐体内部存在大量臭气造成发酵罐内部的生物大量死亡的情况发生。

标签:
固废
四川 - 乐山 来源:中冶有色网 2023-03-19
污水及固废全域处理系统

本实用新型公开了一种污水及固废全域处理系统,包括破碎装置,布置于污水及固废全域处理系统的前端,与垃圾进口端连通,接收并破碎垃圾;高温发酵池,布置于破碎装置一侧,接收破碎装置导出的破碎垃圾;储液池,布置于高温发酵池出口侧,接收、稀释高温发酵池的发酵产物;用料泵,布置于储液池出口侧,分离、打包成块发酵产物。本实用新型将垃圾和污水联合处理,即实现了污水的高效处理,同时将垃圾进行发酵处理,并将发酵后的产物作为植物可吸收的堆肥,且该堆肥并不会对环境、土壤和地下水有影响,绿色环保,实现了资源的再利用,符合可持续发展思维导向,具有较强的实用性。

标签:
固废
四川 - 成都 来源:中冶有色网 2023-03-19
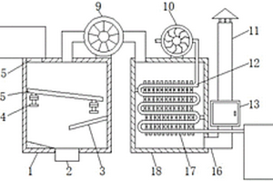
环保的固废焚烧炉
环保的固废焚烧炉 931     
 0

本实用新型公开了一种环保的固废焚烧炉,包括箱体和拉门,所述箱体的前端面下方安装有拉门,所述箱体的上方安装有进料装置。该环保的固废焚烧炉,通过梯形板、水箱、第二横板、水泵、第一竖板和喷头等结构之间的相互配合,可以通过水泵将氨水通过喷头喷出,从而对焚烧产生的气体进行处理,这样便保护了环境,通过转盘、钢丝绳、支板、第一弧形板、第二弧形板和弹簧等结构之间的相互配合,可以使转盘通过钢丝绳带动方形块进行移动,方形块带动支板进行转动,从而使垃圾可以分批次下落,这样便提高了垃圾的焚烧效率。

标签:
固废
四川 - 自贡 来源:中冶有色网 2023-03-19
固废物中水溶性重金属元素的样品制备方法及检测方法

本发明属于分析化学技术领域,具体涉及一种固废物中水溶性重金属元素的样品制备方法及其检测方法。本发明方法包括以下步骤:a、向待测固废物中加入纯水;b、加入中性氧化性气氛保护剂,振荡提取4~6h;c、过滤,取滤液,向滤液中加入氧化性强酸溶液和中性氧化性气氛保护剂,得混合溶液;d、将混合溶液保持在亚沸状态下,蒸发浓缩,冷却至室温,稀释,定容,即得。本发明方法具有操作简单步骤少、分析设备性能及实验条件要求低、试剂用量少多元素同时测定成本小、定量测定下限低精密度高等特点,全面满足了普通装备和条件的分析实验室准确测定氯化提钛尾渣中Hg、Cd、Pb、As、Se、Be、Cr、Cu、Zn、Ni等水溶性重金属元素含量的技术需要。

标签:
固废
四川 - 成都 来源:中冶有色网 2023-03-19
固废处理拖泥车料斗
固废处理拖泥车料斗 971     
 0

本实用新型涉及固废处理设备技术领域,具体涉及一种固废处理拖泥车料斗,包括料斗本体,还包括清洁装置,清洁装置包括刮料板、调节组件、传动组件和驱动组件,刮料板与传动组件连接,并与料斗本体抵接,调节组件与刮料板固定连接,并位于刮料板靠近传动组件的一侧,传动组件与刮料板通过调节组件连接,并驱动刮料板滑动,驱动组件设置在传动组件上,并驱动传动组件相对滑动,获得刮料板与料斗本体紧密抵接后,再进行刮除操作,使刮除效果更好,卸料效率更高的效果。

标签:
固废
四川 - 成都 来源:中冶有色网 2023-03-19
用于固废的压榨装置
用于固废的压榨装置 973     
 0

本实用新型公开了一种用于固废的压榨装置,包括支撑架和压榨箱,所述支撑架的下方一端固定连接有电机,所述支撑架的上表面位于电机的上方固定连接有减速电机,所述减速电机与电机的一侧固定连接有护罩,所述支撑架的上表面位于减速电机的一侧固定连接有压榨箱,所述压榨箱的上表面滑动连接有刮板,所述压榨箱的上表面固定连接有蓄水箱,所述蓄水箱的上表面一端固定连接有水泵,所述支撑架的上表面远离减速电机的一端固定连接有尾座。本实用新型所述的一种用于固废的压榨装置,可以更加方便的对压榨箱进行清洗,在排出压榨后的物料时,可以把压榨箱底部的残余废渣刮除干净,以便于有效快速的进行清洗,节省了清洗时间。

标签:
固废
四川 - 宜宾 来源:中冶有色网 2023-03-19
高效的固废垃圾处理设备

本实用新型公开了一种高效的固废垃圾处理设备,包括第一箱体和竖板,所述第一箱体的内部左侧固接有竖板,所述第一箱体的上方安装有运输装置。该高效的固废垃圾处理设备,通过第二T形板、螺纹杆、第一斜齿轮、第二斜齿轮和第二电机等结构之间的相互配合,可以通过第二电机带动第二斜齿轮进行转动,第二斜齿轮通过第一斜齿轮带动螺纹杆进行转动,螺纹杆带动第二T形板进行移动,通过第二T形板对垃圾进行挤压,这样便减少了垃圾的占地面积,通过第二横板、方形块、液压缸、挡板、和连杆等结构之间的相互配合,可以通过液压缸带动方形块进行移动,方形块带动连杆进行移动,使连杆带动挡板进行转动,从而通过挡板对垃圾的下料量进行控制。

标签:
固废
四川 - 自贡 来源:中冶有色网 2023-03-19
表面增强内养护固废基轻集料及其制备方法

本发明公开了一种表面增强内养护固废基轻集料及其制备方法。该表面增强内养护固废基轻集料包括以下重量份的组分:铁尾矿砂40~60份,煤矸石20~30份,垃圾焚烧飞灰20~30份,污泥焚烧残渣20~30份,助熔组分0.5~15份、界面粘接组分0.5~10份、搅拌站废浆20~30份。本发明可有效改善轻集料与水泥石间的界面粘接性能,同时表面增强后的轻集料具有缓慢释放水分的作用,为水泥基材料水化后期提供水化反应所需的水分,持续提升水泥基材料的各项性能。

标签:
固废
四川 - 成都 来源:中冶有色网 2023-03-19
用于含油固废微生物降解处理的撬装设备

本实用新型公开了一种用于含油固废微生物降解处理的撬装设备,主要解决现有技术中存在的油气田在开采的过程中含油固废不能很好处理危害环境和人体的问题。该设备包括安装箱,设置在安装箱中的反应室,用于对油泥进行搅拌的搅拌装置,设置在反应室外的控温装置、曝气装置、无菌空气净化装置,与无菌空气净化装置连接的曝气管,设置在反应室底部并位于曝气管上层的滤板,安装在反应室外的添加罐,安装在添加罐中的泵,与泵连接的喷头,安装在反应室侧壁上的尾气净化装置、PLC控制器,开设在反应室侧壁上的可视化检验窗口,开设在反应室上的进料口与出料口。通过上述方案,本实用新型达到了避免污染的目的,具有很高的实用价值和推广价值。

标签:
固废
四川 - 成都 来源:中冶有色网 2023-03-19
利用石材切割固废料替代粉煤灰使用的设备和方法

本发明涉及石材处理技术领域,具体的说是利用石材切割固废料替代粉煤灰使用的设备和方法,其中利用石材切割固废料替代粉煤灰使用的设备,包括设备安装板,所述设备安装板下端分别四角处支撑柱,所述设备安装板上端开设有废液储存槽,本发明通过预处理组件可以实现分别针对两种对应的废料处理,通过预处理组件内部结构从而可以避免人员进行多次的转移材料至不同的加工设备中,使得本发明集成性较高并且对材料转移进行优化处理,从而降人工操作,并且还可分别针对两种不同废料进行不同方式的处理,和现有技术相比本发明使用时更为简单且功能性强,还有效减少整体加工时间。

标签:
固废
四川 - 泸州 来源:中冶有色网 2023-03-19
工业固废装配式预制构件成型装置

本实用新型公开了一种工业固废装配式预制构件成型装置,属于装配式预制构件成型装置领域,用于解决现有的工业固废制备预制构件通过模具生产,不能实现连续不间断生产的问题。本实用新型包括下输送带,下输送带的上方设置有上输送带,上输送带与下输送带之间并排设置有左输送带和右输送带,下输送带、上输送带、左输送带和右输送带围合形成型腔,型腔内设置有抽芯装置,左输送带和右输送带的成型面设置为相互配合的阴榫模和阳榫模,左输送带及右输送带的上下两端均分别与上输送带的下表面和下输送带的上表面契合,上输送带及下输送带外表面的左右两侧还设置有密封胶条,密封胶条的外侧壁分别与左输送带和右输送带紧密挤合。

标签:
固废
四川 - 德阳 来源:中冶有色网 2023-03-19
上一页 88 89 90 91 92 ... 104 下一页
共104页    到第

中冶有色为您提供最新的四川有色金属固/危废处置技术理论与应用信息,涵盖发明专利、权利要求、说明书、技术领域、背景技术、实用新型内容及具体实施方式等有色技术内容。打造最具专业性的有色金属技术理论与应用平台!

全国热门有色金属设备推荐
展开更多 +
全国热门有色金属技术推荐
展开更多 +

 

江西省隆恩特环保设备有限公司
宣传

报名参会
更多+

报告下载

有色专家
更多+

矿冶科技集团有限公司
党委书记 / 董事长
矿冶科技集团有限公司
中国工程院院士
中国矿业大学(北京)
院长/教授
矿冶科技集团有限公司工程公司
副总经理
有研资源环境技术研究院(北京)有限公司
副总经理/教授级高工
赤泥综合利用研究报告2025
推广

热门技术
更多+

推荐企业
更多+

福建省金龙稀土股份有限公司
宣传

发布

在线客服

公众号

电话

顶部
咨询电话:
010-88793500-807