青岛垚鑫智能科技有限公司
宣传

位置:中冶有色 >

有色技术频道 >

> 新能源材料技术

分类:
全部
矿山技术
冶金技术
材料制备及加工技术
环境保护技术
分析检测技术
 
全部
功能材料技术
复合材料技术
新能源材料技术
合金材料技术
加工技术
地区:
全部
北京
天津
上海
重庆
河北
山西
辽宁
吉林
黑龙江
江苏
浙江
安徽
福建
江西
山东
河南
湖北
湖南
广东
海南
四川
贵州
云南
陕西
甘肃
青海
内蒙
广西
西藏
宁夏
新疆
其他
其他
展开
 
全部
南京
无锡
徐州
常州
苏州
南通
连云港
淮安
盐城
扬州
镇江
泰州
宿迁

江苏苏州有色金属新能源材料技术理论与应用

免费发布技术信息>>
抗腐蚀的新能源电车支撑架

一种抗腐蚀的新能源电车支撑架,包括固定头、支撑脚、弹簧、固定头铆钉、内六角螺丝、胶套和固定板,所述固定头下端设有固定板,所述支撑脚上端套设在固定板内,所述固定头与支撑脚顶部之间设有弹簧,所述弹簧下端设有垫片,所述固定头上设有内六角螺丝,所述支撑脚下端设有胶套,所述胶套底端设为锯齿状结构。本实用新型所述的抗腐蚀的新能源电车支撑架,结构简单、设计合理,工作稳定可靠,支撑稳定安全,使新能源电车停靠稳定牢固,不易翻倒,表面涂有防腐蚀材料形成保护层对支撑架起到保护作用,具有良好的防腐效果,提高支撑架的使用寿命,适用范围广。

标签:
新能源
江苏 - 苏州 来源:中冶有色网 2023-03-18
用于新能源电池包的平行度检测装置

本实用新型公开了一种用于新能源电池包的平行度检测装置,包括一个底座,所述底座上表面两侧固定连接有两根呈对称设置的支撑杆,两根所述支撑杆上端共同固定连接有一根横杆,所述横杆下表面中心处固定连接有一个第一伸缩气缸,本实用新型一种用于新能源电池包的平行度检测装置,通过设置伸缩气缸、活塞杆、插销、安装杆、转轴、平衡杆、检测块、百分表、滑槽和滑块相互配合使用,可以在检查新能源电池包时通过伸缩气缸、滑槽和滑块带动检测块在电池包表面上移动,通过转轴作用的平衡杆高低和百分表指针转动可以快速检测出电池的平行度,方便维修,同时检测装置移动方便,自动化程度高,便于使用检测。

标签:
新能源
江苏 - 苏州 来源:中冶有色网 2023-03-18
新能源汽车电池包密封结构

本实用新型公开了一种新能源汽车电池包密封结构,包括上盖和下盖,所述下盖内壁两侧的顶部均横向固定连接有固定板,两个所述固定板的顶部均竖向固定连接有嵌入板,所述上盖内壁的两侧均竖板固定连接有卡接板,两个所述卡接板的底部均开设有嵌入槽,所述嵌入槽内壁的一侧安装有密封垫,所述嵌入槽内壁另一侧的顶部和底部均设置有弹性装置,两个所述弹性装置的另一侧均固定连接有贴合板,并且所述贴合板的顶部与所述嵌入槽内壁的顶部滑动连接,本实用新型涉及新能源汽车技术领域。该新能源汽车电池包密封结构,通过嵌入板和卡接板等装置的设置,能够对上盖和下盖的连接处进行封闭,增加上盖和下盖连接处的密封性,从而增加电池包的密封性能。

标签:
新能源
江苏 - 苏州 来源:中冶有色网 2023-03-18
新能源汽车高压防水互锁连接器

本实用新型公开了一种新能源汽车高压防水互锁连接器,属于新能源汽车用连接器领域,一种新能源汽车高压防水互锁连接器,包括高压互锁连接器本体,高压互锁连接器本体的下端连接有接线端口,接线端口上连接有线缆,接线端口与线缆之间设有半壳保护套,半壳保护套包括一对半壳保护套,一对半壳保护套的侧壁上均连接有一对连接耳,两个连接耳之间连接有螺栓,高压互锁连接器本体上连接有平面座,平面座的上端连接有多个定位柱,半壳保护套的上端连接有螺纹半环,螺纹半环与平面座螺纹连接,接线端口上开凿有多个弹簧槽,弹簧槽内设有限位卡块,限位卡块与弹簧槽底端之间连接有压缩弹簧,可以实现易于防水,方便拆卸。

标签:
新能源
江苏 - 苏州 来源:中冶有色网 2023-03-18
新能源车动力电池模组用电池箱

本实用新型公开了一种新能源车动力电池模组用电池箱,涉及新能源车领域。本实用新型所述的一种新能源车动力电池模组用电池箱,包括底座,所述底座的底部固定连接有转向轮,所述底座的内部活动连接有箱体,所述箱体的外侧固定连接有充电端头,所述箱体的外侧固定连接有通讯端口,所述箱体的顶部活动连接有盖板,通过设置的底座,这时将箱体放置于底座的内部,通过转动旋转罩,使旋转罩带动螺杆在底座的内部进行转动,通过螺杆的转动带动挤压罩对底座内部的定位板产生挤压,通过定位板与复位弹簧的配合使用,从而使箱体固定连接在底座的内部,达到了方便安装的效果。

标签:
新能源
江苏 - 苏州 来源:中冶有色网 2023-03-18
新能源汽车电磁阀用接头线

本实用新型公开了一种新能源汽车电磁阀用接头线,涉及新能源汽车电磁阀接头线技术领域,为解决现有新能源汽车电磁阀用接头线长期暴露在外部环境下时容易因光线照射而导致接头线老化受损,使接头线安全性下降,影响用户使用的问题。所述接头线本体的外壁设置有抗紫外线涂层,所述抗紫外线涂层的内部设置有PVC外套层,所述PVC外套层的内部设置有抗紫外线编织层,所述抗紫外线编织层的内部设置有外黑涂料屏蔽层,所述外黑涂料屏蔽层的内部设置有内黑涂料屏蔽层,相邻所述外黑涂料屏蔽层以及内黑涂料屏蔽层之间设置有耐UV聚合物编织网层,所述内黑涂料屏蔽层的内壁设置有防水粘连层,所述抗紫外线编织层的内壁设置有防水层。

标签:
新能源
江苏 - 苏州 来源:中冶有色网 2023-03-18
新能源及能量转换演示装置

本实用新型公开了一种新能源及能量转换演示装置。所述新能源及能量转换演示装置包括:光源模块、光伏发电储能模块、电动机模块、发电机模块、电解水模块、燃料电池模块、发光模块、半导体温差发电模块以及发声模块;所述光源模块、光伏发电储能模块、电动机模块、发电机模块、电解水模块、燃料电池模块、发光模块、半导体温差发电模块以及发声模块中的多个模块之间能够连接形成多个能量转换单元。本实用新型实施例提供的一种新能源及能量转换演示装置,包含了多个能量转换模块,该多个能量转换模块之间可以相互连接而形成多个实现不同能量转换的能量转换单元,从而保证了知识的完整性。

标签:
新能源
江苏 - 苏州 来源:中冶有色网 2023-03-18
具有安全报警装置的新能源汽车电池组安装盒

本实用新型涉及新能源汽车安装机构技术领域,尤其是一种具有安全报警装置的新能源汽车电池组安装盒,包括主盒体,主盒体上端设有开口,主盒体上端开口位置铰链连接有用于闭合上端开口的盒盖,盒盖外侧壁边缘位置具有向下翻转的侧向护边,侧向护边内侧壁上开设有内置湿度传感器的监测槽。本实用新型的一种具有安全报警装置的新能源汽车电池组安装盒通过在盒盖和侧向护边内部分别固定温度传感器和湿度传感器,使得安装盒的安全性和功能性大大提升。

标签:
新能源
江苏 - 苏州 来源:中冶有色网 2023-03-18
新能源用便于安装的光伏发电设备

本实用新型涉及新能源领域,具体为一种新能源用便于安装的光伏发电设备,包括底座,所述底座两侧的底端安装有安装板,且安装板的顶端设置有固定螺栓,所述底座的内部开设有安装槽,且安装槽的内部设置有底板,所述底板顶端的一侧铰接有光伏发电板,所述安装弹簧的一侧安装有卡紧架,且安装槽两侧的底座内部两端开设有与卡紧架相配合的卡紧槽。该新能源用便于安装的光伏发电设备,通过推动推杆带动卡紧架滑动,然后将底板卡向安装槽内部,并利用安装弹簧的弹力,使得卡紧架滑动卡向卡紧槽内部,实现底板的稳定安装,而拆卸时,反向操作即可,进而实现光伏发电板的快速拆装,便于对光伏发电板的维护,从而解决了不便于安装拆卸的问题。

标签:
新能源
江苏 - 苏州 来源:中冶有色网 2023-03-18
可模拟自然火的新能源汽车电池包的火烧试验台

一种可模拟自然火的新能源汽车电池包的火烧试验台,属于节能与新能源汽车技术领域,包括火烧试验箱体、除尘器、自然火格栅板、火烧油盘、栅格板驱动装置、电池包、试验台主架体和电池包放置架,所述火烧油盘位于电池包放置架的正下方,所述自然火格栅板和栅格板驱动装置设置在试验台主架体上,所述栅格板驱动装置可驱动自然火格栅板沿试验台主架体长度方向往复移动,所述电池包放置在电池包放置架上,所述自然火格栅板可位于电池包放置架和火烧油盘之间。本实用新型的可模拟自然火的新能源汽车电池包的火烧试验台,可同时模拟两种燃烧火焰的状态,可以有效提高实验效率、提高测试流程控制准确度以及提高操作人员安全性。

标签:
新能源
江苏 - 苏州 来源:中冶有色网 2023-03-18
新能源汽车电池支架
新能源汽车电池支架 1126     
 0

本实用新型公开了一种新能源汽车电池支架,具体涉及电池支架领域,包括折弯托盘,所述折弯托盘的顶部设有支撑机构,所述支撑机构包括折弯框架,所述折弯框架的内腔两侧均设有第一固定块,所述折弯框架的内腔在靠近第一固定块的一端均设有第二固定块,所述折弯框架的内腔底部依次设有第一支撑杆、第二支撑杆和第三支撑杆。本实用新型通过设置了支撑机构,在折弯框架的内腔底部分别设置了第一支撑杆、第二支撑杆和第三支撑杆,可以对折弯框架的内腔相对的两侧起到支撑作用,降低支撑架在新能源汽车剧烈运动的情况下出现损坏,解决了新能源汽车固定性过差的问题。

标签:
新能源
江苏 - 苏州 来源:中冶有色网 2023-03-18
用于新能源汽车的临时充电系统及其工作方法

一种用于新能源汽车的临时充电系统及其工作方法,包括:新能源汽车本体,其特征在于,还包括:蓄电池系统、临时充电站、云端处理器;所述蓄电池系统设置于所述新能源汽车本体内,所述蓄电池系统包括若干供电单元;所述新能源汽车本体还设置有车辆定位模块,所述车辆定位模块与所述云端处理器连接,并向所述云端处理器输出车辆定位信息;所述临时充电站设置于线下,所述临时充电站内设置有移动蓄电箱;所述移动蓄电箱用于为蓄电池系统临时供电;所述充电控制系统与所述云端处理器连接,所述充电控制系统向所述云端处理系统输出电量信息;所述云端处理器根据车辆定位信息与电量信息向充电控制系统推送临时充电站的位置。

标签:
新能源
江苏 - 苏州 来源:中冶有色网 2023-03-18
用于新能源燃料电池模块的集成背板

本实用新型提供一种用于新能源燃料电池模块的集成背板。用于新能源燃料电池模块的集成背板,包括:框架,所述框架上设有多个安装位,所述安装位内安装电池本体,所述安装位内设有缓冲机构;所述缓冲机构包括设置在所述电池本体底部的缓冲托板和设置在所述电池本体周围的四个限位板,所述缓冲托板的底部安装多个缓冲弹簧。本实用新型提供的用于新能源燃料电池模块的集成背板通过设置缓冲机构,能够在遇到撞击发生时,通过缓冲弹簧以及四个缓冲器进行缓冲,降低对电池本体的冲击力度,避免把电池本体因撞击破损或者爆燃,设置转动的限位板、缓冲托板以及限位组件,方便对电池本体进行固定。

标签:
新能源
江苏 - 苏州 来源:中冶有色网 2023-03-18
基于新能源小轿车的整车控制器

本实用新型公开了一种基于新能源小轿车的整车控制器,包括主CPU、辅助CPU和逻辑与门电路、主CPU通过串行总线与辅助CPU连接,主CPU的输出口与辅助CPU的检测IO口相连接,辅助CPU的Reset引脚与逻辑与门电路的一路输入端连接,CPU供电电源检测电路输入端分别与主CPU、辅助CPU相连接,CPU供电电源检测电路输出端与逻辑与门电路的另一路输入端相连接,所述逻辑与门电路输出端与主CPU的Reset引脚相连。本实用新型解决了车辆控制装置各部分系统的失效而导致的一些人员或汽车伤害的问题,提供了一种双CPU工作监控运行,各驱动电路具有自动过热、过流、过压保护等功能,使用更加安全可靠的基于新能源小轿车的整车控制器。适合于新能源纯电动汽车和混合动力汽车。

标签:
新能源
江苏 - 苏州 来源:中冶有色网 2023-03-18
新能源电池用组装钢壳结构

本实用新型公开的属于新能源电池技术领域,具体为一种新能源电池用组装钢壳结构,包括外壳和内壳,所述内壳位于外壳的内腔中,所述内壳的外侧设置有减震弹簧,所述减震弹簧的另一端与外壳连接,所述外壳的内腔中安装有循环泵,所述外壳的前侧安装有散热管,所述内壳的内腔底部与顶部均安装有导热管,所述导热管的两端均连接有循环管,前端所述循环管与循环泵的进水口连通,本装置通过冷却液在散热管、导热管及循环管中流动,可以将新能源电池放电时产生的热量传导到外壳的外侧,由于热量通过管道中的冷却液传递,可以避免在组装钢壳的本体上开设散热孔,进而使得组装钢壳有较好的防水性。

标签:
新能源
江苏 - 苏州 来源:中冶有色网 2023-03-18
新能源汽车电池模组耐高温缓冲云母液态硅胶防火泡棉

本实用新型公开了新能源汽车电池模组耐高温缓冲云母液态硅胶防火泡棉,新能源汽车因其节能和环保的特性被看好,新能源动力电池在提动动力时,具有高能量和高功率等特点,伴随着新能源动力电池的能量转换会散发较高的热量,通过耐高温层贴附在离型层的上面,耐高温层耐高温可达800℃,耐高温层耐火焰灼烧可达1000℃,可以避免出现泡棉冒烟甚至燃烧等现象,提高新能源动力电池液态硅胶泡棉的使用安全性。通过离型层贴附在吸塑层上,离型力可在1‑750克内调整,极低的可剥离不影响机械手吸取,节省了大量人工,提高了生产效率,降低了人力成本。

标签:
新能源
江苏 - 苏州 来源:中冶有色网 2023-03-18
新能源永磁同步电机的转子

本实用新型涉及新能源汽车离心空压机技术领域,尤其涉及一种新能源永磁同步电机的转子。本实用新型采用的技术方案是:包括中心轴为左右方向的圆柱形磁钢结构,磁钢结构的左右两侧外部位置分别通过套合的方式与转子一级轴和转子二级轴连接配合在一起,转子一级轴的右侧端面与转子二级轴的左侧端面贴合在一起,转子一级轴的右侧端面和转子二级轴的右侧端面位置的外侧设有平稳安全焊接槽,平稳安全焊接槽的深度小于磁钢结构的外侧圆柱面到转子一级轴外侧面的距离。本实用新型的优点是:体积更小,整体的结构强度更好,在使用过程中的耐用性更强,保障了新能源汽车离心空压机在使用过程中的整体稳定性和安全性,使整体在使用时的寿命更长。

标签:
新能源
江苏 - 苏州 来源:中冶有色网 2023-03-18
新能源汽车充电桩抗震防护外壳

本实用新型公开了一种新能源汽车充电桩抗震防护外壳,属于新能源汽车技术领域,包括安装支座以及安装在其上方的充电桩本体,充电桩本体的正前侧面上设有显示屏和充电插拔口,充电桩本体周侧且位于安装支座的顶面设有固定内板组件,在其固定内板组件的外壁套设有矩形防护壳体,矩形防护壳体靠近充电插拔口的一侧铰接有防护门,矩形防护壳体与固定内板组件之间设有防震弹簧组件,可以对充电桩本体的下部周侧进行防护,同时具有缓冲减震的效果,充电桩本体的上方设有供充电桩本体防砸的防护顶板件。该新能源汽车充电桩抗震防护外壳,不仅便于充电桩本体的防护,同时具有缓冲减震的效果,从而提高充电桩本体的使用寿命。

标签:
新能源
江苏 - 苏州 来源:中冶有色网 2023-03-18
大电流新能源储能连接器及应用其的温度采集系统

本实用新型提供一种大电流新能源储能连接器及应用其的温度采集系统,所述的储能连接器包括相互配合的插头、插座,以及安装在插座上的温度采样传感器,通过温度采样传感器,实时监测新能源储能连接器适配连接耦合后的发热情况,从而及时检测到储能连接器内的温度异常。上述可监测温度的新能源储能连接器与温度采集模块相连,连接至电池管理系统中,将实时采集到的温度与预设的基准温度对比,判断监测储能连接器的温度是否出现异常,若出现异常,电池管理系统立刻执行相应的保护动作,大大提高储能连接器使用的安全性。

标签:
新能源
江苏 - 苏州 来源:中冶有色网 2023-03-18
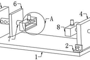
用于新能源汽车水箱上壳体的检具

本实用新型公开了一种用于新能源汽车水箱上壳体的检具,包括一检具架体,其顶部固定安装有检具安装板;一壳体支撑单元,其固定安装在检具安装板的顶部;若干压紧组件,其固定安装在检具安装板的顶部;以及一检测单元,其固定安装在检具安装板的顶部。本实用新型提供的用于新能源汽车水箱上壳体的检具,其能够通过侧位支撑杆对通孔进行插装定位,通过前位支撑座、侧位支撑杆上的圆形法兰盘以及固定销底部的圆形法兰盘对新能源汽车水箱上壳体的底部提供支撑力,并通过压紧器将新能源汽车水箱上壳体相对检具安装板的位置固定;本申请具有结构简单、操作方便、定位精准及夹压稳定等诸多优点,适用于批量地对新能源汽车水箱上壳体检测作业。

标签:
新能源
江苏 - 苏州 来源:中冶有色网 2023-03-18
新能源电池定位板加工治具

本实用新型公开了新能源电池加工治具技术领域的一种新能源电池定位板加工治具,包括底板,所述底板的上表面两侧安装有呈竖直方向设置的固定板,左侧所述固定板内插接有呈水平方向设置的推杆,所述推杆滑动连接固定板,且推杆的底端连接有移动板,所述移动板的内侧转动连接有转动杆,所述转动杆的底端安装有左定位框,右侧所述固定板内插接有转动连接的转轴,所述转轴的右侧设有手轮,且转轴的左侧连接有与左定位框相匹配的右定位框,所述右定位框和左定位框内开设有放置电池的槽口,本实用新型可以翻转待加工的电池,取代了传统的二次安装电池再加工的方法,提高了工作效率,且能用于不同型号电池的安装和加工,适用范围广,实用性好。

标签:
新能源
江苏 - 苏州 来源:中冶有色网 2023-03-18
新能源汽车电池模组绝缘板绝缘片

本实用新型公开了一种新能源汽车电池模组绝缘板绝缘片,包括底板和安装箱,所述安装箱固定安装在底板的顶端,所述安装箱的内部开设有电池安装槽,所述电池安装槽内活动安装有电池本体,所述安装箱的右侧壁设置有传动机构,所述传动机构的下方传动连接有锁紧机构,该新能源汽车电池模组绝缘板绝缘片,转动旋钮,能够使传动机构运转,传动机构能够带动锁紧机构内的卡柱进行垂直移动,当卡柱移动至活动槽内时,就能够解除对连接块的固定关系,此时,工作人员就能够将绝缘组件从安装箱底部抽出,继而就能够将新的绝缘组件更换至安装箱底部,该结构的设计,减少了资源的浪费,降低了使用成本,提高了装置的实用性。

标签:
新能源
江苏 - 苏州 来源:中冶有色网 2023-03-18
新能源电动汽车用无刷直流电动机定子

本实用新型公开了一种新能源电动汽车用无刷直流电动机定子,包括机座,所述定子板和绕线组于定子铁芯内呈环形位置分布,且绕线组侧面为梯形凹槽结构,所述绕线组侧面开设有绕线槽,且绕线槽于绕线组上呈螺旋结构分布,所述绕线槽内壁设有铜线,且铜线通过绕线槽与绕线组呈螺旋缠绕连接,所述铜线通过定子板与绕线组呈限位分布。该新能源电动汽车用无刷直流电动机定子的绕线组侧面为梯形凹槽结构,使得铜线在缠绕时可以被集中,避免其偏移,而凹槽内开设有绕线槽,且绕线槽为螺旋结构,并且绕线槽的形状与铜线的形状相匹配,这样使得该装置的铜线可以通过绕线槽进行更稳定均匀的缠绕,使用更方便。

标签:
新能源
江苏 - 苏州 来源:中冶有色网 2023-03-18
新能源汽车发动机合动力变速器壳体装置铣床

本实用新型公开了一种新能源汽车发动机合动力变速器壳体装置铣床,包括安放底座和升降柱,所述升降柱通过焊接方式固定安装在安放底座的左侧上端外壁上,所述升降柱最下端右侧的安放底座上设置有工作台,所述工作台和安放底座通过焊接方式固定连接,通过在该新能源汽车发动机合动力变速器壳体装置铣床的升降柱上下端的挡块上均增加了缓冲保护装置,且该缓冲保护装置主要是通过内部的缓冲弹簧的弹力来抵消升降套在升降活动时传递到挡块上的冲击力,从而保护升降套不会因为时长的冲撞到升降柱上下端的挡块而造成变形损坏的情况发生,从而能够保持升降套能够在升降柱上正常的进行上下活动,增加其使用的稳定性和使用安全性。

标签:
新能源
江苏 - 苏州 来源:中冶有色网 2023-03-18
具有漏电保护结构的新能源汽车地面充电线束

本实用新型公开了一种具有漏电保护结构的新能源汽车地面充电线束,包括线体和聚氯乙烯层,聚氯乙烯层,其设置于所述线体外表面;铜线编织层,其设置于所述聚氯乙烯层内层;耐火纤维层,其设置于所述铜线编织层内层;绝缘体,其设置于所述耐火纤维层内层;填充塑胶,其设置于所述绝缘体内层。该具有漏电保护结构的新能源汽车地面充电线束,设置的耐火纤维层可进一步提高线束的耐火性能,确保在发生火灾时不会破坏线束内部结构,且其内层设置的绝缘体可保证线束的绝缘性能,避免漏电现象出现,而设置的漏电保护器能够有效确保线束的安全性,在充电线束充电的过程中,如发生电路漏电情况,可自动切断电路,以保护充电安全。

标签:
新能源
江苏 - 苏州 来源:中冶有色网 2023-03-18
新能源车用隔热垫
新能源车用隔热垫 970     
 0

本实用新型公开了一种新能源车用隔热垫,所述隔热垫包括本体,所述本体包括相对设置的玻纤布层和隔热层,所述玻纤布层和隔热层之间通过粘胶层粘合,所述玻纤布层由多根玻璃纤维经纱和多根玻璃纤维纬纱沉浮交织而成,所述隔热层包括金属层;所述本体上设置有多个暗扣,所述本体通过暗扣卡扣固定形成用于包裹车用配件的腔体,其中,所述玻纤布层与车用配件接触,所述隔热层远离车用配件。本实用新型提供的新能源车用隔热垫,玻纤布层耐老化,耐磨损,隔热层起到隔热作用,阻隔外部热量进入车用配件,增加冷却效果,延长车用配件使用寿命;成本低,结构简单,操作方便。

标签:
新能源
江苏 - 苏州 来源:中冶有色网 2023-03-18
新能源汽车车门骨架加工用弯曲装置

本实用新型公开了一种新能源汽车车门骨架加工用弯曲装置,包括基座、压槽和夹持架,所述基座为长方体结构且底端面上矩形阵列有多组支腿,所述基座的上表面开设有压槽,所述压槽的一侧内壁上开设有活动槽,所述活动槽的内部活动连接有压板,所述压板的外壁上等间距开设有多组安装孔,所述压槽的旁侧设有旋转座,所述旋转座内部活动连接有旋转杆,所述旋转杆远离旋转座的一端设有夹持架,所述夹持架朝向基座的一端设有连接座,所述连接座朝向基座的一端安装有两组夹板,所述基座的外壁上设有输料架,所述输料架的内部开设有输料槽。该新能源汽车车门骨架加工用弯曲装置,便于作业人员进行使用,有效的提升了该装置的折弯效率。

标签:
新能源
江苏 - 苏州 来源:中冶有色网 2023-03-18
新能源汽车采样组件FPC线路板压合装置的中治具

一种新能源汽车采样组件FPC线路板压合装置的中治具,包括中间固定板,在中间固定板上底面上设有中间治具上升温加热件、中间治具上高温加热件和中间治具上循环冷却件,在中治具上升温加热件与中治具上高温加热件之间设有中治具第一间隙;在中治具上高温加热件与中治具上循环冷却件之间设有中治具第二间隙,在中间固定板的下底面上从前至后依次设有中间治具下升温加热件、中间治具下高温加热件和中间治具下循环冷却件,在中治具下升温加热件与中治具下高温加热件之间设有中治具第三间隙;在中治具下高温加热件与中治具下循环冷却件之间设有中治具第四间隙。使用了本实用新型的压合装置具有可以大规模批量,连续压合的新能源汽车采样组件FPC线路板的优点。

标签:
新能源
江苏 - 苏州 来源:中冶有色网 2023-03-18
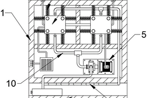
新能源电池模组
新能源电池模组 1100     
 0

本实用新型公开一种新能源电池模组,包括壳体和位于壳体内的电芯组,此电芯组进一步包括若干个依次并排设置的电芯,相邻的电芯之间通过铜排连接,所述壳体进一步包括2个端板和2个分别与2个端板两端连接的侧板;所述侧板进一步包括铝基板和位于铝基板两侧的绝缘层、导热硅胶垫层,所述侧板中的绝缘层与电芯组粘接连接。本实用新型新能源电池模组可以将电芯过流产生的热量快速传递出去,平衡电芯的温度、保持电池模组内部温度的稳定在较低的区间内,提高电池模组使用的安全性。

标签:
新能源
江苏 - 苏州 来源:中冶有色网 2023-03-18
新能源汽车电池支架焊接定位工装

本实用新型公开了一种新能源汽车电池支架焊接定位工装,包括底板,所述底板的上表面固定连接有垫板,所述垫板的侧面固定连接有固定板,所述固定板的背面固定连接有隔板,所述固定板的上表面插接有插板,所述插板的上表面固定连接有顶板,所述顶板的下表面固定连接有缓冲板,所述隔板的正面嵌设有滑轨。该新能源汽车电池支架焊接定位工装,通过设置活动板,使活动板的正背面通过连接杆与两个隔板的相对面的滑轨滑动连接,通过转动螺纹杆,使活动板可以横向移动并对电池的两侧进行定位固定,再通过垫板表面的倒T字形板和顶板下表面的缓冲板对电池的上下表面进行定位固定,从而达到便于对该新能源汽车电池支架内部的电池进行定位固定的效果。

标签:
新能源
江苏 - 苏州 来源:中冶有色网 2023-03-18
上一页 89 90 91 92 93 ... 99 下一页
共99页    到第

中冶有色为您提供最新的江苏苏州有色金属新能源材料技术理论与应用信息,涵盖发明专利、权利要求、说明书、技术领域、背景技术、实用新型内容及具体实施方式等有色技术内容。打造最具专业性的有色金属技术理论与应用平台!

全国热门有色金属设备推荐
展开更多 +
全国热门有色金属技术推荐
展开更多 +

 

江西省隆恩特环保设备有限公司
宣传

报名参会
更多+

报告下载

有色专家
更多+

江西理工大学
副校长
鞍钢集团有限公司
中国工程院院士
西安建筑科技大学
教授
中南大学
院长/教授
红河学院
研究员
赤泥综合利用研究报告2025
推广

热门技术
更多+

推荐企业
更多+

福建省金龙稀土股份有限公司
宣传

发布

在线客服

公众号

电话

顶部
咨询电话:
010-88793500-807