青岛垚鑫智能科技有限公司
宣传

位置:中冶有色 >

有色技术频道 >

> 固/危废处置技术

分类:
全部
矿山技术
冶金技术
材料制备及加工技术
环境保护技术
分析检测技术
 
全部
废水处理技术
大气治理技术
固/危废处置技术
土壤修复技术
地区:
全部
北京
天津
上海
重庆
河北
山西
辽宁
吉林
黑龙江
江苏
浙江
安徽
福建
江西
山东
河南
湖北
湖南
广东
海南
四川
贵州
云南
陕西
甘肃
青海
内蒙
广西
西藏
宁夏
新疆
其他
其他
展开
 
全部
南京
无锡
徐州
常州
苏州
南通
连云港
淮安
盐城
扬州
镇江
泰州
宿迁

江苏苏州有色金属固/危废处置技术理论与应用

免费发布技术信息>>
含锌铁固废的高值化处理方法

本发明公开了一种含锌铁固废的高值化处理方法,属于金属回收利用技术领域。其包括步骤如下:将含锌铁固废进行水洗、过滤、干燥、研磨得到水洗样;将水洗样加入到氯化胆碱‑二水合草酸低共熔溶剂中,加热搅拌至溶液澄清,静置溶液;取静置后的溶液的上层清液加入到去离子水中,经水解后过滤得到滤液和滤渣,将滤渣干燥、焙烧得到纳米氧化锌;将滤液经静置、过滤、干燥、焙烧得到纳米氧化铁。本发明能够从含锌铁固废中高效的分离出氧化锌与氧化铁,并在不添加表明活性剂的情况下制备出纳米氧化锌及纳米氧化铁。

标签:
固废
江苏 - 苏州 来源:中冶有色网 2023-03-19
硅钙基固废协同矿化制备建材制品的方法及其应用

本发明涉及专利IPC分类的C04B28/00领域,尤其涉及一种硅钙基固废协同矿化制备建材制品的方法及其应用。所述方法通过利用硅钙基固废作为基础材料,并且调整硅钙基固废中活性钙成分的含量,调控基础材料的矿化活性,控制体系内矿化反应的程度,利用矿化反应产生的热量提高体系温度,达到水热反应所需温度,使体系内既能进行矿化反应,也能进行水热反应。本申请的方法,充分利用固废中硅酸二钙及硅酸三钙固定二氧化碳时产生的大量反应热,协同制备出固碳性能良好且物理性能优异的建材制品,极大降低了固废处置成本,有利于该工艺在各高碳排放行业的推广及应用。

标签:
固废
江苏 - 苏州 来源:中冶有色网 2023-03-19
有机固废气化-焚烧烟气撬装式净化装备及方法

本发明公开了有机固废气化‑焚烧烟气撬装式净化装备及方法,涉及烟气除尘净化技术领域。该撬装式一体化装备将烟气净化的处理单元以模块化的形式集中在集装箱中,包括耐高温过滤模块、活性炭吸附模块、两级喷淋模块、尾气排放模块等。有机固废气化烟气由进气口进入净化装备后,依次经过耐高温过滤模块、活性炭吸附模块和两级喷淋装置进行烟气除尘净化,最后从烟囱风管排出。本发明的优点在于撬装式处理设备灵活机动,适用于有机固废分布式或分散性的就地热解气化处理或应急处理的烟气净化;各处理单元以模块化形式组装在集装箱内,便于安装、维护、检修以及耗材更换;撬装式设备还具备投资成本低、运行维护成本低、操作简单等优点。

标签:
固废
江苏 - 苏州 来源:中冶有色网 2023-03-19
基于电厂固废和二氧化碳的建筑制品的制备方法和用途

本发明公开了一种基于电厂固废和二氧化碳的建筑制品的制备方法和用途。本发明的基于电厂固废和二氧化碳的建筑制品的制备方法,包括如下步骤:1)拌合物的制备:以电厂固废为主要原料搅拌成拌合物;2)即刻脱模制品的制备:将步骤1)得到的拌合物压制成型得到即刻脱模制品;3)即刻脱模制品的胶凝和硬化:将步骤2)得到的即刻脱模制品经初始水化和快速碳化而胶凝硬化,得到所述建筑制品。本发明通过融合电厂固废转化和二氧化碳利用为一体的方式解决固废和碳排放的问题,并在不产生二次固废的情况下将以粉煤灰为主的电厂固废完全转化为新型清洁建材制品,以降低固废和碳排放的环境影响并同时减少传统水泥基材料的消耗。

标签:
固废
江苏 - 苏州 来源:中冶有色网 2023-03-19
湿固废装袋后储存在筒仓内的干化方法

本发明涉及一种湿固废装袋后储存在筒仓内的干化方法,是属于环境工程领域。所述固废是指:污泥、餐厨垃圾和畜禽粪便。将含水量约80%的固废装入编织袋中,置入大型筒仓内密封储存,给予足够长的厌氧发酵周期使固废中的含水量下降至60%以下。本干化技术的优越性:第一是投资小:单位建设投资5(万元/吨·日);运营费80(元/吨)。第二是运营简单:每天的运营操作基本就是进料和出料,工序非常简单。第三是环境效益好:由于是采用全封闭厌氧发酵,沼气收集后或利用或点火焚烧,无臭气排放。第四是以污治污:外引高浓度有机污水利用筒仓内存储量巨大的袋装固废作为生物发酵床,在生产大量沼气的同时,消灭高浓度有机污水,零排放。

标签:
固废
江苏 - 苏州 来源:中冶有色网 2023-03-19
含铁含锌固废物回收利用的方法

本发明提出了一种含铁含锌固废物回收利用的方法,涉及金属固废处理及资源利用领域。一种含铁含锌固废物回收利用的方法,包括以下步骤:将含铁含锌固废物先进行冶炼,得到氧化锌烟气和窑渣;将窑渣进行破碎后再进行一段球磨和一段磁选,得到尾矿1和一段精矿;将一段精矿进行浓缩磁选、二段球磨和二段磁选,得到尾矿2和二段精矿;将二段精矿进行重选,分离出重选尾矿和重选精矿;将重选尾矿进行三段磁选,得到尾矿3和三段精矿,将三段精矿进行过滤后得到铁精粉;将重选精矿进行过滤、烘干和分级,得到低品位还原铁粉和高品位还原铁粉。本发明提高了锌元素和铁元素的提取率,实现了经济效益的最大化。

标签:
固废
江苏 - 苏州 来源:中冶有色网 2023-03-19
微型固废收集管理系统

本发明涉及固废回收技术领域,且公开了一种微型固废收集管理系统,包括环保管家管理平台、环保公司、现场库房、电子识别标记机制、治理企业,所述环保管家管理平台的内部设置有客户端应用程序和运输端应用程序,所述客户端应用程序的内部设置有统计和记录功能,所述运输端应用程序的内部设置有接收单据以及发送运输申请功能。本发明通过固废的收集,转运,处理的一条龙的平台登记和服务,继而对小型的固废危废产生企业产生的固废进行处理,实现集中收集存储、单一信息标志、快速安全运输、环保有效治理,最终实现以环保为主体的一条龙解决方案,进一步降低小型的固废危废产生企业对环境的危害性。

标签:
固废
江苏 - 苏州 来源:中冶有色网 2023-03-19
建筑固废再生水泥混合材

本发明涉建筑固废再生水泥及技术领域,尤其为一种建筑固废再生水泥混合材,包括以下步骤:S1,建筑固废破碎预处理;S2,破碎;S3,成分分析;S4,烘干;S5,研磨筛分;S6,加入混合,强度测定,通过建筑固废的产生数量巨大,在水泥生产中得到充分应用,将进一步实现节能降耗,即消除了废物,又降低了对环境的污染,节约了耕地,建筑垃圾做水泥混合材和其他天然的或人工的的混合材相比具有在城市边来源广,价格也有优势,性能方面较非活性混合材的石灰石、砂岩、河沙等活性高,可部分代替其他混合材;使用后可以降低水泥的成本,减少污染,具有很好的经济效益和社会效益有很好的推广价值。

标签:
固废
江苏 - 苏州 来源:中冶有色网 2023-03-19
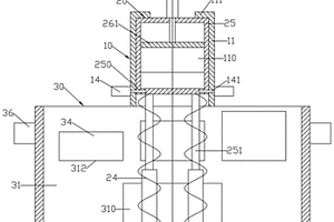
固废分离设备的清理装置及清理系统

本发明涉及的一种固废分离设备的清理装置及清理系统,所述固废分离设备的清理装置包括机架、驱动单元以及连接于所述机架的至少一个清理单元,所述清理单元包括联动件、连接于所述联动件上的切割刀组与刮刀组,所述联动件受外力作用时,所述切割刀组与所述刮刀组朝相反方向运动。通过上述设置,可解决目前固废分离设备运行时筛轴易被柔性固废缠绕而人工清理筛轴安全隐患大、工作量大且效率低的问题。

标签:
固废
江苏 - 苏州 来源:中冶有色网 2023-03-19
发电厂用固废处理设备

本发明涉及发电厂环保设备领域,具体公开了一种发电厂用固废处理设备,包括粉碎箱与进料口,粉碎箱左侧安装有电机,电机输出端与设置在粉碎箱内部的驱动机构连接,驱动机构包括第一传动轴,第一传动轴一端固定套设有驱动齿轮,驱动齿轮下端设有从动齿轮,从动齿轮轴心处设有用于安装搅动部的第二传动轴,第一传动轴一端设有多个粉碎部。本发明通过电机驱动第一传动轴来带动多个粉碎部对固废进行粉碎,同时配合第二传动轴及其上的搅动部对粉碎箱底部的物料进行搅动,解决了现有的发电厂用固废处理设备在粉碎固废时因固废易堆积在底部而无法得到充分粉碎的问题,从而有利于提高粉碎效果。

标签:
固废
江苏 - 苏州 来源:中冶有色网 2023-03-19
利用大宗固废快速固定二氧化碳的方法及其应用

本发明涉及二氧化碳利用及废弃物处理利用领域,具体涉及B01D53/62,更具体涉及一种利用大宗固废快速固定二氧化碳的方法及其应用。利用大宗固废快速固定二氧化碳的方法,包括:将大宗固废的水混合物置于模具中成型,成型体与混合气在0.05‑2.3MPa,10‑130℃反应。本发明利用大宗固废高效固定烟气中二氧化碳的方法,通过调控矿化温度和压力,从而充分利用烟气中的水蒸气,得到最佳环境湿度,进而加快矿化反应速度,提高工业烟气中二氧化碳的利用率,生成高强度的建材制品。

标签:
固废
江苏 - 苏州 来源:中冶有色网 2023-03-19
固废物再利用装置
固废物再利用装置 929     
 0

本实用新型公开了一种固废物再利用装置,包括压缩框体,压缩框体内开设有压料槽,压缩框体的两侧板上开设有若干排液孔,压缩框体的底部开设有通孔,通孔内滑动连接有推拉板,压缩框体的上方设置有固接在外顶部的液压机,液压机的输出端连接有压板,压板滑动于压料槽内,压缩框体的两侧均固接有位于排液孔下方的导流板,压缩框体的底部固接有电机,电机的输出端通过联轴器连接有驱动齿轮。本实用新型通过压板对固废物压缩,压缩时固废物中的液体会通过排液孔排出,然后通过导流板流至外部,达到处理液体的效果,压缩后电机驱动,通过驱动齿轮带动第二齿轮转动,进而通过第一齿条带动推拉板移动,将推拉板上的固废物块移出,达到便于下料的效果。

标签:
固废
江苏 - 苏州 来源:中冶有色网 2023-03-19
废料回收型工业固废打包机

本实用新型涉及一种废料回收型工业固废打包机,包括;机体;承载于所述机体用于筛分回收磁性金属的回收机构,所述回收机构包括:转动式装配于所述机体且倾斜设置的筛板、开设于所述机体且位于筛板向下一侧的出口、设置于所述筛板的电磁组件、以及设置于所述机体用于驱动筛板转动的转动驱动组件,所述筛板为顺磁性物质;设置于所述筛板机体用于挤压废料打包的打包机构。通过上述设置,使得固废打包机具有能够回收固废中磁性物质的优点,减小了资源浪费。

标签:
固废
江苏 - 苏州 来源:中冶有色网 2023-03-19
利用硅钙基固废固定二氧化碳的方法及其应用

本发明涉及烟气治理和建筑材料领域,尤其涉及一种利用硅钙基固废固定二氧化碳的方法及其应用。所述利用硅钙基固废固定二氧化碳的方法,通过控制反应釜中的坯体填充,使体系内矿化反应产生的热量达到水热反应所需条件,使体系内既能进行矿化反应,也能进行水热反应。本申请中的方法,能够充分利用固废中硅酸二钙及硅酸三钙固定二氧化碳时产生的大量反应热,协同制备出固碳性能良好且物理性能优异的建材制品,极大降低了固废处置成本,并且无需外加热源,通过反应热量提升环境温度,进而提升矿化效率的方法。

标签:
固废
江苏 - 苏州 来源:中冶有色网 2023-03-19
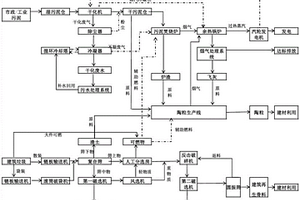
固废资源化利用中心
固废资源化利用中心 921     
 0

本发明揭示了一种固废资源化利用中心,所述固废资源化利用中心包括污泥处理工艺、建筑垃圾处理工艺和陶粒生产线,所述污泥处理工艺提供污泥焚烧炉,所述建筑垃圾处理工艺筛分出可燃物和建筑渣土,所述陶粒生产线提供陶粒回转窑,可燃物为所述污泥焚烧炉和/或陶粒回转窑提供燃料,所述建筑渣土和所述污泥焚烧炉产生的灰渣作为陶粒回转窑的原材料,以使所述陶粒回转窑生产出陶粒。本发明实现了固废资源化利用中心内的资源共享,形成一体化项目群,既能解决环境问题,又能实现污泥与建筑垃圾等固废的资源化利用。

标签:
固废
江苏 - 苏州 来源:中冶有色网 2023-03-19
多种体积的固废挤压处理装置

本发明公开了一种多种体积的固废挤压处理装置,支架包括上下开口的矩形框状的进料支撑框;进料限位装置包括前后开口的矩形框状的固废放置框和支撑底块;支撑底块固定在进料支撑框的正下方并且固废放置框升降设置在支撑底块的上侧;固废放置框的左右侧壁上部之间升降设置有上限位板;前后挤压装置包括上下开口的矩形框状的左右移动框;左右移动框的内腔的前后侧壁分别与进料支撑框的内腔的前后侧壁平齐;左右移动框左右移动设置在进料支撑框的下侧;后安置槽内设置有挤压板并且挤压板前后移动设置;前出料孔内设置有前阻挡板并且前阻挡板前后移动设置。本发明结构简单,可以把固废挤压呈不同体积的压缩块。

标签:
固废
江苏 - 苏州 来源:中冶有色网 2023-03-19
废水处理用纤维类固废物过滤装置

本发明中公开了一种废水处理用纤维类固废物过滤装置,涉及环保技术领域;为了解决过滤处理时纤维丝线容易附着在过滤介质的表面,造成网孔的堵塞影响废水的处理效率问题;具体包括底座,所述底座的顶部固定安装有预处理箱和后处理箱,且预处理箱和后处理箱之间相互连通,所述预处理箱的顶部固定安装有进液管,且后处理箱的端部固定安装有排液管。本发明通过旋转的刮料板在过滤网兜内部进行旋转,进而通过刮料板将内壁截留的固废物进行刮落,接触小部分水流将固废物抽吸排出装置内部,达到废水与固废物之间的分离,在过滤的同时对过滤网兜表面进行清洁,进而延长装置对于废水过滤处理的时间,提高对废水处理的效率。

标签:
固废
江苏 - 苏州 来源:中冶有色网 2023-03-19
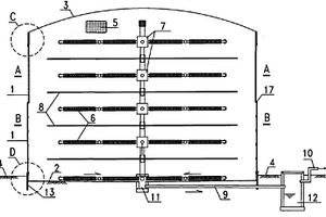
固废的干化方法及筒仓
固废的干化方法及筒仓 1069     
 0

本发明一种固废的干化方法及筒仓是为固废焚烧前做预处理,属环境工程领域。生活常理告诉我们:水火不相容。然而现有的垃圾焚烧炉却都在焚烧含水量很高的湿垃圾,这显然违背了科学常理。本发明是一种可以大规模、低成本获取干化垃圾的新技术。垃圾干化的运营费主要是进料和出料,垃圾的腐熟和干化都是由“自然”来完成,故每吨垃圾仅需花费15元,就可以将含水量约60%的湿垃圾干化至含水量低于20%。相比现行污泥的干化费用,每吨需花费300~500元。垃圾干化后再焚烧,效率将比现行焚烧湿垃圾提高5~10倍,获取热能也可大幅度提升。另外,干化垃圾燃烧更充分,可维持高炉温,故烟气排放造成的二噁英污染也会大幅度减小。

标签:
固废
江苏 - 苏州 来源:中冶有色网 2023-03-19
用于固废破碎的制氮装置

本实用新型涉及固废破碎技术领域,且公开了一种用于固废破碎的制氮装置,包括制氮装置本体,所述制氮装置本体的底端固定安装有安装板,所述安装板的底端四周均固定安装有万向轮,所述安装板的底端两侧均固定安装有提升气缸。该用于固废破碎的制氮装置,通过设置联动装置以及联动装置内部的结构,使得在进行固废破碎的制氮通氮时,可以通过联动装置将制氮装置本体与固废破碎装置进行连接,使得固废破碎的破碎轴在进行转动时,能够同步带动连接轴进行转动,从而带动制氮装置本体进行出氮,从而实现固废破碎装置与制氮装置本体之间的联动,从而实现实时通氮,具备可实时通氮等优点,解决了现有的无法实时通氮的问题。

标签:
固废
江苏 - 苏州 来源:中冶有色网 2023-03-19
固废检测分类装置
固废检测分类装置 744     
 0

本实用新型公开了一种固废检测分类装置,涉及矿业垃圾分类技术领域,具体为一种固废检测分类装置,包括安装机架,所述安装机架的内部固定安装有中部安装环架,且中部安装环架的顶部活动安装有筛分板,所述筛分板底部的四角固定安装有导向杆,且导向杆的外部活动套装有压缩弹簧,所述中部安装环架的顶部固定安装有一组安装立板。该固废检测分类装置,将固废矿石沿放料斗导入筛分板顶部,通过第一驱动电机带动传动轴以及偏心轮转动,通过与筛分板底部的压缩弹簧进行配合,带动筛分板进行振动,即可对体积不同的固废矿石进行筛分,并通过第一输送带与第二输送带进行输送,后续不需对所有固废矿石进行处理,降低了能源的消耗。

标签:
固废
江苏 - 苏州 来源:中冶有色网 2023-03-19
高效工业固废清运系统
高效工业固废清运系统 1110     
 0

本实用新型公开了一种高效工业固废清运系统,包括箱体,箱体的一侧设置有两个握把,两个箱门设置在箱体的另一侧,箱体的底端设置有夹层,夹层的内部设置有铲物板,铲物板正面的一侧设置有定位组件,夹层底端的四角分别设置有两个第一固定件和两个第二固定件,两个第一固定件的底部分别设置有电推杆,两个第二固定件的底部分别设置有圆柱支腿;本实用新型利用电推杆和铲物板的设计,在工人需要将固废清运时候,可以通过拉出铲物板,调动电推杆的高度,推动箱体,即可将固废铲入箱体内部,收集一定量的固废后,将箱门关闭,收回铲物板,调动电推杆的高度恢复至原高度,从而完成固废的快速清运,实现节省了人力的效果。

标签:
固废
江苏 - 苏州 来源:中冶有色网 2023-03-19
对锂电池厂中固废污泥的处理和利用方法

本发明涉及污泥处理技术领域,具体是指一种对锂电池厂中固废污泥的处理和利用方法,包括以下步骤,(1)在固废污泥中用液体稀释到含水率达到50%~60%。(2)在固废污泥中加入还原剂。所述还原剂包括石灰、木炭、焦炭、石墨、煤,优选的是石灰。(3)将污泥和还原剂充分搅拌。污泥和还原剂在搅拌池中进行充分搅拌。(4)在950~1250℃的温度下保温1~12h,经过干燥、粉碎、筛选成为粉状物。(5)将搅拌之后的固废污泥和石灰磨成粉末。保护环境,使得固废污泥得到了处理和充分的利用,利于可持续发展。

标签:
固废
江苏 - 苏州 来源:中冶有色网 2023-03-19
利用工业固废制备的高性能保温抹面砂浆及其制备方法

本发明公开了一种利用工业固废制备的高性能保温抹面砂浆及其制备方法其组分包括:工业固废、水泥、天然砂、膨胀珍珠岩、抗裂纤维、分散溶胶、纤维素醚和外加剂;工业固废为钼尾矿砂、钢渣砂、磷石膏、赤泥、矿渣和粉煤灰中的任意多种;分散溶胶组分包括硅藻土、乙烯‑醋酸乙烯共聚物、甲基丙烯酸甲酯、钛酸酯偶联剂和异丙苯过氧化氢;纤维素醚为羟丙基甲基纤维素醚,外加剂为水玻璃、淀粉醚和聚羧酸类高效减水剂。本发明制备的抹面砂浆适用于膨胀聚苯板外墙外保温系统中。本发明不仅能大量消耗危害环境的工业固废,减轻环境自修复压力,而且制备的砂浆具有良好的力学性能、耐久性能和保温能力。

标签:
固废
江苏 - 苏州 来源:中冶有色网 2023-03-19
环保用固废污染监测设备

本实用新型公开了一种环保用固废污染监测设备,包括数据显示面板、空气质量检测罩、吸气罩、立柱、水质探测杆和夹紧机构,所述立柱的两侧通过铰接架设有两个水质探测杆,所述水质探测杆的一端设有水质检测探头,且水质检测探头伸入在固废池的池底,所述立柱的底端设在安装座上,且安装座通过夹紧机构固定在固废池的顶部边框上,所述吸气罩的顶部一侧设有空气质量检测罩。该实用新型设有两个可侧向角度调节的水质探测杆,在水质探测杆的一端设有水质检测探头,使其可以对固废内产生的污水进行监测,同时在固废池的上方设有吸气罩,在吸气罩的顶部一侧设有空气质量检测罩,通过其可以对固废池内产生的废气进行实时吸收。

标签:
固废
江苏 - 苏州 来源:中冶有色网 2023-03-19
固废资源回收筛分前均料装置

本实用新型涉及了固废资源回收筛分前均料装置。固废资源回收筛分前均料装置,它包括机架;所述机架上通过带座轴承安装有耙料滚筒;所述耙料滚筒的上方机架上装有与耙料滚筒配合使用的上耙料机组件;所述耙料滚筒的下方机架上装有与耙料滚筒配合使用的下耙料机组件;所述耙料滚筒的左侧的机架内设置有导料架;所述耙料滚筒的左侧的机架内还设置有减速电机,用于驱动耙料滚筒。本实用新型的固废资源回收筛分前均料装置,有效的对成团的固废资源回收进行耙散,固废资源回收被耙散后可通过安装在本装置下方的回收分选线上,能使物料散开,提高后续设备的分选效率,还可减少环境污染。

标签:
固废
江苏 - 苏州 来源:中冶有色网 2023-03-19
利用建筑固废制作混凝土的方法

本发明涉及一种利用建筑固废制作混凝土的方法,采用了一种赶压装置,包括底部机架、支撑柱、竖直机架、滚压机构以及筛分机构,本发明可以解决以下难题:a传统的建筑固废在处理过程中,由于建筑固废规格大小的不同,很难实现对不同规格大小的建筑固废进行同步处理,且传统的建筑固废处理时,由于赶压不充分,可能导致石子上仍然混合有水泥砂浆,从而在使用时会导致掺水量增加,影响混凝土的强度;b传统的建筑固废在处理过程后由于水泥砂浆和石子仍然掺杂在一起,若不进行筛分处理,影响石子的进一步表面清洁处理,同时建筑固废由于体积较大可能在破碎处理过程中引起装置内部的堵塞。

标签:
固废
江苏 - 苏州 来源:中冶有色网 2023-03-19
可溯源可再生型固废资源回收商业模式

本发明公开了一种可溯源可再生型固废资源回收商业模式,利用固废可再生交易平台,通过固废回收网络对辖区内的社区和企业进行建档,并将回收固废输送至分拣中心形成处置固废,将建档信息和分拣信息反馈至数据处理系统,通过数据监控系统对回收固废建立台账集成实时信息,并对回收固废处理过程进行视频采集和备份,通过交易结算系统对回收固废开具进项发票并进行溯源验证,并对完成交易的处置固废开具销项发票并进行溯源验证,本发明通过将回收固废处理后形成处置固废,将处置固废交易或填埋后获取收益,可有效的解决固废回收可再生处理过程中,回收网点的小散脏乱、无证无序经营,固废无法溯源、无法追踪去向等痛点。

标签:
固废
江苏 - 苏州 来源:中冶有色网 2023-03-19
危险固体废弃物焚烧炉用清灰机构

本实用新型公开了一种危险固体废弃物焚烧炉用清灰机构,包括焚烧炉和炉排,所述炉排位于所述焚烧炉的内部,所述炉排两侧的中间位置处均固定安装有连接轴,所述焚烧炉内部两侧的侧壁上均设置有轴承,所述炉排通过所述连接轴和所述轴承活动安装在所述焚烧炉的内部,所述焚烧炉一侧侧壁的下方设置有容纳槽,所述焚烧炉的内部活动安装有螺纹转轴,所述螺纹转轴的一端位于所述容纳槽的内部,所述螺纹转轴的底部设置有限位杆,所述限位杆上活动套接安装有限位滑套,所述螺纹转轴上螺纹套接安装有内螺纹套,所述内螺纹套的顶部固定安装有安装杆。本实用新型通过设置一系列的结构使得本装置具有便于对炉排以及焚烧炉的内壁进行清灰的特点。

标签:
固废
江苏 - 苏州 来源:中冶有色网 2023-03-19
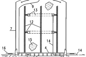
固体废物高效益厌氧发酵方法

本发明公开了固体废物高效益厌氧发酵方法,属于生活垃圾处理工程领域。本发明的要点是:不必为了缩短垃圾的厌氧腐熟周期而对原生垃圾采取分选、粉碎及强制搅拌等工序,这样做虽能获得沼气效益但代价过于昂贵,本发明提出一种具有“柔性仓体”特征的筒仓对垃圾进行长时间静态密封储存。其优越性有:1.原生垃圾直接进入筒仓密封储存,除经常喷淋污水外不必进行其它干预,运营成本很低;2.有足够长的腐熟周期可以确保垃圾彻底熟化,获得大量沼气,并且可以消耗大量外引污水,取得以污治污效果;3.筒仓内垃圾与外界环境完全隔绝,实现环境效益零污染;4.彻底腐熟垃圾非常有利于后续综合处理工艺,如机械分选、制作有机肥、制砖、焚烧等。

标签:
固废
江苏 - 苏州 来源:中冶有色网 2023-03-19
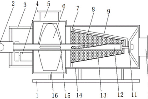
用于固体废弃物处理的节能高效风选机

本实用新型提供一种用于固体废弃物处理的节能高效风选机,包括沉降室、离心风机、进风通道、回风通道以及进料皮带机;沉降室包括重物质沉降腔和轻物质沉降腔,重物质沉降腔的右侧壁的底端设置进风口,轻物质沉降腔的后侧壁的左上端设置出风口,离心风机的出风端通过进风通道与进风口连通,离心风机的回风端通过回风通道与出风口连通;进料皮带机穿设进风口上方;重物质沉降腔与轻物质沉降腔相交处的下侧设置拨料滚筒;进风通道的左端包括主进风管和溢风管,主进风管与进风口连通,主进风管与溢风管的相交处设置风门调节器,通过风门调节器能够调整进风口处的风量。本实用新型能有效缩短风道长度,降低设备尺寸,减少气流压力损耗,提高风选效率。

标签:
固废
江苏 - 苏州 来源:中冶有色网 2023-03-19
上一页 75 76 77 78 79 ... 81 下一页
共81页    到第

中冶有色为您提供最新的江苏苏州有色金属固/危废处置技术理论与应用信息,涵盖发明专利、权利要求、说明书、技术领域、背景技术、实用新型内容及具体实施方式等有色技术内容。打造最具专业性的有色金属技术理论与应用平台!

全国热门有色金属设备推荐
展开更多 +
全国热门有色金属技术推荐
展开更多 +

 

江西省隆恩特环保设备有限公司
宣传

报名参会
更多+

报告下载

有色专家
更多+

有研科技集团有限公司
中国工程院 院士
广西大学
处长/教授
中国瑞林工程技术有限公司
中国工程院院士
重庆理工大学
教授
中铝检测科技(郑州)有限公司/国家轻金属质量检验检测中心
正高级工程师
赤泥综合利用研究报告2025
推广

热门技术
更多+

推荐企业
更多+

福建省金龙稀土股份有限公司
宣传

发布

在线客服

公众号

电话

顶部
咨询电话:
010-88793500-807