青岛垚鑫智能科技有限公司
宣传

位置:中冶有色 >

有色技术频道 >

> 加工技术

分类:
全部
矿山技术
冶金技术
材料制备及加工技术
环境保护技术
分析检测技术
 
全部
功能材料技术
复合材料技术
新能源材料技术
合金材料技术
加工技术
地区:
全部
北京
天津
上海
重庆
河北
山西
辽宁
吉林
黑龙江
江苏
浙江
安徽
福建
江西
山东
河南
湖北
湖南
广东
海南
四川
贵州
云南
陕西
甘肃
青海
内蒙
广西
西藏
宁夏
新疆
其他
其他
展开
 
全部
南宁
柳州
桂林
梧州
北海
崇左
来宾
贺州
玉林
百色
河池
钦州
防城港
贵港

广西有色金属加工技术理论与应用

免费发布技术信息>>
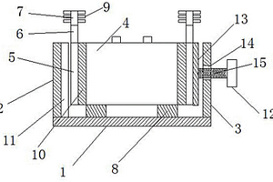
基于机器视觉的聚合物软包锂电池底角检测装置

本实用新型涉及一种基于机器视觉的聚合物软包锂电池底角检测装置,包括:图像采集装置、锂电池固定运输装置和主体结构,所述的图像采集装置、锂电池固定运输装置均位于主体结构上端,主体结构包括支柱、环形支撑座、圆形底板和L型连接件,所述的圆形底板下端对称设置有四个支柱,所述的圆形底板与环形支撑座之间通过L型连接件相连接图像采集装置包括CCD相机和支持架,所述的主体结构用于支撑本实用新型的装置,图像采集装置用于采集聚合物软包锂电池底角的图像供计算机识别、处理和判断。本实用新型解决了现有聚合物软包装锂电池底角需要人工肉眼检测、检测效率低等难题,实现了聚合物软包锂电池底角的自动检测功能。

标签:
加工技术
广西 - 南宁 来源:中冶有色网 2023-03-18
锂亚电池激活电路
锂亚电池激活电路 1016     
 0

本实用新型公开了一种锂亚电池激活电路,包括待激活锂亚电池、电压检测电路、控制电路和激活电路,所述待激活锂亚电池与电压检测电路连接,所述电压检测电路与控制电路连接,所述控制电路与激活电路连接。本实用新型能对不同型号钝化严重的锂亚电池进行激活,避免因存放较久的锂亚电池放不出电而误判为电池失效的现象。避免由于缺乏有效可视化检测而导致激活不足或激活时过度放电现象。

标签:
加工技术
广西 - 梧州 来源:中冶有色网 2023-03-18
硫/葡萄糖介孔碳球锂硫电池正极材料及其制备方法

本发明提供一种硫/葡萄糖介孔碳球锂硫电池正极材料及其制备方法,涉及锂硫电池技术领域,该方法包括制备葡萄糖碳球、制备葡萄糖介孔碳球以及制备锂硫电池正极材料;本发明首先将葡萄糖水热碳化形成葡萄糖碳球,接着采用化学活化法用ZnCl2对葡萄糖碳球进行刻蚀,合成葡萄糖介孔碳球,用融熔扩散法将葡萄糖介孔碳球与硫复合形成锂硫电池的正极导电骨架,具有有效阻隔、吸附多硫化物、提高活性物质利用率和抑制多硫化物的穿梭效应等效果,得到的硫/葡萄糖介孔碳球锂硫电池正极材料表现出卓越的长循环稳定性和杰出的倍率性能。

标签:
加工技术
广西 - 桂林 来源:中冶有色网 2023-03-18
长寿命动力锂电池及其制备方法

本发明涉及C01B,更具体地,本发明涉及一种长寿命动力锂电池及其制备方法。本发明提供一种锂电池,通过在负极或正极上添加负载锂的石墨烯,一方面通过石墨烯和导电剂构建可以快速传递锂离子的网络结构,实现锂离子在官能团上快速扩散跃迁,减少负极界面固态电解质膜膨胀破裂的发生和锂离子消耗的同时,另一方面通过控制粘结剂的种类和添加顺序,促进石墨烯和导电剂分散的同时,避免后续烘干过程中的聚集等问题,使得负极活性物质形成致密的粘结结构,减少长时间存储或工作时负极尺寸变化造成的寿命下降,以及外层石墨粉化脱落等,促进本发明电池的存储和循环寿命的增加,可用于更大充放电倍率。

标签:
加工技术
广西 - 柳州 来源:中冶有色网 2023-03-18
镁掺杂磷酸锰锂/碳复合纳米纤维的制备方法

本发明公开了一种镁掺杂磷酸锰锂/碳复合纳米纤维的制备方法。将无机盐、螯合剂、聚合物和蒸馏水按照一定的比例配制成均匀的静电纺丝液,并按照适宜的静电纺丝工艺制备磷酸锰锂前驱体/聚合物复合纳米纤维,通过惰性气氛下的高温热处理得到锂离子电池正极用镁掺杂磷酸锰锂/碳复合纳米纤维。本发明利用聚合物模板剂的作用制备镁掺杂磷酸锰锂纳米纤维,提高镁掺杂磷酸锰锂的锂离子扩散速率;聚合物纳米纤维高温热裂解生成具有高电子导电率和优异力学性能的碳纳米纤维,既可以提高材料的电子电导率,又可以防止镁掺杂磷酸锰锂因体积膨胀和收缩而脱落,提高循环性能,使复合纳米纤维兼备高电子和离子导电率,从而显著提高镁掺杂磷酸锰锂的电化学性能。

标签:
加工技术
广西 - 桂林 来源:中冶有色网 2023-03-18
基于数据驱动法的锂离子电池SOC在线预测方法

本发明公开一种基于数据驱动法的锂离子电池SOC在线预测方法,将低计算量的增量式支持向量机方法引入到相关向量机。IRVM算法的样本数据由相关向量和新的在线样本组成,由于相关向量机十分稀疏,即相关向量个数远小于初始样本集,所以在线训练的m值十分小,因此在线预测的速度快、效率高、存储空间及计算复杂度低,实现了对锂离子电池SOC的精确预测。本发明能够解决在线锂离子电池SOC的预测问题,有效克服了传统的增量式在线训练算法,需要在线保持原始训练样本集,这样随着在线样本数据的更新,在线数据集将逐渐增大,其结果是m值逐渐增大,从而导致存储空间和计算复杂度增大的问题。

标签:
加工技术
广西 - 桂林 来源:中冶有色网 2023-03-18
石墨烯锂电池材料及其制备方法

本发明公开了一种石墨烯锂电池材料及其制备方法,所述电池材料包括以下重量份数的原料:钛酸锂100份、石墨烯3‑6份、粘结剂0.5‑2份、稀土化合物0.5‑1.5份、分散剂2‑5份、消泡剂1‑3份和有机溶剂30‑50份。本发明制备的石墨烯锂电池,可将石墨烯与其他组分进行很好的混合分散,各组分的相容性好,电池具有电容量大、导电性能优异、使用寿命长、充电放电过程中不发热等优点,制备工艺简单、容易实现工业化生产,具有较好的经济效益和社会效益。

标签:
加工技术
广西 - 南宁 来源:中冶有色网 2023-03-18
高散热的石墨烯锂动力电池

本发明公开了一种高散热的石墨烯锂动力电池,包括滑轨,所述滑轨的顶部左右两侧分别固定安装有第一固定板和第二固定板,所述滑轨的顶部通过滑块与电池本体的底部左右两侧滑动连接,本发明,结构简单,操作方便,成本低,通过蒸发管段快速将电池本体散发的热量吸收,使得热空气通过绝热管段和冷凝管段进行冷却成水滴,提高冷却效率,进而使得高散热的石墨烯锂动力电池在充电中,散热效率迅速,从而及时帮助高散热的石墨烯锂动力电池降低产能时的热量,达到减少能量损失的目的,最终避免大量能量被浪费,同时也能减少热量对电池的损害,提高电池的使用寿命。

标签:
加工技术
广西 - 桂林 来源:中冶有色网 2023-03-18
掺杂柠檬酸的锂离子复合电极材料及其工艺

本发明是阐述一种掺杂柠檬酸的锂离子复合电极材料及其工艺。先取醋酸锂(CH3COOLi·2H2O,分析纯)、草酸亚铁(FeC2O4・2H2O,分析纯)、磷酸二氢铵(NH4H2PO4,分析纯)及Nd粉按照Li1‑xNdxFePO4的比例配料,并置于玛瑙罐中混合研磨,研磨至变成淡黄色的粉末,再加入柠檬酸,混合均匀,在惰性气体氛围保护下先在300‑400℃的条件下进行热处理一段时间,再在500‑550℃恒温热处理一段时间,所得产物在惰性气体氛围保护下自然冷却至室温,即得到一种掺杂柠檬酸的锂离子复合电极材料粉体。此方法工艺简单,生产成本低,制备的电极材料粉体导电及充放电性能好。

标签:
加工技术
广西 - 贺州 来源:中冶有色网 2023-03-18
晶面择优生长的单晶MoO3锂离子电池正极材料的制备方法

本发明公开了一种晶面择优生长的单晶MoO3锂离子电池正极材料的制备方法,其特征在于:将收集好的甘蔗渣用去离子水清洗,烘干,再将所得甘蔗渣模板放入1-10%的钼酸铵水溶液中浸渍,甘蔗渣和钼酸铵水溶液的重量比为1-7∶93-99,待模板完全浸透后取出,并于60℃烘干;再将干燥后的吸附有钼酸铵的甘蔗渣模板在空气气氛中,控制温度400-600℃,煅烧时间2-5小时,得到MoO3锂离子电池正极粉体材料。本发明方法简单、成本低、环保性好,制备的晶面择优生长的单晶MoO3,单晶及择优生长材料可提高材料的电导性及改善其循环稳定性,具有很好的经济效益和社会效益,绿色环保。

标签:
加工技术
广西 - 桂林 来源:中冶有色网 2023-03-18
锂离子电池负极材料及其制造方法

本发明涉及一种锂离子电池负极材料及其制造方法。所述锂离子电池负极材料,由以下质量百分比组分组成:水溶性粘剂3.0‑4.5%、氯化锡1.0‑1.5%、红磷5.0‑7.5%和余量的碳微粉;制备时,在水中加入水溶性粘结剂,获得浆料;加入碳微粉、氯化锡和红磷;加入可溶性铜盐,过滤、将沉淀干燥;在惰性气体保护下,热处理后冷却,冷却至200‑150℃,再在空气中冷却,制得锂离子电池负极材料。本发明将负极材料生产过程中产生的尾料和小于粒度要求的物料作为生产原料,提高了材料的利用率和附加值,通过二次成型工艺降低了改性碳微粉的比表面积,提高了粒度和振实密度等物理性能,使碳微粉的电化学性能优势得到发挥和提高,可以满足锂离子电池负极材料使用的要求。

标签:
加工技术
广西 - 桂林 来源:中冶有色网 2023-03-18
船用铝空气电池—锂离子电池混合动力系统

本实用新型公开了一种船用铝空气电池—锂离子电池混合动力系统,其特征是,包括充电控制单元和与充电控制单元连接的铝空气电池组及锂离子电池组,铝空气电池组和锂离子电池组均外接接热管理单元,其中铝空气电池组按照顺序设置连接的第一电磁阀及电解液供给泵与电解液储液罐连通,铝空气电池组还通过第二电磁阀2与回流液罐连通,铝空气电池组还按照顺序设置连接的第三电磁阀、清洗液循环泵与清洗液储液罐连通,电解液储液罐通过单吸泵与海水连通。这种系统能提高新能源船舶的续航里程,降低使用成本,同时又有着不受地点、时间限制的进行电能补充的特点,解决充电缓慢、充电时间长的问题,为新能源船舶领域提供良性动力。

标签:
加工技术
广西 - 桂林 来源:中冶有色网 2023-03-18
锂电池正极浆料的制备方法

本发明公开了一种锂电池正极浆料的制备方法,包括以下步骤:步骤一、制备合金,将合金粉碎得合金粉末,其中,所述合金含有的成分及质量百分比为:铬25%、铝18%、铁12%、铜9%、碳2%、硼1.5%、硅0.2%、钼0.15%、铈0.1%、银0.05%,余量为镍,合金粉末的颗粒粒径小于40μm;步骤二、将导电炭黑、粘结剂、钴酸锂、N‑甲基吡咯烷酮、步骤一中的合金粉末按质量比为15:45:35:80:5混合并搅拌,直至粘度为8000MPa.s时,停止搅拌,过200目筛,取筛下物,即为锂电池正极浆料。本发明具有提升电池的容量保持率的有益效果。

标签:
加工技术
广西 - 来宾 来源:中冶有色网 2023-03-18
电解液浸润性强的锂电池隔膜及其制备方法

本发明公开了一种电解液浸润性强的锂电池隔膜,包括位于中间层的中间隔膜和涂覆在中间隔膜表面的外隔膜,其中,所述中间隔膜包括以下重量份的组分:纤维素硝酸酯、纤维素乙酸酯、乙基纤维素、甲基四氢苯酐、羧甲基纤维素、聚丙烯酰胺、异氰酸酯、单氰铵、亚磷酸酯、亚麻油、二氧化硅、二氧化钛,所述外隔膜包括以下重量份的组分:丙烯酸乙酯、丙烯酸‑2‑乙基己酯、聚乙烯醇、羟丙基纤维素、聚二甲基硅油、环烷油、木质纤维素、十溴二苯乙烷、聚磷酸铵,还公开了一种电解液浸润性强的锂电池隔膜的制备方法。本发明的锂电池隔膜具有提高电解液浸润性能和拉伸强度的有益效果。

标签:
加工技术
广西 - 北海 来源:中冶有色网 2023-03-18
具有优良倍率性能和循环性能的磷酸铁锂的制备方法

本发明公开一种具有优良倍率性能和循环性能的磷酸铁锂的制备方法。(1)取0.2~0.7g锂源、1~2g铁盐、1~3g磷酸盐、0.01~0.05g氟离子掺杂源和0.3~0.8g碳源,加入无水乙醇30-60ml,超声,搅拌;(2)置于干燥箱中,60~80℃,干燥18~24小时;(3)研成粉末,于300~500℃、氩气保护下,烧结4~6个小时,冷却,再次研成粉末,于500~800℃、氩气保护下,烧结10~20个小时,冷却至室温,即得到LiFePO4-XFX,其中:x=0.01~0.1。本发明工艺简单,成本低廉,能够制备出结晶良好、晶粒细小、分布均匀的氟离子掺杂磷酸铁锂正极材料,材料电化学性能得到明显提高,且具有较高的充放电容量、良好的倍率性能和循环稳定性。

标签:
加工技术
广西 - 桂林 来源:中冶有色网 2023-03-18
二次球形镍钴锰酸锂前驱混合物的制备方法

本发明属于锂电池材料技术领域,公开了一种二次球形镍钴锰酸锂前驱混合物的制备方法,其包括原料预处理、湿法合成、反应后陈化及喷雾热解二次造粒的步骤。制得的产品为由多个一次纳米球形颗粒组成的微米级二次球形镍钴锰酸锂前驱混合物,该前驱混合物的中粒径为9~13μm、离子导电率为20~100μS/㎝及振实密度不小于2.00g/cm3。该制备方法具有投资较少、技术可靠、运行费用低等优点,具有良好的经济效益和市场推广价值。

标签:
加工技术
广西 - 崇左 来源:中冶有色网 2023-03-18
基于FER融合算法的锂电池SOC估算方法

本发明提供一种基于FER融合算法的锂电池SOC估算方法,包括以下步骤:1:初始化状态变量x0和均方误差P0;2:EKF算法先验估计xk‑和pk‑;3:如果实时样本数k小于等于训练样本数N,则在经验模型的基础上,使用FFRLS法进行参数辨识,求出该模型端电压yk的估计值,得到模型误差Ek;若实时样本数k大于训练样本数N,则利用经验模型得出的结果训练RVM,建立模型误差预测模型,输出模型误差Ek的预测值;4:计算增益矩阵Kk,若模型端电压误差Ek≤0.05,则观测噪声方差Rk=1,反之,Rk为无穷大;5:EKF算法后验估计xk+和Pk+;6:重复步骤2‑5,直到预测完成,输出SOC的预测值xk。本发明提高了锂电池SOC的估算精度,可为锂离子电池荷电状态SOC的预测与应用提供参考。

标签:
加工技术
广西 - 桂林 来源:中冶有色网 2023-03-18
锂盐生产过程中去除钠钾离子的方法

本发明公开了一种锂盐生产过程中去除钠钾离子的方法,先将锂辉石精矿经转化焙烧‑酸化焙烧后加水浸出,在一定温度和pH的条件下,本发明通过借用锂矿原有的铁,在锂矿酸浸得到含铁的硫酸锂溶液工序时,与溶液中的钾钠离子反应生成钾钠复合物沉淀,达到除去钾钠离子的目的。在没有额外增加工艺流程和原料的前提下,工艺简单效果显著。

标签:
加工技术
广西 - 钦州 来源:中冶有色网 2023-03-18
镁、钡活化磷酸铁锂正极材料

本发明的镁、钡活化磷酸铁锂正极材料,其化学通式可表述为:LiMgxBayFePO4,x=0.002-0.005,y=0.0003-0.003;其中Li、Mg、Ba、Fe、P的mol比为:1mol?Li∶0.002-0.005mol?Mg∶0.0003-0.003mol?Ba∶1mol?Fe∶1mol?P;由于掺杂少量取代镁、钡,有利于控制产物的形貌和粒径,获得稳定的磷酸铁锂化合物,其晶格得到了活化,提高了锂离子扩散系数,其首次放电容量达155.52mAh/g;其充放电平台相对锂电极电位为3.5V左右,初始放电容量超过164mAh/g,100次充放电循环后容量约衰减3.0%左右;与未掺杂的LiFePO4对照实施例相比,比容量和循环稳定性有较大的提高;由于钡的价格要比锂价格低百倍以上,生产成本可降十倍以上。

标签:
加工技术
广西 - 贺州 来源:中冶有色网 2023-03-18
纳米尖晶石型锰酸锂的制备方法

本发明涉及锂离子正极材料的制备,具体说为纳米尖晶石型锰酸锂的制备方法,其包括配制醋酸锂和醋酸锰混合溶液,向该混合溶液中加入间苯二酚,并搅拌,待间苯二酚完全溶解后加入甲醛溶液;再将上述溶液置于恒温水浴中反应形成凝胶;将凝胶置于烘箱中干燥后进行预烧结;再将预烧结的产物研磨后进行二次烧结;最后将二次烧结的产物研磨,得到纳米尖晶石锰酸锂。本发明以醋酸锂、醋酸锰、间苯二酚、甲醛为原料制备纳米尖晶石型锰酸锂,其间采用预烧结可提高产物的相纯度,经过二次烧结提高了材料的结晶性能、放电比容量和库仑效率;并通过合理的原料配比,提高了材料的电化学性能。

标签:
加工技术
广西 - 柳州 来源:中冶有色网 2023-03-18
铍、钡活化磷酸铁锂正极材料

本发明的铍、钡活化磷酸铁锂正极材料,其化学通式可表述为:LiBexBay?FePO4,x=0.00002-0.00005,y=0.0003-0.003;其中Li、Be、Ba、Fe、P的mol比为:1mol?Li∶0.000020.00005mol?Be∶0.0003-0.003mol?Ba∶1mol?Fe∶1mol?P;由于掺杂少量取代铍、钡,有利于控制产物的形貌和粒径,获得稳定的磷酸铁锂化合物,其晶格得到了活化,提高了锂离子扩散系数,其首次放电容量达160.52mAh/g;其充放电平台相对锂电极电位为3.5V左右,初始放电容量超过168mAh/g,100次充放电循环后容量约衰减1.2%左右;与未掺杂的LiFePO4对照实施例相比,比容量和循环稳定性有较大的提高。

标签:
加工技术
广西 - 贺州 来源:中冶有色网 2023-03-18
氧化铝包覆尖晶石锰酸锂正极材料及其制备方法

本发明公开了一种氧化铝包覆尖晶石锰酸锂正极材料及其制备方法。所述的方法包括以下步骤:1)取拟薄水铝石溶于去离子水中,加入溶胶剂形成凝胶液;2)取尖晶石锰酸锂加入到步骤1)所得的凝胶液中,混合均匀,得到悬浊液;控制拟薄水铝石的质量为尖晶石锰酸锂质量的0.5~6%;3)所得悬浊液烘干,得到前驱体粉末,所得前驱体粉末经烧结,即得到氧化铝包覆的尖晶石锰酸锂正极材料。本发明通过用拟薄水铝石对尖晶石锰酸锂正极材料进行表面改性,方法简单易操作、易于实现工业生产,且所得的正极材料具有较高的初始放电比容量和较好的容量保持率。

标签:
加工技术
广西 - 桂林 来源:中冶有色网 2023-03-18
锂离子电池材料及其制备方法

本发明公开了一种锂离子电池材料及其制备方法。该锂离子电池材料的组成为Li[Cu3-xLix][Ti3-xB1+x]O12,其中B为Nb或者Ta或者Sb,0.1≤x≤0.4。用醋酸锂和醋酸铜混合溶于乙二醇单甲醚中,制得溶液。以上面加入的醋酸铜为基准量取钛酸丁酯和乙醇铌或乙醇钽或乙醇锑溶于无水乙醇中,制得溶液。将前溶液滴入后溶液中,边滴入边搅拌,滴完后,再搅拌得到溶胶;加入去离子水稀释的乙醇,一边加入一边搅拌,得到凝胶。将此凝胶静置,热处理,即制得锂离子电池材料。该材料结构稳定,对CO2和水不敏感,降低了材料制备的温度,且作为锂离子导体材料,具有较高的电导率和稳定性,有望满足实际使用要求。

标签:
加工技术
广西 - 桂林 来源:中冶有色网 2023-03-18
锰酸锂液相包覆工艺
锰酸锂液相包覆工艺 1128     
 0

本发明涉及一种应用于锂离子电池正极材料锰酸锂的包覆工艺,特别是一种锰酸锂液相包覆工艺。该工艺先洗涤锰酸锂,加入水配制成锰酸锂悬浊液,然后配制氢氧化锂和氨水的混合碱溶液;配制硝酸铝溶液;在搅拌状态下同时将氢氧化锂与氨水的混合碱溶液和硝酸铝溶液加入至锰酸锂悬浊液中;滴加结束后,将溶液进行喷雾干燥;将喷雾干燥得到的混合料进行焙烧,焙烧温度为700~900℃,时间为9~11小时,随炉冷却;冷却后过200目标准筛,然后经中草药粉碎机粉碎,得到铝包覆的锰酸锂成品。该工艺简单,包覆均匀,可以显著降低锰酸锂与电解液的接触面积,减小锰元素在电解液中的溶解,提高了循环性能和高温性能。

标签:
加工技术
广西 - 崇左 来源:中冶有色网 2023-03-18
废旧磷酸铁锂电池与镍钴锰三元电池综合回收工艺

本发明公开了一种废旧磷酸铁锂电池与镍钴锰三元电池综合回收工艺,包括如下步骤:1)将磷酸铁锂电池和镍钴锰三元电池分别破碎、磁选后过筛,得到两种电池粉;2)将两种电池粉煅烧处理后得到混合粉料;3)将混合粉料进行酸浸反应,酸浸反应完成后加入氧化剂继续反应,反应完成后过滤得到磷铁石墨渣和含镍钴锰锂滤液;4)依次进行萃取处理、反萃取处理和再次萃取处理,而分离得到含镍沉淀、含锂溶液、含锰有机相及含钴水相;5)将磷铁石墨渣加入第二酸溶液进行反应,过滤得到石墨渣和磷酸铁溶液。本发明可达到资源充分回收利用,经济效益更高,且工艺流程简单,可自动化连续生产。

标签:
加工技术
广西 - 钦州 来源:中冶有色网 2023-03-18
锂离子电池正极材料和多元水溶胶的制备及使用方法

本发明提供一种锂离子电池正极材料和多元水溶胶的制备及使用方法,属于电池技术领域,正极材料的配方由镍钴铝酸锂/镍钴锰酸锂96.5‑99%、石墨烯0.07‑0.5%、碳纳米管0.03‑0.7%、改性抗碱CMC0.2‑0.8%和权利要求1的多元水溶胶0.7‑1.5%组成。本发明通过此多元水溶胶的使用,锂离子电池的正极材料制浆减少了使用PVDF粘结剂和NMP作为溶剂的安全风险和环境污染问题,每个电池节省0.2元的成本,并且能够提升生产效率15%以上,节省电费能耗减少35%以上。

标签:
加工技术
广西 - 钦州 来源:中冶有色网 2023-03-18
使用寿命长的锂离子动力电池及其制备方法

本发明公开了一种使用寿命长的锂离子动力电池,包括正极片和负极片;所述正极片包括正极集流体和设置在其表面的正极浆料;所述正极浆料包括:镍钴锰酸锂98.65‑99.18%;单壁碳纳米管0.02‑0.05%;聚偏氟乙烯0.8‑1.3%;所述负极片包括负极集流体和设置在其表面的负极浆料;所述负极浆料包括:石墨烯和石墨复合材料97‑97.4%;羧甲基纤维素钠1.3‑1.5%;丁苯橡胶1.3‑1.5%。该锂离子动力电池的安全性能高,针刺实验通过率高,热稳定增强;且充放电倍率大,重量比功率大,循环性能优,寿命长。本发明还公开了一种使用寿命长的锂离子动力电池的制备方法,流程简单,高效安全,可操作性强。

标签:
加工技术
广西 - 钦州 来源:中冶有色网 2023-03-18
锂离子电池正极材料及其制造方法

本发明涉及一种锂离子电池正极材料及其制造方法。所述锂离子电池正极材料,由以下质量百分比组分组成:添加剂8.0‑14.0%、稀土金属离子2.0‑5.0%和余量的正极活性材料;制备时,按比例称取正极活性材料、添加剂和稀土金属离子,并加入去离子水,获得浆料;将浆料涂敷在正极集电体上;进行干燥、压延,制得锂离子电池正极材料。本发明所制得锂离子电池正极材料用于锂离子电池具有更好的防过放性能;当电池过放时,因为有部分预留的锂存在,负极电位上升缓慢,不至于快速升到析铜电位,导致短路,从而起到防止或延缓过放的作用,本发明的锂离子电池正极材料能够明显提到锂离子电池的防过放性能。

标签:
加工技术
广西 - 桂林 来源:中冶有色网 2023-03-18
充电锂电池封装绝缘结构

本实用新型公开了一种充电锂电池封装绝缘结构,包括:充电锂电池主体,其具有正极与负极;壳体,其包括内壳与外壳,所述内壳收纳所述充电锂电池主体,所述内壳与所述充电锂电池主体的负极电连接且所述内壳的底部形成负极端,所述内壳的顶部包括自下至上的向内弯折的收紧部、向外延伸的收纳部、再次向内收敛的开口部,所述外壳套附于所述内壳外部并露出所述负极端;盖体,其具有一阶梯状凸台,所述盖体与所述充电锂电池主体的正极电连接且所述盖体的凸台形成正极端;绝缘封装组件,其包括封装垫圈、卷簧、缠绕卷圈、顶紧垫圈、盖帽。本实用新型能够降低电池发生外部短路的概率,具有较好的封装绝缘效果。

标签:
加工技术
广西 - 崇左 来源:中冶有色网 2023-03-18
基于单片机的锂电池充电控制电路

本实用新型公开的一种基于单片机的锂电池充电控制电路,包括电源电路、单片机模块、继电器电路、锂电池接口模块、A/D转换模块、显示模块、太阳能接口模块,电源电路输出端与单片机模块、继电器电路、锂电池接口、A/D转换模块、显示模块分别连接,单片机模块与继电器电路、锂电池接口模块、A/D转换模块、显示模块、太阳能接口模块分别连接,本系统采用模块化的“C”源代码和极紧凑的汇编代码;具有低成本的制造、支持多数电池类型、快速充电算法、可选的串行接口、充电参数易修改、片内EEPROM可用于存储电池信息等功能。

标签:
加工技术
广西 - 南宁 来源:中冶有色网 2023-03-18
上一页 49 50 51 52 53 ... 66 下一页
共66页    到第

中冶有色为您提供最新的广西有色金属加工技术理论与应用信息,涵盖发明专利、权利要求、说明书、技术领域、背景技术、实用新型内容及具体实施方式等有色技术内容。打造最具专业性的有色金属技术理论与应用平台!

全国热门有色金属设备推荐
展开更多 +
全国热门有色金属技术推荐
展开更多 +

 

江西省隆恩特环保设备有限公司
宣传

报名参会
更多+

报告下载

有色专家
更多+

东北大学
院长/教授
中南大学
中国工程院 院士
郑州大学
校长/党委书记
北京科技大学
主任/教授
江西理工大学
副校长/教授
赤泥综合利用研究报告2025
推广

热门技术
更多+

推荐企业
更多+

福建省金龙稀土股份有限公司
宣传

发布

在线客服

公众号

电话

顶部
咨询电话:
010-88793500-807