青岛垚鑫智能科技有限公司
宣传

位置:中冶有色 >

有色技术频道 >

> 新能源材料技术

分类:
全部
矿山技术
冶金技术
材料制备及加工技术
环境保护技术
分析检测技术
 
全部
功能材料技术
复合材料技术
新能源材料技术
合金材料技术
加工技术
地区:
全部
北京
天津
上海
重庆
河北
山西
辽宁
吉林
黑龙江
江苏
浙江
安徽
福建
江西
山东
河南
湖北
湖南
广东
海南
四川
贵州
云南
陕西
甘肃
青海
内蒙
广西
西藏
宁夏
新疆
其他
其他
展开
 
全部
成都
自贡
攀枝花
泸州
德阳
绵阳
广元
遂宁
内江
乐山
南充
眉山
宜宾
广安
达州
雅安
巴中
资阳
阿坝藏族羌族自治州
甘孜藏族自治州
凉山彝族自治州

四川绵阳有色金属新能源材料技术理论与应用

免费发布技术信息>>
新能源汽车后桥轮毂加工制造用钻孔机构

本实用新型公开了一种新能源汽车后桥轮毂加工制造用钻孔机构,包括:钻孔组件和主体组件,所述钻孔组件包括第一板体、第一通孔、第一电机、螺纹杆、第一固定板、放置板、凹槽、第二通孔、第一杆体、压板、第一弹簧、斜板、气缸、第二固定板、第二电机和钻头;所述第一板体的上表面开设有第一通孔,所述第一板体的上表面安装有第一电机。本实用新型只需将轮毂放置在放置板上,通过第一电机配合螺纹杆带动轮毂移动至钻孔位置,减少了工作人员的劳动强度,为工作人员提供了便利,同时在将轮毂移动至钻孔位置时,第一杆体推动斜板配合压板对轮毂进行挤压固定,不需要工作人员手动对轮毂进行固定,省时省力,从而提高了对轮毂钻孔加工的效率。

标签:
新能源
四川 - 绵阳 来源:中冶有色网 2023-03-18
新能源汽车用弯式出线直流充电插座

本实用新型公开了一种新能源汽车用弯式出线直流充电插座,包括一个插座壳体,所述插座壳体具有两个不在同一方向的出线口,所述插座壳体的底部设置有起可以开启的底盖,沿着插孔壳体的一个出线口方向设置有可压缩的金属套管,所述金属套管的一端具有通孔,沿着插座壳体的另一个出线口方向设置有插孔组件,所述插孔组件的一端穿过金属套管上的通孔与螺母连接,所述插孔组件与金属套管连通构成完整的导电体;本实用新型实现插座90°出线,避免大电缆弯折老化后出现的安全隐患;插座后盖设计,降低装配难度,提高生产效率,使得插座安装方便省时,节约人工成本,提高维修效率。

标签:
新能源
四川 - 绵阳 来源:中冶有色网 2023-03-18
免拆卸维护型新能源汽车配电盒

本实用新型公开了一种免拆卸维护型新能源汽车配电盒,属于配电盒技术领域,包括:底座、箱盖和多个翻盖,底座与箱盖可拆卸连接,多个翻盖铰接在箱盖上,并且,多个翻盖分别设置在配电盒外接铜排的接点位置,该配电盒可在不拧松上盖螺钉取开上盖的情况下快速对配电盒外接点进行维护,省时省力。

标签:
新能源
四川 - 绵阳 来源:中冶有色网 2023-03-18
易于装配的新能源水泵
易于装配的新能源水泵 1101     
 0

本发明公开了一种易于装配的新能源水泵,包括机壳、蜗壳、定子组件、转子组件和叶轮组件,机壳设置有第一容置空腔,蜗壳设置有第二容置空腔,蜗壳上设置有进水口和出水口,定子组件固定设置在第一容置空腔内,转子组件同轴设置在定子组件的内部,叶轮组件设置在第二容置空腔内,叶轮组件的进水端与蜗壳的进水口连通,叶轮组件的出水端与蜗壳的出水口连通;本发明通过将定子组件与外壳固定,然后通过蜗壳将叶轮组件和转子组件与定子组件和外壳固定,从而在安装的工程中,只需要将机壳和蜗壳连接,装配工艺简单,通过整流罩和陶瓷环的配合,对旋转转轴实现固定,装配错误率极低,且陶瓷环具有永不生锈和光滑耐磨的特性,大大的增加了使用寿命。

标签:
新能源
四川 - 绵阳 来源:中冶有色网 2023-03-18
新能源电动汽车充电用耐火环保软电缆

本实用新型公开了一种新能源电动汽车充电用耐火环保软电缆,包括:数据线缆,其由内而外依次分布有四个缆芯、包带层、第一屏蔽层、护套、第二屏蔽层;四个缆芯,每个缆芯由第二绝缘层包裹在第二导体上组成,缆芯之间,并与所述包带层之间设有第二填充物;三根电力传输线芯,其每根电力传输线芯由内而外由第一导体、云母层、第一绝缘层组成;电缆外壳,其包裹在数据线缆和三根电力传输线芯外部,电缆外壳由内而外依次排布有绕包层、第三屏蔽层、耐火层、外护层;电缆外壳与数据线缆和三根电力传输线芯之间设有第一填充物。本实用新型设计合理、结构简单,具有环保、使用温度范围广、使用寿命长,阻燃耐火性好、拉伸强度和抗冲强度好等特点。

标签:
新能源
四川 - 绵阳 来源:中冶有色网 2023-03-18
新能源自动充电枪的浮动机构

本实用新型公开了一种新能源自动充电枪的浮动机构,包括固定架,所述固定架的周侧背面均固定安装有固定板,所述固定板的侧壁均通过第一滑动组件滑动连接,所述第一滑动组件的侧壁固定安装有三角板,所述三角板的一侧设有第二滑动组件,所述第二滑动组件的侧壁固定安装有浮动轴,所述固定架的周侧均开设有活动槽,所述浮动轴贯穿活动槽的内部,所述浮动轴的端部均设有弹簧,所述弹簧的端部固定连接有中心块,所述中心块的一侧通过万向轴承转动连接有充电枪头,所述中心块的另一侧一体式连接有浮动限位销。本实用新型采用上述结构,实现了自动充电,达到轻松快捷,避免人为的错位插入,导致抽出困难,损害公母充电。

标签:
新能源
四川 - 绵阳 来源:中冶有色网 2023-03-18
新能源汽车后桥轮毂加工制造用攻丝装置

本实用新型公开了一种新能源汽车后桥轮毂加工制造用攻丝装置,包括:攻丝组件、固定组件和主体组件,所述攻丝组件包括壳体、第一固定板、气缸、第二固定板、电机、攻丝头、电动推杆、弧形板、圆形槽、通孔、风嘴、风机、进风管、出风管、集尘袋和放置板;所述壳体的顶部固定连接有第一固定板,所述第一固定板的上表面安装有气缸。本实用新型通过圆形槽对轮毂的位置进行限制,然后通过弧形板对轮毂的位置进行夹持,同时通过压板对轮毂的位置进行进一步限制,对轮毂进行全面固定,从而提高对轮毂攻丝的质量,且在对轮毂攻丝后,通过风机配合风嘴将攻丝孔洞中残留的废屑快速吸出清理,并排入集尘袋中进行收集,利于后续轮毂螺栓的安装。

标签:
新能源
四川 - 绵阳 来源:中冶有色网 2023-03-18
新能源汽车动力电池保护外壳模具的材料挤出装置

本实用新型属于挤出设备领域,尤其是一种新能源汽车动力电池保护外壳模具的材料挤出装置,包括注射螺筒,所述注射螺筒的顶部安装有进料斗,注射螺筒内转动安装有注射螺杆,注射螺杆上安装有凸轮,注射螺筒的顶部固定安装有竖板,竖板的顶端固定安装有横板,竖板的一侧固定安装有连接板,连接板上开设有第一孔,第一孔内滑动安装有齿条板,齿条板上固定套设有滑动板,且滑动板滑动安装在竖板上,滑动板的顶端固定安装有复位弹簧,复位弹簧的顶端固定安装在连接板上。本实用新型设计合理,通过第一压杆和第二压杆进行往复移动,从而能够把进料斗内的原料推到注射螺筒内,能够防止原料在进料斗处发生堵塞。

标签:
新能源
四川 - 绵阳 来源:中冶有色网 2023-03-18
新能源汽车电机和控制器接口接插件

本实用新型公开了一种新能源汽车电机和控制器接口接插件,它包括接线端子、屏蔽电缆、屏蔽环、屏蔽压套、防水密封圈、座壳体、尾部密封圈及尾盖,所述接线端子与所述屏蔽电缆连接,所述屏蔽环设置在所述屏蔽压套上,所述屏蔽压套设置在所述屏蔽电缆上,所述防水密封圈设置在所述座壳体上,所述尾部密封圈设置在所述座壳体上,所述尾盖设置在所述座壳体上。本实用新型结构简单易操作、连接方便、接触可靠不易松脱、防水等级高,电缆屏蔽层有效接触导通,具有良好的电磁抗干扰能力,满足驱动电机及控制器的使用要求。

标签:
新能源
四川 - 绵阳 来源:中冶有色网 2023-03-18
新能源车用电缆
新能源车用电缆 1131     
 0

本实用新型公开了一种新能源车用电缆,包括电缆本体,所述电缆本体的外侧四周设置有外护套层,所述外护套层的内侧四周紧密相连有杀虫防咬层,所述杀虫防咬层的内侧四周紧密相连有铝箔屏蔽层,所述铝箔屏蔽层的内侧四周紧密相连有热塑性弹性体材料层,所述热塑性弹性体材料层的内侧四周紧密相连有内护套层,所述内护套层的内侧紧密相连有粘结橡胶。有益效果:通过在电缆本体上设置的外护套层,用于保护电缆,便于延长电缆的使用寿命,通过设有的杀虫防咬层,便于对电缆进行长期保存,通过在车杀虫防咬层与热塑性弹性体材料层之间设置有铝箔屏蔽层,便于增强辐射的屏蔽性能,利用热塑性弹性体材料层增强电缆的弹性。

标签:
新能源
四川 - 绵阳 来源:中冶有色网 2023-03-18
充电枪头带温度保护功能的新能源汽车充电枪

本发明公开了一种充电枪头带温度保护功能的新能源汽车充电枪,包括充电插头、缆上控制盒和充电枪头,所述缆上控制盒包括外供电控制装置,所述供电控制装置包括PWM输出端和PWM监测端,所述PWM输出端连接CP信号线插孔,所述PWM输出端连接在PWM输出端和CP信号线插孔间;所述壳体内设有一温控开关,所述温控开关固定在壳体内部,两端分别接地线插孔和CP信号线;火线、零线上分别设有开关。本发明电路结构简单,采用温控开关干涉CP信号的方式,就达到了自动根据温度控制充电的目的。克服了现有技术中充电枪头温度异常情况下不能及时发出信号告知缆上控制盒,导致热量聚集越来越大造成插座与插头出现短路情况。

标签:
新能源
四川 - 绵阳 来源:中冶有色网 2023-03-18
新能源汽车几何多光束LED远光灯防眩目系统

本发明公开了一种新能源汽车几何多光束LED远光灯防眩目系统,红外热像仪的红外热像图输出端与障碍物定位单元的输入端连接,障碍物定位单元的输出端与灯珠控制器的输入端相连,灯珠控制器的输出端与各被控LED灯珠连接;灯珠控制器选择出照射范围恰好覆盖障碍物所占横向照射范围及纵向照射范围的LED灯珠的集合。本发明在保持远光高亮度照明的前提下,根据车辆、行人的位置自适应地熄灭阵列中指定的几颗灯珠以解决炫目问题,夜间行驶照明效果好且安全。采用红外热像仪在夜间检测车辆和行人,对于夜晚这样的特殊使用环境而言,相比传统的摄像头图像识别技术而言准确度更高。

标签:
新能源
四川 - 绵阳 来源:中冶有色网 2023-03-18
新能源汽车几何多光束LED远光灯防眩目系统及方法

本发明公开了一种新能源汽车几何多光束LED远光灯防眩目系统及方法,红外热像仪的红外热像图输出端与障碍物定位单元的输入端连接,障碍物定位单元的输出端与灯珠控制器的输入端相连,灯珠控制器的输出端与各被控LED灯珠连接;灯珠控制器选择出照射范围恰好覆盖障碍物所占横向照射范围及纵向照射范围的LED灯珠的集合。本发明在保持远光高亮度照明的前提下,根据车辆、行人的位置自适应地熄灭阵列中指定的几颗灯珠以解决炫目问题,夜间行驶照明效果好且安全。采用红外热像仪在夜间检测车辆和行人,对于夜晚这样的特殊使用环境而言,相比传统的摄像头图像识别技术而言准确度更高。

标签:
新能源
四川 - 绵阳 来源:中冶有色网 2023-03-18
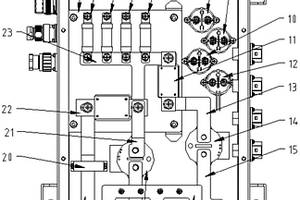
新能源汽车充电站的加工装置

本发明公开了新能源汽车充电站的加工装置,包括底座,所述底座的顶部设有两根立杆,并且立杆能够在底座上沿着水平方向移动,所述立杆上均设有夹持块,夹持块能够在立杆上沿着竖直方向移动,所述夹持块上设有放置槽和固定杆,固定杆通过螺纹与夹持块水平连接,旋转固定杆,固定杆能够移动至放置槽内;所述底座的顶部还设有支撑杆,支撑杆也能够在底座上沿着水平方向移动,所述支撑杆上设有横板,横板能够在支撑杆上沿着竖直方向移动,所述横板上设有电机,电机包括输出轴,输出轴穿插在横板上,并且输出轴的末端上设有打磨盘。

标签:
新能源
四川 - 绵阳 来源:中冶有色网 2023-03-18
新能源汽车电量回收用自动发电充电传动设备

本发明公开了一种新能源汽车电量回收用自动发电充电传动设备,包括:传动轴,所述传动轴的外部安装有变速箱,所述传动轴的一端安装有车轮,所述变速箱的变速输出轴安装有发电机,所述发电机上安装有集风蓄电结构,所述集风蓄电结构上安装有分流冷却结构,车辆的运行过程中,传动轴的旋转会带动发电机进行旋转,发电机产生电量,并通逆变器将电量重新输送到蓄电池中,实现电量的回收,减少电量的消耗,同时在车辆运行过程中,产生的风力会输送到承载壳体的内部,风力进入承载壳体的内部后会带动涡轮扇进行旋转,涡轮扇的旋转会持续带动发电机进行旋转,从而加强发电机的旋转里程,加强发电机的发电效果,再次减少电量的损耗。

标签:
新能源
四川 - 绵阳 来源:中冶有色网 2023-03-18
新型新能源电子推广宣传板

本实用新型公开了一种新型新能源电子推广宣传板,包括太阳能发电板、电子显示屏、文字展示板、蓄电池、底板、万向轮、横梁、支撑柱和斜柱,所述太阳能发电板位于整个装置的顶端,所述太阳能发电板的底端设有所述底板,所述蓄电池位于所述底板的顶端,所述底板的底端设有所述电子显示屏,所述电子显示屏底端的两侧设有所述文字展示板,所述电子显示屏的底端设有所述支撑柱。本实用新型中,太阳能发电板既能环保发电减少污染,同时还能遮挡光线减少电子显示屏的反光扩大可观看的范围,将展示内容的重点直接书写在文字展示板上,方便浏览者快速浏览展示的重点然后决定是否观看电子显示屏进一步了解展示内容,减少宣传板前的拥堵情况提高宣传效率。

标签:
新能源
四川 - 绵阳 来源:中冶有色网 2023-03-18
新能源汽车直流充电枪内冷却结构

本实用新型公开了一种新能源汽车直流充电枪内冷却结构,包括:水箱,所述水箱包括中部设置的导流腔和设置在所述导流腔两侧的端子过孔,所述导流腔和所述端子过孔相互独立,所述导流腔上设有水嘴进口和水嘴出口;绝缘导热部件,所述绝缘导热部件分别内嵌在两个所述端子过孔内;导电端子,所述导电端子的一端设置在端子过孔内,且固定在水箱下部的绝缘隔板上。对导电端子设计液冷装置,在现有技术相同端子的工况下,可以大幅提高端子充电电流以提升充电功率,从而实现充电系统的快速充电。

标签:
新能源
四川 - 绵阳 来源:中冶有色网 2023-03-18
基于物联网新能源的移动洗车装置

本发明公开了一种基于物联网新能源的移动洗车装置,包括箱体、底座、车头、调节装置、抽水装置、水箱、喷枪和泡沫箱,所述箱体的上方设有进料口,所述箱体的下方设有底座,所述底座的左侧设有车头,所述箱体的内部设有水箱,所述水箱的右侧设有抽水装置,所述箱体的内部固定连接调节装置,所述调节装置包括伸缩杆、横杆和喷口,所述调节装置的顶部通过嵌合的方式连接伸缩杆,所述伸缩杆的顶部固定连接横杆,所述横杆的底部通过嵌合的方式连接喷口,在箱体的顶部安装了调节装置,主要的有益好处不仅可以调节横杆喷水的高度,而且把横杆拉升至清洗车辆的顶部,移动此装置即可对外部车辆进行全面覆盖式的清洁,提高了此装置的多功能性。

标签:
新能源
四川 - 绵阳 来源:中冶有色网 2023-03-18
新能源汽车用宽带大功率EMI滤波器

本发明公开了一种新能源汽车用宽带大功率EMI滤波器,其中的高压管式滤波器包括一圆柱形的密封壳体和一金属插针,所述密封壳体内同轴设置一管状的EMI磁芯L1,L1内插入有金属插针,外壁包覆有高压管式电容C1、C2,所述C1、C2与L1形成一管状整体,并连接成π型滤波器结构,密封壳体外壁套接有第二屏蔽环,所设有一屏蔽室,密封壳体两端分别伸入屏蔽室和外壳中,且第二屏蔽环两面分别与屏蔽室、外壳紧密贴合固定。本发明提供了一种高压管式滤波器结构,具有高压、宽带、大电流的特点,无需进行绝缘、耐压处理;能直接应用。采用两层防护的设计,充分发挥了滤波器滤波、屏蔽和接地的功能,多级屏蔽,满足了高频的滤波要求。

标签:
新能源
四川 - 绵阳 来源:中冶有色网 2023-03-18
基于新能源领域的便携式充电桩

本实用新型公开了一种基于新能源领域的便携式充电桩,包括充电桩本体,包括充电桩本体,存储槽的内部的底端设置有重量传感器,存储槽的内部设置有充电插头,本实用新型充电插孔的一侧设置有安全电阻,支撑架的顶端设置有太阳能电池板,控制盒的顶端设置有二维码识别器和选择按钮,控制盒的内部设置有可编程编辑控制器和无线信号接收器,通过安全电阻避免充电桩超负荷工作,对充电桩起到保护的作用,通过太阳能电池板便于电资源的收集,通过二维码识别器便于对注册后用户身份的识别,通过选择按钮便于功能的选择,通过可编程编辑控制器便于充电桩本体的使用,通过无线信号接收器便于远程对充电桩本体进行操控。

标签:
新能源
四川 - 绵阳 来源:中冶有色网 2023-03-18
应用于新能源汽车充电枪中的电连接器

本发明公开了一种应用于新能源汽车充电枪中的电连接器,包括:一具有内置容纳槽的连接环;与连接环相配合、以嵌套设置于其内的第一穿线端;以通过一锁件进而与第一穿线端实现卡紧的第二穿线端;其中,第一穿线端预设位置处设置有第一永磁铁,第二穿线端的预设位置处设置与第一永磁铁相配合的第二永磁铁,以实现两个穿线端的紧接。采用本发明的电连接器接线紧固性好、同时提高对安装尺寸误差的包容性。

标签:
新能源
四川 - 绵阳 来源:中冶有色网 2023-03-18
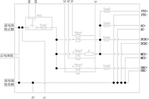
新能源车用高压电源分配盒总成

本发明公开了新能源车用高压电源分配盒总成,它包括箱体和箱盖,箱盖安装在箱体上方,箱体和箱盖之间安装有密封垫,箱体上端安装有手动维护开关,并且在箱体上端开设有MSD端口,箱体左端开设有MCU正极连接端口、MCU负极连接端口、后电池组连接端口、前电池组负极连接端口和前电池组正极连接端口,箱体右端开设有PTC连接端口、DC/DC连接端口、AC连接端口、OBC连接端口、信号端口,箱体内安装有电源分配单元和短路保护单元,本发明集成化程度高,减小高压配电盒总成的体积,通过短路保护和电源分配单元,在实现高压大电流能源传输控制的同时,还起到了对主要线路过载时短路保护的功能,有效提高了电动汽车高压电气控制系统的可靠性和安全性。

标签:
新能源
四川 - 绵阳 来源:中冶有色网 2023-03-18
适用于新能源汽车热管理系统的排气装置

本发明公开了一种适用于新能源汽车热管理系统的排气装置,包括膨胀水壶、歧管以及设置于所述歧管的独立排气口和电子水泵补液口,所述独立排气口插入所述膨胀水壶内,且所述独立排气口的高度高于膨胀水壶内的液面高度;所述电子水泵补液口的两端分别与所述膨胀水壶和歧管连通。本发明,在通过独立排气口进行歧管内气体排出时,所排出的气体能够直接排至膨胀水壶内冷却液外,故而不会在冷却液中产生二次气泡,同时可将排气过程中排出的少量冷却液收集补充入膨胀水壶内的冷却液中,从而减少冷却液的浪费。因为避免了二次气泡的产生,从而本装置能够有效的提高装置的排气效率,并进一步的提高整车的热管理效果。

标签:
新能源
四川 - 绵阳 来源:中冶有色网 2023-03-18
新能源汽车动力电池外壳用的导热绝缘阻燃塑料的制备方法

本发明公开了一种新能源汽车动力电池外壳用的导热绝缘阻燃塑料的制备方法,包括以下步骤:(1)将聚碳酸酯树脂在110-125℃条件下干燥4-5h,备用;(2)将聚碳酸酯、含氟磺酸盐、有机硅、氟树脂、阻燃导热填料按重量比为100-120:0.1-1:0.1-5:0.1-3:5-40混合,投入混合机混匀;(3)将混匀物质转移至双螺杆挤出机熔融挤出,挤出温度为245-270℃,冷却后切粒,得新能源汽车动力电池外壳用的导热绝缘阻燃塑料。该制备方法简单易行,低成本,制备出的产品抗冲击强度高,不易刮花,具有很好的导热绝缘阻燃效果,产品安全性好,稳定性好。

标签:
新能源
四川 - 绵阳 来源:中冶有色网 2023-03-18
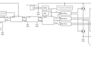
基于双MCU的新能源汽车电动压缩机控制器

本实用新型涉及新能源汽车领域,为了实现对电动压缩机的控制,具体是基于双MCU的新能源汽车电动压缩机控制器,包括:低压蓄电池、高压蓄电池、第一MCU、第二MCU、SBC芯片、BUCK电路、低压差线性稳压器及压缩机,所述低压蓄电池通过SBC芯片与第一MCU连接,所述高压蓄电池通过BUCK电路分别与低压差线性稳压器及压缩机的马达驱动芯片连接,所述低压差线性稳压器与第二MCU连接,所述第一MCU与第二MCU通过光耦通信。采用上述结构实现了对电动压缩机的控制,与采样电路结合可实现过压欠压保护,提高了系统的可靠性。

标签:
新能源
四川 - 绵阳 来源:中冶有色网 2023-03-18
竖落斜升式新能源机动船

本实用新型公开了一种竖落斜升式新能源机动船,它包括流线形船体,在所述流线形船体上方设有甲板,在所述流线形船体尾部设有螺旋推进器,在所述甲板的下方从上至下依次设有货仓、水仓和气仓,所述货仓内设有流线形气囊,并且该流线形气囊位于甲板下方,所述水仓内设有储水组件,所述气仓底部安装有梭轮机心,本实用新型的有益效果为:本装置不须要燃料,没有任何化学物质,没有丝毫污染,资源丰富易取,且比太阳能成本低得很多,容易获得很多,跟太阳能同样清洁。

标签:
新能源
四川 - 绵阳 来源:中冶有色网 2023-03-18
新能源智能变流制氢装置

本发明提供了一种新能源智能变流制氢装置,属于制氢技术领域。该新能源智能变流制氢装置包括基板、风力发电机构、电解制氢机构和储气机构。所述风力发电机构包括风力发电机和第一箱体,所述风力发电机和所述第一箱体均安装于所述基板表面,所述第一箱体内部安装有整流器,所述整流器的电源输入端通过稳压器与所述风力发电机电源输出端连接。本发明通过风力带动风力发电机工作,产生电流,然后带动电解阳极和电解阴极进行作为,对电解液进行电解,产生氢和氧,实现了风力的利用,减小了风能的浪费,使得制氢过程更加节能,此外,通过排氧管、排氢管和储气罐配合,可对氧和氢进行分开存储。

标签:
新能源
四川 - 绵阳 来源:中冶有色网 2023-03-18
新能源汽车空调压缩机的接线防护装置

本实用新型属于汽车接线防护技术领域,涉及一种新能源汽车空调压缩机的接线防护装置。本装置包括三相接线柱,三相接线柱包括连接板和三根导电芯柱,三根导电芯柱贯穿同一连接板且与连接板固定连接,本装置还包括护套和三个导电体,所述护套的一端面固定连接有第一凸块,第一凸块设有三处安装孔,三根导电芯柱与三处安装孔对应过盈配合;护套的内部设有与三个导电体匹配的三条导线槽,三条导线槽从护套的一端贯穿到另一端,三个导电体内嵌于三处导线槽,三个导电体的两端从护套伸出一部分,三个导电体靠近安装孔的一端与安装孔内的三根导电芯柱对应进行可拆卸连接。本装置解决了新能源汽车空调压缩机与驱动器连接处的绝缘防护问题。

标签:
新能源
四川 - 绵阳 来源:中冶有色网 2023-03-18
新能源汽车用多功能高压配电盒

本实用新型公开了一种新能源汽车用多功能高压配电盒,包括箱体及箱盖,箱体内部包括电源分配单元、短路保护和控制单元;电源分配单元包括汇流转接片、支路接插件;保护单元包括各支路熔断器和干路熔断器;控制单元包括继电器、霍尔传感器、BMS管理系统和低压插件。本实用新型的新能源汽车用多功能高压配电盒,具有安全性能和集成化更高的优点。

标签:
新能源
四川 - 绵阳 来源:中冶有色网 2023-03-18
适用于新能源汽车的高压配电盒

本实用新型公开了一种适用于新能源汽车的高压配电盒,属于新能源电动汽车技术领域。解决了现目前传统的高压盒一般结构简单,内部布置繁杂,正负极区域交叉较多,存在电流击穿现象的问题。包括箱体和设置在箱体上的箱盖,箱体上连接有连接端接口;连接端接口包括直流电源正连接端口、电加热PTC连接端口、直流电源负连接端口、充电机连接端口、空调连接端口、电机控制器负连接端口、电机控制器正连接端口、低压控制连接端口和直流电压转换端口;箱体的内部包括控制单元、短路保护单元和电源分配单元,箱体内安装有绝缘安装板,正极汇流铜排设置在绝缘安装板的上层,负极汇流铜排设置在绝缘安装板的下层。

标签:
新能源
四川 - 绵阳 来源:中冶有色网 2023-03-18
上一页 2 3 4 5 下一页
共5页    到第

中冶有色为您提供最新的四川绵阳有色金属新能源材料技术理论与应用信息,涵盖发明专利、权利要求、说明书、技术领域、背景技术、实用新型内容及具体实施方式等有色技术内容。打造最具专业性的有色金属技术理论与应用平台!

全国热门有色金属设备推荐
展开更多 +
全国热门有色金属技术推荐
展开更多 +

 

江西省隆恩特环保设备有限公司
宣传

报名参会
更多+

报告下载

有色专家
更多+

中国科学院赣江创新研究院
院长
中南大学
中国工程院院士
昆明理工大学
校长
洛阳有色矿业集团有限公司
生产技术部经理
赣州有色冶金研究所有限公司
副主任/高级工程师
赤泥综合利用研究报告2025
推广

热门技术
更多+

推荐企业
更多+

福建省金龙稀土股份有限公司
宣传

发布

在线客服

公众号

电话

顶部
咨询电话:
010-88793500-807