青岛垚鑫智能科技有限公司
宣传

位置:中冶有色 >

有色技术频道 >

> 固/危废处置技术

分类:
全部
矿山技术
冶金技术
材料制备及加工技术
环境保护技术
分析检测技术
 
全部
废水处理技术
大气治理技术
固/危废处置技术
土壤修复技术
地区:
全部
北京
天津
上海
重庆
河北
山西
辽宁
吉林
黑龙江
江苏
浙江
安徽
福建
江西
山东
河南
湖北
湖南
广东
海南
四川
贵州
云南
陕西
甘肃
青海
内蒙
广西
西藏
宁夏
新疆
其他
其他
展开
 
全部
长沙
株洲
湘潭
衡阳
邵阳
岳阳
常德
张家界
益阳
娄底
郴州
永州
怀化
湘西土家族苗族自治州

湖南长沙有色金属固/危废处置技术理论与应用

免费发布技术信息>>
协同固化垃圾焚烧飞灰和垃圾膜处理后蒸发浓缩液的处理方法

本发明公开了一种协同固化垃圾焚烧飞灰和垃圾膜处理后蒸发浓缩液的处理方法,该方法包括以下步骤:将垃圾膜处理后蒸发浓缩液的含水率降至35%~40%,得到母液;将沥青进行加热,形成糊状沥青,加入母液,搅拌,形成浆状混合物;将垃圾焚烧飞灰与固化剂混合,搅拌,形成固体混合物;将浆状混合物与固体混合物混合,加入添加剂、重金属螯合剂和水,搅拌,得到混合物料;所得混合物料放入模具中,放置,养护,形成固化体。本发明处理方法,具有辅料简单且易得、成本低廉、工艺简单、操作方便、固化效果好、减量化效果好等优点,能够有效解决垃圾膜处理后蒸发浓缩液和垃圾焚烧飞灰两大污染废物最终处理问题,有着很高的使用价值和应用前景。

标签:
固废
湖南 - 长沙 来源:中冶有色网 2023-03-19
水溶性紫外光自固化氨基树脂的制备方法

本发明提出了一种水溶性紫外光自固化氨基树脂及其制备方法,以固体多聚甲醛/三聚氰胺/丙烯酸羟乙酯为原料合成光敏性三聚氰胺甲醛树脂,通过丙二酸二甲酯进行改性。本工艺以三聚氰胺为核与多聚甲醛进行缩合生成三聚氰胺甲醛树脂,采用固体甲醛为原料,生产过程中无废水排放,丙烯酸羟乙酯在反应过程中既做溶剂又做醚化剂,减少了有机溶剂的使用,生产工艺过程简单,通过控制醚化度使产品存在一部分羟甲基,从而产物具有一定的水溶性,通过丙二酸二甲酯进行改性产品具有自固化性能,通过此方法可制得可紫外光自固化且固化速度快、固化后产品耐水性好、气味低的水溶性紫外光自固化氨基树脂。

标签:
固废
湖南 - 长沙 来源:中冶有色网 2023-03-19
锂离子电池正极复合材料及其前躯体的制备方法

一种锂离子电池正极复合材料及其前躯体的制备方法,具体地说涉及一种制备高纯低成本二元或三元前躯体,及由该前躯体制备高性能锂离子电池二元或三元正极复合材料的新方法,属于新能源材料及制备技术领域。具体步骤如下:(1)将带有结晶水的镍、钴、锰任两种或三种盐类固体原料放入反应器中,加热至熔融态;(2)惰性气体保护下通入氨气,根据以上盐在不同温度下的溶解度适当补充少量水或不加水,边搅拌边反应;(3)反应完全后将铵盐蒸出,取出固体,烘干,得到无定形二元或三元正极复合材料前躯体;(4)将前躯体与碳酸锂按一定比例混合,两段烧结法即可制备锂离子电池正极复合材料。该前躯体合成方法简单,避免使用氢氧化钠,无需分离提纯,即可得到高纯度基本无杂质的正极复合材料前躯体,而且无工业废水排放,副产物铵盐也可产生经济价值。由该前躯体制备得到的正极复合材料性能优异,便于产业化。

标签:
固废
湖南 - 长沙 来源:中冶有色网 2023-03-19
从甜茶苷生产的副产物中分离鞣花酸的方法

一种从甜茶苷生产的副产物中分离鞣花酸的方法,包括以下步骤:(1)收集甜茶上柱流出液,浓缩:得甜茶多酚浓缩液;(2)加压水解:往所述甜茶多酚浓缩液中加入无机酸,加压保温水解,得水解物料;(3)用有机溶剂进行萃取,收集有机溶剂层;(4)碱水反萃取:将所述有机溶剂层用碱水溶液反萃取,收集碱水层;(5)酸化:将所述碱水层用盐酸调节pH值至酸性,析出固体,将固体过滤,干燥,得鞣花酸粗品;(6)结晶:将所述鞣花酸粗品溶解,脱色,冷冻析晶,即得鞣花酸产品。本发明将甜茶资源综合利用,变废为宝,鞣花酸收率高,所得鞣花酸产品中鞣花酸的含量高达97%以上。

标签:
固废
湖南 - 长沙 来源:中冶有色网 2023-03-19
污泥基生物碳-锰渣复合催化剂及其制备方法和应用

本发明公开了一种污泥基生物碳‑锰渣复合催化剂及其制备方法和应用。污泥基生物碳‑锰渣复合催化剂的制备过程为:在碱性溶液中,先加入污泥和电解锰渣进行改性反应I,再加入酸性溶液进行改性反应II,改性反应II完成后,进行固液分离,所得固体产物在无氧条件下进行热解,即得。所得复合催化剂具有较好的导电性和较强的吸附能力以及较高的催化活性,能快速、高效活化双氧水或过硫酸盐等产生自由基以降解水体或土壤中的有机污染物,且该复合催化剂的制备以固体废弃物为原料,成本低,制备过程简单,具有较好生产和应用前景。

标签:
固废
湖南 - 长沙 来源:中冶有色网 2023-03-19
改性尾矿粉体的制备及该粉体用作聚合物填料的方法

一种改性尾矿粉体的制备及该粉体用作聚合物填料的方法。粉体的制备过程为:将选矿尾矿置于湿法搅拌磨,粉磨后的浆料压滤、烘干、粉碎得超细粉体。再将该粉体加入可加热的高速搅拌改性机中,可得到容重为2.50G/ML左右、粒度分布较窄的功能粉体材料。改性尾矿粉体用作聚合物填料的方法为,将改性尾矿粉体加入混合后的PVC和稳定剂混合物中,搅拌,造粒,得聚合物母粒。本发明制备改性尾矿粉体的方法工艺简单,原料为固体残渣,容易获得,且生产条件较为宽松;利用该粉体作为聚氯乙烯制品中填料,既有利于降低生产成本,也有利于解决固体废渣带来的环境污染问题。

标签:
固废
湖南 - 长沙 来源:中冶有色网 2023-03-19
钙镁铝三元氟化物及其制备方法与应用

本发明公开了一种钙镁铝三元氟化物及其制备方法与应用,其制备方法具体包括以下步骤:将天然蛭石与氢氟酸在60‑90℃条件下,搅拌并反应3‑12h,再经抽滤得到固体;将固体洗涤至pH为中性,再在空气中干燥,获得钙镁铝三元氟化物。本发明利用天然黏土蛭石的金属资源,通过简单、成本低廉、一步法反应的工艺制备出超高吸附量且可循环使用的钙镁铝三元氟化物作为新型吸附剂来处理高浓度的刚果红及盐酸四环素废水,对刚果红的最大吸附容量为3065~3348mg/g,对盐酸四环素的最大吸附容量为731~904mg/g,吸附量高于绝大多数现有的吸附剂,循环使用5次,吸附容量保持率在90%以上。

标签:
固废
湖南 - 长沙 来源:中冶有色网 2023-03-19
高熵氧化物材料的制备方法

本发明公开了一种高熵氧化物材料的制备方法,包括以下步骤:1)将金属硝酸盐溶解于去离子水中,搅拌均匀;2)在步骤1)所得溶液中加入沉淀剂,搅拌均匀;3)将步骤2)所得溶液通过水热法得到氢氧化物固体粉末;4)将步骤3)所得固体粉末放入低温等离子体反应器中进行处理,得到高熵氧化物。本发明采用液相配料,可确保金属元素达到分子水平混匀,合成过程避免使用高温煅烧处理,显著降低能耗,反应条件温和,反应过程绿色环保,几乎无污染和废弃物产生。本发明所制备的高熵氧化物材料形貌均匀,根据XRD确定其为尖晶石相,元素含量测定表明所含元素比例接近等摩尔。

标签:
固废
湖南 - 长沙 来源:中冶有色网 2023-03-19
碱激发再生红砖微粉协同矿渣基的再生混凝土及其制备方法

本发明公开了一种碱激发再生红砖微粉协同矿渣基的再生混凝土及其制备方法。所述的碱激发再生红砖微粉协同矿渣基的再生混凝土,由再生红砖微粉、矿渣、粉煤灰、天然河砂、再生粗骨料、氢氧化钠固体、水玻璃、碳酸钠和水按质量百分比10%~30%:10~30%:5%~15%:15%~35%:35%~55%:0.1%~2%:1%~5%:0.1%~2%:10%~20%制备而成,水胶比(水的质量比上再生红砖微粉、矿渣和粉煤灰的质量和)0.40~0.52,其中水包括水玻璃中所含的水以及外加水。该碱激发再生红砖微粉协同矿渣基的再生混凝土相对于普通水泥再生混凝土来说强度得到了明显提升,同时在综合利用固体废弃物的同时能够达到较好的流动性、和易性等工作性能,更加高效环保,节约资源。

标签:
固废
湖南 - 长沙 来源:中冶有色网 2023-03-19
自清洁多重污水过滤池

本实用新型公布了一种自清洁多重污水过滤池,它包括池体,其内外侧分别设置有过滤池和固废物收集池,过滤池的内部设置有纤维过滤层;过滤池内上端设置有固废物过滤机构;池体的中部设置有支撑座,支撑座的中上端设置有升降机构,升降机构的上端设置有支撑架,支撑架与分离式底架之间通过多根钢丝绳连接;分离式底架为旋转体结构,该旋转体结构包括底部的横向段、中部的倾斜段和顶部的纵向段;倾斜段与过滤框体上均匀设置有过滤孔;纤维过滤层上安装有反冲洗机构。本实用新型结构简单,使用和维护方便,可以自动将固废物捞出并进行排出,提高了固废物的处理效率,同时能够对纤维过滤层进行反冲洗,提高了污水处理效果。

标签:
固废
湖南 - 长沙 来源:中冶有色网 2023-03-19
装配式污水净化回收池及蓄水池

本实用新型公开了一种装配式污水净化回收池及蓄水池。装配式污水净化回收池包括至少两个依次排布用于接收废水和沉淀固体污染物的净化池以及至少一个用于将污水经过净化池净化后形成的回收水进行收集的集水池,集水池处于净化池的下游,净化池和/或集水池采用拼装组合构成的整体结构;相邻两个净化池之间和/或净化池与集水池之间设有用于阻隔净化池底部沉积的固体污染物并过滤净化池上层的液体污染物的过滤机构。本实用新型的装配式污水净化回收池为装配式结构,方便安装、拆卸和运输。过滤机构的设置,对底部的固体污染物阻隔,使得液体污染物在上层进行过滤,提高过滤效率和污水处理量。

标签:
固废
湖南 - 长沙 来源:中冶有色网 2023-03-19
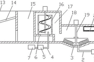
箱式生活污水提升装置
箱式生活污水提升装置 1112     
 0

本实用新型公开了一种箱式生活污水提升装置,包括安装底座,所述的安装底座上设有储水箱,所述的储水箱的一侧顶端设有进水管,所述的进水管贯穿储水箱的侧壁伸入储水箱中连接有固液分离箱,所述的固液分离箱中设有斜置的过滤板,所述的过滤板的底板上在过滤板的下方设有挡水板。本实用新型的优点在于:通过该装置可实现固液分离并对固废进行暂存,设置有液位传感器及压力传感器,能够根据装置中废水或固废的容量来进行控制污水泵工作,避免固废较多,清理不便,通过设置倾斜的过滤板,可使固废顺利滑下,使用方便,在安装底座上设置吊环,使其便于安装,结构简单,便于维护。

标签:
固废
湖南 - 长沙 来源:中冶有色网 2023-03-19
处理白钨矿的方法
处理白钨矿的方法 1040     
 0

本发明涉及一种处理白钨矿的方法。该方法包括步骤:1)将白钨矿与碳酸钠溶液混合并进行压煮反应,得到粗钨酸钠溶液,之后蒸发浓缩至所述粗钨酸钠溶液中的三氧化钨浓度高于600g/L,然后将温度控制在200~250℃下反应,之后过滤得到固体沉淀和溶液;2)将所述固体沉淀与双氧水混合反应,过滤得到过氧钨酸钙溶液;或者,将所述固体沉淀与双氧水及铵盐混合,过滤得到过氧钨酸铵溶液,所述铵盐为碳酸铵,草酸铵,硫酸铵和磷酸铵中的一种或多种。通过该方法大大降低了碳酸钠的消耗,没有用到离子交换工艺处理,直接采用双氧水将钨酸钙转为过氧钨酸钙,减少了废水排除。

标签:
固废
湖南 - 长沙 来源:中冶有色网 2023-03-19
制备炭黑的方法
制备炭黑的方法 1096     
 0

本发明涉及一种炭黑制备方法,具体地说是一种用炭素固废为原料制备轮胎用炭黑的方法,属于工业固废资源综合利用技术领域。本发明制备炭黑的方法,包括下述步骤:S1、将炭素固废破碎,在酸和过氧化氢的混合溶液中浸出,后过滤、洗涤、烘干得到炭粉;S2、将S1得到的炭粉浸泡在碱溶液中,蒸发水分后热裂解,然后活化扩孔、改性得到炭黑;所述炭素固废中碳含量大于60 wt%。本发明所得到的炭黑,各方面性质都优与市面上N330炭黑,填充入轮胎橡胶后,其物理性能也得到了大幅提升。

标签:
固废
湖南 - 长沙 来源:中冶有色网 2023-03-19
装配式污水净化回收池及其安装方法和建筑工程施工方法

本发明公开了一种装配式污水净化回收池及其安装方法和建筑工程施工方法,装配式污水净化回收池包括至少两个依次排布用于接收废水和沉淀固体污染物的净化池以及至少一个用于将污水经过净化池净化后形成的回收水进行收集的集水池,集水池处于净化池的下游,净化池和/或集水池采用拼装组合构成的整体结构;相邻两个净化池之间和/或净化池与集水池之间设有用于阻隔净化池底部沉积的固体污染物并过滤净化池上层的液体污染物的过滤机构。装配式污水净化回收池为装配式结构,方便安装、拆卸和运输。过滤机构的设置,对底部的固体污染物阻隔,使得液体污染物在上层进行过滤,提高过滤效率和污水处理量。

标签:
固废
湖南 - 长沙 来源:中冶有色网 2023-03-19
哈茨木霉厚垣孢子的生产方法

本发明提供一种高产哈茨木霉厚垣孢子的方法,所述哈茨木霉经菌种活化,一级液体种子液的制备和二级液体种子液的制备,再采用固体发酵方法发酵产生厚垣孢子。所述固体发酵使用的固体发酵培养基由玉米秸秆粉、豆粕粉和无机盐组成。采用本发明提供的哈茨木霉厚垣孢子的生产方法,可产生大量的厚垣孢子,基质厚垣孢子量最高可达1.81×109cfu/g,发酵单位高,生产过程不产生废料,环保无污染。发酵所获得的孢子—基质混合物经干燥后可直接用于农作物的生防。

标签:
固废
湖南 - 长沙 来源:中冶有色网 2023-03-19
黑臭水体专用处理设备

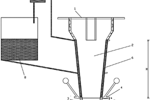
本实用新型一种黑臭水体专用处理设备,从左至右依次包括固废物过滤池、漂白除臭池、絮凝池、沉淀池和净水池,固废物过滤池的左上端连接污水进水管,固废物过滤池的内部设置有格栅,固废物过滤池、漂白除臭池和絮凝池的底部相连通,絮凝池内下端设置有支撑体;支撑体的上端设置有絮凝搅拌器;絮凝池与沉淀池相互连通,絮凝池内底部设置有锥形腔体,絮凝池的内部设置有用于锥形腔体内沉淀物清理的刮泥装置,锥形腔体的底部设置有排泥管道,排泥管道与第二泵体连接;絮凝池的右上端设置有水体净化框体,水体净化框体与净水池之间连接出水管道。本实用新型通过对黑臭水体中固废物的拦截、絮凝、沉淀和净化,实现对黑臭水体的整治,使污水处理能够快速见效,保护了环境。

标签:
固废
湖南 - 长沙 来源:中冶有色网 2023-03-19
垃圾处理系统
垃圾处理系统 867     
 0

一种垃圾处理系统,包括垃圾分选装置;垃圾破碎装置;垃圾燃烧装置;垃圾沼气发酵装置;所述垃圾分选装置将垃圾分为可直接填埋、且不可燃烧的固体物,可直接燃烧的固体物,不可直接燃烧的有机物;所述可直接填埋、且不可燃烧的固体物经垃圾破碎装置破碎后进行填埋;所述可直接燃烧的固体物送往垃圾燃烧装置燃烧;所述不可直接燃烧的有机物经垃圾沼气发酵装置后产生的沼气用作燃料,产生的沼渣经压滤、干燥后用作有机肥,产生的废水至少有一部分被送往垃圾燃烧装置燃烧。对垃圾进行分类处理,有利于对垃圾进行快速有效的处理,并将有用资源回收利用。

标签:
固废
湖南 - 长沙 来源:中冶有色网 2023-03-19
熔融萃取分离铅冰铜中铜和铅的方法

本发明公开了一种熔融萃取分离铅冰铜中铜和铅的方法,通过将铅冰铜和硫化钠混合后加热使得铅冰铜中的硫化铜充分溶解到硫化钠熔体中,冷却后得到分层的冷却熔体,上层为硫化钠和硫化铜的混合物料;下层为硫化铅物料,可返回铅冶炼流程;所得的上层混合物料进行破碎,经风力分选后得到硫化钠固体和硫化铜固体,所得的硫化铜固体可用作铜冶炼的原料,硫化钠固体则可返回系统用于铅冰铜中硫化铜的熔融萃取。本发明的工艺流程短,操作简单,仅用硫化钠作为高温萃取剂,整个过程中没有化学反应的发生,因此也没有“三废”的产生,最终的产物硫化铜、硫化铅分别用作铜和铅的冶炼原料,有价金属没有损失,硫化钠再生后可继续返回用于硫化铜的高温萃取。

标签:
固废
湖南 - 长沙 来源:中冶有色网 2023-03-19
聚合硫酸铝溶液的制备方法和无碱液体速凝剂

本发明公开了一种聚合硫酸铝溶液的制备方法,包括:在硫酸铝溶液中加入固体碱化剂(不含碱金属的固体碱化剂),当固体碱化剂加完后继续反应完全,降温,出料,得到聚合硫酸铝溶液。本发明还公开了一种无碱液体速凝剂,采用该制备方法制备获得的聚合硫酸铝溶液作为主促凝剂。本发明使用不含碱金属的固体碱化剂替代传统的含有碱金属离子的强碱及其盐类(如NaOH、KOH、Na2CO3、NaHCO3、NaAlO2),也不使用在硫酸盐体系中容易产生沉淀的Ca(OH)2等碱化剂,实现了产品碱化度可控,不会产生影响混凝土后期强度的杂质离子,也不会产生沉淀物及废渣,缩短了制备工艺,降低成本,并且制备工艺环保。

标签:
固废
湖南 - 长沙 来源:中冶有色网 2023-03-19
含单质硫烟气湿法高效净化的方法

一种含单质硫烟气湿法高效净化的方法,该方法包括以下步骤:1)将固体吸附剂加入到含单质硫的烟气中;2)将含有固体吸附剂和单质硫的烟气通入到洗涤塔中,并采用溶液对烟气进行洗涤,烟气被洗涤净化后排放;3)将洗涤塔中洗涤烟气后产生的废水加入到沉降槽中,实现固液分离,得到上清液和沉降下来的含硫固体吸附剂。本发明利用固体吸附剂和胶体硫表面电荷相吸的性质,破坏了胶体硫的稳定性,提高了洗涤液中胶体硫的去除率,从而解决了胶体硫粘附于设备表面堵塞设备的问题。

标签:
固废
湖南 - 长沙 来源:中冶有色网 2023-03-19
处置废活性炭的方法
处置废活性炭的方法 737     
 0

本发明公开了一种处置废活性炭的方法,包括下述的步骤:将包括废活性炭和多元固废的混合料与熔剂配料后进行焙烧和预还原,所述废活性炭为吸附有机物后的活性炭,所述多元固废为镍钴湿法冶金过程中化学沉淀除杂工序产生的多元固废;将焙烧后的产物进行还原熔炼,得到熔融金属和熔渣;将熔融金属造粒干燥得到镍铁合金,将熔渣水淬得到玻璃态副产品。本发明采用将废活性炭与多元固废进行协同处置,实现了以废制废,以及危废的无害化、资源化、高值化,可解决目前有色冶金行业中废活性炭和多元固废的处置问题。

标签:
固废
湖南 - 长沙 来源:中冶有色网 2023-03-19
水泥窑协同处置二次铝灰的系统

本实用新型提供一种水泥窑协同处置二次铝灰的系统,包括:依次连接的废渣预处理系统、无氧湿磨转化系统、碱金属盐浸出系统以及水泥窑资源化处理系统,所述无氧湿磨转化系统包括无氧湿磨转化机,系统内的所有设备及连接管路都采用密封设置,并设置抽吸机用于形成微负压。本实用新型提供的系统可以实现二次铝灰无害化、资源化的最终处置,处理1吨二次铝灰可提取0.1~0.3t碱金属盐;0.02~0.1t烧碱;0.5~0.8t氧化铝副产品,向水泥厂提供水泥原料0.2~0.3t及脱硝剂0.05~0.2t。其中涉及的无氧湿磨转化机能保证转化中产生的H2、CH4不燃烧爆炸,可以实现的固体废渣物料的消毒和转化且能提取转化气体。

标签:
固废
湖南 - 长沙 来源:中冶有色网 2023-03-19
轮带式开松机
轮带式开松机 1097     
 0

本实用新型公开一种轮带式开松机,用于服装类纺织布的撕裂开松,包括由撕裂主工作辊和钢链撕裂带构成的开松单元,钢链撕裂带位于撕裂主工作辊的垂向相切位置或斜向相切位置,两者之间间隔一定隔距,撕裂主工作辊的工作面上具有针布,钢链撕裂带的工作面上具有金属锯齿,齿斜方向相反,撕裂主工作辊与钢链撕裂带在相对面处相向运行,相互撕扯布料。该设备可以仅包含一个开松单元,也可以包含几个开松单元,相互串联或并联。本实用新型提供的轮带撕裂式开松机采用了自由式开松工作原理,对不同服装原料开松,获得了良好品质的服装类废纺再生纤维。设备还可作为废纺服装除扣,除固体异物应用。

标签:
固废
湖南 - 长沙 来源:中冶有色网 2023-03-19
医疗污水处理水箱
医疗污水处理水箱 825     
 0

本实用新型公开了一种医疗污水处理水箱,包括箱体,所述箱体的内部安装有水泵,所述水泵的侧面安装有排水管,所述箱体顶部的两端均开设有第一滑槽,所述第一滑槽的内部安装有螺纹杆,所述箱体的顶部安装有密封盖,所述密封盖的两端均贯穿有连杆,所述连杆插入密封盖并固定连接有螺纹套,所述螺纹套通过螺纹与螺纹杆连接,所述螺纹杆上滑动套接有支架,所述支架上安装有第一滤筒,所述第一滤筒的底部滑动连接有第二滤筒。本实用新型有效的对医疗污水进行固体废物的过滤,并将污水排出,并且过滤机构容纳更多的废物,无需频繁清理,同时清理更加便捷,大大提高使用的便捷性。

标签:
固废
湖南 - 长沙 来源:中冶有色网 2023-03-19
节能密闭鼓风炉
节能密闭鼓风炉 932     
 0

一种节能密闭鼓风炉,包括炉顶、炉身、本床、风口和咽喉口,所述炉顶设有加料装置和烟气排放口,所述风口的进风端与鼓风机连接,所述炉身料柱的高度H不小于3.8m,所述鼓风机的全压不小于14.7kPa。本实用新型在从工业固体废物和废金属中综合回收铜、镍等有色金属资源方面效果显著,具有热利用率高、降低能耗和生产成本的优点。

标签:
固废
湖南 - 长沙 来源:中冶有色网 2023-03-19
厌氧折流板反应器
厌氧折流板反应器 1035     
 0

一种适用于处理各种工业废水和城市生活污水的厌氧折流板反应器。它是一个密封的反应器,反应器内部由若干个单独的反应室串联组成,各反应室上部相通,且各反应室中都有一垂直的折流板(6)将反应室分成向上流室和向下流室。折流板的顶端必须高于各反应室之间的隔板(4)顶端,而其底端与反应器的底内壁有一定间隙,使废水通过反应器时形成折流。本实用新型的特征是:折流板的底端设置成45°转角的形式,防止水流进入该室时产生冲击作用且起到缓冲水流和均匀布水的作用,更有利于微生物对固体的截留与微生物的生长以保证处理效果;反应器内各反应室之间的隔板上安装溢流堰,使各反应室的液面逐级降低,消除了各反应室之间的返混作用。

标签:
固废
湖南 - 长沙 来源:中冶有色网 2023-03-19
餐厨垃圾无害化处理方法

本发明公开了一种餐厨无害化处理方法,包括将收集到的餐厨垃圾中粗固体及砂砾的分拣筛除,经过第一初沉池沉降、曝气池曝气、第二初沉池的沉降后得到废弃活性污泥以及初级污水污泥,将所述废弃活性污泥经过离心后进行水热碳化并离心后得到湿态水热炭及水热碳化液,将所述水热碳化液与所述初级污水污泥转移至渗滤液床反应器进行厌氧消化反应后得到可以作为新能源的沼气,所述湿态水热炭经过太阳能干燥机干燥后可以作为一种高能环保的生物燃料能源。本发明提供一种含磷量以及产率更高的水热炭,并且提高了在厌氧消化过程中的消化率,进而减少了消化渣滓剩余量,并且在无害化处理后可以得到作为生物燃料能源的水热炭和沼气,进行了能源的回收利用。

标签:
固废
湖南 - 长沙 来源:中冶有色网 2023-03-19
铁锍制备硫化氢用于污酸处理的方法

本发明公布了一种铁锍制备硫化氢用于污酸处理的方法,主要包括以下步骤(1)固体铁锍破碎浆化;(2)铁锍浆液浸出釜酸性浸出制备硫化氢;(3)硫化氢高效净化污酸;(4)铁锍浸出固液分离后残渣回收金、银等有价金属;(5)铁锍浸出液冷冻结晶回收硫酸亚铁;(6)冷冻结晶后液用于配制稀酸,返回铁锍浆液浸出釜。该方法依托有色冶金过程,以极低的成本实现了污酸废水的深度净化,可同时回收金、银等贵金属,并可回收水处理剂硫酸亚铁。实现了有价元素的资源化及污酸废水的深度处理,节省了运行成本,降低了环境风险,具有显著的经济和环境效益。

标签:
固废
湖南 - 长沙 来源:中冶有色网 2023-03-19
以蘑菇渣为原料碱性发酵生产挥发性脂肪酸的方法

本发明涉及有机固体废弃物资源化技术领域,具体涉及一种以蘑菇渣为原料碱性发酵生产挥发性脂肪酸(VFA)的方法。其制备方法如下:以蘑菇渣为发酵底物,厌氧消化污泥为接种污泥;将烘干后的蘑菇渣进行机械粉碎,加蒸馏水配置成含固率12?18%的混合液,将混合液与接种污泥按体积比5:1混合,充入氮气3?5min;控制反应温度为35℃,搅拌速度为120?180r/min,系统pH维持在10左右,在厌氧环境下进行蘑菇渣碱性发酵4?7d;采用离心机将碱性发酵后的混合液离心分离,离心速度为12000r/min,离心后的上清液即为VFA发酵液。该工艺操作简单、厌氧发酵条件易于控制、经济成本低廉,具有良好的应用前景。本发明为解决蘑菇渣堆积、实现农业废弃物资源化提供了一种新方法,具有重要意义。

标签:
固废
湖南 - 长沙 来源:中冶有色网 2023-03-19
上一页 30 31 32 33 34 ... 53 下一页
共53页    到第

中冶有色为您提供最新的湖南长沙有色金属固/危废处置技术理论与应用信息,涵盖发明专利、权利要求、说明书、技术领域、背景技术、实用新型内容及具体实施方式等有色技术内容。打造最具专业性的有色金属技术理论与应用平台!

全国热门有色金属设备推荐
展开更多 +
全国热门有色金属技术推荐
展开更多 +

 

江西省隆恩特环保设备有限公司
宣传

报名参会
更多+

报告下载

有色专家
更多+

蒙纳士苏州校区
中国工程院外籍院士/校长
广西大学
处长/教授
江西省科学院应用化学研究所
副主任/副研究员
国家钨与稀土产品质量检验检测中心
主任
长沙有色冶金设计研究院有限公司
党委书记、董事长
赤泥综合利用研究报告2025
推广

热门技术
更多+

推荐企业
更多+

福建省金龙稀土股份有限公司
宣传

发布

在线客服

公众号

电话

顶部
咨询电话:
010-88793500-807