青岛垚鑫智能科技有限公司
宣传

位置:北方有色 >

有色技术频道 >

> 固/危废处置技术

分类:
全部
矿山技术
冶金技术
材料制备及加工技术
环境保护技术
分析检测技术
 
全部
废水处理技术
大气治理技术
固/危废处置技术
土壤修复技术
地区:
全部
北京
天津
上海
重庆
河北
山西
辽宁
吉林
黑龙江
江苏
浙江
安徽
福建
江西
山东
河南
湖北
湖南
广东
海南
四川
贵州
云南
陕西
甘肃
青海
内蒙
广西
西藏
宁夏
新疆
其他
其他
展开
 
全部
西安
宝鸡
咸阳
铜川
渭南
延安
榆林
汉中
安康
商洛

陕西西安有色金属固/危废处置技术理论与应用

免费发布技术信息>>
采用煤矸石制备莫来石晶须的方法

一种采用煤矸石制备莫来石晶须的方法,先将煤矸石装入刚玉球磨罐中,再将刚玉球磨罐在行星式球磨机上球磨后的浆料干燥、研细并过40目筛;Al2(SO4)3·18H2O在研钵中研细,过20目筛。将煤矸石、Al2(SO4)3·18H2O、Na2SO4充分混合,装入刚玉烧杯中,加盖密封,移至高温电炉中煅烧至1000~1200℃保温2~4小时,然后随炉自然冷却,将煅烧后物料先用蒸馏水洗涤、过滤、干燥,再用20%HF酸洗涤、过滤、干燥即可。本发明利用采煤过程和洗煤过程中排放的固体废物——煤矸石为主要原料,通过Al2(SO4)3·18H2O调整配方中的铝含量,以Na2SO4为熔剂,在较低温度下合成莫来石晶须,合成晶须长度2.0~6.5μm,直径为50~120nm。

标签:
固废
陕西 - 西安 来源:北方有色网 2023-03-19
采煤工作面端头三角区充填装置及方法

本发明公开了一种采煤工作面端头三角区充填装置及方法,该装置包括自移式矸石转载车、螺旋动力装置、矸石螺旋输送管、单轨吊装置、工作面端头液压支架和后部推移挡板。充填工作时,将煤矸石或粉煤灰等固体废物通过辅助运输设备运输至自移式矸石转载车矸石刮板输送机构上,将其转载至矸石螺旋输送管进料口中,矸石螺旋输送管由单轨吊吊挂在回采巷道顶板和工作面端头液压支架上,在螺旋动力装置的作用下将矸石或粉煤灰等固体废物输送到工作面端头液压支架后方的回采巷道中,在后部推移档板的作用下将其堆积、夯实,形成矸石充填体。本发明克服了现有充填设备或技术存在的不足,使得矸石充填工作更加安全、高效、经济。

标签:
固废
陕西 - 西安 来源:北方有色网 2023-03-19
Al2O3-Tob/HA复合污水处理材料及其制备方法和应用

本发明公开了一种Al2O3-Tob/HA复合污水处理材料及其制备方法和应用。以预酸洗的粉煤灰为硅源和铝源,以消石灰Ca(OH)2为共生钙源,以磷酸为磷源。先采用超声化学法,控制温度和pH为10.5~11.5,制得铝代雪硅钙石预聚体;再加入磷酸溶液得到Al2O3-Tob和HA共生共聚体;最后采用水热蒸压法,制备出复合比X=2~4的Al2O3-Tob/HA复合污水处理材料。检测结果表明,所得产物杂相少,纯度高,Al2O3-Tob和HA结晶状况良好,具有网状骨架结构和较大的比表面积,对重金属离子Cd2+具有很强的吸附和脱除性能,且在实验范围内吸附性随复合比增大而增强。本发明生产工艺简单,操作工序方便,生产成本低,是一种实用有效的粉煤灰固体废弃物的利用方法。

标签:
固废
陕西 - 西安 来源:北方有色网 2023-03-19
生物药肥及其制备方法
生物药肥及其制备方法 1022     
 0

本发明涉及一种生物药肥及其制备方法,该药肥包括植物提取物残渣,所述的植物提取物残渣包括苦参提取物残渣、苦豆子提取物残渣和藜芦提取物残渣中的一种或两种以上的混合物。本发明中的药肥,充分利用有机固体废弃物资源,降低生产成本,实现废弃物资源高效利用;本发明的药肥生产过程绿色、环保,无废水、废气排放,节能、高效、低碳;本发明的药肥产品营养全面、均衡、无任何化学农药及激素添加,对多种土传病害及地下害虫具有良好的防治作用;本发明的药肥从根本上改善土壤理化性质,优化微生物群落结构,肥效及药效高效、持久。

标签:
固废
陕西 - 西安 来源:北方有色网 2023-03-19
粉煤灰制备环境污染治理材料的清洁生产新工艺

本发明属于环境工程领域,涉及固体废物资源化利用和废水处理等。公开了一种粉煤灰制备环境污染治理材料的清洁生产新工艺。该工艺根据粉煤灰的组成和性质,将粉煤灰制备沸石吸附剂过程中所产生的废液用作粉煤灰制备聚硅酸盐复合混凝剂的原料,而将粉煤灰制备聚硅酸盐复合混凝剂过程中所产生的废渣用作粉煤灰制备沸石吸附剂的原料,科学有效的利用了粉煤灰中的有效成分,减少制备过程中所造成的环境污染和资源浪费。

标签:
固废
陕西 - 西安 来源:北方有色网 2023-03-19
工业明胶接枝共聚阳离子絮凝剂的制备方法

一种工业明胶接枝共聚阳离子絮凝剂的制备方法,将工业明胶溶于蒸馏水中,加入复合酶进行水解,制得胶原蛋白水解液;在氮气保护条件下,将单体与水混合,调节pH,加入引发剂反应一定时间后加入制得的胶原蛋白水解液,继续反应得到阳离子絮凝剂。将制得的阳离子絮凝剂粗品经无水乙醇沉淀,丙酮洗涤,得到阳离子絮凝剂纯品。本发明以废弃皮革中提取的工业明胶为原材料,产量大,来源广泛,易于生物降解。同时有利于皮革固体废弃物的资源化利用,变废为宝,以废治污。

标签:
固废
陕西 - 西安 来源:北方有色网 2023-03-19
煤粉锅炉处置垃圾的系统

本实用新型公开了一种煤粉锅炉处置垃圾的系统,垃圾存储及给料系统的固体出口与分选系统的入口相连通,分选系统的固体出口与垃圾破碎系统的入口相连通,垃圾破碎系统的固体出口与垃圾气化系统的入口相连通,垃圾气化系统的出口与煤粉炉炉膛相连通,垃圾存储及给料系统的液体出口、分选系统的液体出口及垃圾破碎系统的液体出口与渗滤液收集池的入口相接通,渗滤液收集池的出口与渗滤液输送泵的入口接通,渗滤液输送泵的出口与渗滤液雾化装置的入口接通,渗滤液雾化装置的出口与垃圾气化系统的入口相连通,垃圾气化系统的废料出口与废料收集系统相连通,该系统在煤粉锅炉上焚烧垃圾,实现垃圾的减量化及资源化处置。

标签:
固废
陕西 - 西安 来源:北方有色网 2023-03-19
以高炉矿渣为原料制备钢铁成型用高温润滑剂的方法

本发明涉及一种以高炉矿渣为原料制备钢铁成型用高温润滑剂的方法,将低品位尾料钢渣磁选全铁小于10%钢渣,和水球磨掺入减水助磨剂;出磨的钢渣料浆与氧化钠、氧化硅、氧化硼:水进行混合得混合料,放入均相水热反应仪反应,结束后冷却至室温,将最终反应物过滤,干燥即可得到所需高温润滑剂。本发明可提高钢渣的利用率,通过水热反应将筛选的废弃物矿渣粉末通过二次利用,转化为高温润滑剂,使废弃钢渣变废为宝,可降低外部购入高温润滑剂所造成的成本,提高社会经济效益。本发明减少因堆放和填埋造成的土壤污染和水体污染等,实现钢渣的资源化处理,具有良好的经济、社会和环境效益,符合国家的固体废弃物综合利用的政策导向。

标签:
固废
陕西 - 西安 来源:北方有色网 2023-03-19
吸附剂的制备方法
吸附剂的制备方法 1099     
 0

本发明适用于材料制备领域,提供了一种吸附剂的制备方法,所述方法包括:在收集的反冲洗废水悬浊液所在的容器中加入絮凝剂;倒出所述容器中的上清液并调节剩余混合物的pH值;将所述剩余混合物固液分离,并用清水冲洗过滤所得的固体;对所述固体陈化、烘干、研磨及筛选。本发明通过利用滤池反冲洗废水中的固体物制备吸附剂,对重金属污染物具有良好的去除效果,制备过程简单、成本低,而且该吸附剂的吸附速度快、容量大,水质净化效能优异。

标签:
固废
陕西 - 西安 来源:北方有色网 2023-03-19
石油污水处理方法
石油污水处理方法 1076     
 0

本发明公开了一种石油污水处理方法,具体按照以下步骤实施:首先将污水引入沉淀过滤池,进行初步的过滤,从而去除污水中的各种固体杂质。然后将处理后的污水引入粗粒化处理池,通过粗粒化处理去除污水中所含的废油,并在处理后的污水中加入凝絮剂,然后通过过滤将吸附有废油的絮体去除;再将废水排入化学处理池,给其中加入混凝剂,从而去除含油废水中的乳化油;最后将处理后的废水通过管道输送至可以再次使用的部门。本发明的石油污水处理方法,解决了现有技术石油污水处理方法效率低,处理成本高的问题。

标签:
固废
陕西 - 西安 来源:北方有色网 2023-03-19
煤粉锅炉处置垃圾的系统及方法

本发明公开了一种煤粉锅炉处置垃圾的系统及方法,垃圾存储及给料系统的固体出口与分选系统的入口相连通,分选系统的固体出口与垃圾破碎系统的入口相连通,垃圾破碎系统的固体出口与垃圾气化系统的入口相连通,垃圾气化系统的出口与煤粉炉炉膛相连通,垃圾存储及给料系统的液体出口、分选系统的液体出口及垃圾破碎系统的液体出口与渗滤液收集池的入口相接通,渗滤液收集池的出口与渗滤液输送泵的入口接通,渗滤液输送泵的出口与渗滤液雾化装置的入口接通,渗滤液雾化装置的出口与垃圾气化系统的入口相连通,垃圾气化系统的废料出口与废料收集系统相连通,该系统及方法在煤粉锅炉上焚烧垃圾,实现垃圾的减量化及资源化处置。

标签:
固废
陕西 - 西安 来源:北方有色网 2023-03-19
空间站生活垃圾、排遗排泄物收集与处理系统

本发明公开了一种空间站生活垃圾、排遗排泄物收集与处理系统,用于解决现有空间站废弃物收集与处理系统实用性差的技术问题。技术方案是包括固体垃圾收集模块、液体垃圾收集模块、人体排遗排泄物收集模块、固体处理模块、液体处理模块和气体处理模块,所述的人体排遗排泄物收集模块包括人体排遗物收集子模块和人体排泄物收集子模块。本发明对空间站生活垃圾和宇航员排遗排泄物统一收集、分类处理,减少重复作业。收集和处理过程中对处理物进行液气分离和固气分离处理,分离出的气体和液体经过净化重新输入舱内以供使用,固体废弃物单独打包存放,实用性好。

标签:
固废
陕西 - 西安 来源:北方有色网 2023-03-19
赤泥基聚合物催化剂的制备及其在有机染料降解中的应用

本发明公开了一种赤泥基聚合物催化剂的制备及其在染料光催化降解中的应用。该制备方法分别以不同产地的工业固体废弃物赤泥为原料,在硅酸钠的激发下,制备赤泥基聚合物光催化剂,该赤泥基聚合物催化剂的制备优势在于对赤泥原料能够完全利用,无三废排放。将该赤泥基聚合物催化剂应用于紫外光照射下的靛蓝染料废水溶液的降解反应,其降解率达到100%,降解效率高,染料分子被完全降解为CO2和H2O,不会产生二次污染,同时达到以废治废的双重目的。该赤泥基催化剂的制备及染料降解反应工艺简单,可实现规模化制备和染料降解的实际应用。

标签:
固废
陕西 - 西安 来源:北方有色网 2023-03-19
病理学取材操作台
病理学取材操作台 1202     
 0

本发明公开了一种病理学取材操作台,包括箱体,所述箱体的内壁焊接有隔板,所述箱体顶部的左侧固定安装有平台,所述箱体的顶部并位于平台的两侧均焊接有支板,所述支板的顶部焊接有横梁;本发明通过箱体、隔板、平台、支板、横梁、废气处理机构、清洗机构、废液处理机构、杀菌机构、固体垃圾箱、盖板和废物处理机构的设置,使病理学取材操作台具备可对取材工具进行消毒,以及对废物进行预处理的优点,该病理学取材操作台,解决了消毒装置多数只对取材过程消毒,并未对取材工具进行消毒,而且取材工具随意摆放,给工作带来了极大的不便,同时无法及时对废弃物进行预处理的问题,值得推广。

标签:
固废
陕西 - 西安 来源:北方有色网 2023-03-19
疏水接枝共聚阳离子絮凝剂的制备方法

一种疏水接枝共聚阳离子絮凝剂的制备方法,以废弃皮革提取的工业明胶为原料,采用复合酶进行水解。加入定量的丙烯酰胺(AM)、丙烯酰氧乙基三甲基氯化铵(DAC)、丙烯酸丁酯(BA)、乙醇和蒸馏水,通入氮气排出体系内的空气并保持体系压力恒定,调节pH和温度,加入引发剂,电动搅拌反应一定时间得到接枝共聚阳离子絮凝剂。将制得的接枝共聚阳离子絮凝剂粗品经无水乙醇沉淀,丙酮洗涤,得到阳离子絮凝剂纯品。本发明以废弃皮革中提取的工业明胶为原材料,有利于皮革固体废弃物的资源化利用,变废为宝,以废治污。

标签:
固废
陕西 - 西安 来源:北方有色网 2023-03-19
新型环保节能锅
新型环保节能锅 1125     
 0

本发明提出一种新型环保节能锅,包括锅身和锅盖,锅身由锅身外壳、锅身内壳、加热面、环形隔板、环形隔板、网盘、加热腔体、加热腔体、加热腔体、燃气进口锥、导热锥环、环形锁片、废气过滤网和排气弯管组成。本发明将加热面设计在锅体内部,利用环形隔板和环形隔板形成多个加热腔,使得燃气全部在锅体内部充分燃烧,提高了燃烧效率;此外,废气通过排气弯管进入锅身外壳和锅身内壳外壳间进一步加热锅体,提高了热量的利用率;最后,废弃通过铜质废气过滤网,有毒气体CO和NO被灼热的铜网氧化,活性炭吸收固体微粒污染物,一定程度净化了废气。

标签:
固废
陕西 - 西安 来源:北方有色网 2023-03-19
肿瘤患者化疗用污染物收集装置

本实用新型公开了一种肿瘤患者化疗用污染物收集装置,包括收集箱,所述收集箱内侧壁的中部固定连接有过滤网,所述收集箱内侧壁的边缘处固定连接有透明盒,所述透明盒的内部插接有紫外线杀菌灯。该肿瘤患者化疗用污染物收集装置,通过紫外线杀菌灯和导热棒的设置,当医疗废物仍入收集箱内时,导热棒将收集箱内的温度升高,进而紫外线杀菌灯有效的将收集箱内达到高温杀菌的效果,继而可将收集箱内的垃圾废物进行杀菌,达到无菌的效果,通过过滤网的设置,工作人员将医疗废物仍入收集箱内时,固体的废物可置于过滤网以上,进而医疗废物所残留的液体从过滤网过滤到收集箱内底壁,从而有效的到达了对医疗废物固液分离的效果。

标签:
固废
陕西 - 西安 来源:北方有色网 2023-03-19
建筑装修辅助清理装置

本实用新型公开了一种建筑装修辅助清理装置,包括清理座,所述清理座的内部开设有空腔,所述空腔的内壁滑动连接有升降板,所述升降板的底部固定连接有电机,所述电机的输出端通过联轴器固定连接有打磨盘,所述空腔的底壁固定连接有对称设置的电动缸,且所述电动缸有两个,所述电动缸的输出端通过衔接板与升降板固定连接。本实用新型涉及装修装置技术领域,通过设置电动缸,进而能够调节打磨盘的高度,方便清理不同高度的固体废料,通过电机带动打磨盘进行转动,对固体废料进行自动清理,省时省力,同时抽风机将打磨的灰尘收集到集尘箱中,进而方便对废料进行收集,降低工作人员的劳动强度。

标签:
固废
陕西 - 西安 来源:北方有色网 2023-03-19
红黏土路基病害防治装置

本实用新型公开了一种红黏土路基病害防治装置,包括:铬铁渣碎石掺配料垫层、边沟、防渗土工布和土工格栅;路基铬铁渣碎石掺配料垫层铺设在红黏土路基上,路基铬铁渣碎石掺配料垫层的边坡两侧设有边沟,路基铬铁渣碎石掺配料垫层上铺设有路基防渗土工布且路基防渗土工布的末端延伸至路基边沟处;路基铬铁渣碎石掺配料垫层的顶部铺设有路基填料层,且路基铬铁渣碎石掺配料垫层与路基填料层之间设有土工格栅。本实用新型施工简便,高效节约,对红黏土路基有切实可行的功用性;将固体废物资源化,减少工程对碎石的需求依赖,同时减少固体废物处治的费用,符合我国提倡的废物资源化利用政策;造价低廉,应用前景广泛。

标签:
固废
陕西 - 西安 来源:北方有色网 2023-03-19
非活性硝酸粉末的制造方法

本发明公开了一种非活性硝酸粉末的制造方法,先将硝酸溶液和尿素加入缓冲溶液体系,缓冲溶液体系为醋酸与醋酸钠溶液混合而成,其质量比为1∶1,室温搅拌均匀,得中间体硝酸脲;然后将反应后的物料投入离心机中,甩掉废酸液,干燥后再加入CM-911型固体缓蚀剂,搅拌均匀即得成品非活性硝酸粉末;或将上述硝酸脲总量的0.1%~2.0%的CM-911型固体缓蚀剂另做小包装,分装入中间体硝酸脲的成品袋中,使用时与中间体硝酸脲混和均匀即得成品非活性硝酸粉末。本发明制备方法简单、实用,制成的为固态白色粉末在固态时是非活性的,无腐蚀性,便于运输,其成品价格低;使用时遇水即水解为硝酸,是油田生产中酸化解堵的理想材料。

标签:
固废
陕西 - 西安 来源:北方有色网 2023-03-19
阳离子聚酰胺黄原酸钠絮凝剂及其制备方法

一种阳离子聚酰胺黄原酸钠絮凝剂及其制备方法,将二乙烯三胺加入到反应釜中,然后加入水并搅拌均匀,在搅拌下滴加己二酸,制得琥珀色固体;将琥珀色固体加入到去离子水中,得到溶液,再将溶液加入到反应釜中并通入N2,然后加入2, 3-环氧丙基三甲基氯化铵,在70~80℃下搅拌4~5小时,得到透明的黄色液体,然后旋蒸去除水分,得到淡黄色膏状物;将淡黄色膏状物用氢氧化钠溶液溶解后加入到反应釜中,然后再滴加二硫化碳,得到阳离子聚酰胺黄原酸钠絮凝剂。与同类絮凝剂相比,该絮凝剂中电荷密度大,含有叔胺和季胺基团,絮凝效果好,同时含有和重金属螯合的强配位基团,螯合能力强,达到很好的处理废水中重金属离子的效果。

标签:
固废
陕西 - 西安 来源:北方有色网 2023-03-19
氯碱工业盐泥减量化处理工艺

一种氯碱工业盐泥减量化处理工艺,利用盐酸将盐泥中富含的钙和镁溶出,以实现盐泥固体废弃物的减量化,其具体步骤:首先对盐泥进行干燥处理,并利用球磨机对其进行研磨制得盐泥粉末;然后,利用软化水对盐泥粉末进行水洗,洗去粉末中可溶性的杂质;其次,利用盐酸对水洗后的盐泥粉末进行酸化处理,溶解盐泥中的钙和镁,获得含钙镁离子和固体残渣的混合液;最后,将酸化后获得的混合液进行离心处理,得到不溶于盐酸的硅铝酸盐残渣和富含钙镁离子的澄清酸化液,本发明工艺操作简单,流程短,可减重盐泥废弃物达到90%以上,减少废弃物排放环境污染的同时,得到的酸洗液和硅铝酸盐残渣可作为工业原料进行回用,有效地实现了盐泥的减量化、资源化处理。

标签:
固废
陕西 - 西安 来源:北方有色网 2023-03-19
耐高温防腐涂料及其制备方法

本发明涉及铝电解固体废弃物资源循环综合利用技术领域,具体而言,涉及一种耐高温防腐涂料及其制备方法。耐高温防腐涂料包括树脂25~60份,填料15~45份,溶剂10~40份,固化剂0.1~5份,增塑剂1~10份,着色剂0.5~5份和偶联剂0.1~2份;填料包括铝电解废旧阴极材料、氧化铝和沥青;铝电解废旧阴极材料包括经过破碎处理的废弃预焙铝电解槽阴极内衬材料。采用废弃的铝电解废旧阴极材料与树脂、固化剂、增塑剂、偶联剂等搭配使用,使其具有硬度高,耐磨性能好,附着力及抗冲击性能强,高温防腐蚀性能优异,成本低等优点;同时实现铝电解废旧阴极的资源循环综合利用,最大限度的得到高值化利用。

标签:
固废
陕西 - 西安 来源:北方有色网 2023-03-19
胶凝材料及其制备方法
胶凝材料及其制备方法 1043     
 0

本发明公开了一种胶凝材料及其制备方法,该胶凝材料包括以下原料:工业固体废弃物、外加掺合料和激发剂。本发明所得的胶凝材料具有早期强度高、后期强度持续增长,且具有高抗蚀性和低收缩性,可显著提高工程的使用寿命,缩短工期,提高工作效率,降低施工成本;其制备方法简单,以工业固体废弃物为原料,变废为宝,且制备过程中无需高温煅烧,能耗低,胶凝材料试件成型试件短,可大大缩短工期,提高工作效率。

标签:
固废
陕西 - 西安 来源:北方有色网 2023-03-19
固液分离充分利用装置
固液分离充分利用装置 1038     
 0

本发明公开了一种固液分离充分利用装置,包括液体槽、三角支架、齿轮链条、滚筒和步进电机,所述三角支架上固定连接有支撑杆,所述支撑杆中部固定连接有轴承座,所述轴承座套接有轴承,所述轴承套接有滚筒轴,所述滚筒轴插接有滚筒和第二齿轮,所述滚筒上设有滚筒料口,所述滚筒料口铰接有弧形筒盖,所述弧形筒盖上连接有鸭嘴锁扣,所述第二齿轮通过齿轮链条链条传动连接有第一齿轮,所述第一齿轮套接有电机转轴,所述电机转轴连接有步进电机,所述三角支架上连接有横杆,所述横杆上连接有喷头,该可以将固液废物中的液体分离出来,且可以对固体废物进行冲刷,将固体溶于液体,以液体的形式加以利用,提高了固液废物的利用率。

标签:
固废
陕西 - 西安 来源:北方有色网 2023-03-19
LF炉精炼渣及其制备方法

本发明公开了一种LF炉精炼渣,由60~100份铝电解废旧内衬砖和0~40份的铝灰制备而成,将将铝电解废旧内衬砖和铝灰的粒度破碎至5mm以下,混合10~20min,在300℃以下进行干燥,使混合料的水量小于混合料总重量的0.5%,得到LF炉复合精炼渣;本发明利用铝电解废旧内衬砖和铝灰制备精炼渣剂,废旧内衬砖中的碳化硅和铝灰中的铝在加入LF炉中时放出热量,造成还原气氛,有利于脱除钢中的氧含量;本发明相比于其他LF炉脱氧化渣剂,铝电废旧解内衬砖和铝灰价格便宜,降低LF炉造渣的生产成本,LF炉精炼渣质量稳定,从而达到对铝电解废旧内衬砖和铝灰废弃物的回收利用,提升固体废弃物的附加值。

标签:
固废
陕西 - 西安 来源:北方有色网 2023-03-19
矿区排土场复垦新构建土层结构

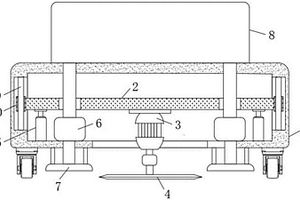
本实用新型公开了一种矿区排土场复垦新构建土层结构,包括从下至上依次铺设的矿区固体废弃物层(1)、粉煤灰或泥炭层(2)和土层(3),其中矿区固体废弃物层(1)的厚度为40~60cm,粉煤灰或泥炭层(2)的厚度为5~20cm,土层(3)的厚度≥50cm,所述矿区固体废弃物层(1)、粉煤灰或泥炭层(2)和土层(3)竖直方向设置有检测管(5)。

标签:
固废
陕西 - 西安 来源:北方有色网 2023-03-19
气速可调的固-液反应气体发生装置及方法

本发明涉及一种气速可调的固‐液反应气体发生装置及方法,该方法是利用加液器从固体反应物的上方向反应器内滴加反应液,反应液向下流动与固体反应物充分接触并完全反应,产生气体,反应产生的气体从固体反应物的上方排出,反应废液流经筛板进入废液室,通过调节加液调节阀控制反应液的滴加速度,从而调节气体的产生速度,反应室与废液室之间通过压力平衡管调整气压平衡,通过停止滴加反应液终止反应,本发明能够实现气体可持续生产,同时液体试剂浪费少,反应停止后装置不带压力,无酸液泄露或溢出的危险,反应进度的控制更加方便、可靠、安全。

标签:
固废
陕西 - 西安 来源:北方有色网 2023-03-19
从粉煤灰和煤矸石中提取镓的生产工艺

本发明公开了一种从粉煤灰和煤矸石中提取镓的生产工艺,该工艺基于对煤系固体废弃物中氧化铝、硅胶提取的基础上,进一步深度利用工艺中产出的废液,进行镓的回收。本发明采取中温煅烧、水浸、碳分、上柱吸附、洗脱等工艺环节之后,获得氯化镓,解决了现有技术中残渣量大以及残渣利用附加值低的难题,粉煤灰和煤矸石中镓的提取率可达到80%以上;本发明整个工艺过程均在常压条件下进行,因此对设备要求条件低,整个工艺过程实现了资源的有效利用,不会对周边环境造成新的污染。

标签:
固废
陕西 - 西安 来源:北方有色网 2023-03-19
无机铝硅酸盐聚合物与有机高分子复合胶凝材料的制备方法

本发明公开了一种无机铝硅酸盐聚合物与有机高分子复合胶凝材料的制备方法,该方法利用可提供无机铝硅酸盐成分的磷渣或矿渣,与苯乙烯/丙烯酸甲酯共聚物乳液,在激发剂硅酸钠的作用下,生成磷渣或矿渣无机铝硅酸盐聚合物与有机高分子复合胶凝材料;其中,苯乙烯/丙烯酸甲酯共聚物乳液的用量为磷渣或矿渣重量的5%~25%,碱性激发剂硅酸钠的用量为磷渣或矿渣重量的13%。本发明的无机铝硅酸盐聚合物与有机高分子复合胶凝材料28天龄期的抗折强度均高于无机铝硅酸盐聚合物,其28D的最高抗折强度是无机铝硅酸盐聚合物的2.08倍。制备过程无三废排放,无需加热,绿色环保,节能降耗,是工业固体废弃物资源化规模利用的有效途径之一。

标签:
固废
陕西 - 西安 来源:北方有色网 2023-03-19
上一页 27 28 29 30 31 ... 44 下一页
共44页    到第

北方有色为您提供最新的陕西西安有色金属固/危废处置技术理论与应用信息,涵盖发明专利、权利要求、说明书、技术领域、背景技术、实用新型内容及具体实施方式等有色技术内容。打造最具专业性的有色金属技术理论与应用平台!

全国热门有色金属设备推荐
展开更多 +
全国热门有色金属技术推荐
展开更多 +

 

江西省隆恩特环保设备有限公司
宣传

报名参会
更多+

报告下载

有色专家
更多+

矿冶科技集团有限公司
党委书记 / 董事长
北京科技大学
教授
广西大学
处长/教授
赣州江钨钨合金有限公司
工程师
北京科技大学、中国科学院
院士
赤泥综合利用研究报告2025
推广

热门技术
更多+

推荐企业
更多+

福建省金龙稀土股份有限公司
宣传

发布

在线客服

公众号

电话

顶部
咨询电话:
010-88793500-807