青岛垚鑫智能科技有限公司
宣传

位置:中冶有色 >

有色技术频道 >

> 固/危废处置技术

分类:
全部
矿山技术
冶金技术
材料制备及加工技术
环境保护技术
分析检测技术
 
全部
废水处理技术
大气治理技术
固/危废处置技术
土壤修复技术
地区:
全部
北京
天津
上海
重庆
河北
山西
辽宁
吉林
黑龙江
江苏
浙江
安徽
福建
江西
山东
河南
湖北
湖南
广东
海南
四川
贵州
云南
陕西
甘肃
青海
内蒙
广西
西藏
宁夏
新疆
其他
其他
展开
 
全部
南京
无锡
徐州
常州
苏州
南通
连云港
淮安
盐城
扬州
镇江
泰州
宿迁

江苏南京有色金属固/危废处置技术理论与应用

免费发布技术信息>>
废矿物油除杂装置
废矿物油除杂装置 1006     
 0

本实用新型涉及废矿物油分离技术领域,公开了一种废矿物油除杂装置,包括振荡分离罐,振荡分离罐从上至下依次设有溢流段、沉降分离段和缓冲分离段,沉降分离段内设有超声波振荡分离器,超声波振荡分离器上方设有废矿物油入口和液体分布器,液体分布器与废矿物油入口连通,液体分布器上设有喷嘴,液体分布器上方设有挡板,废矿物油入口、液体分布器和挡板设在沉降分离段。废矿物油进入本实用新型的振荡分离罐3~5h后就可以分离出净油、固体杂质和水分,与现有技术相比,本实用新型的除杂装置极大地缩短了废矿物油的分离时间;与此同时,分离效率也从60~80wt%,提高到了90~95wt%,处理量高达3~20t/h。

标签:
固废
江苏 - 南京 来源:中冶有色网 2023-03-19
从镁碳酸盐化废液中回收氯化铵的方法

本发明涉及一种从镁碳酸盐化废液中回收氯化铵的方法,将镁碳酸盐化废液泵入氯化铵结晶釜,搅拌并加入浓盐酸调pH2~7,通过输送管链向氯化铵结晶釜中输送富镁矿物原料,进行结晶,结晶完成后,得到悬浊液;将悬浊液通入离心机进行离心,得到固体产物和含有氯化镁的清液,将清液送入富镁矿物浓缩罐,用于封存二氧化碳;将固体产物送至干燥机进行干燥,得到氯化铵。本发明将镁碳酸盐化废液进行再次利用,提高了氨的利用率,降低镁碳酸盐化的成本,并同时对已有的氯化铵生产工艺做出改进,降低了能耗,生产的氯化铵产率高、纯度高,并可持续生产。本发明方法在处理镁碳酸盐化废液、回收氯化铵的过程中不会造成环境污染,整个工艺路线节能、环保。

标签:
固废
江苏 - 南京 来源:中冶有色网 2023-03-19
纤维素废弃物生物制备乙醇并联产壳聚糖的方法

本发明公开了一种纤维素废弃物制备乙醇联产壳聚糖的方法,纤维素废弃物经稀硫酸蒸汽爆破、水洗、过滤得到富含纤维素的固体渣和富含木糖的预水解液,固体渣经纤维素酶糖化和酿酒酵母发酵制备乙醇,预水解液作为培养基培养米根霉并从米根霉中提取壳聚糖。本发明实现了纤维素废弃物中纤维素和半纤维素的全值利用,有利于降低纤维素废弃物生物炼制的成本。

标签:
固废
江苏 - 南京 来源:中冶有色网 2023-03-19
电镀废水重金属稳定达标排放系统

本实用新型公开了一种电镀废水重金属稳定达标排放系统,包括废水收集池、化学处理系统、固液分离系统、离子交换应急系统;化学处理系统包括化学处理池,化学处理池的进水口与废水收集池连接,化学处理池的出水口与所述的固液分离系统的进口连接,固液分离系统的出水口与离子交换应急系统的进口连接,离子交换应急系统包括依次连接的阴离子交换树脂罐和阳离子交换树脂罐。本实用新型由化学处理系统、固液分离系统、离子交换应急系统构成电镀废水重金属排放系统,一级阶段利用化学方法将重金属完全转变为游离状态,并且转变为固体沉淀,二级阶段利用小孔径的膜系统完成固液分离,三级阶段利用离子交换树脂作为应急把关使用,确保电镀废水达标排放。

标签:
固废
江苏 - 南京 来源:中冶有色网 2023-03-19
生活垃圾焚烧飞灰资源化精制过程中废酸协同处置工艺

本发明属于危险固体废弃物处理与资源化利用技术领域,特别涉及一种生活垃圾焚烧飞灰资源化精制过程中废酸协同处置工艺,本发明工艺通过利用大量的废酸溶解飞灰,多次淋洗,将飞灰中二噁英、重金属和盐可以溶解到滤液中,后通过对滤液进行处理,降低滤液中二噁英、重金属和盐的含量,同时分离出氯化钠盐和氯化钾盐,实现废酸和飞灰的资源化综合利用。

标签:
固废
江苏 - 南京 来源:中冶有色网 2023-03-19
苯胺废水铁泥后处理系统及其处理方法

本发明属于固体废弃物处理技术领域,公开了一种苯胺废水铁泥后处理系统及其处理方法,本发明的苯胺废水铁泥后处理系统包括预处理装置、箱式密闭板框压滤机和真空干燥装置,将苯胺废水铁泥经过空气催化氧化反应的清洁生产技术制备铁黑,再经密闭脱水、真空干燥制备成成品铁黑;能有效避免在干燥过程中空气对铁黑的氧化而发生质量问题,还能降低处理成本,达到资源化利用的效果。

标签:
固废
江苏 - 南京 来源:中冶有色网 2023-03-19
褐煤提质废水的处理工艺和处理系统

一种褐煤提质废水的处理工艺,包括:对废水进行降温,加入正向凝聚剂,使废水在降温过程中,形成可沉淀的颗粒固体,再经过搅拌,均化水质;对上步骤处理后的废水,在水温达到正常温度后,加入絮凝剂和助凝剂进行再凝聚,然后经过分离和过滤吸附,去除水中的绝大部分微小杂质;上步骤产水进入生物反应池,利用生物填料中的微生物膜来对来水中的有机物和氮系污染物进行生化降解;生物反应池中的水一部分进入膜分离池,通过设置在膜分离池中的膜分离组件将全部的生物量截留在膜分离池内;膜分离组件截留下来的含有硝化菌的水通过回流管回流至生物反应池;对膜分离组件过滤后的出水加入次氯酸钠进行消毒后,送入清水池。

标签:
固废
江苏 - 南京 来源:中冶有色网 2023-03-19
循环流化床处理工业废盐的系统及方法

本发明公开了一种循环流化床处理工业废盐的方法,在由流化反应区、旋风分离区和盐剂分离区组成的循环流化床处理工业废盐的系统中,工业废盐进入流化床反应区与临氧裂解催化剂混合,从流化反应区底部鼓入空气,使工业废盐和临氧裂解催化剂处于载流流化状态,工业废盐中有机物在低温下进行裂解氧化反应;载流体再切向进入与流化床反应区相连的旋风分离区实现气固分离,气体经集气管排出,固体进入盐剂分离区,自盐剂分离区底部鼓入空气使小颗粒临氧裂解催化剂上浮,净化后的大颗粒工业盐下沉,实现临氧裂解催化剂和工业盐分层,上层的临氧裂解催化剂由回流管返回到流化反应区,下层的工业盐采出。本发明实现低温净化工业废盐,并且可以连续操作,降低处理成本。

标签:
固废
江苏 - 南京 来源:中冶有色网 2023-03-19
硫酸法钛白生产用酸性废水中和曝气槽

本实用新型涉及一种硫酸法钛白生产用酸性废水中和曝气槽,包括槽体和曝气管,所述曝气管设置于槽体底部并连接罗茨风机,槽体内部设置搅拌装置,废水入口和废水出口相对设置于所述槽体上部,废水出口与搅拌轴之间设置挡板,挡板的下端与槽体之间留有缝隙,挡板的上端不低于废水出口的位置;槽体设置外循环管道。中和曝气槽内增加搅拌装置,使得中和反应效果更加充分;槽体内增加挡板,废水中和曝气槽一侧中和后,由挡板底部溢流至另一侧,最后由槽体上部的废水出口流出,增加废水在槽体内的停留时间;在中和曝气槽底部采用锥形结构,并设置外循环管道,利用废水循环的方式,避免中和固体的沉积。

标签:
固废
江苏 - 南京 来源:中冶有色网 2023-03-19
分离提纯VC发酵废水生化处理出水中大分子发色物质的方法

分离提纯VC发酵废水生化处理出水中大分子发色物质的方法,所述VC发酵废水为两步发酵法生产VC过程中产生的废水:(1)出水进行高速离心,并用微孔滤膜过滤,去除其中的悬浮物和固体颗粒;(2)采用凝胶过滤色谱法测定此水样的分子量分布,以确定步骤(3)中超滤膜的截留分子量的参数;(3)根据步骤(2)的结果,选定合适截留分子量的超滤膜对此水样进行超滤得到渗透液和截留液,使所述大分子发色物质包含在截留液中,无机盐和小分子有机物包含在渗透液中;(4)向截留液中添加去离子超纯水,重复步骤(3);(5)重复步骤(3)和(4)。

标签:
固废
江苏 - 南京 来源:中冶有色网 2023-03-19
废旧锂离子电池的资源化分离方法

本发明涉及一种用物理方法把废旧锂离子电池中各种成分,包括外壳、电解液、阳极材料、阴极材料、胶粘剂、铜箔和铝箔的物理分离方法,以及分离获得的纯净电极材料再利用方案,为废旧锂离子电池的资源化和循环生产提供了一条低成本的路线。该路线包括:用机械方法把废电池破碎,把金属外壳和电池材料分离开来;用有机溶剂把电池的电解液和其中的电解质洗出,并从剩余的固体中过滤出来;把除去电解液的电池成分用有机溶剂处理,使所有的电极活性成分从集电体上洗脱,并与隔膜、铜箔、铝箔分离;溶剂、粘结剂都可以重复使用。

标签:
固废
江苏 - 南京 来源:中冶有色网 2023-03-19
PTA废水中有机物回收利用方法

本发明公开了一种PTA(精对苯二甲酸)生产废水中有机物的回收利用方法,首先通过过滤除去PTA废水中的有机芳香酸固体,固体芳香酸返回氧化单元;过滤后的废水与萃取剂A混合后在萃取器中分层,停留时间20‑30分钟;回收有机物去分离器。有机物分离后去氧化反应器再反应。水相再经过树脂吸附装置除去钴锰离子,返回氧化反应器再用。经过吸附后水相再经过两级反渗透除去水中的可溶性有机物。70%水回到精制单元作为打浆水,30%污水浓水送到污水厌氧装置。该发明能大幅度减少废水排放,实现水资源的再生利用,还能回收芳香羧酸,降低工艺的原料消耗,具有效率高,投资省等优点。

标签:
固废
江苏 - 南京 来源:中冶有色网 2023-03-19
含泥水盾构废弃泥浆的同步砂浆及其制备方法

本发明提供一种含泥水盾构废弃泥浆的同步砂浆,每方砂浆按干基重量百分比计,盾构废弃泥浆20%~30%、筛分渣土30%~45%、高炉矿渣粉16%~27%、磷渣粉3%~5%、脱硫石膏3%~7%和4%~7%活性外加剂,水按照固体浓度60%~85%计。所述的盾构废弃泥浆为泥水盾构施工产生的废弃物,0.074mm以下颗粒占95%以上,蒙脱石含量不低于80%,比重在不低于1.20,表观粘度不低于40mPa.s。本发明的技术方案就地消纳泥水盾构废弃泥浆量大,还可处理筛分渣土和工业废弃物;(3)含泥水盾构废弃泥浆的同步砂浆性能较好,成本低、对环境无二次污染。

标签:
固废
江苏 - 南京 来源:中冶有色网 2023-03-19
废旧路面回收再铺路装置

本实用新型涉及一种废旧路面回收再铺路装置,包括机架、粉碎室及加热搅拌室,粉碎室及加热搅拌室均安装在机架上,粉碎室包括壳体、粉碎刀具组、加料口及出料口,粉碎刀具组位于壳体内部,加料口位于壳体顶部并设引流槽,出料口位于壳体底部,并设控制阀,出料口处另设排料管,加热搅拌室包括壳体、加热装置、搅拌装置、碎料进料口、沥青进料口及排料口,其中加热装置、搅拌装置均置于壳体内部,碎料进料口、沥青进料口均位于壳体上表面,排料口位于壳体下段,并设控制阀。本新型可将修路作业中报废路面所产生的固体垃圾再次铺设的新建的路面中,一方面节省了路面铺设材料,降低了路面铺设成本,另一方面也减少了修路过程中固体废弃物产生。

标签:
固废
江苏 - 南京 来源:中冶有色网 2023-03-19
可循环利用的废水处理系统

本实用新型公开了一种可循环利用的废水处理系统,包括T形管,所述T形管的两侧内壁活动连接有同一个凹面过滤板,T形管的两端固定连接有倒U形架,倒U形架之间插接有两个导向杆,导向杆的一侧活动连接有滑动板,所述滑动板的底部活动连接有两个滑动杆,滑动杆的顶端均固定连接有限位块,且滑动杆的底端固定连接有同一个清理刷,所述T形管的底部密封插接有壳体,壳体的两侧内壁固定连接有斜向导轨,斜向导轨之间活动连接有镂空板,镂空板的上表面固定连接有过滤垫。本实用新型能够在对废水进行处理时,对堆积的固体污染物进行清理,以防固体废物堵塞凹面过滤板,保障废水持续性地处理。

标签:
固废
江苏 - 南京 来源:中冶有色网 2023-03-19
用CN过滤系统处理重金属废水的方法

本发明属于水处理工艺技术领域,是一种用于高精度过滤生产废水中的重金属固体颗粒物,以达到回收物料、改善出水水质的工艺路线。本发明利用CN过滤器为主要设备,对高含重金属废水进行过滤处理,并对回收物质进行高效回收。本发明的最大特点在于通过此工艺实现了重金属废水中微小固体颗粒物的分离,过程中未掺入任何杂质,回收物料可重新利用,处理装置出水的色度和悬浮物等指标可达《污水综合排放标准》(GB8978-1996)中一级排放标准;整个过滤系统除了进料和排料过程需要使用机泵和仪表自控用电外不需要额外消耗电能,具有节能高效,流程简洁,运行可靠,操作简便等优点。

标签:
固废
江苏 - 南京 来源:中冶有色网 2023-03-19
基于医学检验用废料回收装置

本实用新型公开了一种基于医学检验用废料回收装置,包括桶体,所述桶体的内腔横向设置有分离板,所述桶体正面的底部固定连接有消毒泵,所述消毒泵的输出端连通有喷雾管,所述喷雾管远离消毒泵的一侧延伸至桶体的内部,所述消毒泵的输入端连通有连接管,所述连接管表面的底部螺纹连接有消毒瓶。本实用新型达到可以消毒并且干湿分离的效果,该基于医学检验用废料回收装置,解决了现有的废料回收装置大都是直接扔在垃圾桶内,而医学废料不仅仅只有固体废料,还会有一定的液体废料,如两者混合在一起对后续的处理会造成很大麻烦,并且废料中会存在一定的细菌,对周围医务人员的安全造成了一定危害的问题。

标签:
固废
江苏 - 南京 来源:中冶有色网 2023-03-19
禽畜废弃物处理方法
禽畜废弃物处理方法 781     
 0

本发明公开了一种禽畜废弃物的处理方法,该方法首先将禽畜废弃物采用发酵处理得到实用价值的沼气,然后对发酵的沼液进行深度处理,采用生物沥浸处理技术,加入优选的沥浸微生物接种物,然后在优选的沥浸条件下处理,沥浸处理压滤后得到固体有机肥料和滤液,对滤液经过石灰调节后进行膜过滤和二级反渗透处理,得到达标的水资源。本发明提供的禽畜废弃物处理方法,经济环保,可操作性强,污水处理效果好,效率高,应用范围广泛,具有良好的经济价值和社会价值。

标签:
固废
江苏 - 南京 来源:中冶有色网 2023-03-19
具备反洗排空功能膜分离技术的废水处理设备

本实用新型公开了一种具备反洗排空功能膜分离技术的废水处理设备,包括处理箱,处理箱内置有粗滤池和曝气池,处理箱的内侧壁固定安装有隔板,主动轮的前侧壁铰接有传动杆的一端,传动杆的另一端铰接在滑块的右侧壁,滑块滑动连接在滑道的内侧壁,通过压力泵将废水引入到粗滤池的内部,电机的输出轴带动主动轮转动,使得滤网在隔板的右侧滑动,通过滤网能够过滤废水中的固体杂质,使得固体杂质停留于粗滤池中,使得相关人员的工作更加方便,然后将微孔曝气器接入电源,对经过滤网之后的污水进行处理,提高废水处理的效果,降低废水内的有害物质,处理后通过阀门控制出水管,避免对环境造成影响。

标签:
固废
江苏 - 南京 来源:中冶有色网 2023-03-19
活性氧化铝改性钢渣及其去除废水中锌离子的应用

本发明公开了一种利用氢氧化铝改性后的钢渣去除水中金属离子的方法。本方法利用改性后的钢渣对废水中的重金属锌离子进行去除,其步骤包括:将原钢渣进行研磨、洗涤、干燥、筛选后,和氢氧化铝粉末混合煅烧进行改性;将改性后的钢渣加入含重金属锌离子废水中,并充分混合;固液分离出尾渣,得到处理后出水。本发明所用的水处理材料为改性的钢渣,成本低,来源广,比重大,回收方便,不易产生二次污染。钢渣本身属于固体废物,通过改性极大提高了吸附容量,将其应用在废水处理当中,达到了“以废治废”的目的,具有良好的经济和环保效益。

标签:
固废
江苏 - 南京 来源:中冶有色网 2023-03-19
苯系化合物污染土壤淋洗废水的处理方法

本发明的苯系化合物污染土壤淋洗废水的处理方法,包括如下步骤:将苯系化合物污染土壤淋洗废水经预处理,以除去不溶于水的固体杂质;将预处理后的废水经活性炭粒子群电催化装置处理,废水停留时间为30分钟以上;废水经上述电催化处理后,加入无机或有机絮凝剂,在絮凝反应沉淀池中进行絮凝沉淀后达标排放。本发明的处理方法可将难降解的含TX-100及苯系有毒有机物的土壤淋洗废水实现就地高效无害化处理,达到一级排放标准,并可实现出水在淋洗工艺中循环使用,大大降低土壤淋洗的总用水量。且本发明采用的车载式电催化装置移动灵活,不受场地限制,特别适用于场地周边无污水处理厂或无污水管网的受污染土壤在治理时使用。

标签:
固废
江苏 - 南京 来源:中冶有色网 2023-03-19
含金属离子和有机杂质的低浓度醋酸废水的处理方法

本发明公开了一种含金属离子和有机杂质的低浓度醋酸废水的处理方法,包括:废水进行钙化处理,使废水中醋酸转变为醋酸钙、硫酸根转变为硫酸钙沉淀,同时将废水中金属离子转变为氢氧化物沉淀;废水过滤得到含硫酸钙和氢氧化物的滤饼、醋酸钙水溶液;醋酸钙水溶液由MVR处理得到醋酸钙过饱和溶液,过滤得到含醋酸钙的滤饼和滤液,滤液结晶干燥得到醋酸钙,和含醋酸钙的滤饼合并得到醋酸钙固体,醋酸钙固体进行热裂解生成丙酮和碳酸钙;含硫酸钙和氢氧化物的滤饼进行热解析处理,热解析处理产生的含有机物蒸汽的气体、MVR处理产生的含有机物的水蒸气以及结晶干燥产生的水蒸气进行深度净化处理。本发明方法实现了醋酸废水的净化与资源化处理。

标签:
固废
江苏 - 南京 来源:中冶有色网 2023-03-19
含矿物酸和有机杂质的低浓度醋酸废水的处理方法

本发明公开了一种含矿物酸和有机杂质的低浓度醋酸废水的处理方法,采用碳酸钙对废水进行钙化处理将废水中的醋酸转变为醋酸钙、硫酸转变为硫酸钙,过滤得到含硫酸钙的滤饼和含醋酸钙的滤液;含醋酸钙的滤液进行MVR处理得到醋酸钙悬浮液,醋酸钙悬浮液经过滤得到含醋酸钙的滤饼和醋酸钙水溶液,醋酸钙水溶液经结晶干燥得到醋酸钙,和含醋酸钙的滤饼合并得到醋酸钙固体,醋酸钙固体酸解生成醋酸和硫酸钙;硫酸钙和/或含硫酸钙的滤饼进行热解析,热解析处理形成的气体、MVR处理产生的含有机物的水蒸气以及结晶干燥产生的水蒸气进入临氧裂解装置进行深度净化处理。本发明方法实现了含硫酸和有机杂质的低浓度醋酸废水的资源化与净化处理。

标签:
固废
江苏 - 南京 来源:中冶有色网 2023-03-19
废物分类处理系统
废物分类处理系统 976     
 0

本发明涉及一种废物分类处理系统,包括发电装置,发电装置的出口处由电机通过管道将废物输送到粉碎输送机上,粉碎输送机与收集罐一相接,收集罐一通过输送带一将收集罐一内的废物由高压风机吹向滚筒和识别装置,其中所述的识别装置分别将识别后的废物通过输送带三和输送带四输送到有机收集罐和尺寸装置;所述的滚筒通过输送带二将废物输送收集罐二。本发明设计合理、使用方便,通过该种处理系统,不仅能够有效的避免资源浪费和固体废物,而且能够充分的分类和处理这些废物,对于有利用价值的废物进行收集并回收利用。

标签:
固废
江苏 - 南京 来源:中冶有色网 2023-03-19
氯酚类废水的无害化处理系统

本实用新型公开了一种氯酚类废水的无害化处理系统,处理系统包括预处理装置、湿式氧化反应装置、废水调配装置、生化处理装置以及尾气处理装置等,其中,所述湿式氧化反应装置的液相产物及固体残渣出口与废水调配装置的入口相连通,所述湿式氧化反应装置的气相产物出口直接通过管道连通至尾气处理装置处理后排出,所述生化处理装置处理后的出水直接排出,生化处理装置处理产生的污泥则通过管道直接导入湿式氧化反应装置。本申请综合处理系统设计合理,利用其进行氯酚废水处理后,氯酚废水的COD去除率大于95%;易于操作,且水质安全性高,出水水质稳定,无尾气排放和污泥产生的问题。

标签:
固废
江苏 - 南京 来源:中冶有色网 2023-03-19
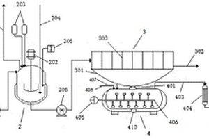
餐饮废物油水分离装置
餐饮废物油水分离装置 1122     
 0

本实用新型涉及一种餐饮废物油水分离装置,它包括进料斗(23)、油水分离桶(9)和集油桶(27),所述油水分离桶(9)内设置有固体物料收集筐(20),所述进料斗(23)与固体物料收集筐(20)之间通过管路(21)相连接,所述固体物料收集筐(20)一侧设置有收油器(18),所述收油器(18)包括收油入口和收油出口(16),所述收油入口处设置有浮球(1)和配对浮球(2),所述收油入口的高度低于油面高度,所述收油出口(16)与集油桶(27)相连接。本实用新型一种餐饮废物油水分离装置,针对餐饮废物中大量的油水成份,能够实现油水的高效分离,具有技术实施方便、结构简单、处理效果好和管理维护方便的特点。

标签:
固废
江苏 - 南京 来源:中冶有色网 2023-03-19
榴莲壳与氨氮废水共聚提质的方法

榴莲壳与氨氮废水共聚提质的方法,按照所述方法,将榴莲壳清洗后烘干并碾碎,然后将碎片与氨氮废水按一定质量比充分混合,放入反应釜中通入氮气并搅拌加热,保温一段时间至反应结束,之后注入NaOH溶液,继续升温加热,保温至反应结束,获得混合产物。将所得混合产物通过真空过滤,去离子水冲洗,并脱水干燥得到固体焦。本发明有效利用生活废物与工农业废水,制备多孔碳和废水处理协同进行,成本较低,环境友好。制备出的固体焦具有高比比表面积,有发达的孔隙结构,可作为水体净化材料进行应用。

标签:
固废
江苏 - 南京 来源:中冶有色网 2023-03-19
工业废盐焚烧处置系统
工业废盐焚烧处置系统 1011     
 0

本实用新型公开了一种工业废盐焚烧处置系统,包括回转窑热解炉,回转窑热解炉的气体出口和高温除尘器连通,高温除尘器的排气口和焚烧炉连接,焚烧炉的烟气出口依次和余热回收锅炉、半干式急冷塔、布袋除尘器连通,布袋除尘器的出气口和碱洗塔连通;所述回转窑热解炉的固体出口和高温除尘器的固体出口与中和罐连通,中和罐依次和沉淀池、过滤器连通。本实用新型还公开了一种工业废盐焚烧排放处理方法。本实用新型中可以有效地将工业废盐有机成分去除,变成干净的无机盐粉回收综合利用或水解无害化处理。

标签:
固废
江苏 - 南京 来源:中冶有色网 2023-03-19
利用催化精馏进行农药废水中甲醛资源化回收的技术

本发明涉及一种利用催化精馏进行农药废水中甲醛资源化回收的技术。上述的技术是含有低浓度甲醛的农药废水在装填有固体酸催化剂的精馏塔反应段内进行催化反应,通过泵外循环方式以合理控制停留时间,使主要以聚合物形式存在的甲醛解聚得到游离形态的甲醛,再进入到精馏段进行浓缩,获得高浓度甲醛溶液,而提馏段则得到去甲醛的废水溶液。高浓度甲醛溶液循环利用作为农药的生产原料,去甲醛的废水溶液经过后续处理可用作工艺用水或达标排放。该技术的实施可使得农药废水中甲醛的回收率达到99%以上,从而实现了农药废水中甲醛的资源化回收再利用,可有效解决农药生产厂家含甲醛废水处理及排放的难题,同时也解决了主要以聚合物形式存在的低浓度甲醛溶液无法在常压下通过精馏实现高效浓缩的问题。

标签:
固废
江苏 - 南京 来源:中冶有色网 2023-03-19
过氧化氢合成装置及一种医用废水处理系统

本实用新型公开了一种过氧化氢合成装置及一种医用废水处理系统,其中过氧化氢合成装置包括太阳能电池板、整流器、蓄电池组、阳极单元、合成单元、阴极单元以及储存单元;太阳能电池板输出端连接整流器输入端,整流器输出端连接蓄电池组输入端,蓄电池组正极连接阳极单元,蓄电池组负极连接阴极单元;合成单元上开设有出口,出口管路连接储存单元;合成单元内设有固体电解质,固体电解质一端连接阳极单元,固体电解质另一端连接阴极单元;其中医用废水处理系统的消毒池连接上述过氧化氢合成装置。本实用新型能够绿色合成过氧化氢,并安全有效地处理医用废水。

标签:
固废
江苏 - 南京 来源:中冶有色网 2023-03-19
上一页 77 78 79 80 81 ... 98 下一页
共98页    到第

中冶有色为您提供最新的江苏南京有色金属固/危废处置技术理论与应用信息,涵盖发明专利、权利要求、说明书、技术领域、背景技术、实用新型内容及具体实施方式等有色技术内容。打造最具专业性的有色金属技术理论与应用平台!

全国热门有色金属设备推荐
展开更多 +
全国热门有色金属技术推荐
展开更多 +

 

江西省隆恩特环保设备有限公司
宣传

报名参会
更多+

报告下载

有色专家
更多+

中南大学
中国工程院 院士
武汉科技大学
校学术委员会主任 / 教授
江西理工大学
教授
长沙有色冶金设计研究院有限公司
正高级工程师/中国铝业首席工程师/全国有色金属行业设计大师/国家注册采矿工程师
昆明冶金研究院有限公司
党委书记、执行董事
赤泥综合利用研究报告2025
推广

热门技术
更多+

推荐企业
更多+

福建省金龙稀土股份有限公司
宣传

发布

在线客服

公众号

电话

顶部
咨询电话:
010-88793500-807