青岛垚鑫智能科技有限公司
宣传

位置:中冶有色 >

有色技术频道 >

> 固/危废处置技术

分类:
全部
矿山技术
冶金技术
材料制备及加工技术
环境保护技术
分析检测技术
 
全部
废水处理技术
大气治理技术
固/危废处置技术
土壤修复技术
地区:
全部
北京
天津
上海
重庆
河北
山西
辽宁
吉林
黑龙江
江苏
浙江
安徽
福建
江西
山东
河南
湖北
湖南
广东
海南
四川
贵州
云南
陕西
甘肃
青海
内蒙
广西
西藏
宁夏
新疆
其他
其他
展开
 
全部
南京
无锡
徐州
常州
苏州
南通
连云港
淮安
盐城
扬州
镇江
泰州
宿迁

江苏苏州有色金属固/危废处置技术理论与应用

免费发布技术信息>>
全自动数控CNC加工中心废料回收设备

本实用新型公开了一种全自动数控CNC加工中心废料回收设备,包括回收箱和与CNC加工中心排料口相连通的排料管,排料管的正下方设有接料斗,接料斗的底端贯通连接在回收箱的上表面,回收箱相背的两侧外壁上均固连接有支撑板,支撑板的上表面均固定连接有电动推杆一,两个电动推杆一的相对一端均贯穿回收箱外壁并固定连接有连接板,两个连接板的外壁上限位滑动连接有U型盒,U型盒的外壁固定连接在回收箱的内壁上,U型盒的下表面开设有多个过滤孔,U型盒的下表面固定连接有导液管,回收箱内壁的下表面设有收集箱二且收集箱二位于导液管的正下方,回收箱的外壁上铰接有箱门,有益于实现废料的固液快速分离并对固体废料进行稳定压缩的效果。

标签:
固废
江苏 - 苏州 来源:中冶有色网 2023-03-19
显影机排废初级处理装置

本实用新型涉及一种显影机排废初级处理装置,包括收集总管、处理槽、进液管,进液管内设有活动塞,活动塞连通有软管,处理槽内自右向左依次设有将处理槽分隔成沉降腔、反应腔、分离腔的第一隔板和第二隔板,第一隔板顶面设有连通沉降腔和反应腔的浮选口,第一隔板中部之间设有连通反应腔和分离腔的分离水口,处理槽外壁顶部设有溢流口。本实用新型通过多个软管上连接活动塞与进液管浮动连接,避免在显影机内部设置多个弯曲的管道出现堵塞,处理槽内的浮选口能够使得较大固体废物沉降在沉降腔内,分离水口能够将漂浮物截留在反应腔,同时利用药水的反应将细小的固体颗粒沉降,溢流口能够将较为洁净的水排出防止结垢。

标签:
固废
江苏 - 苏州 来源:中冶有色网 2023-03-19
实验室有机废液吸引装置

本实用新型公开了一种实验室有机废液吸引装置,包括主体和固定安装在其顶壁上的抽液泵,所述抽液泵上固定连接有吸收管以及贯穿主体顶壁并伸入主体内腔中的输出管,所述主体的两侧分别安装有进气管和出气管,所述主体内腔远离抽液泵的一侧竖直设置有丝杠、与丝杠传动连接并焊接在主体内腔顶壁的步进电机以及被丝杠穿过其两侧的升降块。该实验室有机废液吸引装置,通过设置了步进电机、丝杠、升降块、转轴、外框架、金属筛网和电动伸缩杆,步进电机工作带动金属筛网移动至合适高度,电动伸缩杆伸长并带动外框架远离步进电机的一侧倾斜向下,使该装置自动过滤并排出固体杂物,免去了人工操作的麻烦。

标签:
固废
江苏 - 苏州 来源:中冶有色网 2023-03-19
高盐废水处理系统
高盐废水处理系统 1074     
 0

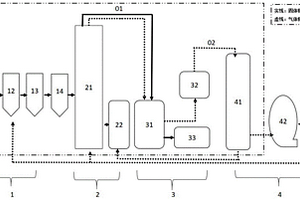
一种高盐废水处理系统,包括原液平衡罐,原液平衡罐连接原液泵,原液泵连接预热器,预热器连接强制循环结晶器第一进料口,强制循环结晶器第一出料口连接轴流机,轴流机连接列管式加热器,列管式加热器连接强制循环结晶器第二进料口;强制循环结晶器底部第二出料口连接出料泵,出料泵连接稠厚器,稠厚器连接离心机,离心机上设置结晶固体出料口和离心母液出料口,离心母液出料口连接母液罐,母液罐连接母液泵,母液泵连接强制循环结晶器第三进料口,列管式加热器连接冷凝水罐;本系统设备主要用于去除高盐废水中的无机盐有害物,通过高温加热蒸发结晶的方法,废水经处理最后变为冷凝水外排,达到零污染排放,同时系统内的能源可循环利用。

标签:
固废
江苏 - 苏州 来源:中冶有色网 2023-03-19
汽车美容喷漆间用的有机废气吸附装置

本实用新型公开了一种汽车美容喷漆间用的有机废气吸附装置,包括固定箱体、内部电机、锁链、和防护网框,所述固定箱体的左右两侧对称固定有进气管和出气管,所述内部电机安装固定在分隔横板的上表面右侧,所述锁链的一端缠绕连接在转轴的表面,所述清洁刷块的后表面与内壁滑槽相互连接,所述防护网框的左侧面与清洁刷块的右侧面相互贴合,所述表面滑槽预留在引流台的上表面,所述防护网框和活性炭吸附框的底部均固定有安装块。该汽车美容喷漆间用的有机废气吸附装置,清洁刷块有刷毛的一面与防护网框的表面相互贴合,清洁刷块能够随着锁链的收放进行上下移动,以便清理防护网框表面停留粘黏的脏污和固体杂物。

标签:
固废
江苏 - 苏州 来源:中冶有色网 2023-03-19
燃油类发动机碳化颗粒废气接收清化过滤器

一种燃油类发动机碳化颗粒废气接收清化过滤器,在其筒体下部设有气流均喷百孔管道,在该气流均喷百孔管的上部通过废气接收导向管与发动机总排气口相通,在气流均喷百孔管的下部设有若干孔,在这些孔的出口下方置有清化药剂液;在筒体的上部设有若干过滤室,在这些过滤室内自下向上依次装有由粗到细的滤网片,在细滤网片上方设有出口管道,在筒体底部设有固体物质储存沉淀槽。本实用新型可使燃油类发动机碳化颗粒有害物质的废气,经清化过滤掉后排放,基本达到零污染,有利于环境保护。其不锈钢零部件耐腐蚀,寿命高。适用于农林机械、机动车、工程机械等燃油类发动机。

标签:
固废
江苏 - 苏州 来源:中冶有色网 2023-03-19
高效废气处理设备
高效废气处理设备 955     
 0

本实用新型公开了一种高效废气处理设备,包括处理箱,所述处理箱底端面左侧连接有支撑座,所述处理箱底端面右侧设置有固定箱,所述处理箱左端面连接有废气进口,所述处理箱内左侧设置有过滤组件,所述过滤组件右侧设置有吸附组件,结构简单,构造清晰易懂,废气在处理箱内依次通过过滤组件过滤固体杂质和部分微粒,通过高压电离板除去有害物质,通过静电吸附板除去微粒,最后通过固定箱内的酸洗溶液再次处理有害物质和可溶性杂质,处理效果好,其中过滤组件和吸附组件均为可拆装设置,方便维护更换,操作简单,值得推广。

标签:
固废
江苏 - 苏州 来源:中冶有色网 2023-03-19
废油再生的一体化再生装置

本实用新型实施例公开了一种废油再生的一体化再生装置,具体涉及废油再生领域,包括循环油箱,所述循环油箱的一侧输出端设置有出油球阀,所述出油球阀的输出端设置有第一进油球阀与进油泵组,所述进油泵组的输出端设置有双筒过滤器,所述双筒过滤器输出端设置有充电混合器,所述充电混合器的输出端设置有深媒介过滤器,所述深媒介过滤器的输出端设置有精过滤器。本实用新型通过废油再生装置实现清除固体颗粒物、金属磨粒、亚微米级颗粒物、油泥、油液氧化物和漆膜的功能,使油液符合国际及国内相关标准中对工业油液各项理化指标的要求,实现对系统的清洗、清除沉积在工业设备上的漆状物和胶质物,可有效脱离油液中所含水分,达到净化油液的目的。

标签:
固废
江苏 - 苏州 来源:中冶有色网 2023-03-19
废橡胶塑料制品热解炭除灰改性制再生炭黑的系统

本实用新型揭示了一种废橡胶塑料制品热解炭除灰改性制再生炭黑的系统,包括酸反应容器、碱反应容器、改性反应容器、喷淋设备、过滤设备、沉淀及水处理系统;其中所述酸反应容器与碱反应容器、改性反应容器相连,分别用于将热解炭与酸、碱及改性剂进行反应;所述喷淋设备与酸反应容器相连,用于对酸反应产生的气体进行中和、吸收;所述过滤设备设置在酸反应容器及改性反应容器的后道,用于对反应完成后的出料进行固液分离;所述沉淀及水处理系统与所述过滤设备相连,用于对过滤后所得滤液中的固体物进行沉淀,废橡胶塑料制品经过本实用新型的系统处理后,热解炭中的灰分含量得以大大降低,实现废橡胶塑料制品循环利用。

标签:
固废
江苏 - 苏州 来源:中冶有色网 2023-03-19
2,5-二甲基-2,5-双(过氧化氢)己烷洗涤废水的处理方法

本发明提供了一种2,5‑二甲基‑2,5‑双(过氧化氢)己烷洗涤废水的处理方法,属于资源化回收处理技术领域。本发明首先通过碱液中和洗涤废水中的硫酸;然后通过加热提高硫酸钠在溶液中的溶解度,且通过补加元明粉(无水硫酸钠)提高溶液中的含盐量,通过盐析效应使得洗涤废水的2,5‑二甲基‑2,5‑双(过氧化氢)己烷析出,形成固液混合物,再通过固液分离得到所需2,5‑二甲基‑2,5‑双(过氧化氢)己烷固体,进行生产回用;然后通过降温析出回收硫酸钠(元明粉),所得离心母液回用于2,5‑二甲基‑2,5‑双(过氧化氢)己烷的洗涤。本发明提供的处理方法简单,处理成本低,能够实现资源的回收利用,且环境友好。

标签:
固废
江苏 - 苏州 来源:中冶有色网 2023-03-19
电镀流水线的废料回收系统

本实用新型公开了电镀流水线的废料回收系统,包括壳体和下卡板,所述壳体的左侧安装有伺服电机,所述壳体的中间位置设置有滑动架,所述滑动架的内部安装有旋转电机,所述旋转电机的输出端设置有连接轴,所述连接轴的右侧安装有旋转轴,所述下卡板设置于旋转轴的右下侧,所述下卡板的上侧设置有上卡板,所述下卡板的右端安装有气压杆,所述壳体的右端设置有旋转盖。本实用新型能够对废料进行清洗回收,通过下卡板和上卡板能够存放电镀流水线上的固体废料,配合旋转电机为连接轴提供动力,使得下卡板和上卡板能够旋转,利用洒水头喷洒清洁液,使得下卡板和上卡板内侧的废料能够被清洗干净,使得清洁更加均匀,更加方便清洁。

标签:
固废
江苏 - 苏州 来源:中冶有色网 2023-03-19
固态危废物料预处理系统

本实用新型涉及一种固态危废物料预处理系统,应用在固体废弃物处理技术领域,解决了破碎不完全的物料容易堵塞后续的生产设备,影响生产效率问题,包括依次连接的垂直提升机、第一破碎机、振动装置和第二破碎机,所述振动装置包括支撑壳体、供支撑壳体振动的振动电机以及托料板,所述托料板上设置有落料孔,所述托料板设置在支撑壳体上,所述支撑壳体的上方设置有上壳体,所述上壳体罩设在支撑壳体上,所述支撑壳体的一端为进料口,所述支撑壳体的另一端为出料口,所述支撑壳体的进料口与第一破碎机输出口连接,所述支撑壳体的出料口与第二破碎机的进料斗连接;具有实现二级独立破碎,增加了物料破碎效果,有助于焚烧处理的效果。

标签:
固废
江苏 - 苏州 来源:中冶有色网 2023-03-19
基于湿式催化氧化与蒸发结晶技术处理废水的工艺

本发明涉及一种基于湿式催化氧化与蒸发结晶技术处理废水的工艺,包括加热罐、进水口、固体废弃物出口、第一输送液体装置、pH调控室、第二输送液体装置、第三输送液体装置、过滤装置、排水口、第一检测装置、第二检测装置及中央控制系统。本发明中央控制系统根据第一检测装置反馈的pH值和第二检测装置反馈的悬浮液含量的数值,分别控制第一输送液体装置压力、第二输送液体装置压力、第三输送液体装置压力,以使经过一段时间后,所述排水口的水质达到排放标准;本发明能够实现自动调控,实时调节废水pH值和悬浮物质量以满足排放标准。

标签:
固废
江苏 - 苏州 来源:中冶有色网 2023-03-19
低温等离子体废气净化装置

本实用新型公开了一种低温等离子体废气净化装置,涉及废气净化技术领域,包括等离子净化器和进气管,所述进气管端部安装有罗茨风机,所述罗茨风机一侧安装有箱体,所述箱体一侧外壁安装有液位窗,所述箱体另一侧外壁焊接有连通管,所述箱体内腔固定连接有隔板,所述箱体顶部可拆卸连接有盖板,所述盖板上方安装有轴流风机,所述轴流风机的进风端导通连接有输送管,所述轴流风机的出风端导通连接有排气管,本实用新型通过排气管将废气通入到水中,因此,废气中的固体颗粒物会被水吸附,而气体则会进入到隔板右侧的空腔中,通过罗茨风机将处理后的气体输送到等离子净化器中,保证了等离子净化器能够正常工作。

标签:
固废
江苏 - 苏州 来源:中冶有色网 2023-03-19
造纸废弃物处置系统
造纸废弃物处置系统 1362     
 0

一种造纸废弃物处置系统,包括:预处理系统、无氧裂解系统、裂解产物收集系统及配套能源气体管理系统;预处理系统由进料装置,预烘干装置,粉碎造粒装置,输送装置,依次连接组成。无氧裂解系统包括裂解炉和无氧保障装置;裂解炉为流化床裂解模式,裂解温度为400‑800℃,加热方式为间接加热。裂解产物收集系统由布袋式固体产物收集装置和气体产物过滤装置组成。配套能源气体管理系统包括储气缓冲装置、燃气锅炉装置及换热器装置。本发明优点,可以处理造纸工业中产生的废弃物,大大减轻了生态环境的破坏,同时使用本系统时,无需对废弃物进行分拣,处理过程中无难处理高危二次污染物产生,处理后的产物可以被再利用。

标签:
固废
江苏 - 苏州 来源:中冶有色网 2023-03-19
带有多级处理机构的油脂废气处理装置

本实用新型公开了一种带有多级处理机构的油脂废气处理装置,包括碱液罐,碱液罐一侧连接有过滤管,过滤管的一端通过管道与离心风机出风口相连接,过滤管内部等距开设有滤框放置槽,滤框放置槽顶端开设有橡胶垫固定槽,橡胶垫固定槽内部固定有橡胶垫,橡胶垫顶面粘接有顶板,过滤管顶面对应顶板顶面中部位置处均安装有定位螺杆,滤框放置槽内部嵌入安装有滤框,滤框内部安装有滤网,通过定位螺杆固定滤框,封闭橡胶垫密封滤框与过滤管之间的空隙,可防止油脂废气漏出,通过滤网去除油脂废气中的粉尘、工业残渣等固体颗粒,可防止装置堵塞,通过滤框放置槽可方便清理更换滤网,提升了装置的稳定性。

标签:
固废
江苏 - 苏州 来源:中冶有色网 2023-03-19
便于卸料排废垃圾车
便于卸料排废垃圾车 941     
 0

本实用新型公开了一种便于卸料排废垃圾车,涉及垃圾车技术领域,为解决现有技术中的现有的生活垃圾中除固体垃圾外还会存在大量的垃圾废水,传统的垃圾车无法对其进行干湿分离,在行驶和卸装的过程中这些废水会流淌在地面上产生刺鼻气味的问题。所述车头驾驶舱的一侧设置有支撑车架,且支撑车架与车头驾驶舱组合连接,所述支撑车架和车头驾驶舱的底部均设置有车轮,所述支撑车架的上方设置有车载垃圾箱,且车载垃圾箱与支撑车架通过螺栓连接,所述车载垃圾箱的底部设置有垃圾滤水箱,且垃圾滤水箱与车载垃圾箱固定连接,所述支撑车架一端的下方设置有排水泵阀口,且排水泵阀口与垃圾滤水箱通过管道连接,所述车载垃圾箱的外侧设置有升降爬架。

标签:
固废
江苏 - 苏州 来源:中冶有色网 2023-03-19
酸碱工业废气处理喷淋设备

本实用新型涉及废气处理设备附属装置的技术领域,特别是涉及一种酸碱工业废气处理喷淋设备,其可以对进入循环泵组件的酸碱中和液进行过滤,以降低固体杂物随酸碱中和液被抽入至循环泵组件和喷淋机构的概率,因此不仅可以降低循环泵组件的故障率,而且降低了喷淋机构发生堵塞的概率;包括塔体、循环泵组件、喷淋机构、填料组件和排污泵组件,塔体的内部设置有工作腔,填料组件安装在工作腔的中上部区域,工作腔的顶端连通设置有排气管,工作腔的左端中下部区域连通设置有废气管和氧气管,工作腔的右端中部连通设置有补液管;还包括过滤器、动力轴、安装块、多组水轮叶、两组带动杆和两组清理刷,循环泵组件的左侧设置有输入管。

标签:
固废
江苏 - 苏州 来源:中冶有色网 2023-03-19
高浓度含磷废水处理系统

本实用新型涉及高浓度含磷废水处理系统,包括依次连通的污水池、PH调节池、混凝池、絮凝池、沉淀槽,和气浮装置,其特征在于:还包括也与所述PH调节池相连通的过滤装置。本实用新型的高浓度含磷废水处理系统,在污水池和PH调节池之间增设过滤装置,首先通过过滤装置拦截废水中因含量高可能已经结块的磷脂固体实现预处理,使后续的处理装置稳定可靠的运行,其次在此基础上将过滤、混凝沉淀、和气浮结合,实现除磷率的大幅提高。

标签:
固废
江苏 - 苏州 来源:中冶有色网 2023-03-19
电镀废水处理用电絮凝装置

本实用新型属于电镀废水处理技术领域,尤其是一种电镀废水处理用电絮凝装置,针对了对电镀废水进行电絮凝处理时,装置内的过滤板清理不便和清理效率较低的问题,现提出如下方案,其包括安装壳,连接块的两侧设置有固定机构,柱形罩壳上设置有清除机构;本实用新型通过固定机构对连接块进行夹紧,从而对滤板进行限位固定,避免滤板在高速转动时发生抖动,电机带动滤板在柱形罩壳内快速旋转,滤板上滤孔内堵塞的固体杂质和表面堆积的杂质在离心力的作用下快速甩出到柱形罩壳的内侧壁上,从而对滤板上的滤孔进行快速清通,通过推动清除机构移动从而对柱形罩壳内侧壁上堆积粘附的杂质进行推出清理,方便柱形罩壳内的杂质进行集中清理。

标签:
固废
江苏 - 苏州 来源:中冶有色网 2023-03-19
基于重量法测定废金液中金含量的方法

本发明公开了一种基于重量法测定废金液中金含量的方法,包括以下步骤:以香蕉皮、多巴胺为原料制得复合吸附剂;量取含金废液置于容器内,并加入复合吸附剂吸附处理,最后过滤,得到的固体采用王水进行再溶解,并收集溶解液;用分析纯盐酸调节上述制得的溶解液的pH,缓慢加入铁粉,搅拌置换;置换完成后过滤,将过滤出的含金渣放入烧杯中,加入98%分析纯硫酸,煮沸处理20‑40min,待冷却至室温后,将上层清液倒出后缓慢加入水稀释后过滤,过滤完成后将金粉洗涤至中性后置于马弗炉内1095‑1105℃下熔炼成金块,冷却后,取出金块称重,根据金块的重量以及含金废液的体积计算出含金废液中的金含量。该方法操作简单,不需要与标准试样或基准物质进行比较,准确度高。

标签:
固废
江苏 - 苏州 来源:中冶有色网 2023-03-19
在工业废硫酸液的治理中生产七水硫酸镁的工艺

本发明提供了一种新型七水硫酸镁的生产方法。其特征在于以磺化碱熔过程中产生的废硫酸作为原料将废硫酸液与镁土进行混合并搅拌使其充分进行离子交换反应,充分反应后,采用絮凝剂进行沉降、除杂、脱色,再用板框压滤分离得到硫酸镁清液,再冷却结晶、离心过滤得到固体七水硫酸镁。本发明方法不仅解决了大量废硫酸的排放问题,而且能从废硫酸液中制成硫酸镁产品,况且本发明方法投资少工艺简单、回收率高,因此具有显着的社会效益和一定的经济效益。

标签:
固废
江苏 - 苏州 来源:中冶有色网 2023-03-19
难降解废水的生化系统强化材料的制备方法及其应用

本发明提供了一种难降解废水的生化系统强化材料的制备方法,具体包括以下内容:将重量百分比为2%‑5%双氰胺甲醛缩聚物及5‑10%聚乙烯比咯烷酮液体混合加热,在160℃反应1‑2h,并冷却至50‑70℃;在温度为50‑70℃下加入30%‑60%硅藻土及10%‑30%活性炭,混合反应3h,直至完全为固体粉末;所述混合物冷却后既得到改性硅藻土复合材料。本发明所述方法制备得到的生化系统强化材,可显著提高生化性能,COD去除率可达到70%以上,节省基建成本,节省提标改造成本,亦可降低后续深度处理的成本。由于产品投加量低,制备简单及环保,可广泛用于各类难降解工业废水中。

标签:
固废
江苏 - 苏州 来源:中冶有色网 2023-03-19
从偏光片制程的废溶液中提炼碘的系统

本实用新型公开了一种从偏光片制程的废溶液中提炼碘的系统,包括依次相连的冷却结晶槽、硼砂脱水机、滤液中继槽、第一滤液收集槽、粗碘脱水机和第二滤液收集槽;冷却结晶槽的进口端连接有废溶液进管;硼砂脱水机的固体出口端设有硼砂收集槽;滤液中继槽的进口端分别通过硫酸进管和次氯酸钠进管连接硫酸储桶和次氯酸钠储桶;粗碘脱水机的固体出口端设有粗碘收集槽;第二滤液收集槽的进口端分别通过氢氧化钠进管和硫代硫酸钠进管连接氢氧化钠储桶和硫代硫酸钠储桶,出口端连接有处理液出管。本实用新型能够提炼较高纯度的碘,回收率高,环保性强,系统自动化程度高,降低了劳动力和成本。

标签:
固废
江苏 - 苏州 来源:中冶有色网 2023-03-19
环保设备废弃收集装置

本实用新型公开了一种环保设备废弃收集装置,包括机壳,所述机壳的内腔设有收集室,所述收集室的下方设有第一缓冲组件,所述收集室的侧壁纵向等距间隔排列设有若干第二缓冲组件,所述机壳的两侧壁顶部设有入料管,所述入料管的一端设有入料斗且所述入料斗上铰接设有入料盖,所述入料管的另一端贯穿所述机壳的侧壁并连通设有导料软管,所述机壳的顶部设有气缸,所述气缸的输出端贯穿所述机壳的顶壁并延伸至所述机壳的内腔且所述气缸的输出端上设有压料板,本实用新型可以对废弃进行挤压,使收集室的空间可以更好地利用,增加了收纳空间,还能够对固体废弃和液体废弃进行分类收纳,对后续工作提供便利,并且还可以对收集室的内壁进行清理。

标签:
固废
江苏 - 苏州 来源:中冶有色网 2023-03-19
光催化废气处理装置
光催化废气处理装置 1028     
 0

本实用新型公开了一种光催化废气处理装置,包括壳体以及分别设置于壳体相对两侧的进气口、出气口,壳体内沿进气口至出气口方向依次设有预处理模块、臭氧催化模块、光催化模块、等离子体催化模块;光催化模块包括交错排列设置于壳体内的上光催化剂载体板和下光催化剂载体板;光催化剂模块与臭氧催化模块之间及等离子体催化模块之间均设有紫外光源组件A,相邻的上光催化剂载体板与下光催化剂载体板之间也设有紫外光源组件A。本实用新型通过预处理模块减少了固体颗粒对臭氧催化、光催化及等离子体催化的效果,解决了现有光催化废气处理装置难以实现多组分废气处理的问题,可方便的调整相邻上催化剂载体板与下催化剂载体板之间的相对角度。

标签:
固废
江苏 - 苏州 来源:中冶有色网 2023-03-19
咖啡豆加工废水资源化处理系统

本实用新型专利涉及废水处理与资源化领域,具体公开了一种咖啡豆加工废水资源化处理系统。通过构建果肉分离‑热水解‑厌氧(辅助沼气提纯与甲烷/二氧化碳资源化系统)、氮磷回收反应器、膜生物好氧反应器的水处理与资源化系统,实现咖啡初加工过程中有机固体利用与废水中有机物高效转化为高纯甲烷与二氧化碳回收,氮磷被负载型活性炭吸附转化为土壤改良剂,经过系统处理出水转化为灌溉用水。本实用新型充分摒弃传统咖啡加工废水末端治理思维模式,通过优化改善废水水质,全方位提升有机质、CH4/CO2、氮磷资源、水资源转化力度,构建咖啡加工可持续水处理与资源化技术体系,具有低碳、高效、无二次污染、能耗低优势,符合国家双碳战略。

标签:
固废
江苏 - 苏州 来源:中冶有色网 2023-03-19
制药废水处理系统
制药废水处理系统 1130     
 0

本实用新型属于制药废水领域,尤其是一种制药废水处理系统,针对传统的制药废水经过过滤净化后,每隔一段时间,需要对过滤网进行单独清理,部分机构的过滤网采用振动式工作,虽然能够有效减少过滤网的滤孔堵塞,但是无法对过滤网表面的杂质进行自动清理,降低了实用性的问题,现提出如下方案,其包括处理箱,处理箱的两侧内壁之间固定有支撑板,支撑板的顶端侧壁沿竖直方向开设有第一通道;本实用新型中通过设置的过滤网,能够快速对废水中的固体杂质进行快速过滤分离,通过设置的驱动电机以及第一连接轴,能够过滤网进行快速翻转,通过设置的下料板,能够对过滤网表面的杂质进行快速排出处理,提高了便捷性。

标签:
固废
江苏 - 苏州 来源:中冶有色网 2023-03-19
废弃橡胶内热式连续生产燃料油系统

本实用新型涉及一种废弃橡胶内热式连续生产燃料油系统,其包括螺旋进料机、塑料热熔反应釜、流体计量泵、反应装置外壳体、内热式滚筒热解反应装置、阶梯锥形管式等压分配器、固体物料螺旋输送机、星轮式电动出料机、布料装置、炭黑收集器、弹力清扫装置、油气收集管路、密封装置、主反应装置驱动装置,废弃橡胶内热式连续生产燃料油系统是将经过分选、清洗、粉碎成相当规格的废旧塑料经螺旋输送机送入塑料热熔反应釜中熔解为液体。所述的布料装置进料支管、物料平衡仓、均料滚筒、水平堰板、鹰嘴式布料口、柔性涂布板组成。本实用新型废塑料热解炼油连续生产系统通过热解,连续、定量将两种不同形态的产物分别输出,从原材料投入到产品输出形成一个完整的连续生产系统。

标签:
固废
江苏 - 苏州 来源:中冶有色网 2023-03-19
电子级混合废酸回收及循环利用技术

本发明涉及一种电子级混合废酸回收及循环利用技术,该技术以电子行业制绒过程中产生的高浓度硝酸、氢氟酸、氟硅酸废液为原料,在强制搅拌条件下,据混酸中氟硅酸的含量加入分析纯钠盐或钾盐固体,形成氟硅酸盐固体沉,沉淀经过滤、烘干后以高纯氟硅酸盐产品出售,母液直接回产线使用,本发明具有工艺思路简单,环保高效等特点。

标签:
固废
江苏 - 苏州 来源:中冶有色网 2023-03-19
上一页 62 63 64 65 66 ... 81 下一页
共81页    到第

中冶有色为您提供最新的江苏苏州有色金属固/危废处置技术理论与应用信息,涵盖发明专利、权利要求、说明书、技术领域、背景技术、实用新型内容及具体实施方式等有色技术内容。打造最具专业性的有色金属技术理论与应用平台!

全国热门有色金属设备推荐
展开更多 +
全国热门有色金属技术推荐
展开更多 +

 

江西省隆恩特环保设备有限公司
宣传

报名参会
更多+

报告下载

有色专家
更多+

南方科技大学
外籍院士
矿冶科技集团有限公司
所长/研究员级高工
广西大学
处长/教授
中国矿业大学(北京)
院长/教授
中国瑞林工程技术有限公司
中国工程院院士
赤泥综合利用研究报告2025
推广

热门技术
更多+

推荐企业
更多+

福建省金龙稀土股份有限公司
宣传

发布

在线客服

公众号

电话

顶部
咨询电话:
010-88793500-807