青岛垚鑫智能科技有限公司
宣传

位置:北方有色 >

有色技术频道 >

> 固/危废处置技术

分类:
全部
矿山技术
冶金技术
材料制备及加工技术
环境保护技术
分析检测技术
 
全部
废水处理技术
大气治理技术
固/危废处置技术
土壤修复技术
地区:
全部
北京
天津
上海
重庆
河北
山西
辽宁
吉林
黑龙江
江苏
浙江
安徽
福建
江西
山东
河南
湖北
湖南
广东
海南
四川
贵州
云南
陕西
甘肃
青海
内蒙
广西
西藏
宁夏
新疆
其他
其他
展开
 
全部
广州
韶关
深圳
珠海
汕头
佛山
江门
湛江
茂名
肇庆
惠州
梅州
汕尾
河源
阳江
清远
东莞
中山
潮州
揭阳
云浮

广东深圳有色金属固/危废处置技术理论与应用

免费发布技术信息>>
厌氧促进剂及处理泛固体废弃物的方法

本发明公开了一种厌氧促进剂其处理泛固体废弃物的方法,本发明的厌氧促进剂能够有效促进物料代谢降解速度、提高沼气清洁程度,并且该方法能够同时制造清洁燃气和有机复合肥料,工作效率高,经过多次实验和数据分析发现本发明的厌氧促进剂可提高厌氧池工作效率30%‑35%。

标签:
固废
广东 - 深圳 来源:北方有色网 2023-03-19
二噁英复合阻滞剂及其制备方法与处理固体废物的方法

本发明公开一种二噁英复合阻滞剂及其制备方法与处理固体废物的方法,所述二噁英复合阻滞剂包括氮基阻滞剂、硫基阻滞剂、磷基阻滞剂,所述磷基阻滞剂的质量占所述二噁英复合阻滞剂质量的40~60%。本发明将氮基阻滞剂、硫基阻滞剂、磷基阻滞剂三类阻滞剂配合使用协同作用,具有协同二噁英抑制效果,通过使飞灰中的CuCl2等催化剂钝化,从而影响其对二噁英生成的催化活性,此外复合阻滞剂的分解产物可以消耗二噁英生成所需的氯源,从而抑制二噁英的生成,不产生二次污染,本发明提供的二噁英复合阻滞剂对二噁英的阻滞率高达99.8%。

标签:
固废
广东 - 深圳 来源:北方有色网 2023-03-19
动物类危险固体废物灭菌脱水反应装置的新型搅拌装置

本实用新型公开了一种动物类危险固体废物灭菌脱水反应装置的新型搅拌装置,其包括驱动电机、减速器、上椭圆封头、上侧耳、叶片、搅拌轴、热电偶、下侧耳、蒸汽入口管、下椭圆封头、壳体和刀片;所述驱动电机固定安装在减速器上,减速器固定安装在上椭圆封头上,搅拌轴与减速器的输出轴连接,上椭圆封头固定安装在壳体的顶面上,壳体上安装有上侧耳和下侧耳,搅拌轴安装在壳体内,搅拌轴上安装有若干个叶片,叶片上安装有若干个刀片,壳体上安装有热电偶,下椭圆封头固定安装在壳体的底面上,蒸汽入口管安装在下椭圆封头上。

标签:
固废
广东 - 深圳 来源:北方有色网 2023-03-19
不锈钢蚀刻装置中金属固体图案废料回收装置

本实用新型公开了不锈钢蚀刻装置中金属固体图案废料回收装置,该装置包括底座和喷淋槽,所述底座顶部的一侧设有机仓,所述底座顶部的另一侧分别设有安装柱和蚀刻液槽,所述安装柱的顶部设有固液上升分离回收框,所述安装柱一侧的顶部设有连接架,所述机仓底部的一侧与连接架的一侧设有电梯式过滤网,所述电梯式过滤网内部的两侧分别设有相互适配的返回轮与驱动齿轮;本实用新型通过两组传送带驱动机构和皮带过滤网的配合形成过滤功效的固液分离功能,并利用传送滚轮机构的水平进料系统和悬吊式传送机构的垂直进料系统集成化,促使装置的固液分离系统可同时适应不同的进料机构以及连续式蚀刻工作。

标签:
固废
广东 - 深圳 来源:北方有色网 2023-03-19
用于固体废弃垃圾再生资源处理的破碎分拣装置

本实用新型公开了一种用于固体废弃垃圾再生资源处理的破碎分拣装置,特别是涉及垃圾处理技术领域,包括机架、设置在机架上的分拣舱及设置在分拣舱上的进料斗,进料斗嵌设在分拣舱顶部,且进料斗顶部套设有斗盖,进料斗内壁左右两侧对称铰接有两块铰板,且铰板底部均固定有弹簧,两根弹簧尾端分别与进料斗内壁左右两侧焊接,铰板顶部中间均铰接有连接轴,进料斗内壁左右两侧且靠近铰板上方通过固定件对称固定有两块抵板;在需要添加垃圾时,能够有效对灰尘进行格挡,使得破碎时产生的灰尘不易扬起至进料斗的斗口处,使用方便;另外,通过设置从动齿轮、主动齿轮、链条、轴体、轴套和横板,能够有效地将堆集的部分垃圾击散,垃圾便可通过筛分网充分的被筛分,提高了筛分效果。

标签:
固废
广东 - 深圳 来源:北方有色网 2023-03-19
固体建筑废物分级碎解的处理装置

本实用新型公开了一种固体建筑废物分级碎解的处理装置,包括箱体,所述箱体靠近其两侧的下表面均固定安装有支撑腿,所述箱体靠近其中部的上表面开设有进料口,所述箱体靠近其底部的背面固定安装有第一碎解装置,所述第一碎解装置包括第一电机,且第一电机固定安装在箱体的背面,所述第一电机的输出轴固定连接有蜗杆,且蜗杆靠近其一端的两侧均啮合连接有蜗轮,所述蜗轮的内壁固定连接有转轴,所述转轴的一端伸入箱体且外壁固定连接有滚动锟,所述滚动锟靠近其四周的外壁固定设有半圆凸条,所述箱体靠近其两侧的下表面均开设有出料口。本实用新型,通过上述结构的配合,达到了方便上下料,碎解彻底的效果。

标签:
固废
广东 - 深圳 来源:北方有色网 2023-03-19
固体废弃物处理工艺用发酵槽

本实用新型公开了一种固体废弃物处理工艺用发酵槽,属于发酵槽领域,包括槽体和盖板,所述槽体的顶部两侧均固定有侧板,两个侧板相靠近的一侧底部均开设有滑槽,两个滑槽之间转动连接有传动轴,且传动轴的一端延伸至其中一个侧板的外部,传动轴位于侧板外部的一端固定有转盘,所述传动轴的外部固定有两个第一齿轮,且两个第一齿轮分别位于两个滑槽的内部,所述盖板位于槽体的顶部,且盖板的两侧分别延伸至两个滑槽的内部,所述盖板的顶部开设有两组齿槽。本实用新型结构合理,设计巧妙,不仅可以方便的对盖板进行开合,而且可以方便的调节发酵的温度,同时也方便了发酵后发酵产物的排出,易于推广使用。

标签:
固废
广东 - 深圳 来源:北方有色网 2023-03-19
固体废物处理用储存设备

本实用新型公开了一种固体废物处理用储存设备,包括空心腔,所述空心腔顶部设置有第一内腔以及第二内腔,所述第一内腔顶部以及第二内腔顶部之间连接有波纹板,所述第一内腔以及第二内腔相背的一端底部均固定设置有挡板,两个所述挡板相对的一端均连接有插板,两个所述插板均安插在空心腔内。本实用新型通过电机正转带动转轴以及凸轮转动,凸轮转动带动两个插板向两侧移动,两个弹簧拉伸,波纹板伸长,当凸轮转动至横向距离最长时,第一内腔与第二内腔之间的距离最大,储存空间最大,将电机关闭,第一内腔与第二内腔在两个弹簧拉力的作用下以及在凸轮的作用下实现将第一内腔与第二内腔相对固定,从而实现对储存空间调节。

标签:
固废
广东 - 深圳 来源:北方有色网 2023-03-19
固体废物金属检测回收设备

本发明涉及金属回收技术领域,公开了一种固体废物金属检测回收设备,包括箱体,所述箱体的一侧设有清洗机,所述清洗机的一侧设有连接板,所述连接板背离所述清洗机的一侧设有烘干机,所述烘干机背离所述连接板的一侧对称设有金属出管口,所述金属出管口背离所述烘干机的一侧设有金属分流板,所述金属分流板背离所述金属出管口的一侧对称设有第一收集盒,所述第一收集盒背离所述金属分流板的一侧设有第二收集盒,所述连接板、所述烘干机、所述金属出管口、所述金属分流板、所述第一收集盒和所述第二收集盒均与所述箱体固定连接,所述箱体远离所述清洗机的一侧设有金属收集箱,本发明结构合理,生产成本低,可以很好地分流出铁金属与其他金属。

标签:
固废
广东 - 深圳 来源:北方有色网 2023-03-19
固体废弃物的预处理装置

本实用新型适用于垃圾处理技术领域,提供了一种固体废弃物的预处理装置,机架上方设置有电机支架,电机支架内设置有电机,电机的输出轴与第一皮带轮固定连接,电机右侧设置有破碎机,破碎机上方设置有进料漏斗,进料漏斗顶部设置有挡板,进料漏斗右端面设置有散热口,破碎机正面设置有第二皮带轮,第一皮带轮与第二皮带轮通过皮带连接,第二皮带轮中心连接有中心轴,中心轴外部设置有转子,转子外部设置有击打锤和翻转板,破碎机背面通过固定板将中心轴固定,破碎机外侧设置有控制面板,控制面板内部对侧设置有反击板,破碎机底面设置有出料口,本实用新型利用数字化工艺,提高了粉碎效率的同时减小了工作过程中存在的安全隐患。

标签:
固废
广东 - 深圳 来源:北方有色网 2023-03-19
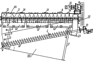
固体废弃物热解炉
固体废弃物热解炉 941     
 0

一种固体废弃物热解炉,包括:由钢制水循环夹套及耐火内衬构成的燃炉本体,其特征在于:炉膛的底部设置一具搅渣功能的活动炉排;活动炉排下部设有防止灰渣进入抽气口的挡渣圈。本实用新型设计科学,结构合理,由于采用的活动炉排之搅渣器为外圈齿啮合传动,不会因炉排集灰而造成传动机构和炉膛下通道的堵塞;设置在抽气口前挡渣圈,则可使炉膛与抽气口之间形成一S形弯道,从而避免灰渣抽入抽气口及抽气管道。

标签:
固废
广东 - 深圳 来源:北方有色网 2023-03-19
用于环保的多功能固体废物处理系统

一种用于环保的多功能固体废物处理系统,包括底板、推动装置、支撑板、压块装置、框体装置、拉动装置、挡板装置、电机装置及过滤装置,底板上设有第一支撑杆、第一回收箱及第一固定块,推动装置包括第一电缸、第一推动杆、第一推板、第一固定杆及第二固定杆,支撑板上设有第一通孔、堵塞板、第一挡板、握持环、第一弹簧及第二固定块,压块装置包括第二电缸、第一支架、第二支架、第二支撑杆、第一斜板、第三固定杆、第二推动杆、第二推板、定位架、移动板及第二弹簧,框体装置包括第一框体、第二框体、封闭板、握持杆、第四固定杆、第一连接杆、管道、风机及第五固定杆。本发明能够对固体垃圾进行有效的研磨,方便对其进行回收。

标签:
固废
广东 - 深圳 来源:北方有色网 2023-03-19
环保型建筑固体废弃物再利用处理装置

本发明涉及建筑废物处理的技术领域,尤其是涉及一种环保型建筑固体废弃物再利用处理装置,包括呈倒U字形的支撑架,支撑架沿物料水平的传输方向呈导通设置;支撑架上沿物料的传输方向依次设置有夹持机构和第一破碎机构。本发明支撑架呈导通设置,因此体积较大的物料可以进行破碎的处理。

标签:
固废
广东 - 深圳 来源:北方有色网 2023-03-19
环保的固体废物处理系统

一种环保的固体废物处理系统,包括底板、支撑板、第一粉碎装置、第一电缸装置、第二粉碎装置、第二电缸装置及支架装置,底板包括第一支撑杆、第二支撑杆、回收箱、第一定位杆及第二定位杆,支撑板上设有第一通孔、第一过滤网、振动器,第一粉碎装置包括第一粉碎框、第一横杆、第一粉碎轮、第一粉碎齿、第一支架,第一电缸装置包括第一电缸、第二支架、第一推动杆、推板、粉碎块、第三支架及第三定位杆,第二粉碎装置包括进料框、第二粉碎框、第二粉碎轮、第二粉碎齿、第一固定杆,第二电缸装置包括第二电缸、第二推动杆、推动块及第四横杆,本发明能够将固体垃圾进行彻底的粉碎,以便对其进行回收,粉碎的效率较高,并且粉碎的效果较好。

标签:
固废
广东 - 深圳 来源:北方有色网 2023-03-19
用于固体废物燃烧的无烟焚烧装置

本发明公开了一种用于固体废物燃烧的无烟焚烧装置,涉及垃圾处理技术领域,包括焚烧室和炉膛,其特征在于,炉膛分为第一炉膛、第三炉膛和第二炉膛,且炉膛与焚烧室之间形成有内腔,第一炉膛、第三炉膛和第二炉膛的内部由上往下分隔为焚烧腔和集灰腔,第三炉膛的内部中心处安装有中心风棒,该焚烧装置还包括上料机构、翻盖机构、烟气处理机构、助燃机构。本发明使垃圾在炉膛内充分摊开,增大焚烧面积,并对烟气二次焚烧,使得烟气中固体颗粒焚烧更加彻底,而焚烧后的高温烟气进入内腔内,可对炉膛起到保温作用,防止热量的流失,同时经过烟气处理机构对排出的烟气的多级净化,使得排出的烟气无害化,进一步达到了无烟式焚烧目的。

标签:
固废
广东 - 深圳 来源:北方有色网 2023-03-19
新型固体废物挤压装置

本实用新型公开了一种新型固体废物挤压装置,其组成包括:支撑底板,支撑底板底部固定安装有万向轮,支撑底板两端固定安有支撑固定件,自动上料装置的进料口一上方固定安装粉碎装置,支撑底板上表面中间处固定安装挤压箱,挤压箱左端顶部进料口二处固定安装导料装置,挤压箱顶部固定安装挤压液压缸,挤压液压缸底部固定安装挤压板,挤压板下表面两端固定连接刮板,挤压箱左端固定安装推料液压缸,挤压箱右端开设有出料口二,出料口二对应的支撑底板上固定安装传送带,挤压箱前表面安装有观察窗。该装置结构设计合理,操作起来省时省力非常便捷,具有自动上料、可移动、粉碎搅拌功能,实现对废物的挤压、推送和运送。

标签:
固废
广东 - 深圳 来源:北方有色网 2023-03-19
固体废料破碎分拣装置

本实用新型涉及一种固体废料破碎分拣装置,其包括破碎分拣装置、支架、承物板与气缸,所述破碎分拣装置包括破碎部与分拣部,所述分拣部与所述破碎部出料口连接,所述支架设置在所述破碎部出料口附近,所述支架上端靠近所述入料口一端设置有铰接板,所述承物板设置在所述支架上端,所述承物板靠近所述入料口一端上表面与所述铰接板上表面铰接,所述支架远离所述入料口一侧设置有支撑板,所述气缸设置在所述支撑板上,所述气缸分别与所述承物板下表面和支撑板铰接。本实用新型具有能够节省操作人员体力、提升倾倒固体废料效率的效果。

标签:
固废
广东 - 深圳 来源:北方有色网 2023-03-19
用于放射性固体废物处理的电弧等离子体发生器系统

本实用新型提供一种用于放射性固体废物处理的电弧等离子体发生器系统,包括:等离子体发生器、冷却水供应与流量调节系统、气体供应与流量调节系统、发生器电源以及控制与保护装置,其中,所述冷却水供应与流量调节系统、气体供应与流量调节系统、发生器电源以及控制与保护装置分别与所述等离子体发生器相连,所述冷却水供应与流量调节系统、气体供应与流量调节系统以及发生器电源分别与所述控制与保护装置相连。本实用新型整个系统安全性、可靠性高,特别适用于高危险性的废物处理,尤其是放射性废物处理。

标签:
固废
广东 - 深圳 来源:北方有色网 2023-03-19
固体废弃物干化炭化燃烧优化控制系统和控制方法

本发明公开了一种固体废弃物干化炭化燃烧优化控制系统和控制方法,包括进料装置、干化设备、燃烧室、热解炉、辅助燃料供应装置、物料重量检测器、物料含水率检测器、热解炉入口烟气温度检测器、烟气成分监测器、热解气流量检测器、热解气热值检测器、辅助燃料流量检测器、中央控制器、鼓风机、引风机。该控制方法:进料、热值监测,烟气成分和浓度、温度监测以及燃烧控制。本发明的固体废弃物干化炭化燃烧优化控制系统将热量监测和烟气监测引入控制系统中,能够实现对燃料和燃烧的多重控制,满足干化炭化热量的需求,有效降低污染物的产生且使燃料处于高效燃烧的状态。

标签:
固废
广东 - 深圳 来源:北方有色网 2023-03-19
建筑固体废弃物再生制作的环保透水路面砖

本实用新型公开了一种建筑固体废弃物再生制作的环保透水路面砖,包括透水砖基层,所述透水砖基层的上端设置有透水地坪层,所述透水砖基层内安装有安装结构,所述安装结构的内部对称设置有两个连接固定轴,两个所述连接固定轴上均安装有一个连接组件,所述连接组件包含连接卡块,所述连接卡块的内端设置有连接臂,所述透水砖基层内开设有一号透水孔。本实用新型所述的一种建筑固体废弃物再生制作的环保透水路面砖,属于环保透水路面砖领域,通过设置连接组件,可以便于相邻的几块透水砖之间的相互连接,进而使得透水砖之间的间隙不会加大,最终降低其对人们出行的影响;通过设置安装结构,可以便于将连接组件安装在透水砖上。

标签:
固废
广东 - 深圳 来源:北方有色网 2023-03-19
节能环保型的固体废物处理装置

本实用新型公开了一种节能环保型的固体废物处理装置,具体涉及固体废物处理领域,包括外壳,所述外壳的顶部表面设置有进料管,所述进料管的顶端延伸至外壳的内部,所述外壳与进料管固定连接,所述进料管的数量为两个,两个所述进料管之间设置有横杆,所述横杆的底部设置有清理杆。本实用新型通过设有清理杆与推动杆,与现有技术相比,通过圆块可以让推动杆发生转动,让推动杆由竖直状态变成水平状态,使得支撑板沿着倾斜板发生移动,并与转动板之间的距离逐渐扩大,可以让转动板自动发生倾斜变化,使得转动板表面残留在杂质自动向下运动,从而能在外壳内部处理残留的杂质,减少了安装的手续,不会影响后续的使用。

标签:
固废
广东 - 深圳 来源:北方有色网 2023-03-19
用于固体废物处理高效粉碎设备

本实用新型公开了一种用于固体废物处理高效粉碎设备,具体涉及固体废物处理领域,包括外壳,所述外壳的内部设置有粉碎辊,所述外壳的内壁设置有导流板,所述导流板的数量为两个,两个所述导流板关于外壳的竖直方向中心轴线对称设置,所述导流板与外壳的内壁固定连接。本实用新型通过设有过滤板与破碎板,与现有技术相比,通过第一电机可以带动推动杆发生转动,让大的材料停留在过滤上,之后通过第二电机可以带动运动块发生移动,使得两个破碎板之间距离缩小,让材料移动到中间,通过两个破碎板的合并可以对没有粉碎好的材料再次进行粉碎,从而对没有达到标准的材料进行筛选粉碎,减少人工操作,提高工作的效率。

标签:
固废
广东 - 深圳 来源:北方有色网 2023-03-19
用于建筑施工材料的固体废物粉碎处理设备

本实用新型公开了一种用于建筑施工材料的固体废物粉碎处理设备,涉及建筑废料处理技术领域,包括装置本体和粉碎辊,所述装置本体的内壁位于粉碎辊的下方固定有下料板,且下料板的端面开设有贯穿下料板的下料孔,所述下料板的底端位于下料孔的下方设置有密闭板,且密闭板的下方位于装置本体的内壁安装有二次粉碎箱,所述二次粉碎箱的内部中间位置处设置有分隔板,且二次粉碎箱的内部位于分隔板的两侧均安装有液压缸。本实用新型通过粉碎辊、液压缸、下料板、下料孔、二次粉碎箱和压板,对资源进行了最大化利用,节能环保;通过密闭板、二号拉绳、二号滑轮、二号卷筒、从动齿轮、齿条板、一号拉绳、一号滑轮和下料口,提升了工作效率。

标签:
固废
广东 - 深圳 来源:北方有色网 2023-03-19
动物类危险固体废物破碎机

本发明公开了一种动物类危险固体废物破碎机,包括工作腔体,所述工作腔体具有进料口和出料口,还包括转动装置、用于驱动转动装置转动的驱动装置和切割装置,所述转动装置贯穿工作腔体,且由进料口端向出料口端延伸,所述驱动装置的动力输出端耦合到转动装置的一端,所述切割装置固定在工作腔体的内壁上,用于与转动装置相配合,在转动装置带动被破碎物料翻转时切碎被破碎物料。本发明避免了人工操作,使物料可被均匀、较完全地切碎。

标签:
固废
广东 - 深圳 来源:北方有色网 2023-03-19
固体有机废物除臭评估装置

本实用新型公开了一种固体有机废物除臭评估装置,包括外壳、储水箱、导流装置、箱门、把手、净化装置、滤网抽屉、气体在线监测系统、控制面板、警报器和支撑脚和显示屏,所述外壳内部设置有滤网抽屉,所述气体在线监控系统贯穿外壳设置,所述外壳顶部设置有控制面板,所述外壳顶部设置有警报器,所述外壳底部四角处固定设置有支撑脚,所述箱门前端设置有显示屏。本实用新型通过导流装置实现生物除臭剂与有机废物的接触,通过气体监控系统的设置,有效的监控外壳内的气体变化情况,通过净化装置的设置,大大净化废气,环保、无副作用。

标签:
固废
广东 - 深圳 来源:北方有色网 2023-03-19
核电厂固体废物处理系统自动开封盖装置

本发明公开了一种核电厂固体废物处理系统自动开封盖装置,其包括对中摇臂、旋转机构、力矩扳手和控制系统,所述对中摇臂对废物桶的桶盖进行对中定位,旋转机构带动力矩扳手旋转至与桶盖上的螺栓对齐,力矩扳手对桶盖上的螺栓进行拆卸或紧固;所述对中摇臂有多个,多个对中摇臂由同一摇臂气缸控制,同步进行收紧或张开;其特征在于:每一个对中摇臂的定位端都设有夹紧块,夹紧块朝向桶盖边缘的侧壁上开设有用于卡住桶盖边缘的凹槽;对中摇臂收紧时,夹紧块的凹槽与桶盖边缘的接触为面接触。与现有技术相比,本发明将对中摇臂的圆柱滚球结构改为开设凹槽的夹紧块,使对中摇臂与桶盖边缘的接触由线接触变为面接触,增加了桶盖对中定位的可靠性。

标签:
固废
广东 - 深圳 来源:北方有色网 2023-03-19
动物类危险固体废物油渣分离装置

本实用新型公开了一种动物类危险固体废物油渣分离装置,包括具有油渣入口和出渣口的分离槽,还包括位于分离槽内、用于压榨油渣的压榨机和用于对压榨出的油进行过滤的滤网,压榨机的进料端与油渣入口相接,压榨机的出料端与出渣口相接,滤网安装于压榨机的下方,滤网的下方设置有用于接油的装置。本实用新型的分离装置使得油渣混杂物一次性连续经油渣物压榨和油液过滤处理,能极大降低动物类危险固体废物渣的含油率,从而分离出纯度较高的动物油,同时还较以往的处理方案具有更短的分离流程和更高的分离效率。

标签:
固废
广东 - 深圳 来源:北方有色网 2023-03-19
固体废物处置场排水系统

本发明公开了一种固体废物处置场排水系统,其包括开设有渗析水孔的处置单元格、渗析水收集系统和渗析水收集处理厂房,处置单元格的渗析水孔开设于处置单元格底板的一侧边上,渗析水收集系统设于各列处置单元格侧面的地下。与现有技术相比,本发明固体废物处置场排水系统设于处置单元格侧面的地下,因此不会因承重大而失效,稳定性更强;也不会因为工程屏障失效而引起处置单元格的沉降,既保护了处置单元格和覆盖层,提高了处置场的长期天然安全性,也降低了排水系统的维护工作量和人员受照剂量,有助于降低工程量,降低工程造价。

标签:
固废
广东 - 深圳 来源:北方有色网 2023-03-19
固体废物土地填埋浸出液体处理装置

本实用新型公开了一种固体废物土地填埋浸出液体处理装置,包括箱体,所述箱体内部从左向右依次设有过滤室、沉淀室、驱动室,所述驱动室内的底壁上固定有气缸,所述气缸的活塞杆上固定有横杆,所述横杆右端贯穿箱体右侧壁与套块相连,所述套块内设有竖管,所述套块与竖管固定连接,所述竖管顶端连接有弹簧管,所述弹簧管远离竖管的一端与吸水泵相连,所述吸水泵固定在箱体顶端右侧,所述竖管底端固定有吸附块,所述吸附块的底端设有多个吸水口,多个所述吸水口顶端均通过连接管相连。本实用新型能够有效去除固体废物土地填埋浸出液体,并能够及时对污染液体进行处理,处理效率高、效果好,有效地避免二次污染。

标签:
固废
广东 - 深圳 来源:北方有色网 2023-03-19
落差式建筑固体废弃物分离装置

本申请涉及建筑固体废弃物物料回收设备的技术领域,涉及一种落差式建筑固体废弃物分离装置,包括固定架、以及安装于所述固定架上的输料机,所述输料机的顶端下方设有倾斜向下的滑动组件,所述滑动组件安装于所述固定架上,且所述滑动组件一侧设有多个朝向所述滑动组件的高压风机,所述滑动组件下方还设有收集箱,物料在自身的重力作用下会发生滚动,此时,高压风机对滚动的物料进行吹动,使得轻质物料和灰分能够从滑动组件远离高压风机的一侧吹到收集箱,而较大的物料会继续往下运动,实现对物料的分离,同时提升了物料分离效果。

标签:
固废
广东 - 深圳 来源:北方有色网 2023-03-19
上一页 51 52 53 54 55 ... 59 下一页
共59页    到第

北方有色为您提供最新的广东深圳有色金属固/危废处置技术理论与应用信息,涵盖发明专利、权利要求、说明书、技术领域、背景技术、实用新型内容及具体实施方式等有色技术内容。打造最具专业性的有色金属技术理论与应用平台!

全国热门有色金属设备推荐
展开更多 +
全国热门有色金属技术推荐
展开更多 +

 

江西省隆恩特环保设备有限公司
宣传

报名参会
更多+

报告下载

有色专家
更多+

郑州大学
中国工程院 院士
长春黄金研究院有限公司
总经理
鞍钢集团有限公司
中国工程院院士
中国矿业大学(北京)
院长/教授
赣州江钨钨合金有限公司
工程师
赤泥综合利用研究报告2025
推广

热门技术
更多+

推荐企业
更多+

福建省金龙稀土股份有限公司
宣传

发布

在线客服

公众号

电话

顶部
咨询电话:
010-88793500-807