青岛垚鑫智能科技有限公司
宣传

位置:中冶有色 >

有色技术频道 >

> 加工技术

分类:
全部
矿山技术
冶金技术
材料制备及加工技术
环境保护技术
分析检测技术
 
全部
功能材料技术
复合材料技术
新能源材料技术
合金材料技术
加工技术
地区:
全部
北京
天津
上海
重庆
河北
山西
辽宁
吉林
黑龙江
江苏
浙江
安徽
福建
江西
山东
河南
湖北
湖南
广东
海南
四川
贵州
云南
陕西
甘肃
青海
内蒙
广西
西藏
宁夏
新疆
其他
其他
展开
 
全部

有色金属加工技术理论与应用

免费发布技术信息>>
具有温度调节功能的锂电池模组

本申请公开了一种具有温度调节功能的锂电池模组,包括:若干电芯单元,用于存储电能;支架,用于支撑电芯单元;水泵,用于驱动液体流动;冷却器,用于冷却液体;加热器,用于加热液体;具有温度调节功能的锂电池模组还包括一根液流管;其中,液流管穿过支架并且至少部分位于电芯单元之间;液流管被造成具有若干弯曲部和若干直线部,其中弯曲部位于支架之外,直线部沿着电芯单元长度方向延伸;水泵、冷却器和加热器均设置在支架的外侧,并且与液流管连通。本申请的有益之处在于提供一种结构可靠且能有效调节温度的具有温度调节功能的锂电池模组。

标签:
加工技术
浙江 - 杭州 来源:中冶有色网 2023-03-18
适用于300W具备自动除尘功能的锂电充电器

本实用新型公开了一种适用于300W具备自动除尘功能的锂电充电器,涉及充电器技术领域,解决了现有的锂电充电器,除尘装置大都需单独额外配备与其配套的电驱动力源,这在一定程度上增加了充电器的成本和能耗的问题。一种适用于300W具备自动除尘功能的锂电充电器,包括壳体,所述壳体包括轨道条,所述壳体整体由上下两部分锁紧对接组成,其中上壳体左右内壁的上半部分上对称固定有两排共八处轨道条,此两排轨道条上对称滑动安装有四处定位轴,且四处定位轴上呈前后对应滑套安装有两处驱动框。本实用新型中两排刷杆的滑擦动力来源于风机,这省去为充电器额外配套除尘清擦电机,在一定程度上缩减了充电器整体的制造成本。

标签:
加工技术
江苏 - 无锡 来源:中冶有色网 2023-03-18
新型电动汽车锂电池综合热管理系统

本实用新型涉及电池热管理技术领域,尤其涉及一种新型电动汽车锂电池综合热管理系统,包括锂电池箱体模块,所述锂电池箱体模块包括箱体框架、紫铜管,所述箱体框架呈密封中空结构,其内部填充有相变材料;所述箱体框架的左右侧壁上设有用于所述紫铜管穿过的通孔,所述紫铜管的两端设置于所述箱体框架的外部形成用于制冷剂进、出的制冷剂进口和制冷剂出口。本实用新型采用相变材料作为吸热和放热的介质,具有小型化、轻量化、热管理效果好等优点。

标签:
加工技术
江西 - 南昌 来源:中冶有色网 2023-03-18
锂离子电池生产用的夹具

本实用新型公开了一种锂离子电池生产用的夹具,包括固定座和固定架,所述固定座上表面固定安装有下夹持块,所述下夹持块内开设有三组等距分布的下夹持槽,所述下夹持槽内安装有弧形缓冲板,所述弧形缓冲板下表面通过多组等距分布的压缩弹簧与下夹持槽内底部固定连接;所述固定架上表面中部垂直开设有螺孔,所述螺孔内旋接有调节螺杆,所述调节螺杆底部置于固定架内的一端与转动轴座转动连接。本实用新型通过下夹持槽内的弧形缓冲板和压缩弹簧的配合使用,使得该夹具可以适应锂离子电池的膨胀和收缩,避免夹持过紧或过松影响该夹具的夹持效果,且通过上夹持槽内的防磨垫片,可以避免对锂离子电池外壁造成磨损,较为实用。

标签:
加工技术
河南 - 驻马店 来源:中冶有色网 2023-03-18
锂电池太阳能物联网多功能路灯

本实用新型涉及路灯技术领域,提供了一种锂电池太阳能物联网多功能路灯。包括:基座、灯杆、清洗装置、若干灯罩、风力发电装置、控制器和服务器;其中,灯杆安装于基座的上表面,清洗装置安装于灯杆的顶端侧面,若干灯罩安装于灯杆的上部;灯罩上设有多个太阳能电池板、多个锂电池和多个LED灯,多个LED灯可选择开启;服务器与控制器远程通讯连接,控制器电连接灯杆、清洗装置、若干灯罩、多个锂电池和风力发电装置。本实用新型的有益效果在于:通过物联网对布置在大范围内的路灯进行控制,远程打开单个LED灯或多个LED灯;同时能够远程控制太阳能电池的充电、灯杆的伸缩和LED灯的照射角度等;该路灯能够高效运行、降低能耗。

标签:
加工技术
新疆 - 乌鲁木齐 来源:中冶有色网 2023-03-18
锂离子浆料过滤筛网装置

本实用新型涉及浆料过滤技术领域,且公开了一种锂离子浆料过滤筛网装置。该锂离子浆料过滤筛网装置,包括本体、喉箍和网纱,本体外侧活动套接喉箍,本体底部活动安装网纱,本体包括不锈钢桶、安装环、安装螺纹孔、进料孔、出料孔和十字固定架,喉箍包括箍壳、钢带、钢带孔、第一螺纹孔、紧固螺栓、第二螺纹孔、U型固定块、第三螺纹孔和网纱固定螺栓。该锂离子浆料过滤筛网装置,具备循环使用和成本低等优点,自制不锈钢筛网,只需根据实际使用情况制作几只,使用后只需将喉箍和网纱进行拆卸,然后对本体进行清洁即可,清洗过后再次安装网纱即可投入使用,且网纱价格便宜,此改善可大大降低总成本,且实现可持续生产,降低对环境影响。

标签:
加工技术
安徽 - 宣城 来源:中冶有色网 2023-03-18
密封效果好的锂电池存储盒

本实用新型公开了一种密封效果好的锂电池存储盒,包括存储盒本体,所述存储盒本体内腔的底部设置有支撑装置,所述存储盒本体内壁两侧的顶部均固定连接有固定板,所述存储盒本体的顶部固定连接有固定框,所述存储盒本体的顶部设置有盖板。本实用新型通过存储盒本体、支撑装置、固定板、固定框、盖板、密封垫、框型密封块、凹槽、螺纹杆、吊钩、吊环、钢丝绳和拉紧装置的设置,不仅可以使存储盒本体和盖板之间贴合的更加紧密,同时还解决了传统的锂电池存储盒密封性能不佳,容易受到外界灰尘和湿气影响,降低了存储盒实用性的问题,该密封效果好的锂电池存储盒,具备密封性能优越的优点,值得推广。

标签:
加工技术
广东 - 惠州 来源:中冶有色网 2023-03-18
汽车用防爆锂电池
汽车用防爆锂电池 816     
 0

本实用新型涉及锂电池技术领域,且公开了一种汽车用防爆锂电池,包括车用电池壳体,所述车用电池壳体的左右两侧均固定安装有弧形块,所述车用电池壳体的右侧固定安装有进水管和出水管,且车用电池壳体内腔底部的两侧均固定安装有电池片,所述车用电池壳体的内腔固定安装有位于两个电池片之间的隔板,所述车用电池壳体的内腔固定安装有冷却板。该汽车用防爆锂电池,通过四个冷却板的设置,且冷却板与电池片之间存在气流空间,使得冷却板和电池片之间的空气流动,保证冷却板的冷气能够在车用电池壳体的内腔运动实现全面降温,同时通过温度传感器的设置,使得该装置内部温度过高时,控制器控制旋转电机和驱动电机开启。

标签:
加工技术
江西 - 宜春 来源:中冶有色网 2023-03-18
锂电池抗挤压外壳
锂电池抗挤压外壳 1197     
 0

本实用新型公开了一种锂电池抗挤压外壳,包括壳体,所述壳体的顶部设置有顶盖,所述顶盖的顶部活动连接有防护盖,所述壳体顶部的左侧和右侧均设置有插头,所述壳体的左侧和右侧均固定连接有固定块,所述防护盖的左侧和右侧均固定连接有限位板。本实用新型通过设置防护盖、防护槽、限位板和限位机构的配合使用,通过限位机构对限位板的位置进行固定,从而实现了对防护盖的位置进行固定的目的,通过防护槽的使用,可以对插头进行有效防护,解决了现有锂电池抗挤压外壳在闲置时不能对插头进行防护,插头裸露在外,防护措施低的问题,该锂电池抗挤压外壳,具备对插头进行防护的优点,值得推广。

标签:
加工技术
江西 - 吉安 来源:中冶有色网 2023-03-18
艇载饱和潜水逃生舱锂电应急供电装置

本实用新型公开了一种艇载饱和潜水逃生舱锂电应急供电装置,属于饱和潜水领域,包括主电池箱和电池箱,电池箱设有多组,多组电池箱通过导线和主电池箱并联在一起,主电池箱上设置充电正极和充电负极,充电正极和充电负极用于连接充电线进行充电,主电池箱上还设置放电正极和放电负极,放电正极和放电负极连接艇内用电设备,所述主电池箱上还设置报警器和急停开关,急停开关用于紧急关闭主电池箱。本应急供电装置,锂电池箱采用分体式结构,有效利用艇内零碎空间,增大了内部人员可活动空间。应急电源选型为锂电池,占用空间小、使用寿命长。电池箱上设有急停开关,用于电池温度过高时在电池管理系统失效情况下紧急断电。

标签:
加工技术
安徽 - 芜湖 来源:中冶有色网 2023-03-18
锂电池电芯叠片机
锂电池电芯叠片机 1151     
 0

本实用新型属于锂电池加工技术领域,特别是涉及一种锂电池电芯叠片机,锂电池电芯叠片机包括腔体、叠片平台、以及设置于所述腔体底部用于传输电芯极片的传输带,所述腔体包括预热腔,预热腔内设置有用于对所述电芯极片加热的电磁波加热装置,以使所述电芯极片的温度达到第一预设温度;所述传输带将所述第一预设温度的电芯极片传送到所述叠片平台,在所述叠片平台对所述电芯极片进行压制定型。

标签:
加工技术
广东 - 广州 来源:中冶有色网 2023-03-18
锂电池贴U型胶机构
锂电池贴U型胶机构 813     
 0

本实用新型提供了一种锂电池贴U型胶机构,包括支撑架、丝杆组件和升降伺服电缸,所述支撑架上对称地安装有两个料盘,每一料盘的下方分别安装有送胶组件,所述送胶组件用以拉取料盘上的胶带,每一送胶组件的一侧分别安装有水平设置的吸胶块,所述吸胶块上设有贴胶滚轮,以同时贴合锂电池左、右极耳的U型胶,每一贴胶滚轮的下方安装有竖直设置的切胶组件,所述切胶组件用于切断胶带,所述支撑架安装在丝杆组件上,该支撑架的一侧设有用于定位锂电池的定位组件,所述定位组件与一升降伺服电缸传动连接。本实用新型解决了生产效率低、兼容性不强、贴胶不牢固和胶带剪裁不均匀的众多问题。

标签:
加工技术
广东 - 东莞 来源:中冶有色网 2023-03-18
锂电叉车充电机电路
锂电叉车充电机电路 1083     
 0

本实用新型公开了一种锂电叉车充电机电路,包括三相线L、L和L相连的输入端以及接地的充电器外壳,所述输入端串联漏电保护短路器接在滤波器的一端上,滤波器的另一端分别与大交流接触器、电网电压检测控制总成以及变压器的并联口相接,所述大交流接触器的另一端与压敏电阻和三相整流桥的并联口相接。本锂电叉车充电机电路,提出了用第一IGBT模块与第二IGBT模块来代替BMS管,通过移相全桥来实现北美480V高输入电压的锂电池充电机,利用第一IGBT模块与第二IGBT模块譬如FF150R12KS4的高耐压1200V,来做移相全桥电路中的开关管,从而大大提高移相全桥对输入三相电压的适应范围,目前最高可以兼容加拿大600V的三相电的输入范围。

标签:
加工技术
广东 - 东莞 来源:中冶有色网 2023-03-18
锂离子电池生产用电焊装置

本实用新型属于锂离子电池生产设备领域,具体涉及一种锂离子电池生产用电焊装置,包括焊接机,焊接机上部连接有支架,焊接机上竖直设有滑轨,支架上设有与滑轨相配合的滑块;支架上竖直设有气缸,气缸的伸缩端连接有与焊接机相连接的焊接头,焊接头下方设有夹具结构;夹具结构包括支撑板,支撑板上滑动连接有安置台,安置台上设有夹具;夹具包括夹具座,夹具座沿长度方向上设有若干个定位件,定位件包括设于夹具座上的底座,底座上设有定位块和与定位块相配合的动位块,动位块和定位块之间设有圆形卡槽。本实用新型的目的在于提供一种结构简单、能够适应不同尺寸的锂离子电池。

标签:
加工技术
河南 - 新乡 来源:中冶有色网 2023-03-18
锂电池超声波焊接装置

本实用新型公开了一种锂电池超声波焊接装置,包括调节箱,所述调节箱的顶端一侧固定有顶板,顶板的底端一侧固定有隔板,调节箱的内部设置有锂电池,隔板远离锂电池的一侧底端固定有两组限位杆,限位杆之间设置有螺纹杆,螺纹杆上螺纹连接有移动块,移动块的顶端分别固定有置物架和支撑柱,支撑柱的顶端转动连接有从动齿轮,从动齿轮的顶端边缘处对称铰接有两组调节杆,置物架的一侧安装有双向电机,双向电机的输出轴延伸至置物架的内部并固定有主动齿轮。本实用新型设计巧妙,结构合理,操作简单,方便对不同型号的物品夹持固定,能够扩大装置的适用范围,同时能够提高装置的焊接效果,增大焊接范围,有利于提高焊接效率,实用性强。

标签:
加工技术
湖北 - 荆门 来源:中冶有色网 2023-03-18
锂电池加热系统
锂电池加热系统 1087     
 0

一种锂电池加热系统,包括温度信号采集单元、主控单元以及第一加热单元,所述温度信号采集单元与第一加热单元分别连接主控单元。与现有技术相比。本实用新型的锂电池加热系统,采用温度信号采集单元采集电池板附近的温度参数,若是该温度参数低于主控单元所设定的值,主控单元则会驱动第一加热单元加热,以提高电池板的温度,从而解决了寒冷的天气下锂电池充电速度减缓的问题。

标签:
加工技术
江苏 - 扬州 来源:中冶有色网 2023-03-18
锂电钢轨钻孔机
锂电钢轨钻孔机 878     
 0

本实用新型公开了一种锂电钢轨钻孔机,包括驱动组件、夹轨组件和进给组件;驱动组件包括驱动电机、控制箱、齿轮变速器和锂电池;驱动电机底部安装于齿箱体上;齿箱体内设有齿轮变速器;齿轮变速器和锂电池分别与控制箱电连接;控制箱侧面设有固定板;夹轨组件包括装夹螺杆、支架压轮和钢轨紧固压板;钢轨紧固压板与固定板底部相连;装夹螺杆设于固定板的顶部;支架压轮通过活动支架与装夹螺杆转动连接;进给组件包括活动设于控制箱侧板上的钻孔进给手柄;控制箱内设有PLC和智能PID调节器;控制箱顶部设有与PLC电连接的显示屏和蜂鸣器;PLC分别与智能PID调节器和电量测试仪相连。

标签:
加工技术
四川 - 成都 来源:中冶有色网 2023-03-18
过滤锂离子电解液杂质的装置

本实用新型属于一种过滤锂离子电解液杂质的装置;包括锂离子电解液反应釜和不锈钢钢桶,所述锂离子电解液反应釜通过不锈钢放料管道和不锈钢钢丝软管与不锈钢钢桶相连,不锈钢放料管道上依次设有阀门、第一不锈钢过滤器、第二不锈钢过滤器和子法兰,不锈钢钢丝软管与子法兰相对应的一端设有母法兰,子法兰和母法兰之间依次设有第一四氟垫圈、不锈钢滤网和第二四氟垫圈;所述第一不锈钢过滤器为0.2μm不锈钢过滤器,所述第二不锈钢过滤器为0.1μm不锈钢过滤器,所述不锈钢滤网为1000目不锈钢滤网;具有结构简单、设计合理、能够实现多级过滤,在保证电解液纯净的前提下,达到不浪费料、成本低、工作效率高和密封性能好的优点。

标签:
加工技术
河南 - 新乡 来源:中冶有色网 2023-03-18
用于锂电池生产的固液吸附设备

本实用新型公开了一种用于锂电池生产的固液吸附设备,包括壳体,所述壳体中部固定设有主转轴,主转轴内部固定设有电热丝,主转轴下端固定设有搅拌叶片,所述搅拌叶片呈漩涡状,壳体内部左右对称交错设置有四组导料装置,所述导料装置包括上导板和下导板,上导板向内倾斜,下导板向外倾斜,上导板外侧固定于壳体上,下导板内端位于上导板内端内侧。与现有技术相比,本实用新型的有益效果是:本实用新型结构简单,操作方便,在对锂电池原料进行搅拌加热时,能最大程度的减小对材料结构的伤害,从而提升锂电池的品质,此外本实用新型还配备有空气泵能使壳体内产生一定的真空度,促进固液吸附,进一步提升产品质量。

标签:
加工技术
江苏 - 淮安 来源:中冶有色网 2023-03-18
生产电池级碳酸锂的加料液体分布器

本实用新型公开了一种生产电池级碳酸锂的加料液体分布器,包括装置主体,装置主体的顶部设置有铝合金板,铝合金板的顶部设置有把手,铝合金板的侧面设置有进料口,所诉装置主体的侧面设置有散热孔,装置主体的内部设置有工作瓶,工作瓶的内部设置有处理器,处理器的内部设置有一级搅拌器,一级搅拌器的底部设置有二级搅拌器,二级搅拌器的顶部设置有小孔,二级搅拌器的内部设置有小齿轮,小齿轮的底部设置有大齿轮,二级搅拌器的底部设置有三级搅拌器,三级搅拌器的侧面设置有储料瓶,储料瓶的侧面设置有出料口,处理器的底部设置有隔板,隔板的底部设置有电池组,通过二级搅拌器使碳酸锂充分混合,提高了碳酸锂的使用率。

标签:
加工技术
江西 - 宜春 来源:中冶有色网 2023-03-18
磷酸铁锂的快速分散混料装置

本实用新型涉及磷酸铁锂加工领域,具体是一种磷酸铁锂的快速分散混料装置,包括箱体,所述箱体内腔从上到下依次为粉碎室、研磨室和过滤室,所述粉碎室与研磨室之间固定架设安装有支撑基座,所述研磨室与过滤室之间固定架设安装有筛网;所述支撑基座的中部上表面和下表面均为凹型设置;所述箱体的顶板上表面固定安装有用于驱动转动杆转动的驱动电机;所述转动杆的下部外壁上还固定安装有与支撑基座上倾斜面相平行设置的搅拌杆;所述转动杆的底端外圈通过螺纹连接方式安装有与支撑基座下表面相配合的研磨盘。本实用新型有效提高了磷酸铁锂前驱体混合的均匀性,工艺时间大大缩短。

标签:
加工技术
广东 - 广州 来源:中冶有色网 2023-03-18
高性能锂电池电芯铝塑膜成型机

本实用新型公开了一种高性能锂电池电芯铝塑膜成型机,包括箱体,箱体底部两侧均固定连接有支撑柱,箱体一端设置有控制装置,箱体一端开有进料口,箱体的另一端开有出料口,箱体顶部的一侧固定连接有气源,箱体的顶部且位于气源的一侧固定连接有涂料箱,气源通过导气管与涂料箱连接;箱体内壁的两侧之间从左至右依次设置有第一转动轴、第二转动轴和第三转动轴,箱体内壁的底部一侧固定连接有第一电机,第一电机通过第一皮带与第三转动轴连接,本实用新型涉及锂电池制造装置技术领域。该高性能锂电池电芯铝塑膜成型机通过第二电机带动第四转动轴转动,从而带动通料板和喷头进行旋转,进而能够增加喷头的喷洒范围。

标签:
加工技术
江西 - 抚州 来源:中冶有色网 2023-03-18
氢氧化锂生产系统
氢氧化锂生产系统 1090     
 0

本实用新型公开了一种氢氧化锂生产系统,包括依次相连的制液槽、粗过滤装置、滤液储槽、精密过滤装置、一级耐碱纳滤膜过滤装置、二级耐碱纳滤膜过滤装置、蒸发系统、离心装置。本实用新型大大提高了传统氢氧化锂的产品纯度,并且降低了传统氢氧化锂的生产耗能。

标签:
加工技术
四川 - 成都 来源:中冶有色网 2023-03-18
用于锂电池电路板保护装置

本实用新型公开了一种用于锂电池电路板保护装置,属于锂电池技术领域,包括电池盒,所述电池盒的内部安装有锂电池,且电池盒的上方安装有电路板盒,所述电路板盒与电池盒固定连接,且电路板盒的一侧安装有盒盖,所述电路板盒的底部通过固定架安装有电机,所述电机驱动轴的一端安装有扇叶,本实用新型设置了电机、通风网、通风孔和散热孔,在电路板的下方安装有电机,在温度传感器检测到电路板盒内部温度过高时,启动电机带动扇叶,外界空气在扇叶的旋转下,由通风网进入电路板盒内部,再由通风孔进入电路板的元件面,最后由散热孔排出,带走电路板产生的热量,解决了电路板难以散热的问题。

标签:
加工技术
四川 - 成都 来源:中冶有色网 2023-03-18
无缝排布锂电池组的组装工具

本实用新型提供一种无缝排布锂电池组的组装工具,包括滑轨、滑块、螺纹孔、转动块、转动杆、右组装架、放置槽以及左组装架,螺纹孔对称开设在组装箱内部左右两侧,螺纹孔内部安装有转动杆,转动杆外侧固定有转动块,左组装架安装在组装箱内部左侧,右组装架安装在组装箱内部右侧,组装箱内壁前后两侧对称安装有滑轨,滑轨内部安装有滑块,右组装架前后端面对称安装有滑块,左组装架前后端面对称安装有滑块,该设计解决了原有锂电池组排布时存在较大缝隙的问题,本实用新型结构合理,方便锂电池组无缝排布,组装效率高。

标签:
加工技术
江苏 - 无锡 来源:中冶有色网 2023-03-18
带有散热结构的锂电池

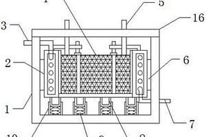
本实用新型公开了一种带有散热结构的锂电池,包括安装外壳、固定框和电池本体,安装外壳的顶部固定设有顶盖,安装外壳的底部均匀固定设有若干滑筒,安装外壳的内壁通过若干固定板与固定框的外壁固定连接,固定框的内壁开设有环形空腔,环形空腔的内部固定设有环形水管,固定框的内壁与电池本体的外壁滑动连接,本实用新型一种带有散热结构的锂电池,该锂电池固定在固定框的内部,固定框的内部固定设有环形水管,当装置内部温度过高时,向环形水管内部通入冷却液,辅助装置进行散热,减缓装置老化,进一步提高该装置的使用性能;该装置底部固定设有若干弹簧,且弹簧具有缓冲减震的作用,可以进一步保护装置的使用安全。

标签:
加工技术
广东 - 深圳 来源:中冶有色网 2023-03-18
worx锂电池转镍电池电动工具的转换装置

本实用新型公开了一种worx锂电池转镍电池电动工具的转换装置,属于电动工具转换器领域,具体包括上壳和与上壳适配卡合的下壳,上壳呈L形;L形上端包括顶部和颈部,颈部顶面完全覆盖顶部底面,且颈部顶面面积大于顶部底面的面积,形成凸台形的连接端口;下壳包括底板和设在底板远离上壳侧的突起部,突起部设有金属插脚;worx锂电池与金属插脚电连接后,通过连接端口为worx镍电池电动工具供电;使得worx锂电池可以与镍电池的电动工具一起适配使用。

标签:
加工技术
广东 - 深圳 来源:中冶有色网 2023-03-18
锂电池分切机极片除尘装置

本实用新型涉及除尘装置技术领域,尤其为一种锂电池分切机极片除尘装置,包括除尘箱,所述第一吸尘盒的上侧中间处固定设置有第一吸尘管道,所述第二吸尘盒的下侧中间处固定设置有第二吸尘管道,所述除尘箱的右侧固定设置有工作箱,所述固定支撑板位于第一转轴下侧固定设置有第二转轴,所述第一除尘毛刷通过第一固定轴与第一可调节轴承连接,所述第二除尘毛刷通过第二固定轴与第二可调节轴承,所述第一除尘毛刷与第二除尘毛刷的上侧固定设置有输送板,通过设置的该装置能够对极片表面产生的粉尘、铜屑、铝屑等异物,进行清理,能够提高锂离子电池极片表面的洁净度和降低制造电池成本高,大大提高锂电池极片表面的清洁程度和清洁的效率。

标签:
加工技术
湖南 - 永州 来源:中冶有色网 2023-03-18
用于硅酸镁锂连续烘干设备

本实用新型涉及一种用于硅酸镁锂连续烘干设备,其特征在于,包括箱体、搅拌组件、加热组件、刮除组件和过滤板,搅拌组件、加热组件和刮除组件均设置在箱体上,箱体包括壳体和进料管,壳体的一端呈开口状,过滤板设置在壳体的开口处,壳体的远离开口处的一端顶部连通有进料管,壳体靠近开口处的底部连通有出料管,加热组件设置在壳体远离开口处的一端,加热组件用于对壳体内部的硅酸镁锂进行加热烘干,刮除组件设置在壳体的开口处且与过滤板贴合,刮除组件包括第二电机、第一齿板和第二齿板,第二电机通过支架设置在壳体靠近开口处的一端。本实用新型通过第二电机带动第一齿板进行转动,将过滤板表面的硅酸镁锂刮除,保证过滤板能对气体进行稳定过滤。

标签:
加工技术
福建 - 三明 来源:中冶有色网 2023-03-18
电池级碳酸锂提纯装置

本实用新型涉及碳酸锂生产技术领域,且公开了一种电池级碳酸锂提纯装置,包括反应釜,所述反应釜的正面固定连接有加料管。该电池级碳酸锂提纯方法及提纯装置,通过振动电机的使用,振动电机的输出轴带动活动架在过滤管的内部振动,活动架带动滤网振动,避免固体将滤网堵塞,影响固液分离的效率,通过压缩弹簧的使用,在活动架受到振动时,压缩弹簧被压缩,产生弹性形变,避免活动架和过滤管直接接触,产生噪音,通过紧固块的使用,在需要将杂质从除渣箱的内部取出时,旋钮紧固块内部的螺杆即可将滤板从除渣箱的内部取出,从而将杂质取出,同时便于更换滤板,避免堵塞,实现了防堵塞的目的,提高了工作效率,方便了使用。

标签:
加工技术
安徽 - 合肥 来源:中冶有色网 2023-03-18
上一页 5003 5004 5005 5006 5007 ... 6681 下一页
共6681页    到第

中冶有色为您提供最新的有色金属加工技术理论与应用信息,涵盖发明专利、权利要求、说明书、技术领域、背景技术、实用新型内容及具体实施方式等有色技术内容。打造最具专业性的有色金属技术理论与应用平台!

全国热门有色金属设备推荐
展开更多 +
全国热门有色金属技术推荐
展开更多 +

 

江西省隆恩特环保设备有限公司
宣传

报名参会
更多+

报告下载

有色专家
更多+

矿冶科技集团
中国工程院院士
中南大学
教授、博士生导师
广东省科学院工业分析检测中心
副主任
北京工业大学、中国工程院
中国工程院 院士
西北有色金属研究院、中国工程院
院士
赤泥综合利用研究报告2025
推广

热门技术
更多+

推荐企业
更多+

福建省金龙稀土股份有限公司
宣传

发布

在线客服

公众号

电话

顶部
咨询电话:
010-88793500-807