青岛垚鑫智能科技有限公司
宣传

位置:北方有色 >

有色技术频道 >

> 固/危废处置技术

分类:
全部
矿山技术
冶金技术
材料制备及加工技术
环境保护技术
分析检测技术
 
全部
废水处理技术
大气治理技术
固/危废处置技术
土壤修复技术
地区:
全部
北京
天津
上海
重庆
河北
山西
辽宁
吉林
黑龙江
江苏
浙江
安徽
福建
江西
山东
河南
湖北
湖南
广东
海南
四川
贵州
云南
陕西
甘肃
青海
内蒙
广西
西藏
宁夏
新疆
其他
其他
展开
 
全部
其他

其他有色金属固/危废处置技术理论与应用

免费发布技术信息>>
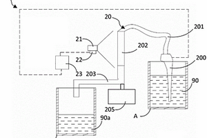
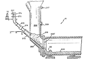
废料排放装置
废料排放装置 941     
 0

本实用新型涉及一种废料排放箱,该废料排放箱包括废料入口管和主体,主体包括下部、连接至入口管的中部、以及上部。将冷却空气引入主体以与废料混合。通过避免入口管中的直接混合,可避免或减少入口管中的固体积聚。侧端口和底部托盘可安装在主体上或主体内,从而便于维护和固体去除。本实用新型尤其有利于排放来自烧燃料的玻璃熔化器的废料,该玻璃熔化器熔化的玻璃材料包括诸如B2O3、P2O5和/或SnO2的易挥发组分。

标签:
固废
其他 - 其他 来源:北方有色网 2023-03-19
液体有机废水的生物-化学处理

本发明涉及包含有机氮化合物的废水的生物和化学处理的系统和方法。系统可以包括:有氧反应器,用于分离所述废水的液体和固体组分的第一分离模块,用于从所述废水去除有机物质的氧化模块,以及用于对所述废水的至少一部分脱硝化的后-无氧反应器。系统可以包括第二分离模块和所述组件之间的多个反馈再循环管线。方法可以包括:通过有氧反应器将超过95%的有机化合物降解为氨,通过氧化模块将所述氨的至少一部分氧化为硝酸盐,以及通过后-无氧反应器将所述硝酸盐的至少一部分降解为氮气和水。系统和方法可以将所述废水的总有机碳减少超过90%,并将所述废水的总氮减少超过90%。

标签:
固废
其他 - 其他 来源:北方有色网 2023-03-19
利用洋麻核粉对石油污染废物/废水的接触式生物转化

本发明涉及一种利用洋麻核粉促进环境改善的接触式生物转化(CB)方法,该方法利用生物学上的手段处理废物和废水中的石油污染同时产生一种高能量固体燃料。这种新方法只需很低的资金和生产费用,就能将危险的废物处理并转化为不危险的废物,而且可以生产出一种有价值的固体燃料来代替废物。一般来说,这些石油污染废物/废水要经历一些不同类型的烃分离,并通过在储罐中使用加热和化学处理的相分离来回收。这样的目的就是尽可能多的回收“有益”烃,并且使其循环并回到生产过程中。不可回收的材料,如油的乳状液,水和固体必须进一步处理并最终被丢弃。

标签:
固废
其他 - 其他 来源:北方有色网 2023-03-19
含水有机废弃物处理系统以及油水分离油脂回收装置

本发明提供作为处理设备的含水有机废弃物处理系统,该系统抑制将从厨房内产生的含水有机废弃物分类的液体有机废弃物导通到油脂过滤器中的导管的网眼堵塞的发生,减少附着于该导管内和油脂过滤器的油脂,提高油脂过滤器的油脂分离效率,不产生伴随分离的油脂而产生的第二废弃物,而且,即使在小规模的企业和中餐馆等,负担也少。本发明通过提供含水有机废弃物的处理系统来解决上述问题,该系统的特征在于,固液分离在厨房内产生的含水有机废弃物,含油脂的液体在向油脂过滤器导入之前,进行油水分离,回收大部分的油脂,且分离的固体有机废弃物经流水洗涤。

标签:
固废
其他 - 其他 来源:北方有色网 2023-03-19
商业洗衣废水处理系统

本发明提供了一种处理商业或工业洗衣废水的方法。该方法和装置处理来自一个或多个商用洗衣机的商业洗衣废水流,其中,废水包括总悬浮固体、化学需氧量、生物需氧量、浊度和细菌。废水流被输送到具有膜过滤器的第一处理单元,所述膜过滤器过滤约6‑40nm的颗粒。在第一处理单元,废水流被分离成渗透物流和渗余物组分。渗余物组分被输送至第二处理单元,所述第二处理单元过滤约3‑10nm的颗粒。然后在第二处理单元中处理之后,将渗透物流输送到渗透物储存容器。将渗余物组分置于混合器中,在所述混合器中与聚合物混合形成固体废物。

标签:
固废
其他 - 其他 来源:北方有色网 2023-03-19
清洗废液的处理装置和清洗废液的处理方法

提供一种清洗废液的处理装置和清洗废液的处理方法,其为处理锂离子二次电池的电极制造工序中所排放的清洗废液的装置和方法,可以高效分离液体成分和固体成分、充分回收液体成分并进行减容处理。处理清洗废液的装置具备有:作为搅拌清洗废液的搅拌机构的搅拌槽6、从该搅拌槽中取出清洗废液的送液管线、作为使清洗废液中的清洗液蒸发而分离固体成分的蒸发分离机构的薄膜蒸发器7。此外,在清洗废液的处理方法中,在搅拌机构中搅拌清洗废液,在固体成分扩散的状态下将清洗废液供给到蒸发分离机构,使清洗废液中的清洗液蒸发。

标签:
固废
其他 - 其他 来源:北方有色网 2023-03-19
废橡胶废塑料高温进料出渣裂解装置

本实用新型公开了一种废橡胶废塑料高温进料出渣裂解装置,属于废旧物回收再利用领域。所述装置包括立式的釜体,釜体的上端口为进料口,釜体的下端口为出料口,釜体的上端口和下端口分别设置上盖和下盖,釜体的周壁设有油气出口、排气口和进风口,其中,釜体包括同心的内筒和外筒,内筒和外筒形成之间设有夹套,夹套内设有多个翅板,上盖和下盖均通过驱动机构实现与釜体的自动、快速开合。利用本实用新型所述装置可将整个废轮胎和大块状废橡胶废塑料直接投入釜内,由于无需切碎或切块,就不用切胎机器,这样就减少成套设备的投资,因此免除切块过程造成的粉尘和固体颗粒的污染、免除切块过程电耗、切过程工序繁重的体力劳动,故本实用新型可以提高环保性能、节约能耗,节省劳动力并有效提高了工作效率。

标签:
固废
其他 - 其他 来源:北方有色网 2023-03-19
从有害废料中回收能量的方法

一个根据环保法规要求在滚筒炉中燃烧有害废料的方法,该方法特别适用于处理固体有害废料,它最好以掺合好的均匀废料形式装在可封装的容器内。容器作为燃料桶,并在炉中气体温度为950℃-1200℃范围的部位装入到滚筒炉中以得到较高的分解和裂解系数。

标签:
固废
其他 - 其他 来源:北方有色网 2023-03-19
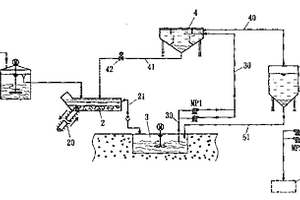
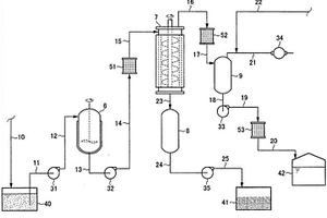
废气处理方法以及废气处理装置

本发明提供一种废气处理方法以及废气处理装置。在从玻璃熔融炉(1)的废气(b)中回收包含硼的再循环原料(o)的废气处理装置中,具备:收集机构(2),其对废气(b)中的包含硼的成分进行湿式收集而形成收集液(c);第一过滤机(7),其对收集液(c)进行固液分离;离子交换树脂(8),其从由第一过滤机(7)获得的提取液体(h)中去除杂质(i)而形成硼溶液(j);混合槽(9),其将由第一过滤机(7)获得的提取固体(k)混合到硼溶液(j)而形成提取固体含有溶液(1);第二过滤机(10),其对提取固体含有溶液(1)进行固液分离;减压干燥机(11),其从由第二过滤机(10)获得的提取固体(n)中回收再循环原料(o)。

标签:
固废
其他 - 其他 来源:北方有色网 2023-03-19
用于废水处理的催化剂以及使用所述催化剂的废水处理方法

本发明涉及一种用于废水处理的催化剂和一种使用该催化剂的废水湿式氧化处理方法,特别是,本发明的催化剂能够在高温和高压条件下,适用于废水湿式氧化处理。本发明提供了一种用于废水处理的催化剂,该催化剂包含选自包括锰、钴、镍、铈、钨、铜、银、金、铂、钯、铑、钌和铱的组的至少一种元素或者其化合物的催化活性成分,以及包含选自包括铁、钛、硅、铝和锆的组的至少一种元素或者其化合物的载体成分,其特征在于载体成分的固体酸量等于或者大于0.20MMOL/G。

标签:
固废
其他 - 其他 来源:北方有色网 2023-03-19
核废料和其他类型的有害废料的深埋

一种处理核废料和其他有害废料的系统和方法,包括用于使废料流与液体以及可选地固体材料混合以产生稠密流体的装置和步骤,该废料流包括放射性废料或有害废料(或二者);以及将稠密流体泵送到注入孔的管柱中的装置和步骤。然后,稠密流体离开注入孔的壳体中的穿孔,并进入岩石地层中的裂缝,其中,其继续向下蔓延,直到其到达固定点。该稠密流体可以是由金属和交联聚合物凝胶或水合粘土浆料形成的浆料。该金属可以是具有的熔化温度低于注入孔底部的温度的金属。该固体材料也可以是其他核废料或放射性核素。

标签:
固废
其他 - 其他 来源:北方有色网 2023-03-19
废物处理和资源再生用的可调节、自供能量的一体型电弧等离子体-熔融室熔浆化系统

本发明提出了一种相对紧凑的、能自供能量的可调节的废物转换系统和设备,其优越性在于高度耐久的工作,能在单独位置将名目繁多的废物物流完全或基本完全转换成有用的气体和稳定的、非浸析的固体产物,且空气污染大大减小,能满足空气质量标准的要求。此系统应用高效燃气透平或内燃机,能将废物转换成高质量的可燃气体,并将气体转换成电能。这种固体产物能适用于多种商业应用。此外,这种固体产物物流是安全、稳定的材料,不需进行危险材料特殊考虑就可加以处理。在本发明的最佳实施例中,电弧等离子体炉和焦耳加热熔融室应用公用熔池而组成完全一体型的组件,其电路布置成能使组件的电弧等离子体和焦耳加热部分都能没有相互干扰地、同时独立可控地运转。此实施例的最佳结构是采用具有两个电弧等离子体电极的作为熔池的长条形室,从而熔池就能成为电极之间的导电路线。此外,此设备也可在少用或不用使用转换过程产生气体的情况下进行应用。当应用辅助燃料以提供要求的发电水平时,此设备也可用作自供能量的、或能发出净电力的组件。

标签:
固废
其他 - 其他 来源:北方有色网 2023-03-19
利用使用完的催化剂的废气处理催化剂的制造方法以及废气处理催化剂

本发明提供一种利用使用完的含氧化钛废气处理催化剂的,成型性、强度、耐摩损性等优良的同时废气处理催化剂性能优良的废气处理催化剂的制造方法。该废气处理催化剂的制造方法是:粉碎使用完的含氧化钛废气处理催化剂制成平均粒径为0.1~15μm的粉体之后,将硫酸氧钛水溶液及/或偏钛酸浆料、和该使用完的含氧化钛废气处理催化剂粉体进行混合,制成混合浆料,使得硫酸氧钛水溶液及/或偏钛酸浆料的以TiO2计的浓度(CT)和经粉碎的使用完的含氧化钛废气处理催化剂的以固体成分计的浓度(CRC)的浓度比(CT)/(CRC)达到0.1~9.0的范围,对该混合浆料进行过滤后添加碱性化合物,中和硫酸氧钛及/或偏钛酸,制备pH在7~12的范围内的氧化钛凝胶,对该凝胶进行烧成,接着进行粉碎,制备氧化钛类微粉末,混合该氧化钛微粉末和增强材料,对混合物进行成型后烧成。

标签:
固废
其他 - 其他 来源:北方有色网 2023-03-19
用于减少废水处理设施产生的污泥的系统及方法

本发明涉及改善污泥的去除并维持排放质量的方法和系统。该方法包括:将输入的废水流引入处理设施,所述废水流的流量为至少20,000加仑/天;输入的废水流含有至少50mg/L的固体和100mg/L的BOD;在该处理设施中,从输入的废水流中除去固体和BOD以提供最终的排出流体;该最终的排出流体中的固体少于废水流中固体的10%,并且其BOD少于废水流中BOD的10%;固体和BOD的去除产生相对于每磅被除去的BOD为小于约0.25磅的二次污泥。

标签:
固废
其他 - 其他 来源:北方有色网 2023-03-19
膜-电极组件、使用该组件的电解池、制备臭氧水的方法和装置、消毒方法以及废水或废液处理方法

本发明提供一种膜-电极组件、使用该组件的电解池、制备臭氧水的方法和装置、消毒方法以及废水或废液处理方法,通过使用该它们,以高效率制备在阳极得到的电解反应产物或分解产物;通道的压降被最小化,且在不会牺牲生产容量的情况下,装置被设计成具有紧凑的尺寸。本发明涉及一种膜-电极组件,其包括固体聚合物电解质膜,所述膜具有阳离子交换膜,阳极和阴极,它们分别牢固地粘附至固体聚合物电解质膜的表面,在所述阳极、所述固体聚合物电解质膜和所述阴极的整个表面上具有复数个通过这些元件的直径0.1毫米或更大的通孔;使用该膜-电极组件的电解池;制备臭氧水的方法和装置;消毒方法;和废水或废液处理方法。

标签:
固废
其他 - 其他 来源:北方有色网 2023-03-19
间歇连续式回收废轮胎以提炼活性碳的方法和装置

本发明提供一种能将废轮胎等废弃物借助一连串的加热干馏裂解,以生成气化物及固形碳化物,其中固体碳化物经排出裂解反应炉底部外后,经水洗、磁选、碱洗、酸洗之一连串处理过程,随之,导入活化炉中,在通入水蒸汽之氛围下加热活化,而制成粉粒状活性炭;另一方面,生成气化物则经冷凝、油气分离之后,分别形成燃料油及燃料气之副产品。上述处理过程是在间歇连续式流程下完成,活性炭回收率高,处理时间短。

标签:
固废
其他 - 其他 来源:北方有色网 2023-03-19
生物医学废物的处理
生物医学废物的处理 828     
 0

用于处理生物医学废物的设备包括废物输入容器,该废物输入容器具有在其顶部的输入门和在其底部的输出门。撕碎机安装在输出开口下方,并可操作用来将废物撕碎为期望的最大尺寸。处理腔室位于撕碎机下方,从而在输出门打开时,堆积在废物输入容器中的固体废物通过输出开口并通过撕碎机,而且撕碎的废物落入到该处理腔室中。将臭氧气体引导到处理腔室中,而且臭氧指示器指示臭氧浓度。排气装置可选择性操作用来从处理腔室和废物输入容器排空大气。

标签:
固废
其他 - 其他 来源:北方有色网 2023-03-19
废物处置系统和用于接收和处置药物废料的废物接收器

一种带有用于接收药物废料的废物接收器的废物处置系统。分流器可以包括用于将固相药物废料引导至固体废物容积的固体接收器引导器,和适于将液相药物废料引导至基本上与固体废物容积分开的液体废物容积的液体接收器引导器。推构件可以使固相药物废料移动通过固体接收器引导器,并且具有弹性可偏转部分的漏斗形构件可以在用切割元件划切片剂之前有助于片剂的定位。接收器本体可以限定锁定通道,用于接收被固定到固定表面的锁定组件。锁定组件可以包括解耦构件,并且与帽保持特征协作以将盖固定到废物接收器的前部。还公开了用于自主的固化过程的系统和方法。

标签:
固废
其他 - 其他 来源:北方有色网 2023-03-19
即时废弃物品质检测装置以及废弃物回收装置

一种即时废弃物品质检测装置及废弃物回收装置,包括有一透光壳体、一照明装置、一影像捕获设备以及一信号处理模块。该透光壳体,用以容置一废弃物,可以是液体也可以是固体。该照明装置设置于该透光壳体的一侧,用以对该透光壳体产生一照明。该影像捕获设备,撷取被照明的该透光壳体及该废弃物的影像,以产生至少一影像信号。该信号处理模块电性连接该影像捕获设备,用以接收该影像信号,并根据该影像信号判断该废弃物的品质。

标签:
固废
其他 - 其他 来源:北方有色网 2023-03-19
汽电共生设备废气脱硫处理后的废水处理系统

一种汽电共生设备废气脱硫处理后的废水处理系统,提供一种独特的处理方法系统,使汽电共生脱硫设备所产生的废水,可以被确实分离水及悬浮固体,使澄清的水可符合排放标准而排至废水场排放处理的程序;主要是:设有氧化槽、锅炉水封槽、底灰搅拌池,底灰快速沉淀池、废水槽,并经独特安排的流程、控制,而可以确实分离含硫酸镁的水、灰泥,分离为水及污泥,而可适合让水排至废水场排放,灰泥则可经底灰输送设备运送至底灰贮槽再作另外的再利用,可以解决水中悬浮固体物而不可排放至一般废水处理场(未经处理而直接排放必伤害环境)的问题,这一系统可使汽电共生废气脱硫设备的废水不再困扰,达到产业实用价值。

标签:
固废
其他 - 其他 来源:北方有色网 2023-03-19
使用固体杂多化合物从原油中不使用溶剂而除去沥青质

一种从油进料中除去沥青质的方法,包括以下步骤:将油进料引入反应器,其中油进料包含碳质材料和沥青质;将杂多酸进料引入反应器,其中杂多酸进料包含杂多酸;在反应温度和反应压力下使反应器运行一段反应时间,使得杂多酸能够催化沥青质的酸催化的聚合反应以产生聚合沥青质,其中混合产物包含聚合沥青质和脱沥青油;在反应时间结束时将混合产物引入分离器,并在分离器中分离混合产物以产生脱沥青油和废料流,其中与油进料相比,脱沥青油具有较低浓度的硫、较低浓度的氮和较低浓度的金属。

标签:
固废
其他 - 其他 来源:北方有色网 2023-03-19
激光惯性约束聚变裂变核电站的控制

本发明描述了激光惯性约束聚变裂变能发电站。聚变裂变混合系统利用惯性约束聚变以由氘和氚的聚变反应产生中子。聚变中子驱动可裂变的或能产生裂变物质的燃料的亚临界再生区。循环通过燃料的冷却剂提取燃料的热用于发电。惰性约束聚变反应可以利用中心热斑或快点火聚变和直接或间接驱动来实现。聚变中子导致燃料在裂变再生区中超深度燃尽,从而使得核废料能够燃烧。燃料包括贫化铀、天然铀、浓缩铀、乏核燃料、钍和武器级钚。LIFE热机以安全和可持续方式满足世界范围的电力需求,同时显著缩减极不可取的贫化铀、乏核燃料和多余武器级材料的储存。

标签:
固废
其他 - 其他 来源:北方有色网 2023-03-19
碱性固体催化剂、其制备方法及其用于生产羰基化合物衍生物的方法

本发明提供一种不会由于中和、水洗等产生废水,且可以高活性和优良的选择性生产目标产品的催化剂,当特定的载钡氧化钙或氧化钡与氧化钙的复合氧化物用作催化剂时,这种催化剂适用于例如由羰基化合物生产羰基化合物衍生物。

标签:
固废
其他 - 其他 来源:北方有色网 2023-03-19
用聚合物絮凝剂处理高固体矿物质浆料的方法

本发明涉及一种使水性矿物质悬浮液脱水的方法,所述方法包含将絮凝系统引入所述悬浮液中,所述絮凝系统包含聚环氧乙烷聚合物的混合物,具体地说一种或多种高分子量聚环氧乙烷聚合物和一种或多种超高分子量聚环氧乙烷聚合物的混合物。所述聚环氧乙烷聚合物的混合物适用于处理粒状材料的悬浮液,尤其废弃的矿物质浆料。本发明特别适用于处理由矿物加工产生的尾矿和其它废料,具体来说,处理油砂尾矿。

标签:
固废
其他 - 其他 来源:北方有色网 2023-03-19
从薄膜组件上去除固体的方法和设备

一种操作薄膜过滤组件(5)的方法,所述组件(5)包括一个或多个在竖直间隔的上部和下部集管(8,9)之间纵向延伸的薄膜,所述薄膜(7)的端部封装到所述集管中。薄膜(7)具有进行过滤操作的可渗透壁,其中容纳废物的进液施加给薄膜壁的一侧,并且滤液从薄膜壁的另一侧流出。所述上部和/或下部集管(8,9)中的至少一个具有位于其中的一或多个开口(10),并且所述方法包括使所述进液至少部分地流过所述一或多个开口(10),从而施加给所述薄膜壁。还公开了执行所述方法的设备。

标签:
固废
其他 - 其他 来源:北方有色网 2023-03-19
用于从流入物中分离固体的分离器

废水处理装置包括:包括入口、砂砾出口和漂浮物出口的容器,入口用于接收进入流;设置在容器内的分离器,其中分离器包括连接至入口和砂砾出口的托盘组件,托盘组件包括多个嵌套的托盘单元,所述多个嵌套的托盘单元限定分离器轴并沿分离器轴彼此间隔开,每个托盘单元包括:大体上圆锥形的托盘,所述大体上圆锥形的托盘沿分离器轴对齐;以及在托盘中的孔,孔设置在分离器轴并与砂砾出口连通;其中废水处理装置还包括喷嘴,喷嘴经构造以朝向容器内水的表面输送射流,其中喷嘴朝向漂浮物出口的方向成角度,以促使在水的表面上积聚的漂浮物朝向出口并从出口离开。

标签:
固废
其他 - 其他 来源:北方有色网 2023-03-19
用于染料及染料中间体行业的新式环保“零固体排放”处理

本发明可将化学废弃材料转化成无危险的、可利用的化学材料。具体地,本发明可将“碳质粉”转化成碳催化剂和无机盐。包含有毒化学成分的碳质粉,是多种化工行业都会产生的一种废弃物质。本发明可从包含有毒有机化合物的“碳质粉”中回收酸催化剂“AC[‑SO3H、‑OH]”和盐。另外,本发明旨在整个过程中对水进行再利用。

标签:
固废
其他 - 其他 来源:北方有色网 2023-03-19
用于清洁和分级固体颗粒材料的风道的改进

第一级室(10)具有向上分开的壁(12a和12b)以通过向上的气流。当在室(10)的顶部均匀地加入颗粒时,颗粒根据它们的重量在不同高度达到平衡。在不同高度上悬浮的已分级颗粒在平行的水平通道(41)内由水平的气流朝排出颗粒的室的侧壁(12b)输送。与通道(41)相邻的肋区(44)将该室分为多个偏移通路以在该室内均匀散布颗粒。轻的废物从顶部排向旋风器(33)。重的颗粒在该室的底部排出。第二级(70)接收第一级室(10)的颗粒并通过将颗粒弹道发射到两组中的其中一组中来进行进一步的分级。

标签:
固废
其他 - 其他 来源:北方有色网 2023-03-19
在焚烧系统中控制初次和二次空气喷射的方法和装置

本发明涉及一种用于在锅炉中焚烧废料的装置和方法,该锅炉包括供料系统、炉栅、炉膛、后燃烧室和初次及二次空气系统,其中成排的喷嘴分隔成为分段,各分段能够喷射不同于邻近分段的空气流量。本发明还涉及一种控制所述初次和二次空气系统的方法。

标签:
固废
其他 - 其他 来源:北方有色网 2023-03-19
通过热平衡及设计程序和工作人员的工作方式分析的焚烧设施和固体燃料锅炉的诊断和控制及设备寿命周期管理系统及方法

本发明涉及通过热平衡及设计程序和焚烧设施工作人员的工作方式分析的焚烧设施的诊断和控制及寿命周期管理系统及方法,其目的在于,比较分析焚烧设施的最初设计值(a)、实际测量值(b)及运营值(c),并分析工作人员的工作方式来增大运营效率化,上述实际测量值(b)通过测定设置焚烧设施后改变的废弃物的形状及发热量而得,上述运营值(c)指实际工作人员运转的运转调节值和作为运转结果值的输出值。本发明的通过热平衡及设计程序和焚烧设施工作人员的工作方式分析的焚烧设施的诊断和控制及寿命周期管理系统包括:数据库,分别以规定时间为周期存储根据工作人员的运转的运营值(c)、根据焚烧设施的设计的设计值(a)及根据按照设计来施工的焚烧设施的运转的实际测量值(b),上述运营值(c)由用于检测焚烧设施的运营值的焚烧设施运转传感器(10)检测,并通过人机接口(M?MI)提供,上述焚烧设施的运营值包含通过工作人员的运转输出的第一燃烧空气量、第二燃烧空气量、炉排移动速度、温度、排气量及蒸汽量,上述设计值(a)通过热平衡程序计算出;以及服务器,根据存储于上述数据库的数据来提取设计值、实际测量值及运营值,从而将运营值、设计值及实际测量值作为包括能够比较的图表的方式和表的方式的资料提取并提供。

标签:
固废
其他 - 其他 来源:北方有色网 2023-03-19
上一页 48 49 50 51 52 ... 58 下一页
共58页    到第

北方有色为您提供最新的其他有色金属固/危废处置技术理论与应用信息,涵盖发明专利、权利要求、说明书、技术领域、背景技术、实用新型内容及具体实施方式等有色技术内容。打造最具专业性的有色金属技术理论与应用平台!

全国热门有色金属设备推荐
展开更多 +
全国热门有色金属技术推荐
展开更多 +

 

江西省隆恩特环保设备有限公司
宣传

报名参会
更多+

报告下载

有色专家
更多+

矿冶科技集团江苏北矿金属循环利用科技有限公司
书记 / 总经理
洛阳有色矿业集团有限公司
生产技术部经理
中国有色金属工业协会
副会长兼秘书长
云南锡业集团(控股)有限责任公司
副总经理
北京科技大学、中国科学院
院士
赤泥综合利用研究报告2025
推广

热门技术
更多+

推荐企业
更多+

福建省金龙稀土股份有限公司
宣传

发布

在线客服

公众号

电话

顶部
咨询电话:
010-88793500-807