青岛垚鑫智能科技有限公司
宣传

位置:中冶有色 >

有色技术频道 >

> 固/危废处置技术

分类:
全部
矿山技术
冶金技术
材料制备及加工技术
环境保护技术
分析检测技术
 
全部
废水处理技术
大气治理技术
固/危废处置技术
土壤修复技术
地区:
全部
北京
天津
上海
重庆
河北
山西
辽宁
吉林
黑龙江
江苏
浙江
安徽
福建
江西
山东
河南
湖北
湖南
广东
海南
四川
贵州
云南
陕西
甘肃
青海
内蒙
广西
西藏
宁夏
新疆
其他
其他
展开
 
全部
其他

其他有色金属固/危废处置技术理论与应用

免费发布技术信息>>
从废铝箔包回收铝箔的方法及其装置

本发明提供一种从废铝箔包回收铝箔的方法及 装置。本发明方法包含下列步骤 : a)将废铝箔包置于一气化炉内 在缺氧气氛及500—600℃的温度进行加热, 而使得该废铝箔包 所含的纸及塑胶膜被实质上全部气化, 该缺氧气氛是指所含氧 气量低于将该废铝箔所含的塑胶膜完全氧化的理论空气量; b) 在实质上不导入外界空气于该气化的炉的情形下, 冷却废铝箔 包被气化后的固体产品; 及c)从该冷却的固体产品分离出铝 箔。

标签:
固废
其他 - 其他 来源:中冶有色网 2023-03-19
废食用油吸附剂的再利用

一种用于处理有机基材料的方法,包括使有机基材料与从食用油处理过程中得到的固体废料相接触的步骤。该处理步骤包括对所述有机基材料的清除,特别是对水体上浮油的清除。废料可被直接涂撒到油上,也可以先被放入袋中,然后再将袋放到油上。取自食用油处理过程的固体废料是指在从食用油或食用油脂中去除掉影响味道、颜色和气味的不良成分过程中所产生的固体废料。该取自食用油处理过程的固体废料通常包括颗粒状材料,例如酸激活的粘土,它们带有已吸附的成分并包含有来自处理过程的残余油。

标签:
固废
其他 - 其他 来源:中冶有色网 2023-03-19
用于生物学废水反应器的沉积物排出系统

本发明涉及一种用于微生物学地、尤其是厌氧地清洁废水的反应器,该反应器包括:反应容器,带有至少一个基本上平的或圆的底部;至少一个设置在反应容器的下部区域中的、用于将待清洁的废水输入反应容器的馈送导管;至少一个用于从反应器排出清洁过的废水的液体排出导管和至少一个设置在反应容器的下部区域中、用于从反应器排出固体的固体排出导管;其中,在反应容器的下部区域中设置至少一个偏转器件,该偏转器件包括至少一个倾斜延伸的子部件并且这样构造和/或布置,使得在反应器中从上反应器区域向下降的固体被这样地偏转,使得固体沉积在至少一个固体排出导管的区域内并因此可通过所述至少一个固体排出导管从所述反应器排出。

标签:
固废
其他 - 其他 来源:中冶有色网 2023-03-19
废料排放箱
废料排放箱 1173     
 0

本发明涉及一种废料排放箱,该废料排放箱包括废料入口管和主体,主体包括下部、连接至入口管的中部、以及上部。将冷却空气引入主体以与废料混合。通过避免入口管中的直接混合,可避免或减少入口管中的固体积聚。侧端口和底部托盘可安装在主体上或主体内,从而便于维护和固体去除。本发明尤其有利于排放来自烧燃料的玻璃熔化器的废料,该玻璃熔化器熔化的玻璃材料包括诸如B2O3、P2O5和/或SnO2的易挥发组分。

标签:
固废
其他 - 其他 来源:中冶有色网 2023-03-19
废乙二醇基浆料的分离,再生和重新使用的方法

一种分离、回收和重新使用废弃的在从硅锭上切硅晶片过程中所用的浆料中的各成分的方法,在该方法中,降低废浆料的粘度,把浆料的润滑液成分与固体分离并收集,所收集的润滑液成分适合于在新浆料的制备过程中重新使用,而没有必要进行任何额外的分离步骤。另外,可以收集所分离的固体,并进一步分离成未失效的磨料颗粒成分和废产物部分,未失效的磨料颗粒成分适合于在新浆料的制备过程中重新使用,废产物含有硅颗粒和废磨料颗粒。

标签:
固废
其他 - 其他 来源:中冶有色网 2023-03-19
处理含砷废水的方法
处理含砷废水的方法 1215     
 0

本发明提供一种处理含 砷废水的方法,包括,如必要向含砷废 水中加入氧化剂将废水中三价砷氧化 为五价砷;加入钙化合物调整pH值到12或更高;将其分离成固 体和液体(第一次固液分离);培烧所得污泥,同时在固液分离后 向处理后溶液加入铁盐调整pH值到6-9;再将其分离为固体 和液体(第二次固液分离)。根据本发明,有可能从废水中有效地 脱除砷并产生处理后水满足各种环境法规下的各种限制规定, 同时使从废水中分离出的含砷污泥在后续步骤中变成无害 的。

标签:
固废
其他 - 其他 来源:中冶有色网 2023-03-19
从废水中离子交换除去金属离子

公开了一种新型的用来清洁含溶解状态的金属离子,过氧化氢,和高含量固体粒子,如浓度大于约50毫克/升的微粒状固体粒子的废水的方法和设备。碳吸收柱除去含高含量固体粒子的废水进料中的过氧化氢、离子交换单元从溶液中除去金属离子。该方法和设备从集成电路微芯片的化学机械抛光(CMP)处理产生的高含量固体粒子的副产物抛光浆中除去金属离子如铜离子,并生成环保清洁的排放废水。

标签:
固废
其他 - 其他 来源:中冶有色网 2023-03-19
燃烧废气干脱硫的方法

提出了一种用于燃烧废气干脱硫的方法, 其中在 燃烧室产生的、并由烟灰及气态有害物质污染的燃烧废气被除 尘, 除尘后的燃烧废气由水冷却到50℃至90℃的温度, 同由CaO和/或Ca(OH)2组成的吸附剂混合, 导向由一个流化床反应器、一个分离器和一个回导管道组成的循环流化床, 在分离器中产生的固体微粒一部分导向流化床反应器, 一部分导向燃烧室区域, 其中温度为850℃至1050℃, 在本方法中考虑了, 含有烟灰、气态有害物质和导回的固体微粒的废气在一电滤器中在100℃至180℃、或在一惯性力分离器中在100℃至700℃仅除尘到固体含量为5g/Nm3至40g/Nm3, 含有气态有害物质的吸附剂同烟灰一起通过电滤器或惯性力分离器的卸料排出处理过程。

标签:
固废
其他 - 其他 来源:中冶有色网 2023-03-19
除去废水中的悬浮物及其它物质的方法

本发明提供一种为除去污染物而在反应器中进 行废水处理的方法, 该方法包括 : 将废水和生物质混合, 这些生物 质是用于消耗一定量的污染物或吸收污染物; 在废水中掺混一 种微粉沸石材料; 将沸石材料和生物质混合; 使固体物质从废水 中沉降出来; 将得到的流出物排放出来, 其中大部分的微粉沸石 材料的粒径小于或等于100μm。本发明还提供一种在废水处 理过程中将固体物质从废水中分离出来的优化方法, 该方法包 括 : 将多种废水样品稀释成不同的稀释液, 以形成多种稀释样品 对每一种稀释样品都测定未搅拌的污泥体积指数(SVI); 将这些 未搅拌的污泥体积指数测定值外推到污泥浓度基本是零时以 得到零浓度指数; 将零浓度指数乘以废水中的固体物质浓度以 得到表示废水质量的无单位的参数; 控制该工艺以使该参数最 小化。

标签:
固废
其他 - 其他 来源:中冶有色网 2023-03-19
废水处理装置
废水处理装置 858     
 0

根据本发明一实施例的废水处理装置是一种通过净化工程净化废水的装置,其特征在于,包括:固体处理槽,提供用于储藏通过流入口流入的上述废水的空间,并使对上述废水进行固体处理工程后的处理水通过排出口排出;以及固体分离过滤部,其配备于上述空间中上述排出口侧以使在流入上述空间的上述废水通过上述排出口排出之前进行上述固体处理工程,上述固体处理工程包括在上述废水通过上述固体分离过滤部时上述废水中存在的固体被去除的工程以及由于上述废水通过排出口排出之前在上述固体分离过滤部内滞留而油微粒被吸着、成长并被分离的工程。

标签:
固废
其他 - 其他 来源:中冶有色网 2023-03-19
有机性废液的处理方法及处理装置

本发明涉及有机性废液的处理方法及处理装置。通过对有机性废液进行臭氧处理、然后进行碱处理,将该碱处理后的有机性废液导入厌氧性消化槽进行厌氧性消化。臭氧处理后的碱处理可以用在过氧化氢存在下进行臭氧处理代替。另外,也可以在紫外线照射下进行臭氧处理。将处理后的有机性废液分离为固体物和溶液,可以从分离的溶液中回收磷。该方法可提高有机性废液中含有的固体成分的溶解性,提高有机物向甲烷的转化率,降低应处理污泥的产生量。另外,可以从有机性废液中含有的固体成分中高效地溶出磷并回收。

标签:
固废
其他 - 其他 来源:中冶有色网 2023-03-19
从半导体晶片制造工艺再生废浆料的再生工艺和再生系统

提供再生在制造晶片如半导体晶片、太阳能晶片等工艺中在浆料已提高切削效率后废弃的废浆料的方法和系统。该方法包括:混合废浆料以分散其中的研磨剂和切屑的废浆料混合步骤(S10);用超声波分散混合的废浆料的分散步骤(S20);用离心机从分散的废浆料析取研磨剂的离心步骤(S30);混合析取的研磨剂固体的研磨剂固体混合步骤(S40);用净化器净化研磨剂的研磨剂净化步骤(S50);移走研磨剂固体的湿气的干燥步骤(S60);及将研磨剂固体加工成粉末的再生步骤(S70)。该系统包括:废浆料混合器(10),其混合其中的废浆料以分散由研磨剂和切屑构成的沉淀物;颗粒分散器(20),其用超声波分散从混合器(10)流出的已混合废浆料;离心机(30),其离心分散的废浆料以析取研磨剂;多个子罐(40),其存储析取的研磨剂;用来混合子罐的研磨剂的多个混合器(50);多个研磨剂净化器(60),每个包括装于离心机中的清洁设备,接收从混合器供应的研磨剂固体移走残留在研磨剂上的杂质;干燥器(70),其移走净化的研磨剂固体的湿气;及研磨剂粉末制造器(80),其再生由干燥器干燥的研磨剂。

标签:
固废
其他 - 其他 来源:中冶有色网 2023-03-19
同时去除废水中的生物需氧量(BOD)和磷酸盐的方法

本发明涉及一种自含有铵、生物需氧量(BOD)、磷酸盐和镁的液体中同时去除BOD和磷酸盐的方法,所述方法包含:将所述液体馈入含有BOD氧化生物体的反应器中;确保所述反应器中的所述液体含有相对于磷酸盐而言化学计量过量的铵和镁,其中所述化学计量与鸟粪石的化学计量相关;氧化至少部分的BOD;将所述反应器中所述液体的PH值调节到所需值;在所述反应器中形成固体物质,所述固体物质包含鸟粪石;将至少部分所述包含鸟粪石的固体物质自反应器排出物中分离;将一部分所述固体物质返回到所述反应器中。本发明也涉及一种用于此方法的反应器。所述方法和装置的优势在于,可在一个反应器中将BOD和磷酸盐都自所述液体中去除。

标签:
固废
其他 - 其他 来源:中冶有色网 2023-03-19
通过碱浸法从废催化剂中回收钼和钒金属的方法

提供一种从催化剂中回收钼、钒和其它加氢脱硫 金属的方法, 所述方法包括收集一种或多种含有至少一种金属 硫化物的催化剂; 在常压碱性浸提步骤中浸提催化剂; 将浸提浆 液分离成第一液体物流和第一固体; 在碱性加压浸提过程中浸 提第一固体; 将第二浸提浆液分离为第二液体物流和第二固体 收集第一和第二液体物流; 氧化合并的液体物流; 冷却氧化的液 体物流; 并调整所述氧化的液体物流的pH; 使冷却过的氧化的 液体物流与含有萃取剂的有机溶剂接触; 从有机相中汽提可溶 性金属物类; 调整含水相的pH值以便选择性地使至少一种金属 呈金属盐的形态沉淀; 和从含水相中分离金属盐。

标签:
固废
其他 - 其他 来源:中冶有色网 2023-03-19
制备碱金属氰化物的方法中的含氰化物的废气和废水的解毒的有效方法

本发明涉及用于制备固体形式的碱金属氰化物的方法,所述方法包括以下步骤:i)以下形式的吸收步骤:将氰化氢从含氰化氢的合成气中吸收至碱金属氢氧化物水溶液中;ii)处理在步骤i)中产生的含氰化物的废气的步骤;iii)以下形式的结晶步骤:将碱金属氰化物溶液引入蒸发结晶器;iv)将在步骤iii)中产生的含氰化物的蒸气冷凝成含氰化物的蒸气冷凝物的步骤;v)再循环步骤,其中将在步骤iv)中获得的含氰化物的蒸汽冷凝物用作步骤ii)中的含水液体。

标签:
固废
其他 - 其他 来源:中冶有色网 2023-03-19
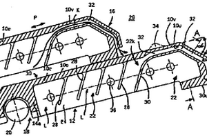
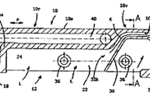
炉排板,以及相应的焚烧炉排和废物焚烧设备

本发明涉及用于焚烧炉排的炉排板、包括炉排板的焚烧炉排以及具有这种焚烧炉排的固体废物焚烧设备。

标签:
固废
其他 - 其他 来源:中冶有色网 2023-03-19
利用废弃物制造有机物质的装置及利用废弃物制造有机物质的方法

本发明提供一种能够使用来自废弃物焚烧炉的合成气来适当制造有机物质的装置及方法。利用废弃物制造有机物质的装置1具有合成气生成炉11、发酵器13和养分供给部12。合成气生成炉11通过使废弃物部分氧化而生成合成气。发酵器13含有利用合成气生成有机物质的微生物。养分供给部12在合成气对于发酵器13的供给量发生不足时,将固体或液体的养分供给至发酵器13。

标签:
固废
其他 - 其他 来源:中冶有色网 2023-03-19
用于容器、罐、瓶类的铁类或非铁类废物的压缩和分选的机器

一个诸如容器之类的固体废物的压缩和分选的机器,包括:一个带检测器13和物品导向器11的综合料斗8,位于所述料斗尾部的压力机2,一条横向传送带22,由横向推出器18从压力机中推出物品进入传送带22,该传送带围绕一个吸附铁质品的磁性板24设置,至少有2个收集箱以供收集分选出的物品,由磁性板的作用,一个装非铁质品,一个装铁质品,机器操作循环由辅助程序设备的帮助下实施。

标签:
固废
其他 - 其他 来源:中冶有色网 2023-03-19
炉排板, 以及相应的焚烧炉排和废物焚烧设备

本发明涉及用于焚烧炉排的炉排板、包括炉排板的焚烧炉排以及具有这种焚烧炉排的固体废物焚烧设备。

标签:
固废
其他 - 其他 来源:中冶有色网 2023-03-19
废旧橡塑裂解中废气处理装置

本实用新型公开了一种废旧橡塑裂解中废气处理装置,属于环保领域。所述装置包括缓冲罐、分液罐、净化罐、脱硫罐、安全罐、真空泵、耐腐蚀泵、第二至第八截止阀、球阀、闸阀、第一至第五排污阀、蒸汽阀、气体呼吸器及防爆器。本实用新型实施例通过缓冲罐、分液罐、净化罐、脱硫罐、安全罐、真空泵、耐腐蚀泵及各种控制阀门组成的装置,能够在安全、环保的前提下,将废气中含有的固体粉尘、漂浮的油烟、二氧化硫和硫化氢有害气体进行有效的处理成为热裂解设备的有效能源可燃性气体,完全回收利用,本实用新型不但解决了废气无序排放对环境的污染问题,同时还回收利用了大量再生能源,减少热裂解中需要损耗大量的燃油或煤炭资源。

标签:
固废
其他 - 其他 来源:中冶有色网 2023-03-19
废旧橡塑裂解中废气处理装置及处理工艺

本发明公开了一种废旧橡塑裂解中废气处理装置及处理工艺,属于环保领域。所述装置包括缓冲罐、分液罐、净化罐、脱硫罐、安全罐、真空泵、耐腐蚀泵、第二至第八截止阀、球阀、闸阀、第一至第五排污阀、蒸汽阀、气体呼吸器及防爆器。本发明实施例通过缓冲罐、分液罐、净化罐、脱硫罐、安全罐、真空泵、耐腐蚀泵及各种控制阀门组成的装置,能够在安全、环保的前提下,将废气中含有的固体粉尘、漂浮的油烟、二氧化硫和硫化氢有害气体进行有效的处理成为热裂解设备的有效能源可燃性气体,完全回收利用,本发明不但解决了废气无序排放对环境的污染问题,同时还回收利用了大量再生能源,减少热裂解中需要损耗大量的燃油或煤炭资源。

标签:
固废
其他 - 其他 来源:中冶有色网 2023-03-19
废气净化用催化剂、其制造方法和使用其的废气净化方法

[课题]目的在于提供:能效率良好地净化废气中所含的HC、CO和NOx的催化剂、其制造方法和使用其的废气净化方法。[解决方案]一种废气净化用催化剂,其为在耐火性三维结构体上具有下催化剂层和上催化剂层的至少2层的废气净化用催化剂,下催化剂层和上催化剂层各自独立地包含贵金属、氧化铝和铈‑锆复合氧化物,上催化剂层的至少一部分是通过如下制造方法形成而成的,所述制造方法具有如下步骤:将包含燃烧分解温度为150℃以上且400℃以下的孔隙连接物质、贵金属前体、氧化铝和铈‑锆复合氧化物、且孔隙连接物质的含有比率为相对于以1000℃加热时的全部固体成分低于20质量%的上催化剂层形成用浆料涂布于下催化剂层上后,在相对于燃烧分解温度超过‑150℃且为+50℃以下的温度下保持在含氧气体中。

标签:
固废
其他 - 其他 来源:中冶有色网 2023-03-19
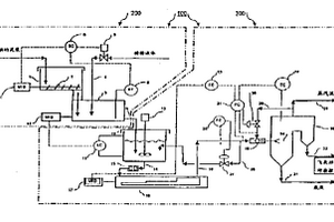
废气处理系统及废气处理方法

本发明的废气处理系统(10A)具备:使燃料燃烧的锅炉(11);使从锅炉(11)排出的废气(25)中的氮氧化物分解的脱氮装置(12);使通过了脱氮装置(12)的废气(25)中的硫氧化物由吸收液吸收,由此将硫氧化物从废气(25)除去的脱硫装置(15);排水处理装置(16),具有将从脱硫装置(15)排出的脱硫排水(28)中的固体成分和液体成分分离的固液分离单元(31)、将脱硫排水(28)中的汞除去的汞除去单元(32);处理排水回送单元(补给水管线)(17),使由排水处理装置(16)处理过的处理排水(40)的至少一部分向脱硫装置(15)返回。

标签:
固废
其他 - 其他 来源:中冶有色网 2023-03-19
用于废气催化剂的涂料分散体

本发明涉及一种用以在一种惰性增强结构元件上产生能促进催化作用的涂层的涂料分散体。该涂料分散体中的固体具有不同的粒级,因此能产生较为粗糙的涂层表面,使废气与催化剂表面之间能更好地进行交换,从而改善了升温情况。

标签:
固废
其他 - 其他 来源:中冶有色网 2023-03-19
含有印染废水的废水近零排放/零排放处理方法

本发明涉及一种含有印染废水的废水近零排放/零排放处理方法,所述方法包括以下步骤:(1)对所述废水进行预处理以及在所述膜系统前处理单元进行膜系统前处理;(2)上述处理后的废水进入所述一级反渗透膜单元进行浓缩过滤;(3)所述一级反渗透膜单元的浓水进入所述纳滤膜单元进行脱色和盐分离;(4)所述纳滤膜单元的浓水进入所述二级超高压反渗透膜单元进行浓缩过滤;(5)所述二级超高压反渗透膜单元的浓水在所述浓水处理单元进行臭氧处理。本发明的方法可以使得水回收率>99.75%,浓水的盐分回收率为100%,并且可以直接应用于印染厂的现有处理工艺,操作便利。本发明的再生水可以回用于煮练、清洗、染色等工序;经过反渗透膜的浓水分离盐后能够以液体形式直接再利用或者经过蒸发结晶单元转化成固体工业盐再利用。浓水中的盐分(硫酸钠和氯化钠等无机盐)回用于前端生产工序中的染色工艺和树脂再生工艺,达到水资源和盐分资源再利用的效果。

标签:
固废
其他 - 其他 来源:中冶有色网 2023-03-19
辐照加氨废气时产生的副产物的处理方法

利用辐射对加了氨的、其中含有SOx、NOx和 CO(但CO的含量低于SOx浓度的十倍)的废气进 行照射,以除去其中的硫酸根和硝酸根,产生一种含 有硫酸铵和硝酸铵,并含氨基磺酸化合物的固体副产 物。在130℃至250℃、最好在180℃至250℃的温 度下,通过对副产物加热处理,可以从上述副产物中 除去有毒的氨基磺酸化合物,同时能防止副产物中可 用作肥料组分的硝酸铵的分解。

标签:
固废
其他 - 其他 来源:中冶有色网 2023-03-19
固态危废气化与化灰一体炉

本发明公开了一种固态危废气化与化灰一体炉,固废气气化炉主体固定设置在化灰炉主体上端并且固废气化炉主体下端与化灰炉主体上端连通,固废气化炉主体上端设置有一耐材隔离墙,耐材隔离墙固定在固废气化炉主体上端内壁上将固废气化炉主体上端容腔分隔为固废投料腔体和合成气腔体两部分,固废投料腔体一侧的固废气化炉主体侧壁上开有固废投料口,合成气腔体一侧的固废气化炉主体侧壁上开有合成气出口,固废气化炉主体下端侧面设置有第一天然气烧嘴,化灰炉主体侧面设置有第二天然气烧嘴和等离子体炬,化灰炉主体下端侧面设置有融液排渣口。本发明在固废气化的同时对残留的固体废渣进行化灰熔融后方便收集,提高了固废气化效率。

标签:
固废
其他 - 其他 来源:中冶有色网 2023-03-19
市镇废弃物燃烧器及其他熔炉内的废弃物泥浆的共燃烧

披露了一种系统与方法,用于处理、注入与共同燃烧市镇废弃物及其他燃烧器内的泥浆。该系统包括一个泥浆接收与处理模组及一个泥浆注入与燃烧模组。泥浆是接收与贮藏于一个或多个贮藏斗,于其中泥浆首先以一种液体稀释,然后混合至适于泵送的均一稠度。然后将具有高液体含量的泥浆泵送至熔炉注入喷嘴,优选的是,将泥浆以蒸汽雾化、喷入熔炉的燃烧区。所披露的系统与方法,增加了泥浆水分含量及控制了其固体含量,以控制熔炉的温度。

标签:
固废
其他 - 其他 来源:中冶有色网 2023-03-19
含砷的组合物及其在治疗方法中的用途

提供了一种药物组合物,其包含高度可溶的砷碳酸盐和/或碳酸氢盐化合物,其对治疗包括急性早幼粒细胞白血病的多种癌症是有用的。砷碳酸盐和/或碳酸氢盐作为固体,并且因此可口服递送,是三氧化二砷静脉溶液的改进的生物等效的递送形式。

标签:
固废
其他 - 其他 来源:中冶有色网 2023-03-19
地板抛光剥离废水和清洗废水的处理方法

为了提供一种地板抛光剥离废水和清洗废水的处理方法,该方法适于处理由一种强碱剥离剂剥离涂覆并在地板表面形成的地板抛光薄膜而产生的剥离废水以及定期或常规清洗过程中采用一种具有中性至碱性的地板清洗剂清洗地板过程中产生的清洗废水。该方法能够在短时间处理废水和除去固体的一段有限的时间间隔内进行操作从而减少环境负荷。一种剥离废水或清洗废水的处理方法,通过加入一种聚脒高分子絮凝剂并将团聚颗粒转变成具有适宜尺寸的非粘结性团聚物,固-液分离工艺可在短时间内完成并得到良好的效益。

标签:
固废
其他 - 其他 来源:中冶有色网 2023-03-19
上一页 46 47 48 49 50 ... 58 下一页
共58页    到第

中冶有色为您提供最新的其他有色金属固/危废处置技术理论与应用信息,涵盖发明专利、权利要求、说明书、技术领域、背景技术、实用新型内容及具体实施方式等有色技术内容。打造最具专业性的有色金属技术理论与应用平台!

全国热门有色金属设备推荐
展开更多 +
全国热门有色金属技术推荐
展开更多 +

 

江西省隆恩特环保设备有限公司
宣传

报名参会
更多+

报告下载

有色专家
更多+

中南大学
中国工程院院士
广东省科学院资源利用与稀土开发研究所
教授
北京科技大学
教授
重庆大学
副院长/教授
中国铝业集团有限公司
中国铝业股份有限公司党委书记
赤泥综合利用研究报告2025
推广

热门技术
更多+

推荐企业
更多+

福建省金龙稀土股份有限公司
宣传

发布

在线客服

公众号

电话

顶部
咨询电话:
010-88793500-807