青岛垚鑫智能科技有限公司
宣传

位置:中冶有色 >

有色技术频道 >

> 固/危废处置技术

分类:
全部
矿山技术
冶金技术
材料制备及加工技术
环境保护技术
分析检测技术
 
全部
废水处理技术
大气治理技术
固/危废处置技术
土壤修复技术
地区:
全部
北京
天津
上海
重庆
河北
山西
辽宁
吉林
黑龙江
江苏
浙江
安徽
福建
江西
山东
河南
湖北
湖南
广东
海南
四川
贵州
云南
陕西
甘肃
青海
内蒙
广西
西藏
宁夏
新疆
其他
其他
展开
 
全部
长沙
株洲
湘潭
衡阳
邵阳
岳阳
常德
张家界
益阳
娄底
郴州
永州
怀化
湘西土家族苗族自治州

湖南长沙有色金属固/危废处置技术理论与应用

免费发布技术信息>>
碱回收白泥作助凝剂处理脱墨废水技术

一种应用碱回收白泥作助凝剂处理脱墨废水技术,第一步在绿液 苛化过程中应用晶型控制剂AT-1,加入量为0.01-0.015mol/molCa2 +。第二步应对白泥进行匀整处理。制得平均粒度在4-6μm的超细活 性碳酸钙产品。调节浓度至18%-20%可作助凝剂与PAC混凝处理脱墨废 水。混凝处理工艺条件为PAC用量500mg/L,白泥用量700mg/L,pH值5, 静置时间40min。 应用本发明技术处理后的废水CODcr去除率83.58%;浊度去除 率99.55%;SS去除率99.92%。同时能够充分利用碱回收白泥,消除 其作为固体废弃物对环境的污染。

标签:
固废
湖南 - 长沙 来源:中冶有色网 2023-03-19
废气脱硫除尘系统
废气脱硫除尘系统 912     
 0

本实用新型属于环保领域且公开了一种废气脱硫除尘系统,包括吸收塔、管道、活性炭过滤柜、紫外线过滤柜和排空管,所述吸收塔底部设有进气口;所述进气口上侧设有检修口;所述吸收塔表面设有观察窗;所述吸收塔底部设有底座;所述吸收塔一侧设有水箱,且水箱连接水泵;所述水泵顶部连接水管;所述水管一侧设有若干喷淋头,且喷淋头设在吸收塔内部;所述喷淋头上侧设有过滤球;所述吸收塔一侧设有支撑板。本实用新型通过在活性炭和紫外线废气处理设备之前的废气进口处增加吸收塔喷淋洗涤环节,采用碱性水先洗去废气中的硫化物等酸性危害气体,将废气中的粉尘及固体杂质提前除去;大大提高对废气处理效率,延长了设备的使用寿命。

标签:
固废
湖南 - 长沙 来源:中冶有色网 2023-03-19
废液处理系统
废液处理系统 1193     
 0

本申请公开了一种废液处理系统,包括蒸馏装置和吸附装置,其中:所述蒸馏装置包括蒸发锅和冷凝器,所述蒸发锅设置有加热单元,所述冷凝器设置有蒸馏水出口;所述吸附装置的上部设置有进水口,下部设置有出水口,所述进水口与所述冷凝器的蒸馏水出口通过管道相连通。该系统对废液进行蒸馏处理后废液被分成两部分,一部分为无害的蒸馏水,可以直接排放或回收利用;另一部分成为蒸发锅废液池中的底泥和存在吸附装置中的吸附物质中,底泥和吸附物质这些固体废物可以很方便地被无害化处理掉。因此可以很好的对分析实验室或水质自动监测站产生的种类多、量小、成分复杂的废液实现无害化处理。

标签:
固废
湖南 - 长沙 来源:中冶有色网 2023-03-19
将有机硅剔除的芬顿法防沉淀悬浮式废水处理系统

本发明公开了一种将有机硅剔除的芬顿法防沉淀悬浮式废水处理系统,其结构包括:曝气罐、顶托架、加注水槽、顶盖板、隔架网净水池、排渣通道、抽水管,本发明实现了运用隔架网净水池与排渣通道相配合,使顶层注液螺旋桨传动输送二价铁离子融入废水中,让有机硅结合二价铁离子后,不稳定性下降,保障中和后对水流不影响呈固体分布飘散,再结合传输滑座爪网架的展开和收叠动作,形成逐个沉淀物捕捉细致操作,保障水流下游的流体优质性,然后提高芬顿法操作的优化,形成芬顿法防沉淀悬浮式有机硅剔除的废水处理效果,达到配合隔挡上次分层后悬浮操作芬顿法和结束收纳反应残留物,对水流重金属进行彻底根除且不夹杂新物质,让水循环更安全放心利用。

标签:
固废
湖南 - 长沙 来源:中冶有色网 2023-03-19
含铁废渣制备氧化铁的方法

一种含铁废渣制备氧化铁的方法,硫铁矿烧渣与硫酸反应得到酸浸液,将酸浸液与氨水或液氨反应,酸浸液中Fe2+/Fe3+物质量的比为0~2,反应溶液pH为3~14,水热反应温度为100~350℃、反应时间为0.5~24h;过滤,滤饼经洗涤干燥得到粗产品氧化铁,氧化铁粗产品,在300~1000℃下煅烧得到氧化铁。将硫酸铵滤液蒸发浓缩结晶得到固体硫酸铵。本发明利用含三价铁废渣制备氧化铁,具有环境效益和经济效益,利用含三价铁废渣所得酸浸液,工艺简单、合成氧化铁温度低,降低了氧化铁的成本;解决了以往生成的胶体物质难以过滤和洗涤的难题。

标签:
固废
湖南 - 长沙 来源:中冶有色网 2023-03-19
无机凝聚法处理含铅废水的方法

本发明涉及一种无机凝聚法处理含铅废水的方法,将含铅废水放入搅拌池中;向所述搅拌池中加入氨水进行调节pH值;向废水中再依次加入DDTC钠盐、明矾、聚丙烯酰胺,并用超声机进行超声;将步骤得到的废水通入沉淀池中进行沉淀,然后进行过滤,得到沉淀污泥;将所述沉淀污泥进行真空干燥;将真空干燥后的固体溶于稀硫酸中,得到初级溶液;将所述初级溶液进行萃取,得到萃取液;将所述萃取液进行反萃,得到反萃液;将所述反萃液进行蒸发结晶,得到结晶物;将所述结晶物与碳粉进行混合,再放入电炉中进行焙烧,并将产生的气体排走,最终得到金属铅。本发明工艺简单,反应条件容易达到,反应也易控制,处理废水量大。

标签:
固废
湖南 - 长沙 来源:中冶有色网 2023-03-19
使用废纸造纸污泥生产的瓦楞原纸及其生产方法

一种使用废纸造纸污泥生产的瓦楞原纸及其生产方法,用废纸为原料生产瓦楞原纸的过程中,在纸机浆池中加入纸浆纤维质量0.5%~2%的初沉污泥;纸浆纤维质量0.5%~1%的生化污泥;纸浆纤维质量0.1%~1%的阳离子淀粉;纸浆纤维质量0.01%~0.08%的阳离子聚丙烯酰胺;混合均匀;经上网抄造,前干燥、用表面施胶淀粉进行表面施胶、后干燥后制得;表面施胶淀粉的用量为初沉污泥、生化污泥总量的0.2~1倍。废纸造纸污泥用于瓦楞原纸生产,可减少废纸原料消耗,降低生产成本,具有较好的经济效益;同时可大大减少固体废弃物的产生量,降低污染物未端处理成本,具有显著的环境效益。

标签:
固废
湖南 - 长沙 来源:中冶有色网 2023-03-19
酚醛泡沫废料回收利用的方法

本发明介绍了一种酚醛泡沫废料回收利用的方法,包括如下步骤:(1)备份酚醛泡沫废料、苯酚、工业用多聚甲醛、氢氧化钠、硅烷偶联剂、三聚氰胺、水;(2)将酚醛泡沫废料粉碎,投入反应釜,加入苯酚、硅烷偶联剂、水,搅拌均匀,中和处理;(3)缓慢加入工业用多聚甲醛;(4)加入三聚氰胺,脱水;(5)降温得酚醛树脂;(6)备份有机硅泡沫稳定剂、正戊烷;(7)混合,注入模具,发泡得酚醛泡沫成品。本方法既解决了酚醛泡沫固体废弃物的处理难题,又可降低成本,所产酚醛泡沫在外观和性能上与没有添加废料的产品没有区别,经济效益和社会效益明显。

标签:
固废
湖南 - 长沙 来源:中冶有色网 2023-03-19
废铅膏与垃圾焚烧飞灰同步无害化资源化的方法

本发明公开了一种废铅膏与垃圾焚烧飞灰同步无害化资源化的方法。该方法是将包含废铅膏与垃圾焚烧飞灰及固体燃料在内的原料混合造团,所得团块依次进行干燥和焙烧,从焙烧烟气及颗粒物中回收含铅组分,余下固态残渣主要成分为CaSO4,该方法通过高温焙烧过程,实现了垃圾焚烧飞灰中二噁英类污染物的降解,同时实现了废铅膏与垃圾焚烧飞灰全组分的资源化利用。

标签:
固废
湖南 - 长沙 来源:中冶有色网 2023-03-19
高浓度含氟废水的处理方法

本发明提供了一种高浓度含氟废水的处理方法,包括以下步骤:对高浓度含氟废水进行压滤以去除废水中的固体残渣,收集滤液,向滤液中加入助凝剂,然后将滤液同助凝剂一起加入电絮凝反应器的反应腔内,启动电絮凝反应器进行絮凝处理,絮凝处理完成后先在电絮凝反应器的出水口处投加吸附剂,含絮状物的混合液以及絮凝处理过程中产生的氢气经出水口排出,再经固液分离,获得的溶液可直接排放。本发明的处理方法,流程简短、操作简单、环保安全、可操作性强,相较于传统的吸附法及电凝聚法,可以快速分离后续产生的絮状物与处理后溶液,可以有效降低高浓度含氟废水的氟含量,且工艺成本低,适于大规模化应用。

标签:
固废
湖南 - 长沙 来源:中冶有色网 2023-03-19
实验室三废治理智能设备集中显示控制系统

一种实验室三废治理智能设备集中显示控制系统,包括实验室三废治理智能设备集中显示控制系统本体,由云端服务器、智能移动终端、网络通讯模块、废液治理智能设备、废气治理智能设备、固体废弃物治理智能设备,以及三废治理智能设备控制系统内各自的数据采集模块、定位模块、安全锁定模块、数据处理模块、数据运行模块组成为实验室三废治理设备集中显示控制系统;其有益效果是:在三废治理智能设备控制系统上装上网络通讯模块,将三废治理智能设备数据上传到云端服务器,客户通过联网客户端访问,交换云端服务器中数据,集中显示三废治理智能设备的运行状态,及过程数据实时把控,实现远端控制,提高运行效率。

标签:
固废
湖南 - 长沙 来源:中冶有色网 2023-03-19
具备回收功能的废水处理设备

一种具备回收功能的废水处理设备,涉及高氯酸钾生产技术领域,包括固液分离单元、蒸发单元和冷凝单元,所述固液分离单元的出口与蒸发单元的进口连通,蒸发单元的出口与冷凝单元的进口连通;其中,外部生产废水调节为中性后通过固液分离单元的进口进入,该具备回收功能的废水处理设备,能够对固体废物进行回收利用,不能回收的则按普通废物或危险废物依法处理,运行稳定可靠,避免了电解余热资源的浪费,节能效果显著。

标签:
固废
湖南 - 长沙 来源:中冶有色网 2023-03-19
铜冶炼废渣在混凝土中应用的促活剂及其制备方法

本发明公开了一种铜冶炼废渣在混凝土中应用的促活剂及其制备方法,促活剂包含富含磺酸基的改性聚氧乙烯醚、三氟甲磺酸盐以及醇胺,其形态为固体粉末。该促活剂的制备方法,工艺条件温和、设备简单易控、生产效率高、零排放无污染;所生产的新型活性激发固态粉体助剂具有包装运输方便、易于与铜冶炼废渣混合研磨,添加。经本发明的促活剂激发活性的铜冶炼废渣应用于混凝土时,在确保混凝土的和易性、强度和耐久性前提下,可替代混凝土中的矿粉和粉煤灰、降低水泥用量,实现变废为宝,解决铜冶炼废渣绿色处置与混凝土生产所需掺合料供应短缺、质量不稳定的问题。

标签:
固废
湖南 - 长沙 来源:中冶有色网 2023-03-19
养猪废水可以持续处理装置

本实用新型公开了一种养猪废水可以持续处理装置,属于养猪废水处理领域,包括沉淀箱和处理池,所述的沉淀箱顶端设有进水管,进水管内部倾斜设有格栅,沉淀箱侧壁设有漂浮物排出管,沉淀箱内部设有转筒,转筒外壁设有清理板,沉淀箱底端设有倾斜导板,沉淀箱通过输水管和处理池连通,处理池内部设有紫外线灭菌灯和电离板,处理池内部设有喷排,喷排和曝气装置连通,处理池内设有出水管。本实用新型提高废水处理的效果和效率。收集废水中的沉淀物、漂浮物和固体垃圾,填埋在田里或山地中,方便肥田,避免污染环境,循环的充分利用水资源,避免水资源的浪费,方便使用。滤网避免杂质的进入管道,方便废水的循环使用。

标签:
固废
湖南 - 长沙 来源:中冶有色网 2023-03-19
分散式养猪废水的处理装置

本实用新型公开了一种分散式养猪废水的处理装置,涉及废水处理技术领域;包括过滤主体,过滤主体内部设置有过滤机构和脱水组件,过滤机构包括过滤网和支座,过滤网上下两端分别固定安装在过滤主体上和支座上;过滤主体上端设置有为过滤网内部提供废水的进水管,支座内部设置为空腔;脱水组件包括转筒、螺旋输送板和支撑转轴,支撑转轴两端分别转动安装在过滤主体侧壁和过滤主体内部的支架上;支撑转轴设置在转筒中心位置,支撑转轴外侧阵列设置多个支杆与转筒内部固定连接;转筒内部上安装有螺旋输送板,支撑转轴上设置有启动其转动的驱动机构。本实用新型通过上述设置完成了对废水的过滤,同时将固体中的废水排出。

标签:
固废
湖南 - 长沙 来源:中冶有色网 2023-03-19
废旧锂离子电池材料中有价金属组分回收的方法

本发明公开了一种废旧锂离子电池材料中有价金属组分回收的方法。首先,将废旧锂离子正极材料和负极材料充分混合,在800~1000℃进行热处理。其次,将烧结产物磨碎,并进行水浸‑气浮处理,回收上浮的石墨后,将剩余的固液混合物过滤、干燥。然后,采用沉淀或蒸发结晶的方法从滤液中回收碳酸锂。最后,将固体物质进行电化学溶解,提取镍、钴金属资源。该方法可充分利用废旧锂离子电池负极石墨作为还原剂,并回收负极材料中所含的锂资源,实现废料资源的最大化利用。且选择性提取镍、钴、锂等高价金属资源,分离过程简单。同时该方法不易产生大量的酸碱性废水,极具产业应用价值。

标签:
固废
湖南 - 长沙 来源:中冶有色网 2023-03-19
乳状液膜分离去除钢铁冶金烧结烟气脱硫废水中重金属铊的方法

本发明公开了一种乳状液膜分离去除钢铁冶金烧结烟气脱硫废水中重金属铊的方法。首先制备由溶剂、表面活性剂、载体、膜助剂和内相溶液等组成的乳状液膜,然后将烧结烟气脱硫含铊废水与之接触传质,再经自然沉降分离,所得废水达标排放,乳相经破乳处理后,所得油相回用于乳状液膜的制备,所得水相经化学沉淀、盐析等方法再处理后,少量废水回入烧结烟气脱硫系统循环利用,对所得固体进行危废物处理、处置。本发明利用乳状液膜分离技术对钢铁冶金烧结烟气脱硫废水中的重金属污染物进行脱除和处理,去除效果好,特别是对铊的去除率接近100%,具有工艺和设备简单,操作方便,成本及能耗低等特点,具有良好的工业应用价值。

标签:
固废
湖南 - 长沙 来源:中冶有色网 2023-03-19
废气除尘及吸收装置
废气除尘及吸收装置 1135     
 0

本实用新型涉及一种废气除尘及吸收装置,该装置主要由位于下层的除尘布袋和上层的废气吸收填料塔组成,其中除尘布袋以粘性物料构成,用以锰枕及其他产品生产中产生的粉尘颗粒及部分烟雾的收集,产生的废气经除尘布袋初步净化后由气体分布器均匀进入填料吸收塔,填料由不同性质的多孔性、高比表面固体吸附材料构成,同时填料塔内部设置开有透气圆孔的承载装置,以分隔不同类型的填料,塔体成堆砌的圆筒形形状。废气经由填料层后逐步实现相应气体的分离和吸收,使最后排放至空气中的气体质量符合国家有关排放标准,以达到废气除尘及吸收有害气体的目的,保护环境。

标签:
固废
湖南 - 长沙 来源:中冶有色网 2023-03-19
含铝浓碱废液回收利用装置

本实用新型公开了一种含铝浓碱废液回收利用装置,包括废液收集桶、隔膜泵、过滤器、搅拌反应锥形桶、氧化钙粉末加药桶、吸粉机、耐腐蚀压滤机和清液回用桶。所述废液收集桶上方安装有耐腐蚀隔膜泵,隔膜泵将废液通过管道进入过滤器1过滤后继续泵入搅拌反应锥形桶内,吸粉机将加药桶内的氧化钙药粉泵入搅拌反应锥形桶内,同时自来水电磁阀通电进水。待反应完成后,压滤机将搅拌反应锥形桶内的混合物进行固液分离,分离出的清澈碱液进入清液回用桶收集后循环使用;分离出的固体物质为优质化工原料水合铝酸钙,装袋收集后作为净水剂聚合氯化铝(被广泛使用的一种净水剂)的生产原料加以利用。

标签:
固废
湖南 - 长沙 来源:中冶有色网 2023-03-19
煤矸石废料的利用方法

本发明涉及一种煤矸石废料配合铝电解工业的废旧阴极炭块的综合利用方法。其具体步骤为:将煤矸石和废旧阴极炭块粉粹成粉状,干燥后按一定的比例配料,使用强碱液除去混料中的碱性可溶杂质,热水洗涤至中性,干燥后在惰性或还原性气氛下,加热至1400‑1700℃,保温一段时间后得到含碳化硅的混合粉料,然后将粉料在氧化气氛下氧化燃烧除去残余炭粉,将得到的粉体分散于氢氟酸中除去残余二氧化硅,清洗干燥后即可得到碳化硅粉体。本发明所得碳化硅产品纯度高,粒径小,具有极高的工业运用价值。同时,以工业的固体废弃物煤矸石和废旧阴极炭块为原料,在降低废物污染,保护环境及资源回收利用方向具有积极意义。

标签:
固废
湖南 - 长沙 来源:中冶有色网 2023-03-19
利用废有机溶剂制复合脱硝剂的方法

一种利用废有机溶剂制复合脱硝剂的方法,包括以下方案:以废水性有机溶剂为主要原料制取复合脱硝剂,废有机溶剂经过滤除去固体类机械杂质,按质量比为废水性有机溶剂50~90:氨基脱硝剂50~10的比例配料,混合均匀,即得复合脱硝剂。本发明技术方法简单、安全而实用、投资小、处理运行能耗很低,可以彻底解决废有机溶剂尤其是汽车制造业废有机溶剂处置的技术难题,无二次污染。资源化无害化利用废有机溶剂中的所有材料组份,包括所有的碳氢化合物及水份,可以节省资源,利于建设环境友好型资源节约型社会。

标签:
固废
湖南 - 长沙 来源:中冶有色网 2023-03-19
煤矿废水的处理方法及处理系统

本发明公开了一种煤矿废水的处理方法及处理系统。本发明提供的煤矿废水的处理方法,包括以复合絮凝剂对煤矿废水进行絮凝处理;复合絮凝剂的制备方法为将240重量份聚合氯化铝(PAC)和50~100重量份活性炭在水中混合分散后,向所得分散液中添加聚丙烯酰胺的水溶液和聚丙烯酸盐的水溶液;分散液的固含量为40~60wt%;聚丙烯酰胺的水溶液的浓度为3~10wt%,聚丙烯酰胺的添加量为0.5~1.5重量份;聚丙烯酸盐的水溶液的浓度为3~10wt%,聚丙烯酸盐的添加量为0.5~1.5重量份。上述煤矿废水的处理方法,通过制备特殊的复合絮凝剂,能够显著降低煤矿废水中的固体悬浮物、重金属离子和色度。

标签:
固废
湖南 - 长沙 来源:中冶有色网 2023-03-19
卸压后的废弃水基型灭火器回收装置

本发明涉及一种消防领域,尤其涉及一种卸压后的废弃水基型灭火器回收装置。本发明的目的是提供一种卸压后的废弃水基型灭火器回收装置。技术方案为:一种卸压后的废弃水基型灭火器回收装置,包括有表面处理组件、移动翻转组件、切除旋转组件、阻燃剂收集组件、控制台、第一收集箱、第二收集箱、第三收集箱、支架台和出液管;第三收集箱与支架台相连接。本发明实现对不同大小尺寸、来源不同的废弃水基型灭火器的固体阻燃粉末和液体阻燃剂进行有效的分离回收,避免两种物质混在一起,便于进行之后对这两种废料的排放或回收处理,同时可大大减少粉尘在空中的飘散,装置自动化程度高,操作方便。

标签:
固废
湖南 - 长沙 来源:中冶有色网 2023-03-19
处理废脱硝催化剂的方法

本发明公开的一种处理废脱硝催化剂的方法,包括以下步骤:先将废脱硝催化剂磨碎,与一定量的碳混合,加入至沸腾氯化炉,控制反应温度为500~1000℃,进行氯化反应得到混合氯化产物;然后进行冷却至140~180℃,分离得到含钨固体和含钛、钒气体,所得含钨固体通过湿法提纯得到钨产品;所得含钛、钒气体通过后续的精馏、还原、焙烧等工序即可产出合格的钛产品和钒产品。通过本发明提供的处理方法,废脱硝催化剂中的钛、钨、钒等有价金属的回收率均可以达到95%以上,显著提高了资源的利用率。

标签:
固废
湖南 - 长沙 来源:中冶有色网 2023-03-19
有机凝聚法处理含铅废水的方法

本发明涉及一种有机凝聚法处理含铅废水的方法,包括以下步骤:将含铅废水放入搅拌池中;向搅拌池中加入稀盐酸进行调节pH值;向废水中加入羧甲基淀粉钠,然后将废水通入圆滚混合机中进行旋转混合,圆滚混合机内部对废水进行加热;将得到的废水通入沉淀池中进行沉淀,然后进行过滤,得到沉淀污泥;将沉淀污泥放入焙烧室进行焙烧;将焙烧后的固体溶于稀盐酸中,得到初级溶液;将所述初级溶液进行萃取,得到萃取液;将所述萃取液进行反萃,得到反萃液;将所述反萃液进行蒸发结晶,得到结晶物;将所述结晶物与碳粉进行混合,再放入电炉中进行焙烧,将产生的气体排走,最终得到金属铅。本发明工艺流程绿色环保,能耗小,易于实现工业化规模生产。

标签:
固废
湖南 - 长沙 来源:中冶有色网 2023-03-19
养猪场废水污染减控方法

本发明公开了一种养猪场废水污染减控方法,其步骤:A、固液分离设施:养猪场废弃物利用固液分离机械设备进行分离,固体废弃物堆沤发酵生产有机肥;B、四级生物质净化池处理系统,修建生物质净化池,生物质净化池与生物质净化池之间用管道连接,每级生物质净化池中放人稻草;C、五级绿狐尾藻生态湿地处理系统:建生态湿地,湿地与湿地之间以田埂为自然隔离,种植绿狐尾藻,并将其绿狐尾藻培养为植物种群,保持上一级生态湿地和下一级生态湿地:一级生态湿地和二级生态湿地,二级生态湿地和三级生态湿地,有利于废水的流动和净化。该方法操作方便,建设成本低,无需运行成本,适宜在长江中下游广大亚热带地区集约化养猪场应用推广。

标签:
固废
湖南 - 长沙 来源:中冶有色网 2023-03-19
对林产废弃物进行三相回收的热解转化工艺及设备

本发明公开了一种对林产废弃物进行三相回收的热解转化工艺,该工艺在首先将林产废弃物除杂、切割后烘干、粉碎后进行定型造粒,利用粘结剂与碎木屑混合后通过颗粒成型机成型,再将成型后的颗粒烘干送入干馏热解釜中进行四区间的梯度加热,获得多阶段的液体产物和气体产物,反应完成后通过通入氮气进行保护降温,得到固体活性炭产物。另外,在本发明中还公开了一种匹配该工艺的热解转化设备,该设备包括顺序连接的第一干燥器、粉碎机、搅拌机、造粒机、第二干燥器以及热解釜,并在热解釜的出料端部分分别设置有固相、液相以及气相三组出料口分别对应不同的处理端。本发明简单、可靠,处理速度快,可有效对林产废弃物进行三相化回收处理。

标签:
固废
湖南 - 长沙 来源:中冶有色网 2023-03-19
磷石膏回用废水结垢资源回收利用的方法

本发明公开了一种磷石膏回用废水结垢资源回收利用的方法,包括以下步骤:S1、将磷石膏回用废水结垢中加入强碱溶液,溶解过滤后得到母液以及氢氧化镁固体、氢氧化钙固体;S2、对母液进行纳滤分离后得到一价离子溶液、二价离子溶液;S3、一价离子溶液进行蒸发浓缩后过滤,得到氟化钠和碱性混合溶液;S4、二价离子溶液中加入硫酸调节pH值至1~2,通过离心分离操作后得到硅酸和第一硫酸钠溶液;S5、第一硫酸钠溶液经过膜浓缩操作后得到饱和硫酸钠溶液;S6、将饱和硫酸钠溶液在‑10℃~‑5℃的温度下冷藏2h,得到芒硝和第二硫酸钠溶液,第二硫酸钠溶液与第一硫酸钠溶液混合后再次进行步骤S5的操作。

标签:
固废
湖南 - 长沙 来源:中冶有色网 2023-03-19
废银镜片环保处理与资源高效回收装置

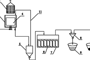
本实用新型公开了一种废银镜片环保处理与资源高效回收装置,搅拌容器(2)内设有由电机(1)驱动的转筒固定架(4),所述的转筒固定架(4)上放置有均孔内筒(3),所述的搅拌容器(2)的出液口通过管道连接有缓冲检测容器(5),所述的缓冲检测容器(5)的出口连接有还原池(7),在所述的还原池(7)中设有废覆铜板(6),所述的还原池(7)连接有抽滤器(8),所述的抽滤器(8)的液体出口连接有收集罐(9),固体出口连接有银粉收集罐(10)。本实用新型是一种能对废银镜片进行环保处理与资源高效回收且流程短、以废治废的废银镜片环保处理与资源高效回收装置。

标签:
固废
湖南 - 长沙 来源:中冶有色网 2023-03-19
综合回收废旧锂离子电池黑粉中有价金属的方法

一种综合回收废旧锂离子电池黑粉中有价金属的方法:将废旧锂离子电池黑粉在惰性气氛中进行高温还原,然后通入氯化氢气体进行选择性氢氯化反应,得到固体产物和挥发性氯化盐烟尘;挥发性氯化盐烟尘进行水浸,得到滤液和固体残渣,固体产物进行水浸,固液分离,得到水浸液和水浸渣;水浸渣进行磁选分离,得到磁性镍钴合金和非磁性混合物,非磁性混合物用NaOH溶液浸出,得到铝浸出液和高纯再生石墨;滤液和水浸液合并,调节pH至9~12,固液分离,得到氢氧化锰固体和含锂离子的滤液,含锂离子的滤液中加入饱和Na2CO3溶液,固液分离,热水洗涤滤渣,得到高纯Li2CO3。本发明整个回收过程流程简单,有价金属的损失少,回收效率高。

标签:
固废
湖南 - 长沙 来源:中冶有色网 2023-03-19
上一页 40 41 42 43 44 ... 53 下一页
共53页    到第

中冶有色为您提供最新的湖南长沙有色金属固/危废处置技术理论与应用信息,涵盖发明专利、权利要求、说明书、技术领域、背景技术、实用新型内容及具体实施方式等有色技术内容。打造最具专业性的有色金属技术理论与应用平台!

全国热门有色金属设备推荐
展开更多 +
全国热门有色金属技术推荐
展开更多 +

 

江西省隆恩特环保设备有限公司
宣传

报名参会
更多+

报告下载

有色专家
更多+

蒙纳士苏州校区
中国工程院外籍院士/校长
西安建筑科技大学
院长/教授
重庆大学
副院长/教授
武汉科技大学
党委副书记、校长
河南科技大学
教授
赤泥综合利用研究报告2025
推广

热门技术
更多+

推荐企业
更多+

福建省金龙稀土股份有限公司
宣传

发布

在线客服

公众号

电话

顶部
咨询电话:
010-88793500-807