青岛垚鑫智能科技有限公司
宣传

位置:中冶有色 >

有色技术频道 >

> 加工技术

分类:
全部
矿山技术
冶金技术
材料制备及加工技术
环境保护技术
分析检测技术
 
全部
功能材料技术
复合材料技术
新能源材料技术
合金材料技术
加工技术
地区:
全部
北京
天津
上海
重庆
河北
山西
辽宁
吉林
黑龙江
江苏
浙江
安徽
福建
江西
山东
河南
湖北
湖南
广东
海南
四川
贵州
云南
陕西
甘肃
青海
内蒙
广西
西藏
宁夏
新疆
其他
其他
展开
 
全部
合肥
芜湖
蚌埠
淮南
马鞍山
淮北
铜陵
安庆
黄山
阜阳
宿州
滁州
六安
宣城
池州
亳州

安徽芜湖有色金属加工技术理论与应用

免费发布技术信息>>
氧化铝包覆的锂离子电池正极材料及其制备方法

本发明公开了一种氧化铝包覆的锂离子电池正极材料及其制备方法,其中,所述制备方法包括:1)将含有镍盐、钴盐和锰盐的混合溶液和沉淀剂混合后,向其中加入络合剂至pH为8‑11,反应10‑20h后过滤,将过滤后的沉淀经洗涤后,干燥,制得前驱体;2)将前驱体与氢氧化锂混合后,热处理4‑6h后,再保温18‑22h,制得锂离子电池正极材料雏体;3)将锂离子电池正极材料雏体与溶剂混合,制得混合物,在搅拌条件下,向上述混合物中滴加铝盐,制得混合液;4)将混合液经过滤、干燥后,置于氧气存在的条件下焙烧,制得氧化铝包覆的锂离子电池正极材料。实现了具有良好的循环性能,能大大提高制得的电池的使用寿命的效果。

标签:
加工技术
安徽 - 芜湖 来源:中冶有色网 2023-03-18
硅碳复合材料及其制备方法、含该材料的锂离子电池

本发明提供一种硅碳复合材料及其制备方法、含该材料的锂离子电池,属于锂离子电池技术领域,其可解决现有的硅碳复合负极材料和由其制备的锂离子电池的循环性能差、导电性能低下的问题。本发明的复合材料的制备方法包括混料的步骤、二氧化硅包覆步骤、碳包覆步骤和脱二氧化硅层步骤。本发明的硅碳复合材料的制备方法利用预留的孔隙来容纳硅颗粒嵌锂过程中的体积膨胀,且在孔隙中预先分散导电网络碳材料,提高了硅碳复合材料的导电性,达到减缓甚至消除电化学活性物质因体积膨胀而粉化脱落的现象,有效延长硅碳复合材料的循环寿命。本发明的硅碳复合材料是由上述方法制备的。本发明的锂离子电池包括上述硅碳复合材料。

标签:
加工技术
安徽 - 芜湖 来源:中冶有色网 2023-03-18
智能锂电池温度调节系统及其控制方法

本发明揭示了一种智能锂电池温度调节系统设有内部填充有散热介质的电池箱,电池箱内竖直设有多个放置腔,所述放置腔呈行列矩阵结构固定在电池箱底部,所述放置腔之间均具有间隙,所述电池箱顶部设有封盖,所述封盖上下垂有多根注液支管,所述注液支管延伸至每相邻四个放置腔中间的间隙内,所述电池箱底部设有出液管,每根所述注液支管上均设有支管阀且与注液总管连通,所述出液管通过散热泵连接汽车散热器输入端,所述散热器输出端连接注液总管;本系统使用安全可靠,对于锂电池使用环境可控性强,不仅能够可靠的降温,还能在低温环境下给予锂电池加热,保证锂电池的工况环境,提高锂电池的使用安全性、可靠性以及使用寿命。

标签:
加工技术
安徽 - 芜湖 来源:中冶有色网 2023-03-18
二氧化锡/二氧化锰负载硫颗粒的纳米复合材料的制备方法、锂硫电池正极及电池

本发明公开了一种二氧化锡/二氧化锰负载硫颗粒的纳米复合材料的制备方法、锂硫电池正极、锂硫电池。本发明利用价格低廉的原料制备得到二氧化锡/碳复合材料。再通过水热法得到二氧化锡/二氧化锰复合材料,之后负载硫获得锂硫电池正极材料。本发明针对锂硫电池,提供了一种工艺简单、产率高、成本低的复合材料制备方法。

标签:
加工技术
安徽 - 芜湖 来源:中冶有色网 2023-03-18
可控调孔碳材料的制备方法及其在锂硫电池中的应用

本发明涉及一种可控调孔碳材料的制备方法及其在锂硫电池中的应用,包括以下步骤:(1)将糠醛和间苯二酚混合,再加入有机酸作为调孔剂,然后油浴反应得到有机湿凝胶;(2)将上述制得的有机湿凝胶常压下干燥,得到有机凝胶;(3)将上述步骤(2)中得到的有机凝胶,在氩气气氛中,高温碳化,得到有机酸可控调孔碳材料;(4)将有机酸可控调孔碳材料和升华硫混合浸渍处理,得硫碳复合材料,将硫碳复合材料作为锂硫电池的正极。可控调孔碳材料作为锂硫电池硫正极载体,能够有效抑制电池循环过程中产生的多硫化物溶解于电解质,同时碳材料可以增强电极导电性,明显改善锂硫电池的充放电循环性能。

标签:
加工技术
安徽 - 芜湖 来源:中冶有色网 2023-03-18
锂离子电池模组结构
锂离子电池模组结构 1066     
 0

本发明公开了一种锂离子电池模组结构,所述锂离子电池模组结构包括模组框架,所述模组框架的内部固定有导热硅胶片,所述导热硅胶片的两侧分别设置有电芯体,所述电芯体中靠近所述导热硅胶片的端面与所述导热硅胶片相贴合,所述模组框架的两端还分别可拆卸地固定有外壳板,所述电芯体位于所述外壳板和所述导热硅胶片之间。该锂离子电池模组结构的各个组成件具备良好的通用性,方便各组件之间的拆卸和安装,同时锂离子电池模组整体具备优良的抗震能力和散热性能。

标签:
加工技术
安徽 - 芜湖 来源:中冶有色网 2023-03-18
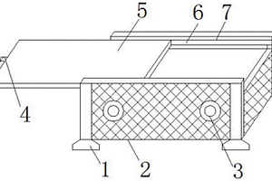
锂离子电池盖结构
锂离子电池盖结构 1072     
 0

本实用新型提供一种应用于新能源汽车动力电池零部件技术领域的锂离子电池盖结构,所述的锂离子电池盖结构的顶盖片(1)下方设置电池负极柱(4)和电池正极柱(5),电池负极柱(4)侧面或电池正极柱(5)侧面设置翻转片(6),翻转片(6)前端设置为能够延伸到防爆片(3)下方位置的结构,翻转片(6)前端设置凸出板(7),本实用新型的锂离子电池盖结构,在电池内部气压增大时,能够有效确保风暴片破裂打开,使得电池内部气压及时排泄,防止电池爆炸,同时使得爆破片上的开口可以使翻转片穿过防爆孔,翻转至外面和顶盖片电联接,使得正负极电联接,实现电池外短路,避免过充对电池进一步损坏,全面提高锂离子电池的安全性能。

标签:
加工技术
安徽 - 芜湖 来源:中冶有色网 2023-03-18
用于UPS储能模块的锂电池组结构

本实用新型公开了一种用于UPS储能模块的锂电池组结构,包括若干多个电芯和固定带,电芯为磷酸铁锂电芯,相邻电芯之间采用双面胶粘结,电芯拼接连接在一起,固定带套接在拼接在一起的电芯组件的外部。锂电池组结构还包括端板,在拼接在一起的电芯的两端装上端板,端板上与电芯接触的一面设有端部绝缘片,固定带套接在电芯和端板的外部将端板和电芯组件绑在一起构成稳定的模组结构。采用循环寿命较长、能量密度较高的磷酸铁锂电芯,使模组重量大大降低,使得模组能量密度有较大提升。在结构上,电芯间采用双面胶粘结,在X方向采用钣金端板组合后扎塑胶箍带的成组方式,使得主体结构设计可靠、简洁,从而使工艺流程大大简化,从全过程降低了成本。

标签:
加工技术
安徽 - 芜湖 来源:中冶有色网 2023-03-18
锂电池移动式旋转焊接装置

一种锂电池移动式旋转焊接装置,属于锂电池焊接技术领域,该移动式旋转焊接装置包括移动架、旋转台架和驱动电机,移动架的一侧通过驱动电机与旋转台架的一侧固定相连,移动架的另一侧与旋转台架的另一侧转动相连,旋转台架上设置有将锂电池壳体定位的滑动调节架,本实用新型的有益效果是,该移动式旋转焊接装置可以承载锂电池壳体灵活移动和转动,能够实现多角度焊接定位,定位稳定可靠,适用于多种尺寸的锂电池壳体的定位,通用性强,满足了锂电池小批量焊接生产的高效和灵活的要求。

标签:
加工技术
安徽 - 芜湖 来源:中冶有色网 2023-03-18
富锂锰材料,其用途以及制备方法

本发明涉及一种富锂锰材料, 其用途以及制备方法,为xLi2-2bNa2bMn1-aSiaO3·(1-x)Li1-bNabNi0.5Mn0.5-a/2Sia/2O2,用作正极材料。制备方法包括以下步骤:(1)合成前驱体材料;(2)与钠盐、锂盐混合均匀;(3)高温烧结。本发明制备的富锂锰材料为纳米棒状小颗粒堆积而成的微米级颗粒,结构稳定,具有放电比容量高,首次效率高,循环稳定性好,倍率性能优异。

标签:
加工技术
安徽 - 芜湖 来源:中冶有色网 2023-03-18
锂电池负极片制作方法

本发明的目的是提出一种锂电池负极片制作方法,以降低成本、提高生产效率、提高电池的综合性能。本发明的锂电池负极片制作方法包括涂布、烘烤、轧制、切片步骤,关键在于所述涂布步骤中,将极片基材涂成间隔排列的矩形区域,相邻的矩形区域之间留白以用于制作极片的极耳,不同的矩形区域中相邻两个极片的极耳错开布置。将无需涂布的极耳排列成一列并相互错开,不仅可以提高涂布效率,还可以减少基材的浪费。本发明的锂电池负极片制作方法可以节省材料,且工作效率高,成品质量好,提高电池的综合性能。

标签:
加工技术
安徽 - 芜湖 来源:中冶有色网 2023-03-18
水下潜航器用锂电池组保护装置

本发明公开了一种水下潜航器用锂电池组保护装置,包括箱体,所述箱体外围包覆有外部加强框,所述外部加强框底端设置有安装座,所述箱体顶端滑动连接有密封盖板,所述箱体内壁设有耐压壳体,所述耐压壳体内侧对称开设有第一卡槽,所述第一卡槽与导线管一端连接,所述导线管另一端穿过箱体并固定有导线接头,所述导线接头一侧设有第一通讯接口,所述导线接头另一侧设有第二通讯接口,所述导线管之间设置有锂电池组安装腔,所述锂电池组安装腔一侧设有固定板;本发明通过设置的导线管和导线接头,锂电池组的导线穿过通孔和导线管与导线接头连接,使得电池组内部的排线有序,提高电池组的结构稳定性,不易发生接头处的松动。

标签:
加工技术
安徽 - 芜湖 来源:中冶有色网 2023-03-18
碳包覆的锂离子电池及其制备方法

本发明涉及锂离子电池,公开了一种碳包覆的锂离子电池及其制备方法,其中,碳包覆的锂离子电池的正极材料作为锂离子电池的重要组成部分,具有较高的放电容量和良好的循环性能,在制备过程中不需要在碳源包覆的情况下长时间焙烧,有效控制材料的一致性,且该制备原料易得,制备方法简单,具有较高的推广应用价值。本发明克服现有技术中为了得到碳包覆的正极材料而采用在碳源存在的情况下长时间焙烧的工艺,并且克服了该由于超时间焙烧使得过渡金属离子被部分还原使得材料的一致性不易控制的缺陷。

标签:
加工技术
安徽 - 芜湖 来源:中冶有色网 2023-03-18
磷酸铁锂电极材料的碳含量测定方法

本发明提供了一种反应前即可确定终产物碳含量的磷酸铁锂电极材料碳含量的测定方法,先测定碳源的成炭率Y,再计算磷酸铁锂成品中的碳的质量分数,计算公式为本发明的有益效果在于:在设计端就可以进行碳含量的精确计算,其终产物碳含量最终真实值(通过现有的碳硫分析仪测试表征)与本发明计算值绝对误差为≤0.5%,免去了需要到反应结束得到终产物才能通过辅助设备测定碳含量的复杂操作过程,该方法可给材料设计生产带来便利,也免去了材料设计之初多次实验验证批次稳定性带来的成本浪费。

标签:
加工技术
安徽 - 芜湖 来源:中冶有色网 2023-03-18
锂电池组保护装置
锂电池组保护装置 1111     
 0

本实用新型涉及电池管理技术领域,具体地说是一种能够对充放电过程进行监测,有效保护锂电池组,延长锂电池组使用寿命和工作安全度的锂电池组保护装置,其特征在于包括控制器、充电电路、电流检测电路、电压检测电路、温度检测电路,其中充电电路包括依次相连接的变压电路、降压电路、整流电路、恒流输出电路以及分别与恒流输出电路电路相连的两个以上子充电电路,电流检测电路中包括两个以上子电流检测回路,每个子电流检测回路与子充电电路一一对应连接,每个子充电电路分别连接有一路电压检测电路,每路电压检测电路均与控制器相连接,本实用新型与现有技术相比,具有结构合理、工作可靠、安全稳定等优点。

标签:
加工技术
安徽 - 芜湖 来源:中冶有色网 2023-03-18
锂电池生产用真空烘焙设备

本发明公开了一种锂电池生产用真空烘焙设备,涉及电池加工技术领域,包括底箱,底箱内安装有若干个隔板,隔板将底箱分隔成若干个容纳腔,隔板上抵接有滚轮,滚轮安装在支撑架的两侧,底箱的两侧安装有驱动电机,驱动电机的输出端连接有主动辊,底箱位于最下层容纳腔的内壁上转动连接有从动辊,主动辊和从动辊上套接有皮带,皮带的上通过连接杆连接在支撑架上,底箱的上端安装有鼓风箱,底箱的内壁上对称安装有出风管。本发明通过鼓风箱将底箱外侧的空气抽入出风管,并通过出风管排出形成风幕,避免操作人员烫伤,冷凝板将上升的热蒸汽冷凝成水滴,并将冷凝的水滴通过安装槽“V”字型的斜侧落入集水槽收集,避免水珠重新打湿干燥后的锂电池。

标签:
加工技术
安徽 - 芜湖 来源:中冶有色网 2023-03-18
锂离子电池厚度溶胀胶带及其生产方法

本发明公开了一种锂离子电池厚度溶胀胶带及其生产方法,通过在长宽方向上对基膜进行物理拉伸,使长宽方向的高分子链不产生折叠,只在厚度方向上存在高分子链的折叠,从而实现基膜只在厚度方向上溶胀,全方位填充间隙。本发明生产得到的锂离子电池厚度溶胀胶带在厚度方向的溶胀倍率高可达4倍以上。

标签:
加工技术
安徽 - 芜湖 来源:中冶有色网 2023-03-18
基于机器学习的锂电池健康状态及荷电状态联合估算方法

本发明涉及一种基于机器学习的锂电池健康状态及荷电状态联合估算方法,确定电池型号,根据充放电过程的明细数据,拟合V‑SOC曲线;建立锂电池等效电路模型;对一个充放电周期内的电压回弹特性曲线的曲线进行参数辨识,得到机器学习模型;开机时进行一次初始化测试操作;对该周期内的电压回弹曲线进行拟合,得到当前电池欧姆电阻和极化电阻,同时测量环境温度、在存储芯片中读取电池充放电循环数据,计算其电池健康状态SOH;以辨识得到的欧姆电阻、极化电阻、极化电容和最大可用容量更新模型参数,运用UKF或EKF算法估算电池荷电状态SOC,在储存芯片中记录SOC值。本发明具有状态方程参数即时更新、对寿命影响因素考虑全面、参数多次使用、节省计算资源等特点。

标签:
加工技术
安徽 - 芜湖 来源:中冶有色网 2023-03-18
改性尖晶石锰酸锂材料、制备方法及其应用

本发明提供了一种改性尖晶石锰酸锂材料、制备方法及其应用,通过将需要掺杂的金属元素通过锰盐和锂盐按照一定比例配置成溶液,实现原子水平的反应,很好的解决了固相反应存在的缺点,另外该法还具有产量高、反应过程可控等诸多优点。与现有技术相比,本发明将所需掺杂的元素通过配比成溶液进行掺杂使得掺杂更加充分,通过掺杂Co元素,减小材料比表面积,增加尖晶石LiCoxMn2‑xO4稳定性和导电性;而且,本申请生产工艺简单、可靠性强、无过滤、洗涤、粉碎过程,保证了产物的高纯度和高活性,非常有利于大规模生产;而且,组分损失少,可精确控制化学计量比,尤其适合制备多组分复合材料。

标签:
加工技术
安徽 - 芜湖 来源:中冶有色网 2023-03-18
电动汽车用锂离子电池组一致性的评价方法

本发明提出了一种电动汽车用锂离子电池组的一致性的有效的评价方法,具体包括如下步骤:A:将由单体电池串并联组成的电池组与电动汽车的电池管理系统连接;B:利用电池管理系统控制电池组进行放电,并通过电池管理系统采集并记录单体电池的电压、温度,以及电池组的SOC值;C:在放电过程中,每隔10%SOC计算一次每个单体电池电压的标准差δ,并根据标准差δ的值来评价电池组的一致性,当标准差δ小于预定值时,表示该电池组具有良好的一致性,否则表示该电池组的一致性较差,所述标准差δ的计算公式如下:上述评价方法具有操作简单、处理方便,判断准确的特点,适合应用于电动汽车电池组的一致性的评价。

标签:
加工技术
安徽 - 芜湖 来源:中冶有色网 2023-03-18
锂电池组电源管理系统

一种锂电池组电源管理系统,采样模块的输入端与锂电池的两端连接,所述的控制模块具有两个控制信号输入端,所述的采样模块的输出端分别与电平处理电路的输入端和通过磁隔离模块与单片机的输入端相连接,所述的电平处理电路的输出端与控制模块的一个控制信号输入端连接,所述的单片机的输出端与控制模块的另一个控制信号输入端连接,单片机接收采集模块信号,经过逻辑判断对充电场管和放电场管进行控制,同时采样模块通过驱动控制模块对充电场管和放电场管进行控制,其中一路控制出现问题时,另一路控制可以保证对充电场管和放电场管进行控制,增加了系统的稳定性,提高了控制精度。

标签:
加工技术
安徽 - 芜湖 来源:中冶有色网 2023-03-18
大功率锂电池保护板散热器

本实用新型属于电池技术领域,具体是涉及一种大功率锂电池保护板散热器。大功率锂电池保护板散热器,其特征在于,包括锂电池保护板,所述锂电池保护板的两侧设有铝制散热片,所述铝制散热片的上、下端面开有U形凹槽。本实用新型大功率锂电池保护板散热器,结构简单,对保护板的散热效果较好,同时散热片即为输出负极,从而使接线方式更加方便、多样。

标签:
加工技术
安徽 - 芜湖 来源:中冶有色网 2023-03-18
锂离子动力电池顶盖结构

本实用新型提供一种应用于新能源汽车动力电池零部件技术领域的锂离子动力电池顶盖结构,所述的锂离子动力电池顶盖结构的电池负极柱(4)侧面或电池正极柱(5)侧面设置翻转片(6),翻转片(6)前端设置为能够延伸到防爆片(3)下方位置的结构,防爆片(3)上设置呈“コ”字形的刻痕线(7),本实用新型的锂离子动力电池顶盖结构,结构简单,成本低,在电池内部气压增大时,能够有效确保防爆片的刻痕面能够破裂打开,使得电池内部气压及时排泄,防止电池爆炸,同时使得爆破片上的开口可以使翻转片穿过防爆孔,翻转至外面和顶盖片电联接,使正负极电联接,实现电池外短路,避免过充对电池进一步损坏,提高锂离子电池的安全性能。

标签:
加工技术
安徽 - 芜湖 来源:中冶有色网 2023-03-18
锂镍锰氧复合正极材料及其制备方法

本发明涉及一种锂镍锰氧复合正极材料及其制备方法,按照LiNi0.5Mn1.5O4化学计量比称取Ni0.5Mn1.5(OH)4和Li2CO3;对Ni0.5Mn1.5(OH)4和Li2CO3进行球磨混合;对球磨混合后的Ni0.5Mn1.5(OH)4和Li2CO3烧结从而制备LiNi0.5Mn1.5O4;将LiNi0.5Mn1.5O4、导电剂、碳源前躯体球磨混合均匀;烧结将LiNi0.5Mn1.5O4、导电剂、碳源前躯体球制得锂镍锰氧复合正极材料。

标签:
加工技术
安徽 - 芜湖 来源:中冶有色网 2023-03-18
新能源汽车用锂电池组排料用的上料装置及上料方法

本发明公开了一种新能源汽车用锂电池组排料用的上料装置及上料方法,包括工作台、储料箱、定向上料机构、推料机构、送料机构和翻转放料机构,所述储料箱与工作台上端紧固连接,所述定向上料机构与工作台中部连接,所述推料机构与储料箱后端连接,所述送料机构设于推料机构下方,所述翻转放料机构与送料机构末端连接,实现了单个锂电池的定向推送上料操作,送料精度高,自动化程度高;避免了现有技术中采用振动上料带来的锂电池的泄漏、破裂、起火、爆炸的问题。

标签:
加工技术
安徽 - 芜湖 来源:中冶有色网 2023-03-18
适应温度变化的高低温锂离子电池

本发明的目的是提供一种适应温度变化的高低温锂离子电池,正极材料采用富锂锰基正极材料和尖晶石锰酸锂,具有优异的高低温性能,负极材料采用酚醛树脂包覆的球形天然石墨,充电容量提高,电化学性能好;本发明可以很好的适应高低温的环境,高低温下循环稳定性好,性能优异。

标签:
加工技术
安徽 - 芜湖 来源:中冶有色网 2023-03-18
锂电池充放电用恒温保护箱

本实用新型涉及一种锂电池充放电用恒温保护箱,包括箱体,箱体的前侧面的左部安装有电量显示器,箱体的前侧面的右部设有充放电插接口,箱体的内侧壁上安装有保温层,箱体的内部安装有恒温控制装置和电池容纳盒;电量显示器上设置有刻度;充放电插接口的上方设有插口封盖,充放电插接口呈椭圆形,插口封盖用以在不使用的情况下,对充放电插接口进行密封,防止灰尘或者线路的短路;电池容纳盒的前侧设有电池插接口,电池容纳盒的前端与电量显示器、充放电插接口相连。本实用新型具有结构设计简单、方便操作和安全性能高等优点,能为锂电池提供恒温的工作环境,为锂电池的正常使用提供保障,并起到防火防爆保护作用。

标签:
加工技术
安徽 - 芜湖 来源:中冶有色网 2023-03-18
动力锂离子软包电池模组

本实用新型公开了一种动力锂离子软包电池模组,包括外壳体和堆叠设置于外壳体中的多个动力锂离子软包电池模块,动力锂离子软包电池模块包括堆叠设置的三个单体电池,三个单体电池的极耳焊接连接形成电极结构,所述电极结构包括第一极耳、第二极耳和第三极耳,第三极耳夹在第一极耳与第二极耳之间且与第一极耳和第二极耳焊接连接,第一极耳和第二极耳均为L形结构。本实用新型的动力锂离子软包电池模组,将各个模块中的三个单体电池的极耳焊接连接在一起形成T型结构的电极,从而提高了极耳的强度,极耳不容易损坏。

标签:
加工技术
安徽 - 芜湖 来源:中冶有色网 2023-03-18
锂离子电池的电解液及其制备方法和应用

本发明公开了一种锂离子电池的电解液及其制备方法和应用,所述制备方法包括:将六氟磷酸锂、二甲基碳酸酯、乙基甲基碳酸酯、氟代碳酸乙烯酯、氯化钠、氯化钾、碳酸二丁酯、添加剂和去离子水混合制得电解液;制得的电解液能够使得锂离子电池在大倍率电流情况下快速充放电以及低温环境下有效放电。

标签:
加工技术
安徽 - 芜湖 来源:中冶有色网 2023-03-18
用于三元聚合物锂电池的镍钴锰氢氧化物的制备方法

本发明涉及一种用于三元聚合物锂电池的正极材料的前驱体镍钴锰氢氧化物的制备方法,采用共沉淀法,将一定摩尔浓度的镍盐和钴盐与锰盐按照一定比例配比,在一定温度、流量、PH值、搅拌速度等条件下和存在有缓冲剂的混合物的体系下,与沉淀剂进行化学沉淀反应,从而形成氢氧化钴、氢氧化镍、氢氧化锰的原子级均匀混合物而沉淀,然后通过低温脱水,高温重构,形成了镍钴锰氢氧化物,采用该镍钴锰氢氧化物所制成的聚合物锂电池的正极的电性能优,放电平台不容易衰减,耐大电流充放和过充放,使用寿命长。该聚合物锂电池适用于高容量的快速移动充电电源。

标签:
加工技术
安徽 - 芜湖 来源:中冶有色网 2023-03-18
上一页 32 33 34 35 36 ... 48 下一页
共48页    到第

中冶有色为您提供最新的安徽芜湖有色金属加工技术理论与应用信息,涵盖发明专利、权利要求、说明书、技术领域、背景技术、实用新型内容及具体实施方式等有色技术内容。打造最具专业性的有色金属技术理论与应用平台!

全国热门有色金属设备推荐
展开更多 +
全国热门有色金属技术推荐
展开更多 +

 

江西省隆恩特环保设备有限公司
宣传

报名参会
更多+

报告下载

有色专家
更多+

矿冶科技集团江苏北矿金属循环利用科技有限公司
书记 / 总经理
中南大学
常务副校长
广西大学
处长/教授
昆明理工大学
校长
洛阳有色矿业集团有限公司
生产技术部经理
赤泥综合利用研究报告2025
推广

热门技术
更多+

推荐企业
更多+

福建省金龙稀土股份有限公司
宣传

发布

在线客服

公众号

电话

顶部
咨询电话:
010-88793500-807