青岛垚鑫智能科技有限公司
宣传

位置:中冶有色 >

有色技术频道 >

> 新能源材料技术

分类:
全部
矿山技术
冶金技术
材料制备及加工技术
环境保护技术
分析检测技术
 
全部
功能材料技术
复合材料技术
新能源材料技术
合金材料技术
加工技术
地区:
全部
北京
天津
上海
重庆
河北
山西
辽宁
吉林
黑龙江
江苏
浙江
安徽
福建
江西
山东
河南
湖北
湖南
广东
海南
四川
贵州
云南
陕西
甘肃
青海
内蒙
广西
西藏
宁夏
新疆
其他
其他
展开
 
全部
杭州
宁波
温州
绍兴
湖州
嘉兴
金华
衢州
台州
丽水
舟山

浙江杭州有色金属新能源材料技术理论与应用

免费发布技术信息>>
新能源车用带组合开关式紧急制动装置及其控制方法

本发明涉及汽车安全技术领域,具体涉及一种新能源车用带组合开关式紧急制动装置及其控制方法,包括组合开关、VCU和车速获取装置,组合开关与方向盘固定连接,组合开关包括喇叭开关和紧急制动开关,喇叭开关和紧急制动开关的触发行程均在汽车的喇叭按板行程内,喇叭开关的触发行程比紧急制动开关的触发行程更靠近喇叭按板。控制方法包括:A)紧急制动开关被触发时,VCU比对车速获取装置获取到的车速;B)若汽车车速不超过设定上限车速则提示误操作;C)VCU发出信号给汽车的制动装置使汽车制动。本发明的实质性效果是:在汽车喇叭下设置紧急刹车装置,避免了驾驶员将刹车踏板与油门踏板混淆的情况,提高了汽车的安全性。

标签:
新能源
浙江 - 杭州 来源:中冶有色网 2023-03-18
热缩管上料装置和新能源动力电池套热缩管机

本发明涉及新能源电池领域。热缩管上料装置,包括前后调节燕尾槽基板、前后调节燕尾板、上下调节燕尾板、热缩管支撑架、上下调节燕尾槽基板、热缩管送料机构和热缩管环切机构;前后调节燕尾槽基板和前后调节燕尾板形成移动副配合连接;上下调节燕尾槽基板底部与前后调节燕尾板垂直固定连接,上下调节燕尾板顶端固定设置在热缩管支撑架上,上下调节燕尾板与上下调节燕尾槽基板形成移动副配合连接;热缩管送料机构和热缩管环切机构均固定设置在热缩管支撑架上。热缩管上料装置的优点是热缩管送料机构的优点是热缩管送料准确,可以适应不同尺寸的热缩管使用,且调整方便,热缩管切割时保持竖直,切割准确率高。

标签:
新能源
浙江 - 杭州 来源:中冶有色网 2023-03-18
用于新能源汽车电性能测试的绝缘测试仪

本发明公开了一种用于新能源汽车电性能测试的绝缘测试仪,本发明中的绝缘测试仪包括高压采集单元、电能采集单元、温度采集单元、触发单元和高压产生单元。所述的高压采集单元包括两路采样支路,每路采样支路包括并联的第一支路和第二支路。所述的电能采集单元包括并联的第三支路和第四支路。所述的温度采集单元包括温度传感芯片。所述的触发单元包括485通讯触发模块和开关触发模块。本发明实现了电动汽车在碰撞过程中全自动电性能测试,不仅为测试采集了可靠的数据,智能的测试流程也为测试员节省时间,方便操作。

标签:
新能源
浙江 - 杭州 来源:中冶有色网 2023-03-18
基于大系统优化和车联网的新能源汽车智能辅助驾驶方法

本发明公开了一种基于大系统优化和车联网的新能源汽车智能辅助驾驶方法,提出一种新的知能辅助驾驶技术。以车个城市的交通为研究对象,基于交通大系统智能优化,确定最优行车路线和最优行车速度。从出发节点到目的节点,不是通过一次寻优得到最优行车路线,而是根据实时路况信息,通过多目标滚动优化,不断调整寻优策略得到最终的最优行车路线。通过车联网,获得来自交通大系统的最优车速,根据最优车速与实际车速之间的误差,通过车载控制器调节实际车速,使其实时跟踪最优车速,实现自适应巡航。建立流量、车速和拥堵程度的关系,以拥堵程度最小为目标,基于交通大系统智能优化,求解最优行驶速度。

标签:
新能源
浙江 - 杭州 来源:中冶有色网 2023-03-18
基于5G通讯的新能源汽车钣金打磨设备

本发明公开了一种基于5G通讯的新能源汽车钣金打磨设备,其结构包括箱体,所述箱体内设置有开口且对称的开口腔,所述箱体前端面设置有信号接收器,所述信号接收器右侧设置有单片机,所述信号接收器和单片机之间设置有电线,所述电线将所述信号接收器和单片机电连接,所述信号接收器与5G通讯终端进行通讯连接,所述箱体右端面设置有用于提供电源且便于人员拆装的插线板装置,此设备采用了插线板装置、打磨装置和储存装置的设计,使设备在借助5G的技术辅助下,能够控制设备内部运动结构进行工作,实现了自动化更换打磨轮片的功能,且设备内部设计灵巧,极大的提高了设备的工作效率及可靠性。

标签:
新能源
浙江 - 杭州 来源:中冶有色网 2023-03-18
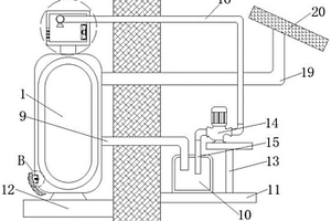
新能源空调
新能源空调 1025     
 0

本实用新型公开了新能源空调,包括空调主体和蓄水槽,所述空调主体正面的底端固定安装有吹风口,所述空调主体的底端固定安装有第二支撑板,所述空调主体的顶端固定安装有第二固定块,所述第二固定块的顶端固定安装有放置箱。本实用新型通过设置有过滤网和第一固定块,可以在吹风口向房间内吹入冷气时,对吹风口吹出空气中的灰尘杂质进行过滤,从而增加了房间内部的空气清洁程度,通过设置有空腔、弹簧、限位柱、插槽和限位孔,通过限位柱和限位孔相互配合,可以方便用户在不使用过滤网时,对过滤网进行拆卸,同时也使用户安装过滤网使,将过滤网固定的更加稳定,从而方便了用户对过滤网的拆卸和安装,也增加了装置的稳定性。

标签:
新能源
浙江 - 杭州 来源:中冶有色网 2023-03-18
轻便易弯曲新能源汽车用充电桩电缆

一种轻便易弯曲新能源汽车用充电桩电缆,包括线芯主体,线芯主体包括动力线芯、信号线芯和控制线芯,线芯主体的导体由多根退火铝合金丝同向多层绞合而成,导体束丝方向与每层复绞方向相同,导体外设有TPE绝缘层,电缆还包括包覆设置在线芯主体外的铝合金带连锁铠装层。本实用新型具有如下有益效果:(1)电缆柔软度得到大幅提高,减小充电枪与电缆连接部位的弯曲半径,方便充电枪与车内充电接口的连接;(2)退火铝合金丝导体在保证柔软度的同时,减轻电缆自重;(3)铝合金带连锁铠装后,电缆可以在满足360度弯曲的前提下,大大提高了此电缆的耐碰撞性能。

标签:
新能源
浙江 - 杭州 来源:中冶有色网 2023-03-18
新能源汽车用磁流体式踏板感模拟装置

一种新能源汽车用磁流体式踏板感模拟装置,包括:车速传感器、电源、外壳、踏板、制动液壶以及主制动缸,还包括:制动输入机构,安装在外壳前端,一端与踏板铰接,另一端与磁流体机构固定连接;用于踏板感模拟的磁流体机构,安装在外壳内前段,动力输入端与制动输入机构固定连接,动力输出端与液压传动机构固定连接;踏板感模单元,通过线圈通电产生电磁力,电磁力对磁流体产生作用,改变磁流体的流动阻力,而此电磁力,通过调节输入电流,可以便捷的调整反馈力的大小,从而实现踏板感的调节。

标签:
新能源
浙江 - 杭州 来源:中冶有色网 2023-03-18
高性能新能源汽车充电机壳体

本实用新型公开了一种高性能新能源汽车充电机壳体,包括壳体、盖板、防潮机构、散热片、主电路板、引风扇、收纳机构和航空插头,壳体上转动安装有盖板,盖板内开设有工作腔,防潮机构固设于工作腔内,壳体内开设有容纳槽,容纳槽内壁均匀固设有两个以上的散热片,主电路板设置于容纳槽内,且主电路板与散热片固定连接,壳体外侧开设有散热孔,散热孔与容纳槽连通,引风扇固设于散热孔内,容纳槽下方还开设有收纳腔,收纳腔内固设有收纳机构,航空插头与收纳机构固定连接,且航空插头与主电路板电性连接。本实用新型中,通过防潮机构去除空气中的水分,保证工作腔内部干燥,从而防止主电路板故障,提高了充电机的使用寿命。

标签:
新能源
浙江 - 杭州 来源:中冶有色网 2023-03-18
新能源线束压接装置
新能源线束压接装置 932     
 0

本实用新型公开了一种新能源线束压接装置,包括工作台,所述工作台开设有滑槽,且滑槽中滑动连接有第一固定座和第二固定座,所述第一固定座上固定连接有两个相对设置的第一弧形夹板,且两个第一弧形夹板均通过复位弹簧固定连接有第二弧形夹板,所述第二固定座上固定连接有连杆。本实用新型涉及线束加工技术领域,通过设置的第二弧形夹板和复位弹簧的配合,可以使线束在对接的过程中保持平直稳固,另外第一磁块和第二磁块的配合,可以使第二弧形夹板在对接的过程中实时对端子进行让位,保证端子对接的顺畅性,极大的节省了人力扶持的劳力损耗,且保证了对接的稳定性。

标签:
新能源
浙江 - 杭州 来源:中冶有色网 2023-03-18
用于新能源物流车辆的电池充电收费装置

本发明公开了一种用于新能源物流车辆的电池充电收费装置及其方法,包括机箱,所述机箱的顶部栓接有安装板,所述机箱的内腔设置有安装机构,所述安装板的顶部活动连接有充电收费装置本体,所述充电收费装置本体正面的顶部设置有触摸显示屏,通过蜗杆、蜗轮、螺纹杆、移动块、第一卡块和第二卡块的配合,缩短了使用者安装充电收费装置本体的时间,提高了充电收费装置本体的安装效率,提高了使用者的工作效率,通过防护板、第一弹簧、缓冲箱、第二弹簧、缓冲杆、第三弹簧、挡板、缓冲垫和橡胶块的配合,对充电收费装置本体进行保护,防止汽车冲撞充电收费装置本体,造成充电收费装置本体损坏,导致充电收费装置本体的维修成本增加。

标签:
新能源
浙江 - 杭州 来源:中冶有色网 2023-03-18
新能源汽车用飞轮壳的全自动加工生产线及加工工艺流程

本发明公开了一种新能源汽车用飞轮壳的全自动加工生产线及加工工艺流程,将未加工的飞轮壳通过循环进料装置进行输料,由机械手抓取飞轮壳通过第一车铣机床进行铣内圆以及法兰面、钻孔攻螺纹和锪白眼平面、通过第二车铣机床进行锪白眼、钻攻螺纹孔、铣平面和钻攻螺纹孔,通过第三车铣机床上进行精铣结合面、镗孔和钻攻螺纹孔,三道车铣加工完毕后再通过机械手将飞轮壳放置于滚筒出料装置中进行送料。本发明可以对飞轮壳的进行全自动加工,节省了人力物力,而且飞轮壳的装夹方便、稳定性好,保证了车铣加工的精度,提高了生产效率。

标签:
新能源
浙江 - 杭州 来源:中冶有色网 2023-03-18
新能源汽车充电机的散热保护装置

本发明公开了一种新能源汽车充电机的散热保护装置,包括:充电机本体,所述充电机本体的前侧端固定设有安装前盖;风力散热组件,固定设置在安装前盖的中部且用于将外界空气吸入充电机本体内部并对充电机本体内部电子部件进行散热;防尘组件。本发明通过外界空气会首先贯穿第二滤网,并使得第二滤网可以对被吸入充电机本体内部的空气起到初步的过滤效果,同时会外界空气带动风力螺旋导向组件转动使得经过风力螺旋导向组件的气流会变为螺旋形,这就使得沿着第一滤网表面吹动并贯穿第一滤网的气流为螺旋向后的,此时第一滤网可以形成第二道防尘过滤效果,同时气流会带动灰尘在集尘管聚集,从而使得可以避免灰尘进入充电机本体内部的目的。

标签:
新能源
浙江 - 杭州 来源:中冶有色网 2023-03-18
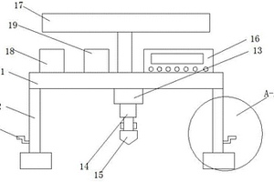
新能源汽车用低噪音的制动踏板

本发明公开了一种新能源汽车用低噪音的制动踏板,包括踏板、框架和真空助力器,踏板外端与框架连接,且框架与真空助力器外壳固定,真空助力器内插有助力器推杆,并通过助力器推杆与踏板连接,且助力器外侧套有回位弹簧,还包括低噪音胶套,助力器推杆靠近踏板一端固定有与低噪音胶套相固定的安装板,本发明通过在现有的回位弹簧上增设低噪音胶套,优化现有的防护胶套,增设转动件和连接台,使得在伸缩套受到挤压后复位的动作过程中,通过转动件和连接台的相互配合,从而使得伸缩套进行一个小幅度的旋转,使得今后每次刹车时,伸缩套都能旋转,有效的避免胶套使用过多后,受重力等因素导致胶套与弹簧接触的现象发生,减少噪音产生。

标签:
新能源
浙江 - 杭州 来源:中冶有色网 2023-03-18
用于新能源车辆的制动系统及其控制方法

本发明提供了一种用于新能源车辆的制动系统及其控制方法,属于车辆控制领域。该制动系统包括:储气罐;气压传感器,与储气罐相连,用于监测储气罐内的压力;分别由发动机、高压电池系统、蓄电池作为动力源的发动机供能系统、高压供能系统和低压供能系统;机械式空气压缩机,受控地由发动机驱动;电动空气压缩机,受控地由高压供能系统或低压供能系统驱动;整车控制器,与气压传感器、切换阀、发动机供能系统、高压供能系统和低压供能系统均信号连接,用于根据发动机供能系统、高压供能系统和低压供能系统的状态和故障信息以及储气罐内的压力信息控制相应的供能系统为储气罐充气。本发明的制动系统及其控制方式能够提高车辆的安全性。

标签:
新能源
浙江 - 杭州 来源:中冶有色网 2023-03-18
新能源窗帘
新能源窗帘 834     
 0

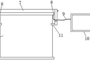
本发明公开了新能源窗帘,包括横杆和窗帘主体,所述横杆的两端均设置有安装架,所述安装架的下表面设置有供所述窗帘主体限位的限位机构,所述限位机构包括安装条和安装块,所述安装块的侧面设置有限位块,所述限位块的内部开设有限位槽,所述窗帘主体可穿过所述限位槽的内部,所述安装块的内部分别开设有两组活动槽和供所述安装条的端部嵌入的嵌入槽;本发明通过设计的限位机构,便于对窗帘主体进行限位,方便卷绕筒进行收卷,避免了窗帘主体在卷绕筒的收卷过程中,窗帘主体容易卷偏,窗帘主体卷起时发生跑偏的问题,设计简单,提高了收卷效果。

标签:
新能源
浙江 - 杭州 来源:中冶有色网 2023-03-18
新能源汽车电机用机壳结构

本发明公开了一种新能源汽车电机用机壳结构,包括机壳主体,机壳主体设有呈圆形阵列交错布设的若干第一流道和若干第二流道,还包括:第一连接头、连接在第一连接头上的第一分流套和第一汇流套;第二连接头,连接在第二连接头上的第二分流套和第二汇流套,本方案巧妙性采用对流输入冷却介质的形式,令第一流道和第二流道之间的冷却介质能够进行对流换热,使机壳主体的整体温度相对较为均匀,保证了电机工作的稳定性;还巧妙性通过加入扰流件,使得输入的冷却介质能够形成一个漩流,令其够破坏第一流道和第二流道接近内壁的平流层,使得第一流道和第二流道内的冷却介质能够换热更充分,避免平流层形成换热阻碍层,大大提高了机壳结构的散热性能。

标签:
新能源
浙江 - 杭州 来源:中冶有色网 2023-03-18
新能源物流车、车厢、底架及其底架型材

本发明公开了一种新能源物流车的底架型材,为截面结构呈C形的铝质型材,该底架型材的截面结构包括立板部以及设置在立板部上下两侧的两个平板部,上下两个平板部之间形成凹槽;所述的两个平板部在该凹槽的内侧壁处形成有凸起或凹陷,该凸起或凹陷沿型材长度方向延伸并与型材一体成型,本发明的底架型材的结构简单,组装方便,且加固件可以增加底架的整体结构强度和承载重量,同时尽量避免增加制造成本和车厢重量。

标签:
新能源
浙江 - 杭州 来源:中冶有色网 2023-03-18
用于新能源汽车电池的液冷装置

本实用新型公开了一种用于新能源汽车电池的液冷装置,包括电池箱,所述电池箱的内部上端固定安装有第一隔板,所述第一隔板和电池箱的内顶部之间形成第一冷却腔,所述电池箱的内部下端固定安装有第二隔板,所述第二隔板和电池箱的内底部之间形成第二冷却腔,所述第一冷却腔和第二冷却腔之间连通,所述电池箱的侧部固定安装有水箱,所述循环机构包括连通于第一冷却腔内部的水管和连通于第二冷却腔内部的连接管,本实用新型在电池箱的内顶部和内底部均设置有流通的冷却液,采用水冷的方式对电池进行散热,可不断的将电池运行过程中产生的热量带走,使电池稳定的运行,减少电池出现鼓包的情况,进而提高了电池的使用寿命。

标签:
新能源
浙江 - 杭州 来源:中冶有色网 2023-03-18
用于新能源汽车的线束紧固装置

本实用新型揭示一种用于新能源汽车的线束紧固装置,包括支撑架,支撑架上安装有用于压紧线束的压紧架,压紧架中设置有下端开口且可供线束部分嵌入的凹槽,压紧架的两端均设置有凸耳,每个凸耳中均竖向设置有通孔,支撑架的上端面上设置有分别插入在其中一个通孔中的插销,每个插销的外周壁上均设置有若干道由上至下分布的环形卡槽,每个凸耳上方的插销的外部均套装有用于压紧凸耳的压圈,压圈的内周壁上设置有若干个呈周向均匀分布的且用于与其中一道环形卡槽配合卡接的弹片;本实用新型与传统采用螺栓来固定线束的方式相比,能够给线束的固定带来方便。

标签:
新能源
浙江 - 杭州 来源:中冶有色网 2023-03-18
用于新能源汽车的限位星形套

本实用新型公开了一种用于新能源汽车的限位星形套,包括本体,所述本体中心处设有连接轴孔,所述本体侧边设有若干个沟槽一,所述沟槽一内设有弧形板,所述弧形板与所述沟槽一之间胶合固定,所述弧形板内侧设有若干个凹槽一,所述凹槽一内设有钢珠,所述弧形板的内侧形成沟槽二,所述沟槽二内设有钢球,所述本体顶部以及底部均设有一个挤压板,所述挤压板与所述本体之间设有若干个弹簧,所述挤压板与所述本体之间且位于相邻两个所述弹簧之间设有限位杆,所述挤压板远离所述本体一侧设有通孔。有益效果:弧形板内的若干个钢珠包裹了钢球的三分之二,从而在帮助钢球滚动的同时也限制住钢球的移动。

标签:
新能源
浙江 - 杭州 来源:中冶有色网 2023-03-18
新能源汽车方型法兰芯轴

本实用新型公开了一种新能源汽车方型法兰芯轴,包括作为主体的盘体,所述的盘体呈方形,所述的盘体上端面中心设有与盘体垂直的芯轴,所述的芯轴与盘体一体成形,所述的芯轴上端开有用于安装法兰内圈的内圈安装槽,位于内圈安装槽下方的芯轴上开有油道端面,所述的油道端面与盘体上端面间开有用于安装密封圈的密封槽,所述的盘体4个角落处分别设有螺栓孔,所述的盘体下端面开有若干均布的缓冲槽,所述的缓冲槽内设有用于保护盘体的缓冲装置。本实用新型克服了现有技术中存在的传统的法兰芯轴使用寿命较短的问题。本实用新型具有结构简单、使用寿命长和稳定性高等优点。

标签:
新能源
浙江 - 杭州 来源:中冶有色网 2023-03-18
新能源车电池安全检测装置

本实用新型涉及电池检测装置技术领域,尤其为一种新能源车电池安全检测装置,包括检测装置主体、检测箱以及控制箱,所述检测装置主体一侧安装有推杆,所述检测装置主体底部四个拐角处安装有万向轮,所述检测装置主体顶部安装有蜂鸣报警器,所述检测装置主体下端设有控制箱,所述控制箱基面设有控制箱门,所述控制箱内部设有二氧化碳储气罐,所述二氧化碳储气罐一侧设有增压泵,所述二氧化碳储气罐与增压泵的进气口通过第二输气管相连接,所述增压泵的出气口连接有第一输气管,所述二氧化碳储气罐另一侧设有控制器,整体装置便于对电池进行挤压和针刺实验,方便检测电池的安全可靠性,且提高检测时的安全性,具有一定的推广价值。

标签:
新能源
浙江 - 杭州 来源:中冶有色网 2023-03-18
储配联合新能源控制装置

本实用新型公开了一种储配联合新能源控制装置,包括:配电网系统、微电网系统、供电管理系统、储能系统和用电系统,所述配电网系统、微电网系统、储能系统和用电系统均与供电管理系统连接。本实用新型实现将微电网系统、配电网系统的供电信息进行采集,并对用电系统的能耗信息进行采集,依据用电系统的能耗需要智能化分析供电需求,对微电网系统和配电网系统进行切换供电,并通过储能系统进行辅助供电,实现将微电网系统、配电网系统、储能系统合理配比对用电系统进行供电,降低配电网系统和微电网系统供电波动对用电系统的影响,提高对供电系统供电控制管理的调度水平,实现多能源形式与电力配电系统一体化控制。

标签:
新能源
浙江 - 杭州 来源:中冶有色网 2023-03-18
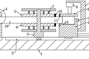
新能源叉车自动调节水管运输装置

本实用新型属于水管运输技术领域,尤其为一种新能源叉车自动调节水管运输装置,包括升降架,所述升降架内壁的上表面和下表面分别与螺杆的顶端和底端转动连接,所述螺杆的外表面螺纹连接有螺纹套,所述螺纹套的正面通过连接块a与货叉的背面固定连接,所述螺杆的顶端穿过升降架内壁的上表面与电机的输出轴固定连接,所述电机设置在升降架的上表面,通过设置货叉、气缸推杆、固定板和电机,货叉将水管叉起,气缸推杆带动连接板和固定板向下移动,固定板向下移动至货叉之间的空隙内对水管进行固定,电机和气缸推杆同步启动带动货叉和固定板向上移动对水管进行运输,解决了水管在运输过程中晃动甚至掉落的问题。

标签:
新能源
浙江 - 杭州 来源:中冶有色网 2023-03-18
便于固定的新能源幕墙
便于固定的新能源幕墙 1154     
 0

本实用新型公开了一种便于固定的新能源幕墙,包括光伏幕墙、两组第一支架、墙体和两组第二支架,所述第二支架上分别设置有两组第一卡板和两组第二卡板,所述第一卡板和所述第二卡板之间设置有两组定位机构,所述定位机构包括限位块和插条,所述限位块的内部分别开设有供所述插条的端部嵌入的活动槽和凹槽,所述凹槽的内部设置有卡条,所述限位块的上表面设置有连接条;本实用新型通过设计的定位机构,便于在安装时对第一卡板和第二卡板进行限位,避免了在安装过程中需要用一只手一直扶住第一卡板和第二卡板,然后另一只手将螺丝进行旋紧固定的问题,操作简单,方便固定,有助于提高了光伏幕墙的安装效率。

标签:
新能源
浙江 - 杭州 来源:中冶有色网 2023-03-18
新能源电动汽车水冷电机壳铸造模具

本实用新型涉及一种新能源电动汽车水冷电机壳铸造模具,上模芯安装在上模板下面,所述下模芯安装在下模座上面;活动模块具有圆弧形内壁面,活动模块具有相互密切配合的两侧面,四个活动模块依次拼接在一起,其圆弧形内壁面形成一个密封的圆柱形腔体;螺旋水冷通道成型用砂芯通过砂芯固定座安装在下模座上面,并位于上模芯外周面与四个活动模块的圆弧形内壁面之间形成的空腔中;上模芯、下模芯、四个活动模块和螺旋水冷通道成型用砂芯形成电机壳的成型腔;每个活动模块均配备一套一号风冷组件,上模板上面安装有二号风冷组件,上模板的底面处开设有六个内凹冒口。本铸造模具生产出的水冷电机壳成型质量好。

标签:
新能源
浙江 - 杭州 来源:中冶有色网 2023-03-18
新型新能源汽车电机控制器结构

本实用新型公开了一种电机控制器结构,旨在提供一种集成度高、体积小的新型新能源汽车电机控制器结构。它包括控制器箱体和设置于控制器箱体内部的薄膜电容、功率模块、输入模块、输入端磁环、输出模块和控制板,所述输入模块、薄膜电容和功率模块均固定于控制器箱体的底板上,输出模块和控制板均固定在功率模块上方,输出模块分别与控制板和功率模块电气连接,输入模块与薄膜电容电气连接,控制板和功率模块之间设有与控制板相贴的屏蔽板,薄膜电容和输入端磁环分别布置在功率模块的两侧且薄膜电容与控制器箱体的内侧壁相贴,所述输入端磁环外设有支撑固定座。各个模块排列紧凑且存在可散热的空隙,整个结构体积小、集成化程度高,适合推广。

标签:
新能源
浙江 - 杭州 来源:中冶有色网 2023-03-18
基于新能源的土壤环境监测设备

本实用新型公开了一种基于新能源的土壤环境监测设备,包括矩型的安装座、安装在安装座顶部一侧的控制器以及通过安装架安装在安装座顶部的太阳能电池板,所述安装座的底部中央位置固定有驱动电机,且驱动电机的输出轴上焊接有伸缩杆,所述伸缩杆的底端焊接有插入头,且伸缩杆的外侧安装有湿度传感器和土壤元素检测器,所述安装座的底部四角均焊接有支撑柱,且支撑柱的外侧底部焊接有碗型底座,所述支撑柱上开设有圆型腔室,且圆型腔室的内壁上焊接有圆型滑轨,所述圆型腔室的内部放置有与圆型滑轨滑动连接的第一伞型齿轮。本实用新型经济实用,圆轴在Z型摇把的带动下可以插入地面,极大的提高了土壤环境监测设备在地面上放置的稳定性。

标签:
新能源
浙江 - 杭州 来源:中冶有色网 2023-03-18
电机及具有该电机的新能源汽车

本实用新型提供了一种电机及具有该电机的新能源汽车。电机包括壳体和设置于所述壳体内的定子,以及轴向固定装置;其中,所述定子上具有定子记号槽;所述壳体是利用挤压铸造成型工艺制成,且所述壳体上具有工艺孔;所述轴向固定装置安装于所述工艺孔和所述定子记号槽。解决了电机领域里特别是挤压铸造电机壳体定子轴向固定的技术难点,巧妙地利用了定子记号槽,有效的避免了电机定子的轴向窜动。且在经济效益方面:挤压铸造的电机壳体具有成型简单,工艺不复杂,模具价格低廉,等优势,有利于大批量应用。

标签:
新能源
浙江 - 杭州 来源:中冶有色网 2023-03-18
上一页 26 27 28 29 30 ... 71 下一页
共71页    到第

中冶有色为您提供最新的浙江杭州有色金属新能源材料技术理论与应用信息,涵盖发明专利、权利要求、说明书、技术领域、背景技术、实用新型内容及具体实施方式等有色技术内容。打造最具专业性的有色金属技术理论与应用平台!

全国热门有色金属设备推荐
展开更多 +
全国热门有色金属技术推荐
展开更多 +

 

江西省隆恩特环保设备有限公司
宣传

报名参会
更多+

报告下载

有色专家
更多+

江西理工大学
副校长
中南大学
常务副校长
北京科技大学
教授
湖南有色金属研究院
教授级高工/原总工程师
西安建筑科技大学
院长/教授
赤泥综合利用研究报告2025
推广

热门技术
更多+

推荐企业
更多+

福建省金龙稀土股份有限公司
宣传

发布

在线客服

公众号

电话

顶部
咨询电话:
010-88793500-807