青岛垚鑫智能科技有限公司
宣传

位置:中冶有色 >

有色技术频道 >

> 新能源材料技术

分类:
全部
矿山技术
冶金技术
材料制备及加工技术
环境保护技术
分析检测技术
 
全部
功能材料技术
复合材料技术
新能源材料技术
合金材料技术
加工技术
地区:
全部
北京
天津
上海
重庆
河北
山西
辽宁
吉林
黑龙江
江苏
浙江
安徽
福建
江西
山东
河南
湖北
湖南
广东
海南
四川
贵州
云南
陕西
甘肃
青海
内蒙
广西
西藏
宁夏
新疆
其他
其他
展开
 
全部
杭州
宁波
温州
绍兴
湖州
嘉兴
金华
衢州
台州
丽水
舟山

浙江杭州有色金属新能源材料技术理论与应用

免费发布技术信息>>
新能源汽车空调冬天聚热能水冷板

本实用新型公开了一种新能源汽车空调冬天聚热能水冷板,包括水冷板基板和铜管,所述铜管的外表面上设有环形管,环形管两个管口所在平面为其上端面,环形管的上端面位于同一水平面且位于基板上部,环形管的管口均设有密封板,所述密封板与环形管一体成型,环形管的弧形底部位于基板下部,两个相邻环形管的其中一侧设有连通管,最靠近铜管出水口的环形管上设有环管进水口,最靠近铜管进水口的环形管上设有环管出水口,环形管内的冷却水流向和铜管内的冷却水流向整体上互为反向。本实用新型设有铜管和环形管两个水流通道,且两个通道中的冷却液的流向互为相反,使得水冷板散热均衡,具有良好的散热效果。

标签:
新能源
浙江 - 杭州 来源:中冶有色网 2023-03-18
新能源物流车、车厢及其侧门总成

本实用新型公开了一种新能源物流车、车厢及其侧门总成,侧门总成包括连接件、下边梁、第一组件板、第二组件板和侧门框组件,第一组件板和第二组件板分别固定在侧门框组件的两侧,侧门框组件上安装有侧门组件;侧门框组件包括左右两个侧门立杆以及连接在两个侧门立杆上端的侧门框横梁,侧门框横梁上部插入连接件的第一连接槽内并通过紧固件固定;侧门立杆的上端通过侧门角码与侧门框横梁固定连接,侧门立杆的下端插入下边梁的第二卡槽内并通过紧固件固定。本实用新型的车厢具有侧门的一侧与底架连接的下边梁采用一体式结构,将侧门框组件与车厢侧板的上连接件和下边梁组合一起,以提高车厢及侧门的整体结构强度。

标签:
新能源
浙江 - 杭州 来源:中冶有色网 2023-03-18
新能源汽车车载充电机
新能源汽车车载充电机 1143     
 0

本公开提供一种新能源汽车车载充电机,包括充电机本体,充电机本体包括壳体和壳盖,在所壳盖上均布有散热片,壳体包括内壳体和外壳体,在内壳体与外壳体之间设置有散热通道,在外壳体的外侧设置有具有鼓风能力的风机,风机通过管道向散热通道鼓风,并且,在内壳体上均布有通孔,风机吹出的气流通过散热通道、通孔进入内壳体内,在外壳体上还设置有排风口,排风口与散热通道相通,在排风口上设置有排风管,排风管呈蛇形设置,并且,在排风口上设置有过滤网。该方案中鼓风机通过管道向内壳体内鼓风,在排风口上设置有排风管,排风管呈蛇形。该方案可以有效地避免雨水进入内壳体内造成充电机内的电气元件损坏,延长了充电机的使用寿命。

标签:
新能源
浙江 - 杭州 来源:中冶有色网 2023-03-18
多功能便携式新能源电站运维工具箱

本实用新型公开了一种多功能便携式新能源电站运维工具箱,第一放置箱的顶部固定连接有第二放置箱,第一放置箱内壁上固定有若干个挂钩,第二放置箱内设有多层抽屉,抽屉内设有若干个储物格,第一放置箱与第二放置箱组合形成立式箱体,立板与立式箱体以及平板车体之间均通过滑动杆连接,立式箱体上设有转动板,转动板上设有弧形凸块,立板的相对位置上设有固定板,固定板上设有弧形凹槽,弧形凸块与弧形凹槽配合卡定,该种工具箱在立板、横板、平板车体上的平板以及立式箱体的背壁之间设有储物空间,用于放置围杆、操作杆等杆类工具,放置杆类工具后,通过转动板上的弧形凸块卡接在立板上的弧形凹槽内进行固定即可,使其不易脱散。

标签:
新能源
浙江 - 杭州 来源:中冶有色网 2023-03-18
新能源车用电磁式减小拖滞力矩的装置

一种新能源车用电磁式减小拖滞力矩的装置,包括EPB电子驻车系统、摩擦片、制动盘、钳体支架、主缸。制动盘和钳体支架固连,制动盘的两侧各设有一个摩擦片。还包括测距组,测距组设有测距仪、基座、磁体、线圈。摩擦片靠近制动盘的部分的左端和右端之间的距离小于摩擦片远离制动盘的部分的左端和右两端之间的距离而形成一个台阶或两个对称的台阶。主缸这一侧的摩擦片的台阶部位设有一个测距组;基座和钳体支架固连。测距仪、磁体、线圈均和基座相连。其中测距仪靠近相应的制动盘,磁体位于测距仪和线圈之间。优点是:整体结构简单、工作可靠,可以保证拖滞力矩始终在设计状态。

标签:
新能源
浙江 - 杭州 来源:中冶有色网 2023-03-18
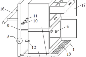
基于物联网的无线远程新能源电池箱专用灭火装置

本实用新型公开了一种基于物联网的无线远程新能源电池箱专用灭火装置。它在电池箱(1)箱内设有探测单元(2),探测单元(2)包括温度传感器(3)、烟雾传感器(4)和可燃气体传感器(5),所述的温度传感器(3)、烟雾传感器(4)和可燃气体传感器(5)连接有控制器(6),控制器(6)连接有电引发器(7),电引发器(7)与设置在电池箱(1)箱内的热气溶胶灭火装置(8)相连;所述的控制器(6)连接有司机显示控制终端(9),控制器上设有第一远程传输模块(15),司机显示控制终端(9)上设有第二远程传输模块(16),第一远程传输模块(15)和第二远程传输模块(16)经无线远程连接。

标签:
新能源
浙江 - 杭州 来源:中冶有色网 2023-03-18
具有多种探测方式的新能源车电池箱专用灭火装置

本实用新型公开了一种具有多种探测方式的新能源车电池箱专用灭火装置。它在电池箱(1)箱内设有探测单元(2),探测单元(2)包括温度传感器(3)、烟雾传感器(4)和可燃气体传感器(5),所述的温度传感器(3)、烟雾传感器(4)和可燃气体传感器(5)连接有控制器(6),控制器(6)连接有电引发器(7),电引发器(7)与设置在电池箱(1)箱内的热气溶胶灭火装置(8)相连;所述的控制器(6)还连接有司机显示控制终端(9)。本实用新型具有多种触发灭火装置启动的探测方式,从而提高了灭火装置的响应精度和响应速度,保证了灭火效果。

标签:
新能源
浙江 - 杭州 来源:中冶有色网 2023-03-18
新能源汽车倒车影像显示系统

本实用新型提供一种新能源倒车影像显示系统,包括第一倒车摄像头,所述第一倒车摄像头通过汽车中控系统与LCD显示器连接,其还包括第二倒车摄像头、显示通道切换电路单元,所述第二倒车摄像头、汽车中控系统通过所述显示通道切换电路单元与所述LCD显示器连接。该倒车影像显示系统设置有两个倒车摄像头,在车辆启动时,车辆启动过程中当中控系统在初始化时,可先通过显示通道切换电路单元将第二倒车摄像头与LCD显示器连接,这样就能实现倒车时倒车影像快速显示,而当中控系统初始化完成后,在通过通道切换电路单元与第一倒车摄像头与LCD显示器连接,保证车辆中控系统正常工作。

标签:
新能源
浙江 - 杭州 来源:中冶有色网 2023-03-18
新能源汽车用束线装置
新能源汽车用束线装置 1197     
 0

本实用新型揭示一种新能源汽车用束线装置,包括若干个束线架和压板,每个束线架底部的两侧均一体成型有插块,每个插块的外侧壁上均设置有沿插块竖向分布的卡齿,每个束线架的上端面上均设置有分别可供其中一个插块插入的插槽,插槽的侧壁上设置有在插块插入到插槽中后用于与卡齿配合卡接的齿槽,齿槽沿插槽竖向分布,若干个束线架呈层叠设置;压板底部的两侧均一体成型有凸块,每个凸块的外侧壁上均设置有沿凸块竖向分布的锯齿,凸块用于插入到位于最上方的束线架的插槽中,凸块插入到插槽中后,锯齿与齿槽配合卡接;通过采用上述结构后,用户可根据需要来选择合适数量的束线架,即束线装置能够得到扩展,从而能够给汽车线束的固定带来方便。

标签:
新能源
浙江 - 杭州 来源:中冶有色网 2023-03-18
电池换热器、电池组件和新能源汽车

本申请涉及一种电池换热器、电池组件和新能源汽车。电池换热器包括间隔设置的进料集管和出料集管,在所述进料集管和所述出料集管之间设置有多根管路,所述管路的一端连接所述进料集管,管路的另一端连接所述出料集管,所述管路设置在电池之间的空隙内。本申请具有换热面积大、换热效率高的优势,同时换热器位于电池之间的空隙,不占用额外的空间,从而可以在电池箱内放入更多的电池。

标签:
新能源
浙江 - 杭州 来源:中冶有色网 2023-03-18
新能源汽车电池包散热系统

本实用新型公开了一种新能源汽车电池包散热系统,包括外包盒和铰接与外包盒上的转门,还包括设置于外包盒内便于拆卸电池的固定装置和设置于外包盒内可调节散热口的散热装置,散热装置包括调节门和风机,调节门转动设置于外包盒内,外包盒外壁上开设有进风口,风机固定于进风口内,外包盒外壁上开设有两个出风口,外包盒外壁上滑动设置有滑门,出风口一侧的外包盒外壁上均设置有用于推动滑门移动的推动组件,滑门的一端固定有弹簧一,弹簧一远离滑门的一端与外包盒外壁固定,外包盒外壁上设置有用于转动转门的驱动装置,具有对电池进行有效散热和便于将电池从电池包内拆下的优点。

标签:
新能源
浙江 - 杭州 来源:中冶有色网 2023-03-18
新能源车用汽车座椅手动滑轨

本实用新型涉及一种新能源车用汽车座椅手动滑轨,它是汽车座椅中的一个部件。本实用新型包括把手、上滑轨和下滑轨,上、下滑轨滑动配合,在上、下滑轨之间设置有锁止机构,其特征在于:所述的锁止机构包括锁止板、带卡脚的塑料块、中心弹簧和带法兰的锁止轴,所述的锁止板与塑料块配合,中心弹簧套入锁止轴并穿过塑料块,锁止轴的下端与锁止板铆接,锁止机构通过螺栓固定在上滑轨上。本实用新型结构设计更合理,锁止机构可以先组合成一整体,安装到上滑轨上只要通过螺栓连接即可,制作工艺和安装更简单,且成本更低;法兰下部的锁止轴其上导向部和下导向部均可导向,运行顺畅,导向性好。

标签:
新能源
浙江 - 杭州 来源:中冶有色网 2023-03-18
新能源汽车三代锻造带加强筋外圈锻件

本实用新型涉及一种汽车轮毂单元,尤其是涉及一种新能源汽车三代锻造带加强筋外圈锻件。其主要是解决现有技术所存在的汽车轮毂单元在装配时强度较低,使用寿命较短,防尘及耐磨效果较差,传动效率较低等的技术问题。本实用新型包括外圈本体(1),所述的外圈本体(1)的边缘设有多个凸台(2),凸台上开有定位孔(3),外圈本体以及凸台的边缘设有加强筋(4)。

标签:
新能源
浙江 - 杭州 来源:中冶有色网 2023-03-18
新能源物流车、车厢及其裙边总成

本实用新型公开了一种新能源物流车、车厢及其裙边总成,裙边总成包括设于底架四周的裙边板,其特征是:裙边板包括前裙边板和后裙边板,前裙边板通过裙边合页铰接在车厢下部,后裙边板与车厢下部固定连接,本实用新型的裙边板分为固定的后裙边板以及活动的前裙边板,对物流车进行检修时,仅旋转前裙边板即可,操作简便。

标签:
新能源
浙江 - 杭州 来源:中冶有色网 2023-03-18
新能源汽车电机测试系统

一种新能源汽车电机测试系统,包括:温度采集装置、温度控制输出装置;所述温度采集装置包括热电偶信号滤波电路、信号放大补偿电路、隔离电路、时序控制电路和第一通讯电路,获取电机的实际温度值;同时,根据热电偶获取的同一时刻各热电偶读数、不同时刻各热电偶读数和热电偶在电机中的位置,模拟出计算出整个电机的温度分布;将检测到的实际温度值与模拟出计算出的整个电机的温度分布进行比较后计算加热输出控制量,并转换为命令信号,通过隔离电路控制车轮电机控制电路端执行电机运行或关闭的指令,使对电机的温度判断更全面、更准确。

标签:
新能源
浙江 - 杭州 来源:中冶有色网 2023-03-18
新能源汽车传动保养装置的清洗机构

本发明公开了一种新能源汽车传动保养装置的清洗机构,包括水箱、进水管、导向槽、出水管、连接管、辅助清洁装置、放置机构和托举机构,本发明在水箱前端面下端设有托举机构,托举机构的位置可进行前后调节,在其内部设有底座,底座上端设有弹簧片,弹簧片配合内侧的橡胶层,即可对连接管与出水管连接位置进行稳定的夹持;通过在连接管另一端设有辅助清洁装置,辅助清洁装置内部设有连接框,连接框内可通过磁片将整个装置附着在清洁位置,然后装置内部设有喷洗机构,喷洗机构内部设有的喷头可多角度转动,便于对传动装置进行快速清洁,且污水不会溅出,由排水口,方便操作,有效提高清洁的效率以及效果。

标签:
新能源
浙江 - 杭州 来源:中冶有色网 2023-03-18
真空泵的安全控制方法、系统及新能源汽车

本发明公开了真空泵的安全控制方法、系统及新能源汽车,包括包括以下步骤:S1.通过缸内安装真空度传感器来对缸内负压进行检测,从而得出数值a;S2.通过缸外设计的气压检测机构对缸外气压进行多次检测,并得出数值b1、b2和b3;S3.将S1与S2中测量得到的数值a依次与b1、b2和b3相比,得到真空度c1、c2和c3,并取其平均值c,若真空度c在设定值内,则不需要对真空泵进行调节,若真空度数值偏大,则需要将真空泵内的负压调低,反之则调高,本发明通过在真空泵附近安装气压检测机构,通过设计的检测组件与扰流组件的相互作用,能够对多处气体气压进行检测,并通过计算出真空度从而能够精准的对真空泵进行调节,使得真空助力效果更佳。

标签:
新能源
浙江 - 杭州 来源:中冶有色网 2023-03-18
新能源锂电池
新能源锂电池 1045     
 0

本发明属于电池技术领域,具体的说是一种新能源锂电池,包括电池本体;所述电池本体外部设有防护腔,所述防护腔内部设有横向隔板与纵向隔板,所述防护腔侧壁底端连接有支撑板,所述支撑板与防护腔底面之间滑动连接有滑板,所述滑板一端连接有记忆金属片,所述防护腔侧壁上安装有按钮开关,所述滑板顶面与防护腔底面上分别开设有通孔;所述防护腔底端连接有散热腔,所述散热腔内部安装有电机与散热扇;本发明通过设置的防护腔与散热腔,使得电池本体在未工作状态时处于封闭状态,减少外界灰尘与水分对电池本体产生的影响,同时使得散热设备能够根据锂电池发热状态进行工作,大大提高了锂电池在散热时的智能化与自动化效果。

标签:
新能源
浙江 - 杭州 来源:中冶有色网 2023-03-18
基于区块链技术的新能源汽车公用充电桩

本发明公开了一种基于区块链技术的新能源汽车公用充电桩,包括箱体,所述箱体的顶部设置有顶盖,所述箱体的内部设置有售电系统,售电系统的底部设置有控制单元,通过设置的通讯单元,能够将充电桩的内部信息发送至区块链模块,通过设置的控制单元,能够控制第二电机箱和第一电机箱内部的第一电机旋转,第二电机箱内部的电机旋转时带动第一转杆旋转,从而使啮齿轮转动,啮齿轮与啮齿槽啮合推动放置板使放置板伸出箱体的外部,通过设置的电动推杆,能够通过控制单元打开电动推杆使升降玻璃门实现升降,从而打开取物口,第一电机箱内部的电机旋转使充电线实现收放,夹持环能够固定充电线防止充电线绕线打结。

标签:
新能源
浙江 - 杭州 来源:中冶有色网 2023-03-18
新能源汽车电动真空泵控制方法

本发明为一种新能源汽车电动真空泵控制方法,首先分别检测汽车外部气压值和真空罐内气压值,再根据汽车外部气压值进入高原控制策略或非高原控制策略,然后根据钥匙档位进行on档控制策略和off档控制策略,最后计算真空漏气量,判断是否发生真空管路故障。本发明的优点是:检测汽车外部气压,根据不同的气压环境采用不同的控制策略,通过根据真空泵内气压对真空泵进行控制,避免出现真空泵一直工作,造成能源浪费和泵体损坏;具有故障判定及故障应急功能。

标签:
新能源
浙江 - 杭州 来源:中冶有色网 2023-03-18
快开开关、新能源电网

快开开关,包括离心器;还包括交流检测模块。新能源电网,具有前述的技术方案。本发明成本低廉、应用灵活、使用寿命长、使用方便、安全可靠、响应快速。

标签:
新能源
浙江 - 杭州 来源:中冶有色网 2023-03-18
基于热管和相变材料的新能源汽车动力电池系统

本发明公开了一种基于热管和相变材料的新能源汽车动力电池系统,包括电池箱、相变材料、金属架以及热管,所述电池箱内设有电池,所述相变材料填充在电池箱内,所述金属架穿插分布在相变材料当中,所述金属架的一端与电池接触,所述金属架的另一端与热管接触;所述热管的一端穿插在相变材料当中,所述热管的另一端与外界环境接触;所述的电池、相变材料、金属架及热管放在电池箱中。本发明具有传热快、均温性好、节能的优点,能够保证低温下电池箱始终处在适宜温度范围内,满足低温下电池的保温需求,使得热管具有较高的导热率和良好的均温性。

标签:
新能源
浙江 - 杭州 来源:中冶有色网 2023-03-18
防漏电新能源充电电源

本发明公开了防漏电新能源充电电源,包括充电桩,所述充电桩的前表面顶部装设有操作面板,所述充电桩的底部装设有充电底座,所述充电桩的一侧顶部开设有卡座,所述充电桩的一侧底部连接装设有充电头,所述充电桩与充电头的连接处装设有线缆,所述充电桩的内侧装设有电机,所述电机的一端装设有扇叶;在该装置的内侧装设有暖风结构,当天气寒冷,落在充电头上的雨雪结冰时,将充电头与卡座冻结,电机可吹出暖风将结冰融化,方便取下充电头进行充电,在该装置的线缆上装设有弹簧套,当装置在充电时会拖拉线缆,将线缆一端的充电头插设在车辆上,通过弹簧套的作用,可防止线缆拉扯磨损,防止线缆损坏漏电,提高了该装置的实用性。

标签:
新能源
浙江 - 杭州 来源:中冶有色网 2023-03-18
应用于分布式新能源系统的基于RAFT算法的区块链共识方法

本发明涉及区块链领域,尤其涉及应用于分布式新能源系统的基于RAFT算法的区块链共识方法,所述区块链中包含预先设置的共识节点,所述方法包括:将共识节点按照可靠性分为候选组和跟随组;基于RAFT算法从候选组中通过初始选举流程选举领导者状态的共识节点,所述领导者状态的共识节点用于记录交易事件并生成新区块;当确定所述领导者状态的共识节点任期结束时,从候选组中选举领导者状态的共识节点,进入重新选举流程。本发明具备以下有益效果:充分利用了可靠性高的共识节点相较于其他共识节点具有高可靠性,解决了原有RAFT算法在领导者状态共识节点故障宕机情况下需重新进行选举,存在真空期的问题。

标签:
新能源
浙江 - 杭州 来源:中冶有色网 2023-03-18
连续式新能源电芯烘干机

本发明提供一种连续式新能源电芯烘干机,包括烘箱支架、连接在烘箱支架上的进料缓冲室、连接在进料缓冲室上的烘箱本体、设在烘箱本体内的传动机构,设在传动机构上的若干电芯小车,设在电芯小车上的电芯支架、连接在烘箱本体上的出料缓冲室,设计合理,结构牢固,工作可靠,工作效率高,操作方便,降低安全隐患,使用安全。

标签:
新能源
浙江 - 杭州 来源:中冶有色网 2023-03-18
新能源汽车紧急移车设备

本发明公开了一种新能源汽车紧急移车设备,其结构包括支撑杆,所述支撑杆左端面固设有前后对称的安装块,所述支撑杆右端面固设有前后对称的固定块,所述固定块和支撑杆下端面设置有环形阵列设置的移动装置,所述固定块内设置有左右对称且用于将车轮进行推挤以将车轮由设备抬起的推挤装置,推挤装置左侧设置有用于驱动推挤装置进行工作的动力装置,此设备采用了移动装置、推挤装置、动力装置和拉手装置,利用上述装置实现了汽车在危险时能够在设备帮助下快速离开危险区域,且便于人员进行推动与操控。

标签:
新能源
浙江 - 杭州 来源:中冶有色网 2023-03-18
用于新能源电动车轮胎性能测试装置

本发明公开了一种用于新能源电动车轮胎性能测试装置,涉及测试设备技术领域,包括安装盘,所述安装盘的内部开设有安装槽一,所述安装盘位于安装槽一处转动连接有传动轴,所述传动轴的外壁固定套接有齿轮二,所述安装盘的内部开设有安装槽二,所述安装盘位于安装槽二处转动连接有转轴,所述转轴的外壁固定套接有齿轮一,本发明中,安装筒通过连接杆带动夹板往外侧移动,夹板带动防滑板移动,通过防滑板与车胎的内壁接触,且对车胎内壁进行挤压,完成对车胎的固定,不需要需要使用与车胎型号配套的轮辋、轮辐,就可以完成对车胎的固定,从而实现对车胎的检测,大大提高了检测效率,和降低了检测成本。

标签:
新能源
浙江 - 杭州 来源:中冶有色网 2023-03-18
多功能可调节的新能源发电装置

本发明公开了一种多功能可调节的新能源发电装置,包括窗户,所述窗户的上侧设有左右对称的伸缩架,伸缩架的后侧下端滑动连接在滑槽内,伸缩架的上侧固定有若干太阳能电池板,滑槽内滑动连接有滑块,伸缩架铰接在滑块上,滑块的下端连接电动伸缩杆,所述伸缩架的下方设有机架,机架靠近窗户的一端与伸缩架铰接,另一端连接有拉线,拉线穿过伸缩架的转轴后,绕过定滑轮悬挂在窗户处,可通过拉线的长度,改变机架的倾斜角度,本发明利用伸缩架可以展开和收起太阳能电池板,并利用可调节的机架改变风扇的迎风面,改变发电效率,本发明利用降雨时的水流进行发电,合理利用资源,并在紧急情况进行手动发电,满足应急需求。

标签:
新能源
浙江 - 杭州 来源:中冶有色网 2023-03-18
新能源汽车充电桩用防冲撞缓冲结构

本发明公开了一种新能源汽车充电桩用防冲撞缓冲结构,包括:桩体,所述桩体的一侧具有一充电头;桩座,用于安装所述桩体并调节所述桩体的倾斜角度;移动机构,其设置于停车平台上,且所述移动机构的输出端与所述桩座相连;缓冲结构,其设置于所述桩体靠近车辆出库口的一侧;以及检测台,其设置于停车平台上且靠近车辆出库口位置处,所述检测台上设置有检测控制器,所述检测控制器能够检测其上是否存在车辆并反馈至控制中心,且当不存在车辆时,所述控制中心能够控制移动机构驱动桩体移动至靠近所述检测台的一侧;当存在车辆时,所述控制中心能够控制移动机构驱动桩体进行移动且与车辆保持预置间距。

标签:
新能源
浙江 - 杭州 来源:中冶有色网 2023-03-18
新能源汽车电子驻车结构单元

本发明公开了一种新能源汽车电子驻车结构单元,包括安装壳体和辅助操作机构,所述安装壳体安装于汽车内部,且一端设有用于操作杆操作的开口,另一端安装有电子手刹按键和自动驻车按键,用于对电子手刹按键和自动驻车按键进行辅助按压调节的所述辅助操作机构安装于安装壳体表面一端,本发明通过优化现有的驻车结构,在电子手刹按键和自动驻车按键上增设辅助操作机构,避免人员在行车时意外触动按键,同时人员在操作杆处于N档即空档时,自动驻车按键按下,辅助人员零时停车,在操作杆处于P档即停车档时,电子手刹拉起,可以辅助人员进行手刹的拉起,避免人员在停车时,遗忘驻车及白天光线过亮无法准确通过灯光判断其状态,也方便人员停车操作。

标签:
新能源
浙江 - 杭州 来源:中冶有色网 2023-03-18
上一页 28 29 30 31 32 ... 71 下一页
共71页    到第

中冶有色为您提供最新的浙江杭州有色金属新能源材料技术理论与应用信息,涵盖发明专利、权利要求、说明书、技术领域、背景技术、实用新型内容及具体实施方式等有色技术内容。打造最具专业性的有色金属技术理论与应用平台!

全国热门有色金属设备推荐
展开更多 +
全国热门有色金属技术推荐
展开更多 +

 

江西省隆恩特环保设备有限公司
宣传

报名参会
更多+

报告下载

有色专家
更多+

中南大学
副校长
鞍钢集团有限公司
中国工程院院士
矿冶科技集团
副所长/研究员
江西理工大学
副处长/教授
北京科技大学、中国科学院
院士
赤泥综合利用研究报告2025
推广

热门技术
更多+

推荐企业
更多+

福建省金龙稀土股份有限公司
宣传

发布

在线客服

公众号

电话

顶部
咨询电话:
010-88793500-807