青岛垚鑫智能科技有限公司
宣传

位置:中冶有色 >

有色技术频道 >

> 加工技术

分类:
全部
矿山技术
冶金技术
材料制备及加工技术
环境保护技术
分析检测技术
 
全部
功能材料技术
复合材料技术
新能源材料技术
合金材料技术
加工技术
地区:
全部
北京
天津
上海
重庆
河北
山西
辽宁
吉林
黑龙江
江苏
浙江
安徽
福建
江西
山东
河南
湖北
湖南
广东
海南
四川
贵州
云南
陕西
甘肃
青海
内蒙
广西
西藏
宁夏
新疆
其他
其他
展开
 
全部
合肥
芜湖
蚌埠
淮南
马鞍山
淮北
铜陵
安庆
黄山
阜阳
宿州
滁州
六安
宣城
池州
亳州

安徽芜湖有色金属加工技术理论与应用

免费发布技术信息>>
锂离子电池极片单面浆料快速去除方法

本发明公开了一种锂离子电池极片单面浆料快速去除方法,该方法是先将电池极片限位固定于防水板上,并作遮蔽防水处理,之后将浸润擦除溶剂的载体敷在极片表面以促使浆料与极片的基材分离,经静置后擦除极片表面浆料,所述擦除溶剂中水、乙醇和碳酸二甲酯的体积比为50%~90%:5%~40%:5%~10%。本发明中所采用的原材料简单易得、成本低、无毒、环保;操作简单,效果明显,成功率高。

标签:
加工技术
安徽 - 芜湖 来源:中冶有色网 2023-03-18
聚合物薄型锂电池
聚合物薄型锂电池 932     
 0

本发明的目的是提供一种聚合物薄型锂电池,采用LiMn2O4正极活性材料,采用人造石墨负极活性材料,采用固体的聚氧化乙烯、聚对苯二甲酰对苯二胺、聚甲基丙烯酸酯和氯横化聚乙烯的聚合物电解质并且添加LiAlO2粉末和二氧化钛粉末,制造出的电池为薄型,机械性能好,容量高,安全性能优异。

标签:
加工技术
安徽 - 芜湖 来源:中冶有色网 2023-03-18
锂电池回收用穿刺放电机构及其使用方法

本发明属于电池回收领域,尤其是涉及一种锂电池回收用穿刺放电机构,包括传输有电池的传送带,所述传送带位于支架上,所述支架上设有对电池进行穿刺放电的穿刺机构,所述传送带上设有均匀分布的分隔件,所述电池均同向设置且分别位于相邻分隔件之间,所述穿刺机构由支撑架、下压组件、穿刺针以及放电壳体,所述放电壳体内部设有对电池进行检测的检测电路。本发明可置放电壳体能够实现对于电池进行检测,进而能够根据电池的电量判断是否需要对于电磁进行穿刺,进而能够实现对于含电电池进行针对性穿刺,进而无需对于无电电池进行穿刺,进而能够大大节约时间。

标签:
加工技术
安徽 - 芜湖 来源:中冶有色网 2023-03-18
锂电池梯次利用筛选方法

本发明公开了一种锂电池梯次利用筛选方法,包括:步骤1:将退役电池包进行拆解,拆解成电池模组;步骤2:对电池模组初步筛选,筛选剔除外观以及化学性质不符合要求的电池模组;步骤3:步骤2筛选出的模组进行模组均衡后进行容量检测,剔除不满足容量要求的电池模组;步骤4:针对步骤3中筛选后的电池模组,预先设置模组容量区间,将处于同一容量区间的电池模组作为同一挡位可被梯次利用的电池组。

标签:
加工技术
安徽 - 芜湖 来源:中冶有色网 2023-03-18
硅碳复合材料的制备方法、所制备的硅碳复合材料及含有该硅碳复合材料的锂离子电池负极和电池

本发明提供一种硅碳复合材料的制备方法、所制备的硅碳复合材料及使用该材料制备的电池负极和锂离子电池。本发明的制备方法是直接将酚单体、醛单体和一氧化硅混合,在一定条件下进行聚合反应,得到酚醛树脂包覆一氧化硅的混合物,再经热处理和腐蚀过程得到核壳结构的硅碳复合材料。使用该方法制备工艺简单,且制备的硅碳复合材料具有比容量高、循环性能好的优点。

标签:
加工技术
安徽 - 芜湖 来源:中冶有色网 2023-03-18
大容量动力锂离子电池密封性检测设备及其检测方法

本发明涉及一种大容量动力锂离子电池密封性检测设备及其检测方法,包括控制装置、密封装置、真空源以及密封容器,所述真空源通过第一气体管路连接所述密封容器;所述机架通过第二气体管路连接所述密封容器;所述控制装置有线和/或无线连接至密封装置,和/或真空源,和/或密封容器,并用于控制和/或检测真空检测过程;所述密封容器内一部分空间放置检测介质,另一部分为气体空间,所述第一气体管路的一端与密封容器内的气体空间连通,所述第二气体管路的一端插置于检测介质中。

标签:
加工技术
安徽 - 芜湖 来源:中冶有色网 2023-03-18
用于制造锂离子二次电池极片的装置及其制造方法

本发明公开了一种用于制造锂离子二次电池极片的装置及其制造方法,包括涂料棍和及设置在所述涂料棍一侧的基材传送棍,所述涂料棍上方设有刮刀,所述涂料棍另一侧设有浆料槽,所述刮刀与所述涂料棍之间设有梯形挡料箔,所述梯形挡料箔一端固定在刮刀上,另一端穿过刮刀与涂料棍之间的间隙固定在所述浆料槽上。所述梯形挡料箔的两侧设有长方形挡料箔,所述长方形挡料箔的一侧固定在刮刀上,另一端穿过所述刮刀与所述涂料棍之间的间隙固定在浆料槽上。本发明涂布中间留空白,中间空白用于制作极耳,相邻的极耳在中间相对位置,从而提高基材利用率,降低生产成本;涂布时空白处宽度严格要求,梯形档料箔可上下调动,方便控制中间空白宽度。

标签:
加工技术
安徽 - 芜湖 来源:中冶有色网 2023-03-18
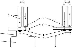
锂离子电池的电阻焊接结构及焊接方法

本发明公开了一种锂离子电池电阻焊接结构及焊接方法,该焊接方法具体如下:S1、焊接电源输出焊接电压CH1,即相邻两焊接电极间的焊接电压为CH1,焊接时间为Weld1;S2、焊接结束后,焊接电源输出焊接电压CH2,即相邻两焊接电极间的焊接电压为CH2,焊接时间为Weld2;S3、焊接结束后,循环执行步骤S1及步骤S2,直至焊接完成;焊接电压CH1与焊接电压CH2在各焊点形成的焊接电流流向相反。通过调整电源设备的电压频CH1/CH2的方式,进而改变相邻两个焊接电极焊接电流的方向,可以得到稳定的焊接强度,有利于广泛地应用,具有重大的生产实践意义。

标签:
加工技术
安徽 - 芜湖 来源:中冶有色网 2023-03-18
用于锂电池负极的硅碳材料及其制备方法

本发明公开了一种用于锂电池负极的硅碳材料及其制备方法,所述硅碳材料由硅和碳纳米管两种材料复合;其中碳纳米管呈灌木丛状分布,碳纳米管的直径为100‑150nm,硅纳米颗粒紧密地附着在碳纳米管外壁上,对碳纳米管形成包覆状,并在表面形成大量孔隙。本发明还公开了一种该硅碳材料的制备方法:二氧化硅粉体与多壁碳纳米管按照摩尔比1:14‑20,进行充分研磨混合,溶于无水乙醇中,搅拌使其充分混合;再加入锌粉体,常温超声搅拌30min,形成悬浊液;然后再将其置于真空80℃干燥箱12小时形成块体;然后放入管式炉中,在密闭的真空环境下650‑800℃下热处理2‑3小时,然后自然冷却;得到硅碳复合材料。该材料具有高的能量密度和良好的循环稳定性。

标签:
加工技术
安徽 - 芜湖 来源:中冶有色网 2023-03-18
动力锂离子电池极片的真空烘箱及其烘干方法

本发明公开了一种动力锂离子电池极片的真空烘箱及其烘干方法,真空烘箱包括箱体、加热装置和抽真空装置,箱体的内部为烘干室,在烘干室中设有两根平行的能够转动的转轴,极片卷料在两端分别卷绕在两根转轴上。与现有技术相比,本真空烘箱通过设置两根转轴,两根转轴双向转动带动极片卷料来回卷绕,在极片卷料转绕过程中加热装置同时对极片卷料进行烘烤,极片卷料来回卷绕可以保证每个部分的极片都能得到均匀烘烤,这样就提高了电池极片的烘干均匀性。

标签:
加工技术
安徽 - 芜湖 来源:中冶有色网 2023-03-18
用于检测锂电池电解液的测定试剂盒

本实用新型揭示了一种用于检测锂电池电解液的测定试剂盒,两个盒体在一侧铰接,在另一侧设有相配合的连接卡扣,两个所述盒体的相向面为存放面,其中一个存放面上设有至少一个用于存放试剂瓶的存放腔,另一个存放面上固定有电子秤、棉花存放仓、废弃物仓和工具仓,所述电子秤上嵌入有磁石,放置在所述电子秤上的测试盘底面固定有铁片。本实用新型试剂盒结构使得测试过程操作简单,安全属性得到提高,降低对操作人员的健康危害,保证作业风险可控。

标签:
加工技术
安徽 - 芜湖 来源:中冶有色网 2023-03-18
锂离子电池镍钴铝三元正极材料制备工艺

本发明的目的是提供一种锂离子电池镍钴铝三元正极材料制备工艺,首先选取形貌最佳、粒度最均匀、振实密度较好的前驱体,之后称取摩尔比为1:1.08的镍钴铝三元正极材料的前驱体与LiOH·H2O采用球磨机进行湿法球磨混合在一起,之后在450~550℃先进行预烧结,再在720~800℃进行保温,最后将烧结的材料进行过筛,从而得到产品,这样严格控制前驱体和LiOH·H2O摩尔比,采用湿法球磨,使原料在分子水平上充分混合,最优化速度、磨球、物料、介质比例,最大程度提高球磨效率和材料一致性,制得的产品质量高,适用于生产中。

标签:
加工技术
安徽 - 芜湖 来源:中冶有色网 2023-03-18
防爆的锂离子电池电解液

本发明的目的是提供一种防爆的锂离子电池电解液,采用三氟代碳酸丙烯酯和氯代碳酸乙烯酯以及碳酸乙烯酯和碳酸丙烯酯混合溶液具有较高的闪点,可以抑制电解液的燃烧,采用甲基磺酸乙酯添加剂具有良好的成膜性能和低温导电性能,采用亚磷酸三甲基酯添加剂可以提高电解液的阻燃性同时,还能改善正极半电池的电化学性能,磷氮烯添加剂使电解液产生难燃性或不可燃性的效果,且不影响电池本身的电化学性能,具有优异的安全防爆性能。

标签:
加工技术
安徽 - 芜湖 来源:中冶有色网 2023-03-18
无损检测锂离子电池正极漏涂碳层的方法

本发明公开了一种无损检测锂离子电池正极漏涂碳层的方法,所述方法包括以下步骤:对所有电芯在0.8~1.2C电流倍率下进行充放电测试;以SOC值为横坐标,电压值为纵坐标进行放电曲线拟合;在放电曲线上获取95%SOC对应的电压值V0;挑选出V0<3000mV的电芯;再在放电曲线上截取3000mV对应的SOC记为S1,截取2800mV对应的SOC记为S2,计算这两个点的斜率K0;将V0<3000mV且0<‑K0<0.7的电芯判定为漏涂碳层的电芯,该方法简单易行可靠性高,按照此方法检测过的电芯仍能保持原有性能,能够正常出货,对电芯本身无任何损伤。

标签:
加工技术
安徽 - 芜湖 来源:中冶有色网 2023-03-18
集成式车用锂离子动力电池及其制作方法

本发明涉及一种集成式车用锂离子动力电池及其制作方法,包括壳体,导热箔,电芯,汇流极柱,其中,所述壳体包括金属或硬质壳体,该金属或硬质壳体围成用于安装电池芯体的壳体;所述电芯为多组集成式电芯,每组包括了多个软包单体电芯;所述每组集成式电芯的1/3和2/3处设置所述导热箔;所述软包单体电芯在壳体内全部并联,并通过汇流极柱引出。

标签:
加工技术
安徽 - 芜湖 来源:中冶有色网 2023-03-18
UPS锂电池系统架构
UPS锂电池系统架构 890     
 0

本实用新型涉及一种UPS锂电池系统架构,包括电池盒、电芯模组、BMU电路板、电池组压板、电池正极极柱和电池负极极柱,电池盒由电池盒上盖板、电池盒底座、电池盒左侧板和电池盒右侧板组成,电池盒底座呈U型结构,其上部设有电池盒上盖板,两侧设有电池盒左侧板和电池盒右侧板;电芯模组通过电池组压板固定于电池盒底座上,电池盒上盖板上开槽,开槽位置用于安装于BMU电路板,电池盒上盖板还预留有两个孔,两个孔分别用于安装电池正极极柱和电池负极极柱。本系统不仅可以实现快速、高功率放电,并及时、实时、快速地向主控制器传递所有单体电池的信息,配合主控制器上的BMS电池管理系统实现电池的数字化与信息化管理,提高UPS系统可靠性。

标签:
加工技术
安徽 - 芜湖 来源:中冶有色网 2023-03-18
锂电池保护绝缘胶带
锂电池保护绝缘胶带 947     
 0

本实用新型提供一种锂电池保护绝缘胶带,包括防撕裂层、缓冲棉层、防水层和胶粘层,所述防撕裂层的顶部设置有钢丝网,所述缓冲棉层设置在钢丝网的顶部,且缓冲棉层的顶部设置有抗拉层,所述防水层设置在抗拉层的顶部,所述胶粘层设置在防撕裂层的底部,且胶粘层的底部设置有离型材料层。本实用新型结构简单合理、经济实用、使用方便,通过防撕裂层、钢丝网和抗拉层的配合使用,使得该胶带抗拉性强,通过缓冲棉层的配合使用,具有隔离绝缘的效果,并且使得该胶带具有抗震缓冲的作用,通过防水层的配合使用,使得该胶带具有防水的作用,从而给人们的使用带来便捷。

标签:
加工技术
安徽 - 芜湖 来源:中冶有色网 2023-03-18
锂电池浆料气泡消除装置

本实用新型公开了一种锂电池浆料气泡消除装置,包括浆料入口管道、消泡机构、浆料罐体和与浆料罐体适配的上盖,上盖通过锁扣与浆料罐体连接,浆料入口管道从上盖的侧部伸入到浆料罐体中,消泡机构安装在上盖上并由上盖上部插入到浆料罐体中,浆料入口管道长且平缓并在末端收小。由于锂电池浆料粘度比一般浆料偏高的特性,浆料入口管道设计成长且平缓并在末端收小的结构,可以让浆料流动的更加平缓,避免流入过快冲击产生气泡。消泡机构包括搅拌电机、连接轴、浆料平铺弧面和搅拌浆,连接轴的一端与搅拌电机的输出轴连接,连接轴的另一端穿过上盖伸入到浆料罐体中,浆料平铺弧面连接在连接轴上位于浆料罐体中,连接轴底部与搅拌浆连接。

标签:
加工技术
安徽 - 芜湖 来源:中冶有色网 2023-03-18
用于锂电池储能系统的电池控制单元模组

本实用新型涉及一种用于锂电池储能系统的电池控制单元模组,由DC电源、CAN BUS总线接口、运转指示灯、故障指示灯、LED显示屏和壳体组成,所述壳体为长方体结构,其顶部设有DC电源,所述DC电源设有DC电源开关,壳体顶部还设有CAN BUS总线接口,壳体的前部设有运转指示灯和故障指示灯,壳体的前部还设有LED显示屏。本实用新型用于锂电池储能的BCU模组便于管理人员实时了解掌握电池系统状态,提高储能系统的工作性能、整体效率,提高了系统的安全性、可靠性,降低了成本。

标签:
加工技术
安徽 - 芜湖 来源:中冶有色网 2023-03-18
手机锂电池电芯压扁贴胶纸装置

本发明提供一种手机锂电池电芯压扁贴胶纸装置,包括上料轨道,所述上料轨道中部上方设置有压扁块,所述压扁块通过上端设置的压扁气缸带动进行压扁工作,所述压扁块右侧设置有夹持机械手,所述夹持机械手上端设置升降气缸,所述夹持机械手旁设置有贴胶纸块,所述贴胶纸块通过右端设置的伸缩气缸左右移动。通过上料轨道对电芯进行输送,并且通过压扁块对电芯进行压扁,设置夹持机械手对压扁后的电芯进行夹持,并通过贴胶纸块自动对其进行贴胶纸工作,并且通过设置胶纸数数装置自动对胶纸进行补充,提高工作效率,避免人工压扁并贴胶纸造成的产品一致性差的问题。

标签:
加工技术
安徽 - 芜湖 来源:中冶有色网 2023-03-18
导电聚合物包覆正极的锂离子电池的制备方法

本发明公开了一种导电聚合物包覆正极的锂离子电池的制备方法,正极片由正极材料、导电剂、正极粘合剂、导电聚合物或导电聚合物单体、溶剂混合成的正极浆料及正极集流体组成,负极片由负极材料、增稠剂、负极粘合剂、溶剂混合成的负极浆料及负极集流体组成。在浆料中加入导电聚合物或导电聚合物单体进行包覆,电池的比容量提高了10~20%。本发明有效提高了制备出正极材料的性能,由于方法简单,降低了产品成本、简化了工艺,适合大规模生产。

标签:
加工技术
安徽 - 芜湖 来源:中冶有色网 2023-03-18
方形锂离子电池极柱防转动装置

本发明涉及一种方形锂离子电池极柱防转动装置,包括分别由正、负极柱本体和正、负极柱台组成的正、负极柱,正、负极柱本体分别由上部、下部组成,正、负极柱本体的上部、下部之间设置扁台状的正、负极柱台,还包括与正、负极柱构成镶嵌配合的支架,支架上开设分别与正、负极柱台的周边轮廓相吻合的第一、二通孔,正、负极柱台周边轮廓均为非圆形,正、负极柱台的周边轮廓由至少两段相异曲率的边缘构成。本发明通过设置支架,并将正、负极柱与支架组装为一体,使正、负极柱与支架互相锁死,能够有效地防止极柱转动,同时,本发明结构简单,组装容易,成本低。

标签:
加工技术
安徽 - 芜湖 来源:中冶有色网 2023-03-18
用于锂电池极耳防护的PI胶带

本发明公开了一种用于锂电池极耳防护的PI胶带,涉及极耳胶带领域,通过将丙烯酸羟丙酯以及中间体3在引发剂的作用下聚合反应,形成一种聚丙烯酸酯类胶,然后中间体5与丙烯酸羟丙酯上的羟基反应,从而将合成橡胶与聚丙烯酸酯类胶接枝,之后制成胶带,聚丙烯酸酯类胶实现该胶带常温下的高粘性,高初粘,好贴合的优点,合成橡胶实现该胶带泡电解液后粘性的保持,而且中间体3上具有大量C‑F键,因此赋予了该胶带良好的耐腐性能和耐热性能,从而达到在高温电解液浸泡后仍然不影响其性能,从而保证了极耳包胶效果好且长时间不开胶,解决了现有的丙烯酸体系极耳胶带耐电解液性能较差,易出现脱胶的问题。

标签:
加工技术
安徽 - 芜湖 来源:中冶有色网 2023-03-18
微胶囊复合材料及其制备方法和在锂离子电池的应用

本发明提供了一种微胶囊复合材料及其制备方法和作为锂离子电池负极材料的应用,以Cu7.2S4纳米花作为胶囊内相,将表面生长有二硫化锡量子点的碳纳米管、三甲醇丙烷乙氧酯三丙烯酸酯ETPTA、光引发剂和氧化锌纳米棒搅拌均匀形成胶囊外相;通过微流控技术,制备二硫化锡量子点/碳纳米管/Cu7.2S4胶囊复合材料,高温碳化后刻蚀掉氧化锌纳米棒,形成二硫化锡量子点/碳纳米管/Cu7.2S4多孔微胶囊复合材料。其内部存在的丰富的空隙结构,能缓冲体积变化,减少了充电/放电过程中的活性质量损失,从而改善了负极的电化学性能。

标签:
加工技术
安徽 - 芜湖 来源:中冶有色网 2023-03-18
锂离子电池的防爆阀结构

本发明公开了一种锂离子电池的防爆阀结构,所述防爆阀结构包括阀门套,所述阀门套内可拆卸地固定有滤酸片,所述阀门套的上端可拆卸地固定有环形套,所述环形套与所述阀门套同轴设置,所述环形套的圆周侧面设置有多个沿所述环形套径向方向的贯穿通孔,每个所述贯穿通孔内设置有泄气装置,所述环形套的上端可拆卸地设置有盖片,所述盖片、所述环形套的内壁和所述滤酸片相互围合形成密闭腔体;解决了传统的多孔盖片上的通孔容易积灰堵塞,导致对压力的灵敏度降低,在需要对压力反应灵敏的场合,失去防爆效果的问题。

标签:
加工技术
安徽 - 芜湖 来源:中冶有色网 2023-03-18
高电压高比能量锂离子电池及其制备方法

本发明涉及一种高电压高比能量锂离子电池及其制备方法,采用高电压高比容量的材料LiNixMn2-xO4/C为正极活性物质,高比容量的硅基复合材料为负极活性物质,正负极电极的制备采用独特的工艺配方和先进的制造工艺技术,注入功能型的有机液体电解液,制造出高电压高比能量低成本的锂离子电池。

标签:
加工技术
安徽 - 芜湖 来源:中冶有色网 2023-03-18
锂电池电量估算系统
锂电池电量估算系统 1035     
 0

本实用新型公开了一种锂电池电量估算系统,包括中央控制器、电压检测单元、电流检测单元,所述电压检测单元、电流检测单元分别与中央控制器的输入端连接,还包括电池效率系数数据库、温度传感器,所述温度传感器用于检测锂电池的温度数据,其输出端与中央控制器的输入端连接,所述中央控制器的输入端与电池效率系数数据库连接。本实用新型的优点在于:系统结构简单,实现方便,能够提供更加准确的电量计算基础数据,进而提高电量估计的精度。

标签:
加工技术
安徽 - 芜湖 来源:中冶有色网 2023-03-18
半自动锂电池折极耳装置

本实用新型公开了一种半自动锂电池折极耳装置,涉及锂电池折极耳技术领域,包括底板,底板的上端安装有立板,立板上安装有固定架一,固定架一的两端转动连接有支撑板,支撑板上安装有折弯板,立板上安装有固定架二,固定架二上安装有导轨一,导轨一上滑动连接有“L”型固定板,“L”型固定板的下端安装有极耳压辊,且“L”型固定板通过安装在固定架二上的气缸一沿导轨一进行滑动。本实用新型通过电芯极耳抵接在折弯板上,气缸一和气缸二分别推动“L”型固定板和压板下移,压板配合折弯板夹持极耳,折弯辊进行第一次弯折操作,气缸一和气缸二分别复位“L”型固定板和固定板,转动支撑板并带动折弯板朝着立板的方向旋转90°,进行二次弯折。

标签:
加工技术
安徽 - 芜湖 来源:中冶有色网 2023-03-18
锂电池模组防护装置
锂电池模组防护装置 763     
 0

本发明提供一种锂电池模组防护装置,包括:防护外壳,所述防护外壳的外表面均匀平行有多个散热鳍片,所述防护外壳的中间设置有循环冷却仓,所述防护外壳的顶部设置有连接开口,所述连接开口的左右两侧对称设置有锁定卡槽;密封防护仓,设置于所述防护外壳的内部,所述密封防护仓的底部设置有固定底板。本发明通过设置中空结构的防护外壳以构成循环冷却仓,而锂电池模组装载在电池安装架上,电池安装架上设置具有中空冷却腔的冷却贴附板可为电池模具提供散热,同时电池安装架整体通过固定安装架嵌入安装在防护外壳中,而防护外壳与固定安装架之间设置有管道的快接结构,可将中空冷却腔与循环冷却仓相互连通构成循环液冷散热结构为电池提供散热。

标签:
加工技术
安徽 - 芜湖 来源:中冶有色网 2023-03-18
锂离子电池多层厚度溶胀胶带及其制备方法

本发明公开了一种锂离子电池多层厚度溶胀胶带及其制备方法,所述锂离子电池多层厚度溶胀胶带由下至上依次包括:可溶胀基底层、第一压敏胶层、PET基材层、第二压敏胶层;通过在第一压敏胶层之上再依次设置PET基材层和第二压敏胶层,基于PET基材层原有的性质其在电解液中无法进行溶胀即尺寸固定,由于可溶胀基底层通过第一压敏胶层牢牢粘在了PET基材层的下方,这样由于PET基材层具有的强度及第一压敏胶层粘接的限制作用,可溶胀基底层在长宽方向上被限制住无法进行溶胀而只能在厚度方向上进行溶胀,进而得到了厚度溶胀胶带。

标签:
加工技术
安徽 - 芜湖 来源:中冶有色网 2023-03-18
上一页 23 24 25 26 27 ... 48 下一页
共48页    到第

中冶有色为您提供最新的安徽芜湖有色金属加工技术理论与应用信息,涵盖发明专利、权利要求、说明书、技术领域、背景技术、实用新型内容及具体实施方式等有色技术内容。打造最具专业性的有色金属技术理论与应用平台!

全国热门有色金属设备推荐
展开更多 +
全国热门有色金属技术推荐
展开更多 +

 

江西省隆恩特环保设备有限公司
宣传

报名参会
更多+

报告下载

有色专家
更多+

郑州大学
副院长/教授
中南大学
中国工程院院士
昆明理工大学
校长
江西省科学院应用化学研究所
副主任/副研究员
中南大学
院长/教授
赤泥综合利用研究报告2025
推广

热门技术
更多+

推荐企业
更多+

福建省金龙稀土股份有限公司
宣传

发布

在线客服

公众号

电话

顶部
咨询电话:
010-88793500-807