青岛垚鑫智能科技有限公司
宣传

位置:中冶有色 >

有色技术频道 >

> 固/危废处置技术

分类:
全部
矿山技术
冶金技术
材料制备及加工技术
环境保护技术
分析检测技术
 
全部
废水处理技术
大气治理技术
固/危废处置技术
土壤修复技术
地区:
全部
北京
天津
上海
重庆
河北
山西
辽宁
吉林
黑龙江
江苏
浙江
安徽
福建
江西
山东
河南
湖北
湖南
广东
海南
四川
贵州
云南
陕西
甘肃
青海
内蒙
广西
西藏
宁夏
新疆
其他
其他
展开
 
全部
北京

北京有色金属固/危废处置技术理论与应用

免费发布技术信息>>
建筑垃圾固体废弃物再生骨料分选机

本实用新型涉及一种建筑垃圾固体废弃物再生骨料分选机,包括机架、设置在所述机架底端的行走移动机构、设置在所述机架上的用于对废弃物进行过滤筛选的振动筛组件以及多组用于将经过滤筛选后的不同等级废弃物流进行输出的输送组件,输送组件为双折叠输送带装置,双折叠输送带装置包括输送带、固定底座、连接座、第一液压驱动油缸以及第二液压驱动油缸,其中所述连接座一端与所述固定底座构成上下翻转转动的铰接连接,合理利用空间,避免运输过程中由于输送带的外形尺寸而带来的不便。

标签:
固废
北京 - 北京 来源:中冶有色网 2023-03-19
固体废弃物热解气化合成气净化处理装置

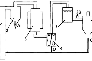
本实用新型涉及一种固体废弃物热解气化合成气净化处理装置,属于污染物排放控制技术领域。本实用新型装置是将三相交流电弧等离子体炬应用于固体废弃物热解气化等处理过程产生的合成气进行净化处理,在该装置内待处理气体通过扩张降速、增加反应停留时间、增加待处理气体在反应室内与高温等离子体的充分混合,并且利用三相交流等离子体的圆周均布方式形成的一个均匀的高温区域和可控气氛,在高温等离子体的作用下将待处理气体中含有的焦油、二噁英类、以及其他苯酚等大分子有机物不经过燃烧直接分解成小分子链的碳氢化合物,从而在不燃烧掉合成气中可燃成分的情况下达到净化合成气的功能。

标签:
固废
北京 - 北京 来源:中冶有色网 2023-03-19
放射性固体废物微波隧道干燥机

本发明提供了一种放射性固体废物微波隧道干燥机。微波腔体,在微波腔体的两侧分别密封连接进口微波抑制器和出口微波抑制器,进口微波抑制器、微波腔体和出口微波抑制器采用中空结构,在进口微波抑制器的进口处设置输送辊,输送辊的上方设置传送带,传送带采用三层结构,由聚四氟乙烯、碳化硅和平板式链板组成,其贯穿进口微波抑制器、微波腔体和出口微波抑制器。在微波腔体的上部外壁设置抽气泵,在进口微波抑制器的外部侧壁设置鼓风泵和进气预热装置,在微波腔体的上方按三角形排列设置磁控管。本发明的装置可使得隧道内微波能均匀分布且适用于放射性固体废物,可有效地防止传送带在隧道内变形及打火,防止物料掉入碳化硅板间缝隙。

标签:
固废
北京 - 北京 来源:中冶有色网 2023-03-19
城市生活固体废弃物综合处理工艺系统

一种城市生活固体废弃物综合处理工艺系统,主要包括预处理系统、厌氧发酵系统、沼气净化利用系统、沼渣制肥系统、沼液处理系统和焚烧系统。预处理系统分选出金属进行回收,轻物质进入焚烧系统,杂质进行填埋,有机物经过制浆调节后进入厌氧发酵系统,厌氧发酵系统产生的沼气脱硫提纯为车用燃气,沼渣制成有机肥,沼液部分应工艺要求回流,剩余处理达标后排放,焚烧系统产生的蒸汽供厂区生产生活用。本发明最大化的实现了城市生活固体废弃物处理的无害化、资源化和减量化,对开发新能源有重要意义,为社会带来显著的经济和环境效益,具有推广价值。

标签:
固废
北京 - 北京 来源:中冶有色网 2023-03-19
利用固体废弃物热解制备电石的系统和方法

本发明涉及利用固体废弃物热解制备电石的系统和方法。所述系统中,第一热解装置具有进料口、高温半焦出口、热解气出口;混合装置具有高温半焦入口、生石灰入口、煤粉入口、混合料出口,高温半焦入口与高温半焦出口连接,混合装置的外壁设置有中空伴热层,中空伴热层上设置有进气口和出气口,进气口与热解气出口连接,中空伴热层的下端设置有焦油出口;成型装置具有混合料入口、型球出口,混合料入口与混合料出口连接;第二热解装置具有型球入口、电石冶炼球团出口,型球入口与型球出口连接;电石冶炼装置具有电石冶炼球团入口、电石出口,电石冶炼球团入口与电石冶炼球团出口连接。本发明在处理固体废弃物的同时制备电石,能源和热效率较高。

标签:
固废
北京 - 北京 来源:中冶有色网 2023-03-19
道桥施工中固体废弃物的回收处理装置

本申请涉及一种道桥施工中固体废弃物的回收处理装置,主要涉及固体废弃物处理的技术领域,其包括上料机构、与所述上料机构出料端相连的筛分机构、与所述筛分机构相连的破碎机构、与所述破碎机构相连的磁选机构和与所述磁选机构出料端相连的分选机构;所述筛分机构包括减震支架、对称设在所述减震支架上的支撑板、倾斜设在所述支撑板之间的筛网和设在所述支撑板底部且位于所述筛网下方的导向板。本申请具有自动化程度高、便于使用、减少建筑资源损耗、减少施工环境影响等优点。

标签:
固废
北京 - 北京 来源:中冶有色网 2023-03-19
简易固体有机废物处理装置

本实用新型公开了一种简易固体有机废物处理装置,所述装置包括发酵室,发酵室内设有取料机行走架轨道,取料机行走架轨道上设有取料机行走架,取料机行走架上设有取料机,取料机上设有位于取料行走架上部的移行皮带机,取料行走架上还设有倒料刮板机,取料机行走架的下面设有翻板机构,在倒料刮板机一端的下面设有进出料皮带机,所述翻板机构包括设置在取料机行走架下面的若干块翻板,每块翻板分别与转轴连接,转轴通过轴承、轴承座支撑在在取料机行走架的下面,转轴的一端设有同步轮,相邻转轴上的同步轮之间连接有同步带,至少在一根转轴的一端连接有翻板驱动电机。该简易装置可同时实现有机废物的翻抛、移行,减少移行车和出料皮带机。

标签:
固废
北京 - 北京 来源:中冶有色网 2023-03-19
用于固体废弃物的焚烧处理装置

本实用新型提供一种用于固体废弃物的焚烧处理装置,涉及废物清理技术领域,包括焚烧装置本体,所述焚烧装置本体的底部固定安装有支架,所述焚烧装置本体的底部中心处设置有残渣排出管,所述残渣排出管的底部固定安装有残渣接收箱。本实用新型,当装置需要将残渣排出时,首先残渣会通过残渣排出管向下排出,然后残渣掉落到残渣接收箱的内部当中,同时打开安装箱内部电机的电源开关,此时电机开始带动绞龙开始顺时针进行转动,而停留在残渣接收箱中的残渣会顺着绞龙的外表面向前移动,通过输送箱从而进入到置放箱的内部当中去,而上述的所有环节都是在密闭环境下进行运动的,不会使粉末飘浮在空气当中。

标签:
固废
北京 - 北京 来源:中冶有色网 2023-03-19
低水平放射性固体废物微波热解-焚烧装置

本发明为低水平放射性固体废物微波热解-焚烧装置,公开了一种用于处理可燃放射性固体废物的热解-焚烧装置,它包括外壳机架、热解箱体、烟气净化系统、盛料和卸料系统和烟气冷却系统,所述的热解箱体、烟气净化系统、盛料和卸料系统和烟气冷却系统均安装在外壳机架内,热解箱体与盛料和卸料系统连接,盛料和卸料系统和烟气净化系统连接,烟气净化系统与烟气冷却系统连接。本发明的有益效果在于:利用本发明提供的装置热解效率高,升温速度快;烟气质量好,满足排放要求;燃烧彻底,灰化充分,达到优良的减容效果。

标签:
固废
北京 - 北京 来源:中冶有色网 2023-03-19
固体废物反应装置
固体废物反应装置 1051     
 0

本实用新型提供了一种固体废物反应装置,包括:炉体,其内部设有燃烧室;所述燃烧室的底部呈阶梯状,其上设有与其对应的阶梯状的推料机构:设于所述燃烧室较高一端的进风口和较低一端的排渣口,所述进风口水平进风;设于所述燃烧室顶部的投料口;所述燃烧室的顶板由所述进风口的一侧向所述排渣口的一侧逐渐降低倾斜设置,本实用新型采用上部投料,水平进风的布局,能够加大投入的固体废料的尺寸。

标签:
固废
北京 - 北京 来源:中冶有色网 2023-03-19
农村固体废物无害化处理系统

本发明公开了一种农村固体废物无害化处理系统,包括:一级垃圾处理装置,包括箱体,箱体内设置可上下分离的底板;粉碎装置;焚烧装置,其设置在箱体下方;其包括炉体,炉体内设置呈螺旋状盘设的传输通道,传输通道的尾端处设置多个镂空网板;进气管;排气管;烘烤装置,其设置在焚烧装置的上方;其包括主转盘结构,主转盘结构包括左右对称设置的圆形板体和中间的子板体;立杆;气道,其设置在两圆形板体之间,并分别与两侧的立杆相通;气道内设置多组气体净化层;圆形板体之间设置多个位于气道之间的烘烤箱;智能感应控制系统。本发明将农村固体废物无害化处理的同时,与农村实际生活烘烤作业所需相结合,实现对农村生产生活的优化。

标签:
固废
北京 - 北京 来源:中冶有色网 2023-03-19
用于有机固体废弃物的处理方法

本发明涉及一种用于有机固体废弃物的处理方法,所述处理方法包括以下步骤:A)原料处理步骤,其中将有机固体废弃物粉碎,获得粉碎后的物料;B)自然堆沤步骤,其中将所述粉碎后的物料自然堆沤;C)蚯蚓堆肥步骤,其中向经过自然堆沤的物料中投加蚯蚓,在该过程中产生渗滤液;D)干式厌氧发酵步骤,其中定期对发酵中的物料翻堆搅拌,得到发酵好的沼渣,在该过程中产生渗滤液。本发明还涉及在干式厌氧发酵步骤之后,进行E)高温好氧发酵步骤,其中将步骤D中所述发酵好的沼渣的含水率调节到可以进行高温好氧发酵的范围内,对其进行高温好氧发酵。

标签:
固废
北京 - 北京 来源:中冶有色网 2023-03-19
采用含盐卤水和固体废弃物联合捕集矿化二氧化碳的方法

本发明公开了一种采用含盐卤水和固体废弃物联合捕集矿化二氧化碳的方法,利用含盐卤水中富含的钙、镁离子,通过优化固体废弃物和含盐卤水投料比、碱性添加剂种类、添加剂浓度、反应温度、反应釜压力等工况参数,促使二氧化碳向碳酸盐转化,强化钙、镁碳酸盐沉淀的形成,以达到二氧化碳的永久固定;该方法流程简单,反应迅速,将碳捕集和碳封存两个过程有机整合,是一种非常适合我国国情的新型温室气体减排技术。

标签:
固废
北京 - 北京 来源:中冶有色网 2023-03-19
基于全生命周期的城市固体废弃物处理系统

本实用新型涉及一种基于全生命周期的城市固体废弃物处理系统。该系统将原生垃圾处理工艺与矿化垃圾处理工艺有机结合,分别针对原生垃圾和矿化垃圾筛上物特点进行资源化处理,分别针对原生垃圾和矿化垃圾筛下物进行高值化利用。本实用新型有效的解决了生活垃圾前端分类不到位、中端收集困难和终端资源化产品出路难等问题,彻底实现了对城市固体废物进行减量化、无害化和资源化的目的。同时,本实用新型在垃圾处理的整个生命周期过程中加强了可回收品的循环和再利用,将整个过程的环境影响降为最小。

标签:
固废
北京 - 北京 来源:中冶有色网 2023-03-19
无害化的工业固体废弃物焚烧处理装置

本实用新型公开了一种无害化的工业固体废弃物焚烧处理装置。该装置包括依次连接的第一燃烧室、第二燃烧室、换热设备、分离装置、急冷装置和布袋除尘设备。本实用新型对工业固体废弃物的焚烧处理是在两个燃烧室内进行的,因两个燃烧室都没有运动部件,不会发生机械故障,保证了长时间稳定运行。采用急冷装置对烟气急冷,降低二噁英的生成量;把急冷设备与脱酸塔合并为急冷装置,使整个系统更紧凑;并且,焚烧过程中产生的飞灰都以玻璃态渣的形式排出,因易挥发的重金属盐类都以熔融飞灰的形式捕集下来,玻璃态渣极其稳定,可作建材使用,从而解决了飞灰处理成本高的难题,真正实现了飞灰无害化、减容化、资源化处理的目的。

标签:
固废
北京 - 北京 来源:中冶有色网 2023-03-19
基于全生命周期的城市固体废弃物处理系统及方法

本发明涉及一种基于全生命周期的城市固体废弃物处理系统。该系统将原生垃圾处理工艺与矿化垃圾处理工艺有机结合,分别针对原生垃圾和矿化垃圾筛上物特点进行资源化处理,分别针对原生垃圾和矿化垃圾筛下物进行高值化利用。本发明有效的解决了生活垃圾前端分类不到位、中端收集困难和终端资源化产品出路难等问题,彻底实现了对城市固体废物进行减量化、无害化和资源化的目的。同时,本发明在垃圾处理的整个生命周期过程中加强了可回收品的循环和再利用,将整个过程的环境影响降为最小。

标签:
固废
北京 - 北京 来源:中冶有色网 2023-03-19
含油固体废弃物无害化处理试验方法及装置

本发明涉及一种含油固体废弃物热解析试验装置。主要解决了现有油田产生的含油固体物没有能确定其适宜热解参数的试验装置及方法的问题。其特征在于:所述炉管两端安装密封法兰,右端法兰中心引出管路上接有真空表、安全阀以及进气阀A;左端法兰中心引出管路连接冷凝罐;冷凝罐上端开口依次接气体检测传感器和真空泵吸气管路,最终与真空泵抽气口相连接;冷凝罐下端经冷凝液导出管与冷凝液暂存箱相连。其试验方法包括:将置于炉膛中炉管内的待试验物料加热;同时旋转炉管;对炉管持续抽真空;经气体检测传感器记录下不凝气累计产生量;通过智能温控调节仪设定控温历程,可考察试验物料热解温度、热解时间及升温速率各参数。该热解析试验装置及试验方法能够确定不同含油固体物最适宜的热解参数。

标签:
固废
北京 - 北京 来源:中冶有色网 2023-03-19
利用城市固体废物产生资源的系统和方法

本发明提供一种利用城市固体废物产生资源的系统和方法,接收到得废品可以被分离成不同的部分,用于不同的下游工艺。此外,废物可在厌氧消化过程中处理以产生沼气。类生长系统可用于隔离系统产生的二氧化碳(CO2)。

标签:
固废
北京 - 北京 来源:中冶有色网 2023-03-19
利用城市固体废弃物生产园林绿化再生土的方法

本发明公开了一种利用城市固体废弃物生产园林绿化再生土的方法,将城市污泥、填埋垃圾土、园林废弃物等基料,按20~40%:30~60%:20~40%体积比输送到搅拌机,同时添加少量微生物菌剂、腐殖酸肥以及碱石灰、土壤稳定剂等,进行充分混合,配制成绿化用土。本发明所形成的园林绿化再生土中植物所需养分含量较高,含有少量的腐殖质,能满足植物生长对养分的需求,而且,种植植物后,随着时间推移,再生土中的植物残体、有机物质等会进一步分解、腐殖酸化,与植物根系交互作用,土壤性状会不断得到提升。

标签:
固废
北京 - 北京 来源:中冶有色网 2023-03-19
固体废弃物热解系统
固体废弃物热解系统 880     
 0

本申请涉及一种固体废弃物热解系统,包括干化单元(6)和热解单元(1),干化单元(6)包括干化物料腔,热解单元(1)包括热解物料腔和用于通高温烟气以对热解物料腔中的物料进行加热的热解烟道腔,干化物料腔的出料口与热解物料腔的进料口联通,热解烟道腔的出气口与干化物料腔的进气口联通,该系统在实际使用过程中,热解单元中约500℃的废烟可以通过热解烟道腔与干化物料腔之间的管道进入干化物料腔中,与干化物料腔中的废料混合而对废料进行干化,这样,既有效利用了热解废烟,实现能源的再回收利用,大大减小了能源的消耗。热解废烟还可以与干化废烟一起共用一套尾气净化设备,这也大大减小了系统的设备数量,减小了设备成本。

标签:
固废
北京 - 北京 来源:中冶有色网 2023-03-19
含油及固体悬浮物废水的高效脱酚方法

本发明公开了一种含油及固体悬浮物废水的高效脱酚方法。该方法包括:1)将含酚废水与混凝剂和絮凝剂混合,静置沉淀,得到位于上部的油相和位于下部的水相和底部沉淀物;2)将所述步骤1)所得水相自上而下与萃取剂逆流接触进行萃取,萃取完毕后得到萃取相和萃余相,将所述萃取相与步骤1)所述含酚废水混合;3)将所述步骤1)所得油相进行精馏,得到回收的所述萃取剂和粗酚产品;4)将所述步骤2)所得萃余相进行汽提,得到脱酚的废水、由回收的所述萃取剂和废水组成的混合物;将所述由回收的萃取剂和废水组成的混合物静置分层,得到回收的所述萃取剂。该方法可明显提高萃取效果和出水水质。

标签:
固废
北京 - 北京 来源:中冶有色网 2023-03-19
建筑垃圾固体废弃物再生骨料分选机上的单皮带折叠装置

本实用新型公开了一种建筑垃圾固体废弃物再生骨料分选机上的单皮带折叠装置,其包括有第一皮带折叠组件和第二皮带折叠组件;本方案所提供的建筑垃圾固体废弃物再生骨料分选机上的皮带折叠装置其通过将整条输送皮带分为两个组成部分,即第一皮带折叠组件和第二皮带折叠组件,二者之间铰接相连,并通过在第一皮带折叠组件中设置有驱动油缸,运输时,第二皮带折叠组件相对于第一皮带折叠组件进行折叠,降低整体的运输长度和高度;工作时,折叠皮带组件在驱动油缸的作用下伸展开,实现正常的运输输出作业。

标签:
固废
北京 - 北京 来源:中冶有色网 2023-03-19
建筑垃圾固体废弃物再生骨料分选机上的皮带折叠装置

本实用新型公开了一种建筑垃圾固体废弃物再生骨料分选机上的皮带折叠装置,其包括有第一折叠皮带组件、第二折叠皮带组件以及第三折叠皮带组件;本方案所提供的建筑垃圾固体废弃物再生骨料分选机上的皮带折叠装置其通过将整条输送皮带分为三个组成部分,即第一折叠皮带组件、第二折叠皮带组件以及第三折叠皮带组件,三个组成部分通过在第一折叠皮带组件和第三折叠皮带组件中分别设置有驱动油缸,运输时,三组折叠皮带组件进行折叠,降低整体的运输长度和高度;工作时,三组折叠皮带组件在驱动油缸的作用下伸展开,实现正常的运输输出作业。

标签:
固废
北京 - 北京 来源:中冶有色网 2023-03-19
固体废弃物资源化利用的给料装置

本实用新型公开了一种固体废弃物资源化利用的给料装置,包括粉碎处理箱和固定在粉碎处理箱顶部的料斗,且料斗与粉碎处理箱之间设置有给料孔,所述给料孔内活动安装有调节板,位于给料孔左侧的粉碎处理箱上设有安装腔,且调节板的左端活动延伸至安装腔内。本实用新型的一种固体废弃物资源化利用的给料装置,可以方便快捷的对给料流量进行调节,有利于对给料量进行控制,进而大大减小了给料过程中的局限性,同时还可以使得螺纹筒与螺杆之间螺纹咬合的更紧密,以防调节后容易螺纹滑丝松动的情况出现,确保了调节板在调节后更稳固。

标签:
固废
北京 - 北京 来源:中冶有色网 2023-03-19
污泥及含水较高的固体有机废弃物综合处理系统和综合处理设施

本实用新型涉及一种污泥及含水较高的固体有机废弃物综合处理系统和综合处理设施,所述系统包括相互配套的石灰处理系统和高温好氧发酵系统,所述石灰处理系统设有混合反应装置,所述高温好氧发酵系统设有好氧发酵装置和深度腐熟装置(如果有的话),所述混合反应装置设有进料口、石灰进料口和混合料出口,所述好氧发酵装置设有混合料进口和发酵后物料出口,所述深度腐熟装置(如果有的话)设有发酵后物料进口和深度腐熟后物料出口,所述设施包括设置在同一建筑物中的混料车间、发酵车间和深度腐熟车间。本实用新型将“堆肥+石灰”技术合二为一,实现了两种处理工艺的灵活切换,主要可用于污水污泥及含水较高的固体有机废弃物的处理。

标签:
固废
北京 - 北京 来源:中冶有色网 2023-03-19
采用生物质炭化+两段式发酵组合工艺处理园林绿化固体有机废弃物的方法

本发明实施例公开了一种采用生物质炭化+两段式发酵组合工艺处理园林绿化固体有机废弃物的方法,包括:将树枝、树干以及根茎从园林绿化固体有机废弃物中分离,分别得到树枝、树干以及根茎的混合物料和剩余物料;将混合物料进行破碎,并进行炭化处理得到木焦油、含冷凝水的木醋液、生物质炭和可燃气;将剩余物料进行破碎并与畜禽粪便、水、木焦油和含冷凝水的木醋液混匀得到发酵物料;再通过将发酵物料进行两段式发酵组合工艺处理,得到基础有机肥;该方法先进行分类处理,再结合多种工艺组合处理,能够很好的利用多工艺间的互补优势,制备得到多种资源利用产品,实现能源供需平衡,有效缩短发酵时间,提高发酵效率与终产品品质。

标签:
固废
北京 - 北京 来源:中冶有色网 2023-03-19
干燥系统及处理固体废弃物的系统

本发明公开了干燥系统及处理固体废弃物的系统。其中干燥系统包括干燥装置和燃烧装置,干燥装置包括内筒体、外筒体和推料器,外筒体套设在内筒体外且外筒体内表面与内筒体外表面之间形成有密封空腔,推料器的推料板伸入内筒体内且可旋转前进,内筒体具有湿料入口、炉膛风入口、干燥产物出口和尾气出口;外筒体具有高温介质入口和低温介质出口,低温介质出口与炉膛风入口相连;燃烧装置内限定有燃烧区和混风区,燃烧区具有燃气入口和助燃风入口,混风区具有回用风入口和高温介质出口,回用风入口与尾气出口相连,高温介质出口与高温介质入口相连。该干燥系统可减少扬尘、避免管路堵塞及尾气泄露、降低系统能耗以及固体废弃物占地面积。

标签:
固废
北京 - 北京 来源:中冶有色网 2023-03-19
秸秆类农业固体废弃物产甲烷处理工艺和装置

秸秆类农业固体废弃物的处理与处置方法一般是采用直接厌氧发酵的方法,存在着处理时间长及秸秆的厌氧发酵产甲烷转化率低的缺点。本发明提供了一种在好氧条件下先利用高效木质素降解菌对该类固体废弃物进行预处理,将秸秆中的大分子难降解物质如木质素、纤维素、半纤维素等降解为小分子的容易生物降解的物质,然后再利用常规的厌氧生物处理法对秸秆进行进一步处理的工艺。高效木质素降解菌由自然界中筛选得到,与原工艺相比本发明的方法具有处理时间短,转化率高、效果稳定等优点,具有较好的应用前景。

标签:
固废
北京 - 北京 来源:中冶有色网 2023-03-19
化工固体废渣处理机
化工固体废渣处理机 1089     
 0

本实用新型公开了一种化工固体废渣处理机,包括推送箱、加热粉碎箱、废渣反应池和抽风机;所述推送箱设置在进料口、转轴、第一电机和螺旋刀片;所述进料口设置在推送箱的上端面左侧;所述转轴横向设置在推送箱内;所述第一电机设置在推送箱的左端面上,第一电机的主轴与转轴的左端头相连接;所述螺旋刀片环绕设置在转轴上;本实用新型的第一电机为转轴转动提供动力;当转轴转动后,螺旋刀片把废渣向加热粉碎箱内推送,同时对废渣进行预粉碎,便于处理;承载板用于承载废渣;当两块承载板处于同一水平时,弹簧处于正常状态,废渣不断落在承载板上后,累积的重量使弹簧拉伸,两块承载板向下转动,废渣滑落;碾压轮把废渣碾碎,便于后续处理。

标签:
固废
北京 - 北京 来源:中冶有色网 2023-03-19
有机固体废物堆肥曝气系统

本发明涉及一种有机固体废物堆肥曝气系统,用于动态仓式堆肥工艺,通过独特的、与机械翻堆设备相匹配的曝气模式,精确控制堆体的温度与曝气量,并能够实现臭气自主收集,高效低耗的堆肥曝气系统。本发明提供的一种有机固体废物堆肥曝气系统,包括温度传感器、穿孔曝气管、鼓风机、引风机、阀门、臭气收集管及连接管道。在发酵仓内,翻堆机按照既定频次工作,物料在翻堆机翻堆作用下由发酵仓首向仓尾移动,每翻堆一次后进料一次;一个发酵周期翻堆次数为n,发酵仓内物料可根据进料顺序分为n段;通过对应设置在发酵仓底部的穿孔曝气管,依据对应位置温度传感器监测数据,分别对该段物料鼓风或引风,实现通风曝气、臭气收集和温度控制的工艺目的。

标签:
固废
北京 - 北京 来源:中冶有色网 2023-03-19
上一页 211 212 213 214 215 ... 226 下一页
共226页    到第

中冶有色为您提供最新的北京有色金属固/危废处置技术理论与应用信息,涵盖发明专利、权利要求、说明书、技术领域、背景技术、实用新型内容及具体实施方式等有色技术内容。打造最具专业性的有色金属技术理论与应用平台!

全国热门有色金属设备推荐
展开更多 +
全国热门有色金属技术推荐
展开更多 +

 

江西省隆恩特环保设备有限公司
宣传

报名参会
更多+

报告下载

有色专家
更多+

紫金矿业信息化研发中心
副总经理
西安建筑科技大学
教授
郑州大学
副校长
矿冶科技集团有限公司
正高级工程师/副所长
中国工程院 / 中南大学
中国工程院 院士
赤泥综合利用研究报告2025
推广

热门技术
更多+

推荐企业
更多+

福建省金龙稀土股份有限公司
宣传

发布

在线客服

公众号

电话

顶部
咨询电话:
010-88793500-807