青岛垚鑫智能科技有限公司
宣传

位置:中冶有色 >

有色技术频道 >

> 固/危废处置技术

分类:
全部
矿山技术
冶金技术
材料制备及加工技术
环境保护技术
分析检测技术
 
全部
废水处理技术
大气治理技术
固/危废处置技术
土壤修复技术
地区:
全部
北京
天津
上海
重庆
河北
山西
辽宁
吉林
黑龙江
江苏
浙江
安徽
福建
江西
山东
河南
湖北
湖南
广东
海南
四川
贵州
云南
陕西
甘肃
青海
内蒙
广西
西藏
宁夏
新疆
其他
其他
展开
 
全部
北京

北京有色金属固/危废处置技术理论与应用

免费发布技术信息>>
环保友好型资源节约型固体废弃物存储填埋场

本实用新型涉及垃圾处理领域,公开了一种环保友好型资源节约型固体废弃物存储填埋场,包括开设在地面上的填埋坑,所述填埋坑内部排列有若干个垃圾包,上下相邻的所述垃圾包之间铺设有塑料布。本实用新型作业面影响范围小,且环境视觉友好。

标签:
固废
北京 - 北京 来源:中冶有色网 2023-03-19
带皮带传送装置的建筑垃圾固体废弃物再生骨料分选机

本实用新型涉及一种带皮带传送装置的建筑垃圾固体废弃物再生骨料分选机,包括下支架,上支架以及安装在下支架下方的振动筛选装置,振动筛选装置包括有振动筛,固定安装在振动筛一侧面上的双向振动电机以及减震安装组件,其中振动筛其上端与所述上支架固定相连,上支架带有骨料传送机构,骨料传送机构包括转动辊,转动辊的外侧套设骨料传送带,骨料传送带的一端靠近料斗,另一端位于振动筛的正上方。双向振动电机带动上支架相对于下支架振动时,料斗内的骨料被振动且移动到骨料传送带上被骨料传送带传送到端部并落在振动筛上进行物料筛选工作,保证了料斗内的物料能源源不断的输送到振动筛,实现了料斗内物料传输以及筛选的一体化工序。

标签:
固废
北京 - 北京 来源:中冶有色网 2023-03-19
固体有机废弃物等离子气化处理系统

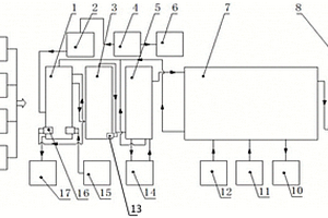
本实用新型公开了一种固体有机废弃物等离子气化处理系统,其特征在于,包括依次相连的给料部分、干燥装置、气化炉、和合成气净化装置;给料部分包括给料装置(1)、和给料通道(2);干燥装置包括干燥热气管(4)、和湿蒸汽出口(10);气化炉包括气化等离子喷枪(7)、气氛调节管(6)、气化室(8)、排渣口(9)、和未净化合成气出口(11);合成气净化装置包括二次加热等离子喷枪(12)、合成气二次加热区(13)、飞灰沉降区(14)、飞灰沉降池(15)、排灰口(16)、和净合成气出口(17)。本实用新型气化效率高、运行稳定、无污染。

标签:
固废
北京 - 北京 来源:中冶有色网 2023-03-19
用于破碎大件固体废弃物的水平式垃圾压缩装置

本实用新型用于破碎大件固体废弃物的水平式垃圾压缩装置,其包括压缩机,电器、液压系统机构箱,填料器,破碎板,挤压板,推压油缸,推压头,破碎板油缸,挤压板油缸,垃圾箱,六角型容料腔;所述的压缩机前与垃圾箱、后与推压头,一侧与填料器相连;挤压板置于填料器内,其两侧为挤压板油缸,并与破碎板和破碎板油缸相连。本实用新型具有收集、破碎、输送、填塞多种功能,且优点较多。

标签:
固废
北京 - 北京 来源:中冶有色网 2023-03-19
隔绝氧气热解处理固体废弃物的装置和方法

本发明涉及一种隔绝氧气热解处理固体废弃物的装置和方法。所述装置包括由炉顶、炉墙、炉底围成的炉膛,炉顶和炉墙包括外层的钢结构层和内层的保温层,炉顶上设有出气口,炉膛中设有物料板、多孔板、转动部、加热部、水封部;转动部包括驱动器和连接杆,连接杆连接炉底和多孔板,驱动器驱动炉底转动;物料板位于多孔板下方,均水平设置,通过连接杆连接,加热部位于物料板下方;水封部包括两组,分别设在多孔板下方、炉底下方,分别实现多孔板、炉底与炉墙的密封;炉墙上设有位于多孔板上方的第一进料螺旋和位于物料板上方的第二进料螺旋。本发明的装置成本低,适于大规模工业化处理物料,原料适应性广,可实现催化剂的原位再生活化。

标签:
固废
北京 - 北京 来源:中冶有色网 2023-03-19
从煤系固体废物中提取氧化铝和氧化硅的方法

一种从煤系固体废物中提取氧化铝和氧化硅的方法,将粉煤灰或煤矸石粉用一定量的浓硫酸拌合均匀后,在120~500℃温度下进行酸解、固化后,与适量煤粉或煤矸石粉或煤气或硫磺等还原剂一起在900~1200℃温度下快速还原焙烧,所得的还原焙砂用低温低碱浸出硅,然后高温高碱浸出铝,含硅浸出液可用于生产白炭黑或活性硅酸钙,含铝浸出液经净化、种分、煅烧生产氧化铝。本发明利用浓硫酸高温反应强化了粉煤灰、煤矸石中铝硅酸盐矿物的分解,然后经高温快速还原焙烧,既实现了硫酸铝的分解脱硫,又提高了二氧化硅的碱浸出活性,从而实现分步浸出硅和铝。

标签:
固废
北京 - 北京 来源:中冶有色网 2023-03-19
用于固体废物处理的等离子体重整燃烧室和方法

本发明公开了用于固体废物处理的等离子体重整燃烧室和方法。本发明的等离子体重整燃烧室同时具备净化和合成气燃烧两种功能。当净化时,等离子体炬开启,等离子体重整燃烧室温度达到950℃以上,停留时间超过2s,经过型面变化烟气温度均匀,避免产生二噁英等有害物质未分解的死区。

标签:
固废
北京 - 北京 来源:中冶有色网 2023-03-19
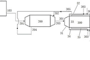
用于固体废物处理的等离子体重整燃烧室

本实用新型公开了用于固体废物处理的等离子体重整燃烧室,其包括自上而下设置的烟气进口、第一扩张段、第一等直段、第一收缩段、第二扩张段、拐角段、灰渣收集段和灰渣出口,在拐角段沿水平方向向外依次连接第二等直段、第二收缩段以及合成气或烟气出口。本实用新型的等离子体重整燃烧室同时具备净化和合成气燃烧两种功能。当净化时,等离子体炬开启,等离子体重整燃烧室温度达到950℃以上,停留时间超过2s,经过型面变化烟气温度均匀,避免产生二噁英等有害物质未分解的死区。

标签:
固废
北京 - 北京 来源:中冶有色网 2023-03-19
固体垃圾废物处置用分类教学用具

本实用新型涉及教学用具技术领域,公开了一种固体垃圾废物处置用分类教学用具,包括框架,所述框架的内壁固定连接有教学面板,所述框架的一侧固定连接有机箱,所述机箱的顶部固定连接有伺服电机,所述伺服电机的输出端固定连接有丝杆,所述丝杆的外壁螺纹连接有限位块。本实用新型具有以下优点和效果:通过设置机箱、伺服电机、丝杆、限位块、连接杆、转接块、支撑杆和条形板擦,当需要对教学面板进行擦除时,伺服电机开始工作带动丝杆进行旋转,驱使限位块通过连接杆、转接块和支撑杆带动条形板擦向下移动,即可轻松完成对教学面板的擦除,避免了人工手持板擦擦除的麻烦,节省了劳动力的使用,达到了该装置可自动擦除教学面板的效果。

标签:
固废
北京 - 北京 来源:中冶有色网 2023-03-19
用于固体废物中重金属形态分析的装置

本实用新型的目的在于提供一种用于固体废物中重金属形态分析的装置,实现对在BCR理论的基础上对提取装置进行改造,使样品损失减少,元素回收率提高,可极大方便实验人员的操作,以解决传统方法所存在的高误差和高损失率等问题,具体包括:取样装置、抽滤瓶和高压闷罐;所述抽滤瓶可与所述取样装置下部结合,所述取样装置可放置于所述高压闷罐内部。

标签:
固废
北京 - 北京 来源:中冶有色网 2023-03-19
固体废物连续湿解处理装置

一种固体废物连续湿解处理装置,包括:一料箱连接一进料系统;该进料系统为一中空管,该中空管的一端过渡形成锥形空管段,在该锥形空管段一顶端为直管过渡段;中空管内部安装一头部为锥形的螺杆,该螺杆的锥形部分相应的安置在中空管的锥形空管段;螺杆轴的尾部连接进料电机;一反应器,高强度不锈钢制成,其一侧安置有蒸气进口,进料系统的直管段与该蒸气进口相通;反应器内安装有带翅螺杆,带翅螺杆轴连接反应器电机;反应器与蒸气进口相对应的另一侧下部设有物料出口。

标签:
固废
北京 - 北京 来源:中冶有色网 2023-03-19
有机固体废弃物好氧发酵工程关键参数数据采集系统

本实用新型涉及一种有机固体废弃物好氧发酵工程关键参数采集系统,包括电源供给单元、数据采集器、传感器单元、数据远程传输单元;所述电源供给单元包括太阳能电板、风力发电机、蓄电池;所述电源供给单元通过电线与所述采集器相连;所述传感器单元包括温湿度传感器、氧浓度传感器、温度传感器;所述传感器与数据采集器通过传感器线缆;所述数据远程传输单元包括数据无线发射模块和无线接收模块,所述无线发射模块与所述数据采集器通过数据传输线连接。该数据采集系统可以同时对环境温湿度、堆层氧浓度和温度进行多点监测,并实现实时显示和远程传输,具有自动化程度高、数据精确、持久耐用、零耗电等优点。

标签:
固废
北京 - 北京 来源:中冶有色网 2023-03-19
用于固体有机废弃物的裂解装置和裂解方法

本发明公开了用于固体有机废弃物的裂解装置和裂解方法,其中,裂解装置包括:裂解炉,裂解炉包括:壳体,壳体水平设置且内部限定出裂解腔室,壳体的顶壁上设置有多个裂解油气出口,壳体的侧壁具有夹套,夹套具有热风进口和冷风出口,壳体的一端为进料端,另一端为出料端;旋转轴,旋转轴水平设置在裂解腔室内,旋转轴上沿长度方向固定设置有多个抄板,旋转轴旋转带动抄板做周向运动;密封进料器,密封进料器与壳体的进料端相连;出料部,出料部与壳体的出料端相连,出料部的底壁上设置有出料口。采用该裂解装置可以显著降低能耗,同时可以提高焦油质量和产率。

标签:
固废
北京 - 北京 来源:中冶有色网 2023-03-19
处理固体废弃物的系统
处理固体废弃物的系统 1164     
 0

本实用新型公开了处理固体废弃物的系统,包括预处理单元、干燥单元、热解单元和筛分单元,热解单元包括:内筒体和外筒体,内筒体可旋转设置,内筒体内形成热解空间,内筒体内壁设有螺旋叶片,内筒体的前端设有干燥物料入口,内筒体的后端设有固态物料出口;外筒体套设在内筒体上形成燃烧空间,燃烧空间设有热解油气管路,热解油气管路的一端与热解空间连通,热解油气管路的另一端在燃烧空间内延伸,在靠近热解油气管路的另一端的外筒体上设有一次风入口和二次风入口,二次风入口与热解油气管路的另一端错开布置,在远离热解油气管路的另一端的外筒体上设有换热烟气出口,换热烟气出口和干燥冷风出口与干燥热风入口相连。

标签:
固废
北京 - 北京 来源:中冶有色网 2023-03-19
用于固体有机废弃物的热解装置和热解方法

本发明公开了用于固体有机废弃物的热解装置和热解方法,其中,热解装置包括:热解炉,热解炉包括:壳体,壳体水平设置且内部限定出热解腔室,壳体的一端为进料端,另一端为出料端,壳体的侧壁具有夹套,夹套内间隔设置有多个隔板,多个隔板在水平方向上间隔布置并将夹套分隔成多个独立的子夹套,每个子夹套分别独立地具有热风进口和冷风出口;旋转轴,旋转轴水平设置在热解腔室内,旋转轴上沿长度方向固定设置有多个抄板,旋转轴旋转带动抄板做周向运动;密封进料器,密封进料器与壳体的进料端相连;出料部,出料部与壳体的出料端相连,出料部设置有热解油气出口和出料口。采用该热解装置可以显著降低能耗,提高热解效率。

标签:
固废
北京 - 北京 来源:中冶有色网 2023-03-19
利用煤系固体废物生产氧化铝的方法

一种利用煤系固体废物生产氧化铝的方法,将破碎、细磨的粉煤灰或煤矸石与浓硫酸拌合均匀后在120~500℃条件下熟化1-8h,然后与还原剂一起在550~900℃温度条件下还原焙烧,得到还原焙砂和含硫烟气,含硫烟气收集后制酸返回硫酸熟化循环使用,用含氢氧化钠的溶液对还原焙砂一次浸出,一次浸出液以硅钙渣为脱硅剂常压脱硅后循环使用,一次浸出渣用种分母液二次浸出得到铝酸钠粗液,铝酸钠粗液用石灰深度脱硅得到硅钙渣和铝酸钠溶液,所得到的铝酸钠溶液种分生产氧化铝,硅钙渣研磨活化后返回用作一次浸出液常压脱硅的脱硅剂和晶种。本发明具有流程简单,生产成本低,铝回收率高,氧化铝产品质量好,渣量少等优点。

标签:
固废
北京 - 北京 来源:中冶有色网 2023-03-19
集装箱式小型化生活垃圾等有机固体废弃物热解装置

本实用新型公开了一种集装箱式小型化生活垃圾等有机固体废弃物热解装置,包括壳体、加热装置、物料输送机、均料装置及翻料装置,所述壳体左上方设有高温气体出口,所述壳体右上方设有入料密封仓,所述入料密封仓内设有双螺旋布料装置,所述壳体左下方设有出料密封仓,所述出料密封仓内设有冷却装置,所述壳体内部设有物料输送机,所述物料输送机自入料密封仓一端延伸至出料密封仓一端,所述物料输送机上方依次设置有均料装置、加热装置、翻料装置及加热装置,所述加热装置包括燃烧器和燃气辐射管,所述燃烧器位于壳体外侧,所述燃烧器通过螺栓与燃气辐射管的一端连接。本实用新型可实现生活垃圾就地处理和后续资源化利用,节能环保,实用性强。

标签:
固废
北京 - 北京 来源:中冶有色网 2023-03-19
用于工业固体废物填埋场收集池的自修复装置

本实用新型公开了一种用于工业固体废物填埋场收集池的自修复装置,包括收集池以及修复材料,所述收集池具有上端敞口的容纳腔,在填埋场出水口处设置装有所述修复材料的透水设施,且在收集池池底铺设一定厚度的修复材料。达到的技术效果为:在填埋场出水口处及收集池池底放入修复材料,用于修复治理填埋场渗滤液;为了安全考虑,收集池中放置重金属检测装置,当收集池中的渗滤液达标后可直接排入地表,且不会造成二次污染;由定期把渗滤液运至专门的处理厂转变为只需要定期更换修复材料即可,节省人力物力消耗。

标签:
固废
北京 - 北京 来源:中冶有色网 2023-03-19
危险固体废物等离子体无害化处理系统

本实用新型公开了一种危险固体废物等离子体无害化处理系统,其包括进给系统、等离子体气化熔融炉、重整燃烧室、热交换系统、烟气治理系统和排气系统,其中等离子体气化熔融炉和重整燃烧室均设置有等离子体炬。本实用新型的系统可有利地用于固定重金属等有毒有害物质,其重金属浸出浓度远远低于毒性浸出标准,可作为建筑材料或者路基材料使用,并且无飞灰二次污染,同时有效地控制剧毒气体(例如,二噁英、臭气)的生成,并能够使得到的烟气中的有害成分降至更低。

标签:
固废
北京 - 北京 来源:中冶有色网 2023-03-19
利用燃煤电厂固体废弃物制备为土壤改良基质的方法

本发明公开了一种利用燃煤电厂固体废弃物制备为土壤改良基质的方法,包括如下步骤:S1.将餐厨垃圾中的难粉碎物和杂物去除并用粉碎机粉碎,以备用;S2.将脱硫污泥和粪便分别在阴凉处风干,以备用;S3.将脱硫石膏和粉煤灰分别烘干、粉碎并过200目筛,将筛下的脱硫石膏和粉煤灰备用;S4.通过筛下的粉煤灰制得人工沸石;S5.将步骤S1、S2中备用的餐厨垃圾、脱硫污泥和粪便按照比例混合均匀,同时添加微生物菌剂、菌渣和坡缕石进行堆肥处理,得到堆肥产品;S6.在堆肥产品中添加步骤S4制得的人工沸石,充分混合均匀后进行堆置处理,得到第一混合产物;S7.在第一混合产物中添加步骤S3中备用的脱硫石膏,进行混合、造粒和干燥处理,以得到土壤改良基质。

标签:
固废
北京 - 北京 来源:中冶有色网 2023-03-19
建筑固体废弃物处理装置

本发明公开了一种建筑固体废弃物处理装置,包括:罐体,其顶部设有进料口,底部设有出料口,所述罐体内设有两个转轴,每个转轴上设有多个搅拌杆且多个搅拌杆位于同一竖直平面上,两个转轴上的搅拌杆交叉设置;防溢机构,其包括滑动设于所述罐体内的防溢板、及驱动组件,所述防溢板上设两个定位孔,所述定位孔连通两个条状开口,两个开口沿所述定位孔对称设置,所述开口处套设有定位筒,所述定位筒内上下间隔设有多对封闭板,所述封闭板与所述定位筒铰接,所述封闭板上间隔设有多对第一弹簧,所述第一弹簧的端部与所述定位筒连接。本发明通过在罐体内设置防溢板,实现将罐体的粉尘压低至罐体底部,减少悬浮的粉尘,从而实现减少粉尘四溢。

标签:
固废
北京 - 北京 来源:中冶有色网 2023-03-19
含油田钻井固体废弃物的油田压裂支撑剂及其制备方法

本发明公开了一种用于制备油田压裂支撑剂的激发增强剂,包含该激发增强剂并以油田钻井固体废弃物为原料的油田压裂支撑剂,和该油田压裂支撑剂的制备方法,所述激发增强剂包括如下组分:按质量分数计,包括如下组分:聚二甲基二烯丙基氯化铵5~10%、6wt%浓度的聚合氯化铝水溶液3~5%、聚氧乙烯月桂基醚0.1~0.2%、双氧水2~5%、铝酸钠4~8%、氧化钙20~30%、羟甲基纤维素钠5~10%、偏硅酸钠5~15%、环氧乙烷10~15%、二氧六环1~3%、8‑羟基喹啉0.5~1.0%、乙二胺四乙酸10~15%、纤维素醚5~15%;其中,所述的聚二甲基二烯丙基氯化铵的分子量不高于3万。

标签:
固废
北京 - 北京 来源:中冶有色网 2023-03-19
固体废弃物热解处理装置和方法

本发明涉及固体废弃物热解处理装置和方法。所述装置包括由炉顶、炉墙、炉底围成的炉膛,炉墙上设有出气口;炉膛中设有多孔板、物料板、水封装置、加热装置,多孔板上端面设有依次连接的n个区域,n为大于1的整数,其上方的炉墙上设有第一进料螺旋,物料板位于多孔板下方,其上方的炉墙上设有第二进料螺旋,加热装置设在物料板下方,水封装置设有三组,分别在炉顶下方、多孔板下方、炉底下方,分别实现其与炉墙的密封,第一连接杆连接炉顶与多孔板,第一驱动器驱动炉顶转动,第二连接杆连接炉底与物料板,第二驱动器驱动炉底转动。本发明可最大程度降低粗热解气中焦油含量,成本低,原料适应性广。

标签:
固废
北京 - 北京 来源:中冶有色网 2023-03-19
建筑垃圾和固体废弃物智能处理系统及其控制方法

本发明公开了一种建筑垃圾和固体废弃物智能处理系统及其控制方法,所述处理系统包括配料子系统、成型机、升板机、降板机、分板机、码垛机和转运子母车,配料子系统和成型机之间设有配料输送系统,成型机和升板机之间设有第一输板系统,降板机和分板机之间设有第二输板系统,分板机和成型机之间设有第三输板系统,分板机和码垛机之间设有成品输送系统。其具有自动化程度高、生产效率高、劳动强度小的优点,可有效降低劳动强度,并减小人为因素对产品质量和统一性的影响,提高了标准化程度;所述控制方法具有智能、高效的特点,并可有效降低能耗。

标签:
固废
北京 - 北京 来源:中冶有色网 2023-03-19
用于固体有机废弃物的热解装置

本实用新型公开了用于固体有机废弃物的热解装置,包括:热解炉,热解炉包括:壳体,壳体水平设置且内部限定出热解腔室,壳体的一端为进料端,另一端为出料端,壳体的侧壁具有夹套,夹套内间隔设置有多个隔板,多个隔板在水平方向上间隔布置并将夹套分隔成多个独立的子夹套,每个子夹套分别独立地具有热风进口和冷风出口;旋转轴,旋转轴水平设置在热解腔室内,旋转轴上沿长度方向固定设置有多个抄板,旋转轴旋转带动抄板做周向运动;密封进料器,密封进料器与壳体的进料端相连;出料部,出料部与壳体的出料端相连,出料部设置有热解油气出口和出料口。采用该热解装置可以显著降低能耗,提高热解效率。

标签:
固废
北京 - 北京 来源:中冶有色网 2023-03-19
固体废弃物焚烧炉
固体废弃物焚烧炉 931     
 0

一种固体废弃物焚烧炉,包括燃烧室、燃烧器、鼓风机、烟囱、炉门、高位油箱、柴油管路系统、连接烟道、电控箱、上料机构等组成,其炉体设有两个燃烧室,并分别配置有两个燃烧机。第二燃烧室外面架设有电控箱,机架顶端与燃烧室相连设有烟囱,高位油箱通过柴油管路系统分别连接到一燃室和二燃室。在炉体外安装鼓风机,通过连接烟道连至烟囱。设有自动上料机构。本实用新型的结构特点是:炉型结构独特新颖,简洁紧凑,占地小,便于制造、运输、安装。设有两个燃烧炉体,炉体采用圆筒形。无炉箅,平卧安装。最大特点为无炉箅,打破了传统的炉箅送氧燃烧的缺陷。燃烧室炉膛容积热负荷和断面热负荷都超过了燃烧的热值要求。

标签:
固废
北京 - 北京 来源:中冶有色网 2023-03-19
处理高固体含量废水的厌氧反应装置

本实用新型涉及一种处理高固体含量废水的厌氧反应装置,该装置由调节池,厌氧反应器、沼气收集系统、PLC控制系统和真空脱气器通过管道、阀门和泵等连接组成。调节池的调节池出水口通过管道与厌氧反应器的厌氧进水口相连;沼气收集系统的气水分离罐通过沼气导管穿过厌氧反应器的顶盖和厌氧反应器相连;厌氧温控仪装在厌氧反应器的顶盖上;厌氧搅拌器安装在厌氧反应器顶盖的中心位置上;真空脱气器进水口通过管道和焊接于厌氧反应器底部的厌氧出水口相连。

标签:
固废
北京 - 北京 来源:中冶有色网 2023-03-19
用于近地表处置场的覆盖层结构、放射性固体废物处置系统

本发明公开了一种用于近地表处置场的覆盖层结构,包括防渗层,所述防渗层设于近地表处置场的表面,且防渗层的上表面呈锯齿状,以在其上表面上形成多个排水沟。本发明还公开了一种放射性固体废物处置系统。本发明可为近地表处置场提供有效保护,防止水分渗漏到近地表处置场的处置单元内。

标签:
固废
北京 - 北京 来源:中冶有色网 2023-03-19
热能高效利用的含油固体废物热脱附系统及工艺

本发明提供了一种热能高效利用的含油固体废物热脱附系统及工艺,所述系统包括:热脱附装置、除尘装置、除尘脱水装置及焚烧装置,所述热脱附装置的高温脱附气出口通过管路与所述除尘装置的入口相连,除尘装置的气体出口通过管路与所述除尘脱水装置的进气管道相连,除尘脱水装置的排气管道通过管路与所述焚烧装置的入口相连。本发明所提供的该工艺及系统运行操作难度小,成本低,能量利用效率高。

标签:
固废
北京 - 北京 来源:中冶有色网 2023-03-19
从煤系固体废物预脱硅提取氧化铝的酸碱联合工艺

一种从煤系固体废物预脱硅提取氧化铝的酸碱联合工艺,将粉煤灰或煤矸石粉用一定量的浓硫酸拌合均匀后,在120~500℃温度下进行酸解、固化,然后在900~1200℃温度下快速焙烧0.1~60min,得到焙砂和含硫烟气;焙砂经常压低温碱浸预脱硅得到高铝渣,然后采用加压高温碱浸从高铝渣中提取氧化铝。本发明通过高温快速焙烧,既提高了常压碱浸预脱硅的效果,又保证了氧化铝的浸出活性,实现酸法与碱法工艺的优势互补。

标签:
固废
北京 - 北京 来源:中冶有色网 2023-03-19
上一页 209 210 211 212 213 ... 226 下一页
共226页    到第

中冶有色为您提供最新的北京有色金属固/危废处置技术理论与应用信息,涵盖发明专利、权利要求、说明书、技术领域、背景技术、实用新型内容及具体实施方式等有色技术内容。打造最具专业性的有色金属技术理论与应用平台!

全国热门有色金属设备推荐
展开更多 +
全国热门有色金属技术推荐
展开更多 +

 

江西省隆恩特环保设备有限公司
宣传

报名参会
更多+

报告下载

有色专家
更多+

昆明理工大学
教授
赣州江钨钨合金有限公司
副总经理
西安建筑科技大学
教授
中国矿业大学
副院长/教授
赣州有色冶金研究所有限公司
副主任/高级工程师
赤泥综合利用研究报告2025
推广

热门技术
更多+

推荐企业
更多+

福建省金龙稀土股份有限公司
宣传

发布

在线客服

公众号

电话

顶部
咨询电话:
010-88793500-807