青岛垚鑫智能科技有限公司
宣传

位置:中冶有色 >

有色技术频道 >

> 废水处理技术

分类:
全部
矿山技术
冶金技术
材料制备及加工技术
环境保护技术
分析检测技术
 
全部
废水处理技术
大气治理技术
固/危废处置技术
土壤修复技术
地区:
全部
北京
天津
上海
重庆
河北
山西
辽宁
吉林
黑龙江
江苏
浙江
安徽
福建
江西
山东
河南
湖北
湖南
广东
海南
四川
贵州
云南
陕西
甘肃
青海
内蒙
广西
西藏
宁夏
新疆
其他
其他
展开
 
全部
南京
无锡
徐州
常州
苏州
南通
连云港
淮安
盐城
扬州
镇江
泰州
宿迁

江苏苏州有色金属废水处理技术理论与应用

免费发布技术信息>>
化学镀铜循环处理工艺

一种化学镀铜循环处理工艺,其基本流程为:前处理→化学镀铜→铜回收→漂洗→漂洗废水回收处理。其中,所述工艺具体为首先将待镀铜工件表面的油脂和氧化膜层去除并清洗干净,然后即进行化学镀铜处理,镀完后进行铜回收,鉴于存在小部分残留镀液依然附于工件表面,即对其进行漂洗处理,而该步骤优选采用三级逆流漂洗工艺,漂洗完后所得废水中依然存在需处理的重金属,因此接着进行废水回收处理,将其漂洗废水中所含重金属进行回收,而所得的净水直接回用于漂洗工件。本发明的化学镀铜循环处理工艺本身已形成闭路循环,所得回收的重金属和水可以再利用,基本上实现了废水的零排放,避免其造成环境污染。

标签:
废水处理
江苏 - 苏州 来源:中冶有色网 2023-03-19
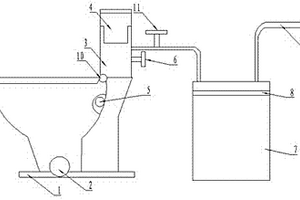
节水净水坐便器
节水净水坐便器 869     
 0

本发明公开了一种节水净水坐便器,包括坐便器本体和废水集中箱两部分,废水集中箱通过进水口与洗涤用水,冲洗用水连接,同时在废水集中箱上侧设置有紫外线杀菌灯,废水集中箱通过水管连接到水箱,水箱上方设置有加压装置,在水箱和废水集中箱的连接水管上设置有水量控制阀门,在坐便器本体下方设置有坐便器底座,上方设置有坐便器进水口,同时在底座上设置有中空的排污口,本发明具有节水功能,同时由于设置了加压装置,冲洗效果更佳。

标签:
废水处理
江苏 - 苏州 来源:中冶有色网 2023-03-19
高浓度金属离子提取装置

本实用新型公开了一种高浓度金属离子提取装置,包括,预处理装置、反应箱、连接通管以及集水箱;本实用新型设置预处理装置,通过微滤芯、超滤芯实现对废水中悬浮物、微生物等杂质的处理,防止废水中杂质影响金属离子的提取回收;阳极棒与阴极棒分别与电源正、负极电性连接,通电后,废水中的难去除金属离子在电解的作用下,可形成金属单质聚集在阴极棒表面,振动马达在负极支架上震动,可将阴极棒表面聚集的金属单质抖落到废水中,辅助其脱落,便于收集,在连接通管内设置过滤筛盒可对含有金属单质的废水进行拦截过滤,便于提取回收金属单质;抽水泵连接进水管,可对废水进行循环处理,提高电解提取效率。

标签:
废水处理
江苏 - 苏州 来源:中冶有色网 2023-03-19
添加次氯酸钠的方法及装置

本发明公开了废水处理技术领域的一种添加次氯酸钠的方法及装置,添加次氯酸钠的方法包括:采集废水处理池内废水的ORP值;当采集到的ORP值小于设定的第一阈值时,开始向废水处理池内添加次氯酸钠;当采集到的ORP值大于设定的第二阈值时,停止向废水处理池内添加次氯酸钠;能准确控制次氯酸钠的添加量,减少副产物的生成,提高了水处理的效率。

标签:
废水处理
江苏 - 苏州 来源:中冶有色网 2023-03-19
涂装行业污水处理工艺

本发明涉及涂装污水处理技术领域,尤其为一种涂装行业污水处理工艺,包括涂装废水处理工艺和综合处理工艺,包括以下处理工艺步骤:S1,涂装循环池废水进行压滤,滤液进入沉淀池,收集池中的涂装废水进入芬顿氧化池,再进行混凝沉淀;S2,电泳废水通过沉淀后自流进入综合调节池,通过泵送首先进入混凝沉淀池;S3,中间水池中水经泵提升至生化池,进行有机物的降解;S4,综合废水沉淀过程产生的剩余污泥由泵输送至污泥浓缩池,再由压滤机进行脱水处理,该套涂装行业污水处理综合技术能够针对不同工艺过程中产生的废水分别收集进行预处理,极大地降低了处理难度,后续采用合适的处理工艺,实现达标排放,实现涂装行业的可持续发展。

标签:
废水处理
江苏 - 苏州 来源:中冶有色网 2023-03-19
重油污清洗机环保水处理系统及其处理方法

本发明公开了一种重油污清洗机环保水处理系统,包括清洗机,还包括废水处理池、蒸馏罐、电解离子水系统和储水罐,所述清洗机的出水口连接废水处理池的进水口,所述废水处理池的出水口连接蒸馏罐的进水口,所述蒸馏罐的出水口连接电解离子水系统的进料口,电解离子水系统的出料口连接储水罐的进水口,所述储水罐的出水口连接清洗机的进水口。本发明还公开了一种重油污清洗机环保水处理系统的处理方法,清洗后的废水经清洗机的出水口进入废水处理池,经过滤处理后pH值为8.5的废水进入蒸馏罐,蒸馏后得到pH值为7‑8.5且不含油脂的纯水沿管道进入含电解槽的电解离子水系统,收集负极得到的电解水并循环利用。本发明采用电解水系统代替化学药剂,去污效果更强,可循环利用,使用成本低,环保效果好。

标签:
废水处理
江苏 - 苏州 来源:中冶有色网 2023-03-19
恒温供水装置
恒温供水装置 1039     
 0

本案涉及一种恒温供水装置,包括储水箱和冷水机组,所述冷水机组的进水口连通所述储水箱的底部,所述储水箱中的水通过含甲酰胺和N‑甲基吡咯烷酮废水经脱氮处理制得。本发明在高浓废水中加入过铁炭反应器,进行微电解反应,降低了后续的处理难度,提高了脱氮效率;进行反硝化反应、硝化反应、过滤,能够有效去除废水中残留的甲酰胺和N‑甲基吡咯烷酮,从而达到回收利用的目的,保护了环境,降低了生产成本。

标签:
废水处理
江苏 - 苏州 来源:中冶有色网 2023-03-19
一体化芬顿设备集成系统前处理工艺

本发明公开了一种一体化芬顿设备集成系统前处理工艺,包括以下步骤:S1将原废水接入调节池均质废水水质;S2将废水泵入pH调整池,pH调整池可加入硫酸使得pH调整池内的PH值至酸性;S3将pH调整池内的工艺废水泵入氧化池A,并投加氧化剂;S4将氧化池A的出水泵入氧化池B,并投加双氧水进行高级芬顿氧化反应;S5在经过高级芬顿氧化反应的废水中投加液碱调节pH值至中性后,加入聚丙烯酰胺进行混凝反应;S6将经混凝反应处理后的出水排入沉淀池进行泥水分离,沉淀出水进入清水池,产生的污泥泵入污泥浓缩池;S7沉淀池出水溢流至后续废水处理工艺。该工艺氧化能力强,处理效率高,运行费低,大幅缩短了施工周期。

标签:
废水处理
江苏 - 苏州 来源:中冶有色网 2023-03-19
可以过滤沉降型污染物的沉淀水箱

本发明公开了一种可以过滤沉降型污染物的沉淀水箱,包括废水管道、扩散导管、加固支撑架、溢流口和排污口,所述废水管道与进水口相连接,且进水口上设置有法兰盘,所述法兰盘上设置有固定孔,所述扩散导管与进水口相连接,所述水箱体的顶端设置有围堰,所述溢流口与水箱体相连接,所述排污口位于水箱体的底部,所述支撑底座与水箱体相连接。该可以过滤沉降型污染物的沉淀水箱是在普通PE储水水箱上加以改造,利用重力沉降原理,将比重大于水的污染物沉入水底,水从水箱体上端溢流口溢出,水箱体的内部设置有扩散导管,并且扩散导管的直径大于废水管道的直径,这样废水从废水管道流入到扩散导管时,废水的水流速度降低。

标签:
废水处理
江苏 - 苏州 来源:中冶有色网 2023-03-19
脱胶机的清洗系统
脱胶机的清洗系统 1058     
 0

本实用新型公开了一种脱胶机的清洗系统,与脱胶机相连接并用于清洗脱胶机,所述脱胶机包括脱胶机主体和储水池,所述储水池用于向脱胶机主体供水,所述清洗系统包括清洗线、废水池、水泵、储水桶、控制阀、废水管道、清洗管道,所述废水池的入口端通过废水管道连接于清洗线,所述废水池的出口端通过水泵连接于储水桶的入口端,所述储水桶的出口端通过清洗管道连接于所述储水池,所述控制阀设置于所述清洗管道上并用于控制通断。本实用新型可将清洗线产生的废水用于供应脱胶机用水,降低了废水排放量,也节省了车间用水。

标签:
废水处理
江苏 - 苏州 来源:中冶有色网 2023-03-19
砂石场地面排水系统
砂石场地面排水系统 1030     
 0

本实用新型涉及地面排水的技术领域,尤其是涉及一种砂石场地面排水系统。一种砂石场地面排水系统,包括废水收集池,废水收集池连通有废水处理系统,废水收集池与废水处理系统之间连通有若干排水沟渠,废水处理系统包括调节池,调节池与废水收集池通过排水沟渠连通,调节池的另一端连通有沉砂池,沉砂池的另一端连通有混合搅拌池,混合搅拌池的另一端连通有沉淀池,沉淀池的另一端连通有回收池,沉淀池与回收池之间设置有过滤装置,回收池边上设置有加压泵,加压泵上设置有给水管和出水管,给水管与回收池连通,出水管与工厂连通。基本实现了水能的循环使用,节约了水资源也保护了环境。

标签:
废水处理
江苏 - 苏州 来源:中冶有色网 2023-03-19
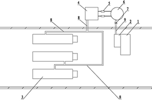
压铸废液循环使用系统及循环使用方法

本发明公开了一种压铸废液循环使用系统及循环使用方法,该循环使用系统具有箱体,所述箱体内设置有真空过滤系统、废液集中池、控制箱、刮板系统、杀菌系统、离心过滤系统、网袋过滤系统、电絮凝系统、袋式过滤器和膜过滤器。本发明的优点:从抽取-过滤-离心(定制)-杀菌-电絮凝-气混-钙镁离子回收-袋式过滤器-膜过滤各项协同使用,节能环保,创造财富.通过PLC控制,实现设备的高效运转,每小时处理量高达五吨,占地面积40平米,同比修建污水处理厂,省时、省力、省地、便捷、物理方式处理,对环境友善,循环使用,高效环保。处理完的废水达到回用水标准,循环使用设备,涉及含油废水的节能减排,废水利用,保护资源,防止二次污染。

标签:
废水处理
江苏 - 苏州 来源:中冶有色网 2023-03-19
炼钢精炼除尘灰综合利用的方法

本发明涉及一种炼钢精炼除尘灰综合利用的方法,本发明采用炼钢精炼除尘灰来中和处理冷轧酸性废水,利用精炼除尘灰中的CaO等碱性物质,中和处理冷轧酸性废水,使废水经过曝气、中和、PH调节、絮凝沉降等过程而达到排放标准,同时炼钢精炼除尘灰和轧酸性废水中Fe、Zn等有价元素进入沉淀的污泥中,污泥经脱水、压滤得到泥饼,通过高温还原工艺处理后得到金属化球团和富锌粉尘,回收Fe、Zn等有价元素。本发明可同时使炼钢精炼除尘灰和冷轧酸性废水得到处理,解决了环保上的难题,实现了以废治废,同时可回收炼钢精炼除尘灰和冷轧酸性废水中的Fe、Zn、Mn等有价元素,实现资源的回收利用,具有非常显著的经济效益和环境效益。

标签:
废水处理
江苏 - 苏州 来源:中冶有色网 2023-03-19
含氮磷废液后端处理系统

本实用新型公开了一种含氮磷废液后端处理系统,包括废水处理组件和污泥处理组件,废水处理组件包括废水依次经过的第一中间水池、第二中间水池、前端芬顿反应、生化反应处理系统、后端芬顿反应、末端过滤系统、保安过滤器、RO处理系统,第一中间水池和第二中间水池之间设有蒸发器,污泥处理组件作为废水处理组件中沉积污泥的处理,并能将污泥中的废水回传经废水处理组件重新处理。本实用新型设计紧凑、布局合理、统一管理、针对性强且处理效果好,能持续对污水进行处理,且具备后端保障处理,确保废水处理达标排放,且实现100%除氮磷。

标签:
废水处理
江苏 - 苏州 来源:中冶有色网 2023-03-19
便携饮水机的结构
便携饮水机的结构 816     
 0

本实用新型公开了一种便携饮水机的结构,具有免安装、便携式、插电即用、无浪费水、三合一滤芯、无漏水风险等特点,其特征在于包括原水槽,过滤加压装置,依水路方向包括:一加压泵、一前置过滤系统、一反渗透系统、一后置过滤系统和一纯水通道,其中该反渗透系统还包括一废水管;废水槽,连通所述废水管,具有废水开关;纯水槽,连通所述纯水通道,具有一个使多余纯水流向所述废水槽的溢流通道;该废水开关连通控制于该加压泵的回路中。本方案构成了一个便携的直饮水方案。只要加压泵上电,向原水槽倒入原水,保持废水槽清空,则可以从纯水槽快速收集到直饮水,即插即用;从反渗透系统产生的高浓度水直接被废水槽收集,渗透膜的使用寿命得到保障。

标签:
废水处理
江苏 - 苏州 来源:中冶有色网 2023-03-19
利用活性污泥去除水中六价铬及总铬的方法

一种利用活性污泥去除水中六价铬及总铬的方法,涉及含铬废水处理技术领域。本发明的目的是要解决采用化学法处理低浓度含铬废水存在处理成本高以及采用常规生物处理方法处理低浓度含铬废水效果差的问题。方法:将含铬废水的pH调节至5.0~6.0,加入硫酸钠和葡萄糖,得到处理后的含铬废水;将处理后的含铬废水通入到添加有培养驯化过的厌氧活性污泥的多级厌氧生物反应池内,水力停留时间为6h~10h;利用碱液将多级厌氧生物反应池内含铬废水的pH调节至7.0~7.5,通入到沉淀池内沉淀2h~3h,取上清液,完成利用活性污泥去除水中的六价铬及总铬。本发明可获得一种利用活性污泥去除水中六价铬及总铬的方法。

标签:
废水处理
江苏 - 苏州 来源:中冶有色网 2023-03-19
免安装便携式纯水机
免安装便携式纯水机 782     
 0

一种免安装便携式纯水机,其包括一本体基架、一组装于本体基架上的原废水箱、净水模组以及设置在本体基架中的泵模组、过滤模组以控制模组;其中原废水箱、净水模组及泵模组是设在本体基架的一侧,过滤模组是设在本体基架的另一侧,原废水箱位于本体基架一侧的后部上方,泵模组位于原废水箱的下方,净水模组位于本体基架一侧的前部;本体基架中设有连接原废水箱、泵模组、过滤模组及净水模组的净水通道,以及连接过滤模组与原废水箱的废水管通道;同时本体基架中的控制模组与泵模组及外接电源呈电路连接;原废水箱的进水口水位高于废水入水口水位。实现免安装、便携式、插电即用、多重过滤、无漏水风险等功效,并集萃取、加热或制冷处理为一体。

标签:
废水处理
江苏 - 苏州 来源:中冶有色网 2023-03-19
强化铁碳微电解反应器

本实用新型涉及一种强化铁碳微电解反应器,包括内部盛装铁碳填料的反应容器,其特征在于,所述反应容器内沿竖直方向间隔设置两个以上的承载层,各承载层上分别布设曝气及反冲洗装置,且各承载层上均设置复数个通孔。本实用新型结构简单,易于组装维护,既具有流化床的优点,又保持了固定床工作时的推流特性,且可有效克服内部铁碳填料经长期使用后的钝化和板结现象,从而可降低厂家的经营成本,并提高工作效率。本实用新型可被广泛应用于如染料生产废水,印染废水,制药废水,有机与石油化工废水,合成洗涤剂废水、含油废水、含氰废水,电镀废水、煤气洗涤水、制革废水和厨房污水等的预处理及深度处理。

标签:
废水处理
江苏 - 苏州 来源:中冶有色网 2023-03-19
耐低温多糖型微生物絮凝剂的制备方法及其应用

本发明公开了一种耐低温多糖型的微生物絮凝剂制备方法,其步骤包括:将Klebsiella oxytoca GS‑4‑08菌种用于蔗糖废水和腈类废水的同步处理;利用处理后的得到的废水进行醇沉等步骤收集菌株所分泌的胞外聚合物即微生物絮凝剂。本发明还公开了得到的上述的微生物絮凝剂在废水尤其是豆制品废水的絮凝处理中的应用。本发明的有益效果:本发明生产的微生物絮凝剂的方法是将菌种Klebsiella oxytoca GS‑4‑08在处理蔗糖和乙腈的混合废水的同时,有效利用废水中的碳源和氮源产生出微生物絮凝剂,无需额外添加用于培养微生物絮凝剂所需的碳源和氮源,因而可节约大量的生产成本;制备出的微生物絮凝剂可对豆制品废水进行絮凝作用,COD去除效果可达82.18%。

标签:
废水处理
江苏 - 苏州 来源:中冶有色网 2023-03-19
双氧水的催化氧化装置

本实用新型揭示了一种双氧水的催化氧化装置,属于废水处理技术领域。催化氧化装置包括进水管、催化氧化塔、加碱装置和加双氧水装置,废水进入进水管中,加碱装置先向废水中添加碱性溶液,使废水中混合碱性溶液,加双氧水装置进一步向混合碱性溶液的废水中添加双氧水,使废水混合碱性溶液和双氧水;混合了碱性溶液和双氧水的废水输送至催化氧化塔中进行催化氧化处理,以消除废水中的有机物质。本实用新型使得双氧水可在碱性条件下对废水中的有机物进行降解,使双氧水的应用范围更广。

标签:
废水处理
江苏 - 苏州 来源:中冶有色网 2023-03-19
免安装便携直饮水机
免安装便携直饮水机 1230     
 0

本发明公开了一种免安装便携直饮水机,具有免安装、便携式、插电即用、无浪费水、三合一滤芯、无漏水风险等特点,其特征在于包括原水槽,过滤加压装置,依水路方向包括:一加压泵、一前置过滤系统、一反渗透系统、一后置过滤系统和一纯水通道,其中该反渗透系统还包括一废水管;废水槽,连通所述废水管,具有废水开关;纯水槽,连通所述纯水通道,具有一个使多余纯水流向所述废水槽的溢流通道;该废水开关连通控制于该加压泵的回路中。本方案构成了一个免安装便携的直饮水方案。只要加压泵上电,向原水槽倒入原水,保持废水槽清空,则可以从纯水槽快速收集到直饮水,即插即用;从反渗透系统产生的高浓度水直接被废水槽收集,不参与再渗透,渗透膜的使用寿命得到保障。

标签:
废水处理
江苏 - 苏州 来源:中冶有色网 2023-03-19
废酸专用膜浓缩装置
废酸专用膜浓缩装置 1114     
 0

本实用新型适用于酸性废水浓缩技术领域,提供了一种废酸专用膜浓缩装置,包括废水池,所述废水池上设置有恒温组件,所述废水池通过调节所述恒温组件保持所述废水池内部温度恒定,始终保持温度在35℃以下,所述过滤器上连接有反洗管道,所述反洗管道中通过清水对过滤器进行清洗,所述清水池连接着所述反洗管道另一端,通过调节按钮调节温度调节器将废水池内部设置一个恒定的温度,让废水池内部温度保持在35℃以下,温度调节器上会显示废水池内部的温度,当温度过高时,温度调节器就会对废水进行降温,使得废水可以快速降低到设定的温度,这样就可以解决废水温度过高需等温度降低后再进行浓缩沉淀,影响工作效率的问题。

标签:
废水处理
江苏 - 苏州 来源:中冶有色网 2023-03-19
次氯酸钠的催化分解工艺

本发明提供了一种次氯酸钠的催化分解工艺,包括以下步骤:(1)将含次氯酸钠废水原水导入絮凝沉淀槽中,加入絮凝剂进行絮凝,然后再进行沉淀处理;(2)将废水导入浓度调节槽,对废水的浓度进行稀释;(3)将废水导入pH值调节池,将pH值调节至10.5‑11.5;(4)废水导入催化塔内,废水在催化塔内与催化剂沸石负载锰镍氧化物复合材料充分接触反应;将经催化处理后的废水的pH值调节至中性,然后排出。本发明对含次氯酸钠废水的处理效率高,可使次氯酸钠的分解率达到98%以上,可使处理后的含次氯酸钠废水完全达到排放标准。

标签:
废水处理
江苏 - 苏州 来源:中冶有色网 2023-03-19
免安装便携式纯水机
免安装便携式纯水机 1097     
 0

一种免安装便携式纯水机,其包括一本体基架、一组装于本体基架上的原废水箱、净水模组以及设置在本体基架中的泵模组、过滤模组以控制模组;其中原废水箱、净水模组及泵模组是设在本体基架的一侧,过滤模组是设在本体基架的另一侧,原废水箱位于本体基架一侧的后部上方,泵模组位于原废水箱的下方,净水模组位于本体基架一侧的前部;本体基架中设有连接原废水箱、泵模组、过滤模组及净水模组的净水通道,以及连接过滤模组与原废水箱的废水管通道;同时本体基架中的控制模组与泵模组及外接电源呈电路连接;原废水箱的进水口水位高于废水入水口水位。实现免安装、便携式、插电即用、多重过滤、无漏水风险等功效,并集萃取、加热或制冷处理为一体。

标签:
废水处理
江苏 - 苏州 来源:中冶有色网 2023-03-19
电镀用污水处理设备
电镀用污水处理设备 776     
 0

本发明涉及电镀技术领域,尤其涉及一种电镀用污水处理设备,旨在解决现有技术中电镀废水对环境造成污染的问题,其包括含氰废水收集池、含氰废水预处理装置、含铬废水收集池、含铬废水预处理装置、综合调节池、一次蒸汽装置、二次蒸汽装置以及收集装置;蒸汽箱的进水口通过管道与综合调节池相连通,出水口连接有出水管;蒸汽箱的第二进气管通过管道连接有蒸汽发生器,第一出气管通过管道连接有第一废气塔;首先有效去除含铬废水中的铬离子以及含氰废水中的氰根离子,有效避免含有重金属离子的电镀废水排入河道而危害环境;并对处理过的混合废水进行蒸汽加热使得形成残渣,从而能够进一步避免电镀废水排放对环境造成污染。

标签:
废水处理
江苏 - 苏州 来源:中冶有色网 2023-03-19
铜排连续无触点镀锡装置

本实用新型公开了一种铜排连续无触点镀锡装置,包括铜排镀锡装置主体,其特征在于:所述铜排镀锡装置主体的上端设置有电控系统机箱,所述电控系统机箱的外壁开设有有散热口,所述电控系统机箱的前端外表面设置有智能显示屏,所述智能显示屏的下端设置有操控按钮,所述电控系统机箱的一侧设置有清洗装置机箱,所述清洗装置机箱包括清洗水池、旋转清洗机构、进水机构、排水机构,本实用新型所述的一种铜排连续无触点镀锡装置,具备生产过程全程密封,自动化程度高,全程智能化机械操作,且设置了废水、废气回收过滤装置,具有操作简单、智能化程度高、安全、环保等优点,带来更好的使用前景。

标签:
废水处理
江苏 - 苏州 来源:中冶有色网 2023-03-19
污泥干燥焚烧处理装置

本实用新型公开了污泥干燥焚烧处理装置,包括干燥室、输送筒、扣环机构和震动装置,所述干燥室的顶端设置有输送筒,且输送筒的顶端设置有搅拌箱,并且搅拌箱的顶端设置有进料口,所述进料口的一侧设置有扣环机构,且搅拌箱的内部设置有搅拌杆,并且搅拌杆的一端设置有第一电机。本实用新型通过在将需要处理的污泥或废水从进料口处灌进搅拌箱内,启动第一电机,使第一电机带动搅拌杆进行转动,对内部的废料进行简单的搅拌,避免成团凝固妨碍下一步工作的运程,搅拌后的废料进入输送筒内部,启动第二电机,使第二电机带动输送轴进行转动,并使热气储存箱内部的热气进入输送筒内部进行对输送筒内部的废料进行初步的干燥。

标签:
废水处理
江苏 - 苏州 来源:中冶有色网 2023-03-19
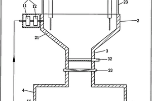
含铬废液处理系统
含铬废液处理系统 1171     
 0

本实用新型公开了一种含铬废液处理系统,其特征在于,一废液调节槽,用于收集含铬废液进行预处理;所述废液调节槽通过管道连接一反应槽,用于进行中和反应和氧化还原反应;所述反应槽连接于一蒸发器,用于将反应后的废液进行加热蒸发,所述蒸发器连接于一降温池,用于收集蒸发废液所产生的蒸汽。本实用新型所述含铬废液处理系统先通过酸碱值(pH)及氧化还原电位(ORP)在线分析仪控制碱性药剂及还原剂加药量,去除蚀刻废液中强氧化性化学品,再进行蒸发分离,减少处理过程中火灾爆炸危险,可达到废水重金属零排放目的。

标签:
废水处理
江苏 - 苏州 来源:中冶有色网 2023-03-19
方便对电路板进行固定的除尘装置

本实用新型公开了一种方便对电路板进行固定的除尘装置,包括横板和过滤箱,所述第一连接管的上面设置有水泵,且第一连接管和储水箱的左侧相连接,所述驱动机的下端设置有放置台,且放置台的上面安装有固定杆,所述密封箱的内部上端设置有导轨,且导轨的上面设置有活动杆,并且活动杆的下端右侧连接有橡胶环,所述橡胶环的上面安装有喷头,且喷头和软管相连接,所述放置台的上面预留有螺纹孔,所述固定杆的上侧底部设置有橡胶片,所述连接环的右侧连接有液压缸,且液压缸位于导轨的右下方。该方便对电路板进行固定的除尘装置,能够针对印制电路板的尺寸对其进行固定,且能快速有效的对电路板进行清洗,并且具备废水回收功能,能够达到环保的作用。

标签:
废水处理
江苏 - 苏州 来源:中冶有色网 2023-03-19
适用于循环冷却水系统的自动加药排污装置

本实用新型公开了一种适用于循环冷却水系统的自动加药排污装置,包括一架台,架台上分别设有电控箱、加药及排污管道、加药泵和加药桶;加药及排污管道的两端分别与循环冷却水系统主管道的进水管和回水管连接;加药泵的两端分别通过橡胶软管与加药桶和加药及排污管道连接;加药及排污管道上设有流量计、电导率探头、排污电动阀和腐蚀挂片架。本实用新型通过检测电导率和腐蚀率,便可实现药剂的精准自动投加和废水的精准自动排污,从而有效控制循环冷却水系统管路腐蚀情况,防止循环冷却水系统结垢、长藻,保证循环冷却水系统正常运行,降低了循环冷却水系统的维护费用,而且所有装置都集成在一个架台上,操作简便,适用于各种循环冷却水系统。

标签:
废水处理
江苏 - 苏州 来源:中冶有色网 2023-03-19
上一页 19 20 21 22 23 ... 118 下一页
共118页    到第

中冶有色为您提供最新的江苏苏州有色金属废水处理技术理论与应用信息,涵盖发明专利、权利要求、说明书、技术领域、背景技术、实用新型内容及具体实施方式等有色技术内容。打造最具专业性的有色金属技术理论与应用平台!

全国热门有色金属设备推荐
展开更多 +
全国热门有色金属技术推荐
展开更多 +

 

江西省隆恩特环保设备有限公司
宣传

报名参会
更多+

报告下载

有色专家
更多+

赣州有色冶金研究所有限公司
副主任/高级工程师
辽宁忠旺集团
教授级高工
北京科技大学
副院长/教授
南京理工大学、中国科学院
院士
昆明冶金研究院有限公司
党委书记、执行董事
赤泥综合利用研究报告2025
推广

热门技术
更多+

推荐企业
更多+

福建省金龙稀土股份有限公司
宣传

发布

在线客服

公众号

电话

顶部
咨询电话:
010-88793500-807