青岛垚鑫智能科技有限公司
宣传

位置:中冶有色 >

有色技术频道 >

分类:
全部
矿山技术
冶金技术
材料制备及加工技术
环境保护技术
分析检测技术
 
全部
功能材料技术
复合材料技术
新能源材料技术
合金材料技术
加工技术
地区:
全部
北京
天津
上海
重庆
河北
山西
辽宁
吉林
黑龙江
江苏
浙江
安徽
福建
江西
山东
河南
湖北
湖南
广东
海南
四川
贵州
云南
陕西
甘肃
青海
内蒙
广西
西藏
宁夏
新疆
其他
其他
展开
 
全部
南京
无锡
徐州
常州
苏州
南通
连云港
淮安
盐城
扬州
镇江
泰州
宿迁

江苏有色金属材料制备及加工技术理论与应用

免费发布技术信息>>
建筑用高强度阻燃硬质聚氨酯保温材料及其制备方法

一种建筑用高强度硬质聚氨酯复合材料。该复合材料是由阻燃硬质聚氨酯泡沫塑料和改性的石棉纤维混合,注入模具发泡成型制备而成。其中所述阻燃硬质聚氨酯泡沫塑料包含A和B两组份,A组份包括多元醇,催化剂,发泡剂,稳定剂,交联剂和复配阻燃剂,B组份为多亚甲基多苯基多异氰酸酯。本发明通过选择特定的阻燃剂进行复配,得到的聚氨酯硬质泡沫不含有卤素,极限氧指数高。石棉纤维经物理化学方法改性后,制备出的阻燃聚氨酯复合材料与一般聚氨酯/无机填料相比,表现出更高的压缩强度、拉伸强度和抗冲击性能。工艺流程简单易操作,成本低廉,制备出的高强度阻燃硬质聚氨酯保温材料,具有很好的应用前景。本发明公开了其制法。

标签:
复合材料
江苏 - 南京 来源:中冶有色网 2023-03-18
孕妇防辐射纳米功能面料服装

本发明涉及一种孕妇防辐射纳米功能面料服装,它包括服装本体(1),服装本体(1)的前片为双层结构,其内侧设置有夹层(2),夹层(2)内设置有金属纤维细丝网(3);所述服装本体由面料制成,所述面料分为两层,第一层为织物单元,第二层为纳米复合材料薄膜单元,纳米复合材料薄膜单元贴覆在织物面料单元的表面,并与织物面料单元合为一体,所述纳米复合材料薄膜单元由纳米氧化物粉体与成膜材料复合而成。这种孕妇服装可以反射电磁波,起到有效屏蔽辐射,以及保证孕妇和孩子身体健康的功能。本发明所采用的面料的优点是:制备工艺简单无毒害使用安全;能调节人体生理机能平衡,具有保健、抑菌、除臭功能。

标签:
复合材料
江苏 - 无锡 来源:中冶有色网 2023-03-18
带电加热功能的纳米功能面料内衣

本发明涉及一种带电加热功能的纳米功能面料内衣,它包括内衣本体(1),内衣本体(1)为双层结构,其内部设有夹层(2),夹层(2)中固定有加热片(3),加热片(3)与夹层(2)中的蓄电池(4)相连;所述内衣本体由面料制成,所述面料分为两层,第一层为织物单元,第二层为纳米复合材料薄膜单元,纳米复合材料薄膜单元贴覆在织物面料单元的表面,并与织物面料单元合为一体,所述纳米复合材料薄膜单元由纳米氧化物粉体与成膜材料复合而成。本发明可以对人体加热,从而起到保暖的功效。本发明具有保健、抑菌、除臭功能。

标签:
复合材料
江苏 - 无锡 来源:中冶有色网 2023-03-18
高速列车塞拉门的门板结构

本发明涉及一种高速列车的塞拉门,尤其是一种高速列车塞拉门的门板结构。一种高速列车塞拉门的门板结构,包括采用复合材料制成的门板和门框,所述复合材料以环氧树脂为基体、T300级碳纤维作为增强材料,所述门板包括外蒙皮、加强筋和内蒙皮,所述外蒙皮一次成型,外蒙皮上胶接有加强筋及窗框,加强筋由相互垂直的横桁和纵桁组成,所述门框围外蒙皮边沿一周,门框围圈内由横桁和纵桁构成若干盒式结构,所述盒式机构内填充有隔音隔热材料,所述内蒙皮与加强筋之间具有一层粘胶层,并通过铆钉连接。本发明由于大量采用先进复合材料,所以具有重量轻、耐腐蚀性好、隔热效果良好、使用寿命长、无需修改现有车身结构、系统即可安装等优点。

标签:
复合材料
江苏 - 镇江 来源:中冶有色网 2023-03-18
复合型保温材料及其制备方法

本发明公开了一种复合型保温材料,按照重量百分含量由如下组分构成:稀释剂20‑30份,改性凹凸棒石粘土粉末15‑20份,硅酸盐水泥15‑20份,粉煤灰10‑15份,纤维2‑5份,石棉2‑5份,环氧树脂10‑15份,固化剂5‑10份,阻燃剂1‑2份,发泡剂2‑5份,催化剂0.5‑1份。本发明在本复合材料中引入改性凹土粉末,能够有效提高复合材料的保温及阻燃效果,这在现有技术中是比较少,而且本发明的创新点就是将无机和有机组分相混合,而且这些组分的配合制备出的复合材料具有非常好的保温阻燃效果。本发明制备的复合型保温材料具有轻质、防火、遇明火不燃烧、无烟、无毒,使用温度范围广,低温环境下不收缩、不脆化的特点。

标签:
复合材料
江苏 - 南京 来源:中冶有色网 2023-03-18
新型轴套及其制备方法

本发明提供了一种新型轴套,其由一种特殊的碳纤维复合材料制备而成,所述碳纤维复合材料在X‑Y方向上具有碳纤维的高强度与低膨胀系数、在Z方向上具备自润滑性与低摩擦系数,因此该材料在X‑Y方向上具有碳纤维的高强度与低膨胀系数、通过模压的方式,采用特种塑料基材将这些具有X‑Y方向的碳纤维进行粘结复合;从而得到具有优异性能的特种复合材料,如耐高低温度,耐摩擦、耐冲击、耐化学性、高强度等优异性能。

标签:
复合材料
江苏 - 南通 来源:中冶有色网 2023-03-18
硒化铜基热电材料的制备方法

本发明公开了一种硒化铜基热电材料的制备方法,该制备方法可以所得复合材料的电导率受到纳米碳纤维含量与Cu含量的共同作用,纳米碳纤维可有效提高所得复合材料的电导率;所得复合材料的电导率随Cu含量的减少而增加,最终使得材料的热电性能得到大幅度的提高,该方法制备方法简单、快速、原料利用率高,具有良好的产业化前景。

标签:
复合材料
江苏 - 苏州 来源:中冶有色网 2023-03-18
玻璃纤维增强聚丙烯用润滑剂组合物及其成形方法

本发明涉及一种玻璃纤维增强聚丙烯用润滑剂组合物及其成形方法,属于新型高分子材料的生产和加工领域。针对在制备玻璃纤维增强聚丙烯复合材料时,摩擦力和剪切应力过大,导致玻璃纤维的长度和玻璃纤维在基体树脂中分散性大幅下降,同时,在较高的温度下,无法同玻璃纤维进行复合反应,不能有效提高复合材料的强度和流动性的问题,提供了一种以硅烷混合液为核心,极性聚丙烯蜡雾化颗粒为间层,脂肪酸双酰胺共混为外层结构的润滑剂,本发明制备的润滑剂在使用时,最外层先融化,起到润滑作用,在第二层和内层物质在较高的温度下,可以与玻璃纤维发生的反应,提高复合材料和流动性。

标签:
复合材料
江苏 - 常州 来源:中冶有色网 2023-03-18
复合防护杀毒口罩及其制备方法

本发明公开了一种复合防护杀毒口罩及其制备方法,涉及防菌口罩技术领域。本发明的复合防护杀毒口罩包括纳米复合材料杀菌布层和滤纸层;其中,所述纳米复合材料杀菌布层包括氧化锌颗粒和有机短纤维;所述滤纸层由棉浆纤维、天丝纤维、龙须草纤维组成。制备时从外到内按照如下次序进行口罩组装:无纺布层、纳米复合材料杀菌布层、滤纸层、无纺布层。利用成本低廉的氧化锌纳米粉体作为杀毒材料,抑制吸附在口罩上的细菌扩散和繁殖。此外,通过对口罩的简单揉搓,氧化锌颗粒可以和促静电短纤维产生静电,恢复驻极材料层的静电吸附效果。

标签:
复合材料
江苏 - 苏州 来源:中冶有色网 2023-03-18
PVC高阻隔片材及其制备方法

本发明公开了一种PVC高阻隔片材及其制备方法,具体涉及PVC复合材料领域,其中所使用的主料包括以下重量份数的原料:PVC 45‑55份、PVA 8‑15份、EVOH 12‑18份、PA 10‑15份、云母6‑12份,所述辅料按重量百分比计包括立方状纳米碳酸钙70wt%‑80wt%、片状纳米碳酸钙20wt%‑30wt。本发明通过共混PVA、EVOH、PA与PVC制备复合材料,拉伸过程中,利用PVA、EVOH、PA与PVC软化点不同,实现拉伸过程中产生分散PVA、EVOH、PA碎片,提高片材阻隔性,使其更容易回收再利用,利用PVA、EVOH、PA、云母的阻隔性来提高PVC共混材料对氧气和水的阻隔性,达到药材和食品包装对材料的要求,制备PVC/云母复合材料,提高片材阻隔性。

标签:
复合材料
江苏 - 苏州 来源:中冶有色网 2023-03-18
水溶性纳米纤维复合非织造医美材料及其制备方法

一种水溶性纳米纤维复合非织造医美材料及其制备方法,属于非织造复合材料及其制备技术领域。由微米纤维和静电纺丝纳米纤维经水刺或针刺加工复合而成,所述静电纺丝纳米纤维由水溶性高分子材料和医美功能性材料组成。优点:防止复合材料的分层,增强材料的结构稳定性,同时有效调控复合材料三维空间组成和孔结构。此外,复合非织造医美材料内的水溶性纳米纤维充当医美材料的功能性物质可有效地将功能物质以非团聚状态封装在纳米纤维内部,充分发挥微米纤维的机械性能和纳米纤维的高孔隙率,高比表面积的结构和表面效应;使用时与皮肤和水分同时作用,可高效快速触发功能活性。

标签:
复合材料
江苏 - 苏州 来源:中冶有色网 2023-03-18
大豆肽纺织面料的制备方法

本发明公开了一种大豆肽纺织面料的制备方法,涉及纺织领域,将大豆肽组合物混合搅拌均匀,用复合材料切片包覆挤压得到母粒,将母粒添入聚酯切片中熔融纺丝得短纤维或POY丝,在短纤维或POY丝表面复合一层控速膜,经纺纱、织布、定型前处理、印染、浸轧、烘干定型得大豆肽纺织面料。本发明的有益效果:通过复合材料将大豆肽组合物进行包裹制得母粒,在熔体挤出机构出口处添加母粒,热量由母粒外侧向内侧传递的过程中,复合材料吸收热量,并释放出CO2,CO2能够继续带走热量,加快熔体冷却,还使得短纤维或POY丝内部形成孔隙,故可以大幅地避免大豆肽组合物中生物活性成分在高温下失活,使大豆肽纺织面料具有更长的使用时限。

标签:
复合材料
江苏 - 苏州 来源:中冶有色网 2023-03-18
螺旋桨及成型方法
螺旋桨及成型方法 992     
 0

本发明公开了螺旋桨技术领域的一种螺旋桨及成型方法,包括金属桨毂和固化在所述金属桨毂上的若干个复合材料桨叶,所述复合材料桨叶包括结构层和包覆在所述结构层外的保护层;若干个所述复合材料桨叶的结构层的一端绕所述金属桨毂的圆周方向均匀布置且朝同一方向交叠缠绕在所述金属桨毂上。通过将桨叶固化在桨毂上,既解决了桨叶与桨毂的装配难题,又解决了组合桨叶与桨毂之间存在间隙,导致连接桨毂部位腐蚀问题。

标签:
复合材料
江苏 - 镇江 来源:中冶有色网 2023-03-18
螯合功能性纳米银的制备方法及其应用

本发明公开了一种螯合功能性纳米银的制备方法及其应用,称取硝酸银配制成150mL的水溶液,向三口烧瓶中滴加半胱氨酸水溶液,搅拌得到银胶配合物,抽滤,再用弱碱和去离子洗涤,将乳白色的固体转入三口烧瓶,配成银胶溶液,向银胶溶液中加入三羟甲基氨基甲烷缓冲液,再将NaBH4溶液加入银胶溶液,陈化,用冰乙酸调整溶液的pH值,将溶液进行超离心或过滤,将所得沉淀用去离子水或无水乙醇3‑5次冲洗掉没反应的半胱氨酸分子,可得螯合功能性纳米银。螯合功能性纳米银制备方法简单,通过半胱氨酸修饰的纳米银螯合剂改性钛酸钡陶瓷,使得复合材料的界面链接得到改善,其功能相在复合材料中的分散性得到了提高,增强了复合材料的性能。

标签:
复合材料
江苏 - 镇江 来源:中冶有色网 2023-03-18
SMA-FRP抗剪增强混凝土梁装置及其实施方法

本发明一种SMA‑FRP抗剪增强混凝土梁装置及其实施方法,该装置包括钢夹头、SMA‑FRP复合材料、通电装置以及安装于混凝土梁上的组合框架装置,组合框架装置通过钢夹头与通电装置相连;具体实施方法为,首先组合框架装置,并夹紧于混凝土梁上,将SMA‑FRP复合材料一端粘贴于混凝土梁上,然后另一端通过内钢压条、外钢压条和顶钢压条夹紧锚固,最后使用钢夹头和通电装置对SMA‑FRP复合材料进行通电加热,激活预先张拉的SMA丝材,使SMA丝材产生回复,将预应力引入到FRP片材中,本发明中的装置构造简单,施工成本低,施工效率高,操作方便。

标签:
复合材料
江苏 - 南京 来源:中冶有色网 2023-03-18
具有高效光催化性能的复合物溶胶制备方法

本发明具有高效光催化性能的复合物溶胶制备方法,属于无机纳米复合材料的技术领域。属于一种无机纳米复合材料的合成,以制备的介孔碳CMK-3为基物,以钛酸四丁酯为钛源,通过溶胶-凝胶法制备出CMK-3/TiO2复合物,将制备出的复合材料作为光催化剂,应用于紫外光下催化降解亚甲基蓝溶液,有非常好的效果。按照此法制备出的CMK-3/TiO2复合物,合成时间短,复合物中拥有锐钛矿型TiO2和金红石型TiO2,具有很高的光催化活性。在紫外光下60min内对10mg/L的亚甲基蓝的降解率几乎为100%。并且,与文献中的光催化剂相比,本样品降解效率高,并且制备成本小,有利于节能和降低合成成本。

标签:
复合材料
江苏 - 镇江 来源:中冶有色网 2023-03-18
半导体二极管器件封装结构

本发明涉及一种半导体二极管器件封装结构,属于半导体封装技术领域,所述半导体二极管器件封装结构包括依次层叠的钢化玻璃板、树脂复合材料胶膜、半导体二极管器件层、金属‑树脂复合材料胶膜以及背板。本发明采用新型的复合材料胶膜对半导体二极管器件进行封装,提高了半导体二极管器件的使用寿命,且该封装结构具有稳定性好、性能优越、耐候性好等优点。

标签:
复合材料
江苏 - 南通 来源:中冶有色网 2023-03-18
粘合剂及其用法
粘合剂及其用法 895     
 0

本发明属于粘合剂技术领域,涉及一种应用热反应树脂的溶剂型粘合剂(adhesive),特别应用于汽车,摩托车,工业机械的制动片(刹车片),离合器,包括金属和金属,金属和增强纤维与树脂的复合材料,金属和树脂或者复合材料和复合材料,尤其是适用于铝铸造的衬片(摩托,工业机械的鼓式制动片)的短时间粘合。该粘合剂是溶剂型粘合剂组成物,包括:8-20重量份的丁腈橡胶或者丁苯橡胶,10-35重量份的酚醛树脂液体,以及2-6重量份的反应剂;酚醛树脂液体的固体含量与丁腈橡胶或者丁苯橡胶的重量份之比为0.3-1.6。本发明粘合剂,通过加热加压的方式粘合,在粘合之前,进行烘干,通过200摄氏度以上的加热加压反应,20分以内能保证粘合强度和粘合面积。

标签:
复合材料
江苏 - 南京 来源:中冶有色网 2023-03-18
聚酰亚胺埋容印刷电路
聚酰亚胺埋容印刷电路 1031     
 0

本发明提供了一种聚酰亚胺埋容印刷电路,包括高介电聚合物基复合材料以及压覆于高介电聚合物基复合材料两侧的铜箔;所述高介电聚合物基复合材料由改性聚酰亚胺树脂以及填充于改性聚酰亚胺树脂内的磁性壳聚糖颗粒包覆的CCTO组成。本发明聚酰亚胺埋容印刷电路的基材采用CCTO‑导电颗粒(Fe)‑聚酰亚胺的复合体系,大大提高了介电常数;同时,利用壳聚糖对CCTO进行包覆,同时在聚酰亚胺分子中引入大量的羟基,使CCTO和Fe在聚酰亚胺中分散均匀,进一步提高了介电常数,同时还能提高了材料的机械性能。

标签:
复合材料
江苏 - 南京 来源:中冶有色网 2023-03-18
制备锂离子电池石墨负极的方法

本发明提供了一种制备锂离子电池石墨负极的方法,所述方法包括提供第一石墨材料,第二石墨材料以及硅碳复合材料,所述硅碳复合材料的结构为硅为核,无定型碳包覆在硅核表面的核壳结构,所述第一石墨材料的D50为1.4‑1.5微米,所述第二石墨材料的D50为2.2‑2.4微米,所述硅碳复合材料的D50为1.6‑1.7微米,按照三种材料的预定质量比配置底层负极浆料。依次将所述底层浆料和顶层浆料涂覆在负极集流体上并干燥,得到所述石墨负极。本发明的方法制备得到的石墨负极具有极高的高倍率循环性能。

标签:
复合材料
江苏 - 苏州 来源:中冶有色网 2023-03-18
改性纳米碳酸钙-聚氨酯-聚酰胺泡沫及其制备方法

本发明提供了一种改性纳米碳酸钙‑聚氨酯‑聚酰胺泡沫复合材料,由如下重量百分比的成分组成:异氰酸酯45‑55%,聚醚5‑15%,脂肪酸改性纳米碳酸钙4‑8%,甲基六氢苯酐4‑9%,偶氮二异丁腈4‑6%,2,3,6‑三(二甲氨基甲基)苯酚7‑12%,聚氨基甲酸酯纤维12‑20%,正戊烷2‑5%,硅类泡沫稳定剂0.0001‑1%,并提供了该复合材料的制备方法。本发明提供的硬质泡沫复合材料,在硬质聚氨酯泡沫合成基础上,引入聚脲和酰胺基团,并利用纳米碳酸钙的特性,对体系进一步进行改善,使产品具备了优异的力学性能和热稳定性。

标签:
复合材料
江苏 - 常州 来源:中冶有色网 2023-03-18
高阻燃性EVA发泡材料及其制备方法

本发明公开了一种高阻燃性EVA发泡材料及其制备方法,以改性氢氧化镁‑EVA复合材料100份、发泡剂3‑6份、氧化锌1‑3份、硬脂酸1‑2份、交联剂0.5‑1.0份、填料30‑100份制备而成;其中改性氢氧化镁‑EVA复合材料首先将氢氧化镁用改性树脂进行改性处理,然后进行低温等离子体改性处理得到改性氢氧化镁,再将改性氢氧化镁与EVA材料共混干燥后经双螺杆挤出机共混造粒;加入质量比例10%的石蜡油、3%的β环糊精、钛酸酯偶联剂采用熔融共混接枝法进行改性处理得改性氢氧化镁‑EVA复合材料。发泡材料成品阻燃性能高,氧指数超过35,且具备更为优异的拉伸强度较高和断裂伸长率。

标签:
复合材料
江苏 - 镇江 来源:中冶有色网 2023-03-18
工业铁矿废渣利用的吸波材料

本发明提供一种工业铁矿废渣利用的吸波材料及其制备方法;所述方法:铁尾矿的焙烧磁选;铁尾矿/二氧化钛复合材料的制备;铁尾矿/二氧化钛/聚吡咯复合材料的制备。本发明充分利用了工业废渣,具有环保意义,且制备工艺简单、制备过程中无有害物质释放,无二次污染,附加价值高;本发明充分利用复合材料的协同效应和电磁参数可调的优点,将不同吸收频带、不同损耗机制的材料进行多元复合,可实现宽频、轻质、强吸收、微波红外多波段电磁波吸收兼容的目标。此外,本发明可缓解铁尾矿堆积而造成的环境污染问题,可为铁尾矿向高附加值产品的转化提供一条可行的途径。

标签:
复合材料
江苏 - 泰州 来源:中冶有色网 2023-03-18
废弃口罩的回收利用方法

本发明涉及一种废弃口罩的回收利用方法,所述回收利用方法包括如下步骤:(1)将废弃口罩的鼻梁条拆除,将废弃口罩的罩体和挂绳制成碎片,得到口罩碎片,烘干,待用;所述罩体的材料为熔融指数40g/10min~3000g/10min的聚丙烯树脂构成的无纺布,所述挂绳的材料为聚氨酯弹性体;(2)将干燥后的所述口罩碎片与偶联剂、增强剂、抗氧剂、颜料、抗菌剂采用密炼挤出机先进行密炼加工再进行挤出加工,造粒,最后制得基于废弃口罩的聚丙烯复合材料;本发明方法将废弃口罩回收利用以制备的聚丙烯复合材料,不仅能够解决废弃口罩造成的环境污染问题,还能使制得的聚丙烯复合材料具有较好的力学性能、抗菌性能等。

标签:
复合材料
江苏 - 常州 来源:中冶有色网 2023-03-18
抗弯曲陶瓷散热材料的制备方法

本发明公开了一种抗弯曲陶瓷散热材料的制备方法,硝酸铝、钼酸铵、碳化硅微粉、Al‑Fe‑Mn/泡沫镍复合材料、硫脲、十六烷基三甲基溴化铵为主要原料,采用水热法合成棒状氧化铝二硫化钼复合材料并对碳化硅微粉、Al‑Fe‑Mn/泡沫镍复合材料、堇青石粉混合粉体进行表面包覆改性,在增韧的同时,改善了材料的均一稳定性和润滑性,使材料兼具良好的抗弯曲强度和加工性能。

标签:
复合材料
江苏 - 徐州 来源:中冶有色网 2023-03-18
聚合物纳米复合电磁屏蔽材料及其制备方法

本发明公开了一种聚合物纳米复合电磁屏蔽材料的制备方法,采用氯化铁、绿化亚铁、氢氧化钠、有机表面活性剂、石墨烯、去离子水按一定的配料比预混,使用电磁搅拌机搅拌混合均匀,样品经过搅拌均匀后,经过高速搅拌机进行共沉淀处理后制得的石墨烯/四氧化三铁纳米复合电磁屏蔽剂,然后与尼龙66搅拌混合共混,所得的复合材料就是具有电、磁兼容特性的聚合物纳米复合电磁屏蔽复合材料;本发明的电磁屏蔽复合材料具有较高的电磁屏蔽能力、综合性能优良,可制成各种电子传导元件,在电子技术、通讯以及交通等行业中具有广泛的应用前景。

标签:
复合材料
江苏 - 苏州 来源:中冶有色网 2023-03-18
新型非金属光伏组件及其组装方法

本发明提供了一种新型非金属光伏组件及其组装工艺。新型非金属光伏组件包含所述包含光伏组件和用于固定光伏组件的太阳能组件绝缘边框,所述太阳能组件绝缘边框为采用复合材料拉挤成型制成,所述光伏组件与太阳能组件绝缘边框在结合处采用粘合剂层粘结成一体结构。本发明结构巧妙,工艺简洁,将光伏组件与采用复合材料拉挤成型的绝缘边框相结合后组成光伏组件,该组件边框正面无挡条,组件正面底部无积尘,这样就不会产生热斑效应,使得组件的使用寿命延长而且保证了组件的发电量;同时,因为该组件是采用复合材料的绝缘边框,不会产生PID现象,使得组件在长期发电工作时不会降低组件效率和寿命,降低了整个系统的成本。

标签:
复合材料
江苏 - 无锡 来源:中冶有色网 2023-03-18
带除腋臭功能的纳米功能面料内衣

本发明涉及一种带除腋臭功能的纳米功能面料内衣包括内衣本体(1),内衣本体(1)的腋下位置处为双层结构,其内部设有夹层(2),夹层(2)通过拉链(3)与内衣本体(1)的内侧连接,夹层(2)中放置有香袋。所述内衣本体由面料制成,所述面料分为两层,第一层为织物单元,第二层为纳米复合材料薄膜单元,纳米复合材料薄膜单元贴覆在织物面料单元的表面,并与织物面料单元合为一体,所述纳米复合材料薄膜单元由纳米氧化物粉体与成膜材料复合而成。本发明可以消除腋下散发出的腋臭。本发明能调节人体生理机能平衡,具有保健、抑菌、除臭功能。

标签:
复合材料
江苏 - 无锡 来源:中冶有色网 2023-03-18
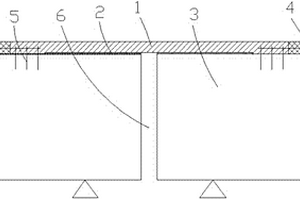
水泥混凝土桥面铺装层无缝伸缩结构

本发明公开了一种水泥混凝土桥面铺装层无缝伸缩结构。基于高延性水泥基复合材料良好的伸展特性,替代传统伸缩缝结构消除桥梁纵向伸缩所产生的内部应力。该无缝伸缩结构主要由聚四氟乙烯滑动层、锚固钢筋、高延性水泥基复合材料结构层组成,高延性水泥基复合材料锚固区与水泥混凝土桥梁梁体及桥面板可靠连接,伸缩区底面与聚四氟乙烯滑动层自由滑动,形成良好的伸缩结构,同时上表面形成连续平整的界面,能够有效解决传统伸缩缝耐久性不足,行车舒适性不佳的问题。

标签:
复合材料
江苏 - 南京 来源:中冶有色网 2023-03-18
带GPS定位的纳米功能面料衣服

本发明涉及一种带GPS定位的纳米功能面料衣服,它包括衣服本体(1),衣服本体(1)上开有胸部口袋(2),胸部口袋(2)中固定有GPS定位模块(3),GPS定位模块(3)通过AD转换模块(4)与CPU(5)相连,CPU(5)上连有GSM发送模块(6);所述衣服本体由面料制成,所述面料分为两层,第一层为织物单元,第二层为纳米复合材料薄膜单元,纳米复合材料薄膜单元贴覆在织物面料单元的表面,并与织物面料单元合为一体,所述纳米复合材料薄膜单元由纳米氧化物粉体与成膜材料复合而成。当子女需要得知老人位置时,只需打开手机便能定时受到老人位置的信号。本发明透气性好、耐洗刷。

标签:
复合材料
江苏 - 无锡 来源:中冶有色网 2023-03-18
上一页 2013 2014 2015 2016 2017 ... 2585 下一页
共2585页    到第

中冶有色为您提供最新的江苏有色金属材料制备及加工技术理论与应用信息,涵盖发明专利、权利要求、说明书、技术领域、背景技术、实用新型内容及具体实施方式等有色技术内容。打造最具专业性的有色金属技术理论与应用平台!

全国热门有色金属设备推荐
展开更多 +
全国热门有色金属技术推荐
展开更多 +

 

江西省隆恩特环保设备有限公司
宣传

报名参会
更多+

报告下载

有色专家
更多+

洛阳有色矿业集团有限公司
生产技术部经理
云南锡业集团(控股)有限责任公司
副总经理
中铝检测科技(郑州)有限公司/国家轻金属质量检验检测中心
正高级工程师
广东省科学院工业分析检测中心
副主任
长沙矿冶院检测技术有限责任公司
总经理
赤泥综合利用研究报告2025
推广

热门技术
更多+

推荐企业
更多+

福建省金龙稀土股份有限公司
宣传

发布

在线客服

公众号

电话

顶部
咨询电话:
010-88793500-807