青岛垚鑫智能科技有限公司
宣传

位置:中冶有色 >

有色技术频道 >

分类:
全部
矿山技术
冶金技术
材料制备及加工技术
环境保护技术
分析检测技术
 
全部
功能材料技术
复合材料技术
新能源材料技术
合金材料技术
加工技术
地区:
全部
北京
天津
上海
重庆
河北
山西
辽宁
吉林
黑龙江
江苏
浙江
安徽
福建
江西
山东
河南
湖北
湖南
广东
海南
四川
贵州
云南
陕西
甘肃
青海
内蒙
广西
西藏
宁夏
新疆
其他
其他
展开
 
全部
南京
无锡
徐州
常州
苏州
南通
连云港
淮安
盐城
扬州
镇江
泰州
宿迁

江苏有色金属材料制备及加工技术理论与应用

免费发布技术信息>>
三维石墨烯-钛基纤维-铅粉铅酸蓄电池负极板的制备方法

本发明涉及一种三维石墨烯‑钛基纤维‑铅粉铅酸蓄电池负极板的制备方法。本发明将石墨烯置于浓硫酸与浓硝酸的混合溶液中做亲水处理,加入铅粉搅拌分散,液氮快速冷冻后干燥,在一定的温度和保护气氛下热处理后得到石墨烯‑铅粉负极复合材料;将石墨烯‑铅粉负极复合材料,乙炔黑,硫酸钡,木质素,腐殖酸和聚四氟乙烯乳液按一定配比加入和膏机中干混均匀得到粉体;该粉体加入到含有钛基纤维的分散液中,添加硫酸和去离子水控制视密度,得到负极铅膏;将负极铅膏涂覆至负极板栅上,固化后得到铅酸蓄电池负极板。采用三维石墨烯‑钛基纤维‑铅粉复合材料用于制备负极板不仅可以增加铅粉的利用率,降低电池内阻,而且提高了电池负极板的比容量。

标签:
复合材料
江苏 - 南京 来源:中冶有色网 2023-03-18
应用于微生物燃料电池改性石墨毡电极及其制备方法

本发明公开一种应用于微生物燃料电池的PANI/β‑MnO2纳米复合材料改性石墨毡电极及其制备方法。首先利用水热反应制备的β‑MnO2纳米棒,通过聚合反应在其表面生成聚苯胺,得到纳米棒状的复合材料。将PANI/β‑MnO2分散在PVDF中,在常温下超声处理后,涂覆在石墨毡表面,烘干后的到PANI/β‑MnO2纳米复合材料改性石墨毡电极。采用该方法进行制备石墨毡电极,一方面提高了电极的比表面积,增加了电极表面的催化活性位点;另一方面由于聚苯胺导电作用,有利于阴极电子的传递,降低MFC的欧姆阻抗。利用该方法制备的石墨毡电极在微生物燃料电池中显示出较好的产电性能、较强的动力学活性。 1

标签:
复合材料
江苏 - 南京 来源:中冶有色网 2023-03-18
用于制备埋入式电容的复合薄膜浆料、制法及用其制备埋入式电容的方法

本发明公开了一种用于制备埋入式电容的复合薄膜浆料、制法及用其制备埋入式电容的方法,包括聚合物基体及混合于该聚合物基体中的金属有机框架‑纳米粒子复合材料,金属有机框架由金属盐和有机配体经配位反应获得;制备时依次制备金属有机框架材料、金属有机框架‑纳米粒子复合材料,制得复合薄膜浆料;采用其制备埋入式电容的方法为将复合薄膜浆料涂布于导电基材上。本发明的复合薄膜浆料通过采用分散性极好的原位反应生成的金属有机框架‑纳米粒子复合材料于聚合物体系中,利用绝缘的金属有机框架材料的多孔模板,有效地将导电粒子隔开,在进一步提升介电常数的同时,有效地避免了介电损耗的增加;同时,其制备方法及采用其制备电容的方法简单。

标签:
复合材料
江苏 - 镇江 来源:中冶有色网 2023-03-18
超级电容器用褐煤基多孔碳/CoNi<Sub>2</Sub>S<Sub>4</Sub>复合电极及其制备方法和应用

本发明公开了一种超级电容器用褐煤基多孔碳/CoNi2S4复合电极及其制备方法和应用,属于超级电容器正极技术领域。其制备方法为:通过碱溶液浸渍萃取褐煤得到提取物,活化后得到褐煤基多孔碳,酸洗后在水中与钴源和镍源进行水热反应得到前驱体,将前驱体和硫源在水溶液中进行二次水热合成得到褐煤基多孔碳/CoNi2S4复合材料,制备得到不同的褐煤基多孔碳/CoNi2S4复合材料;然后将褐煤基多孔碳/CoNi2S4复合材料、聚四氟乙烯水溶液、乙炔黑和去离子水混合均匀后涂板、干燥得到褐煤基多孔碳/CoNi2S4复合电极。本发明得到的电极材料具有很高的比电容量、稳定的循环性能,在储能电极领域具有良好的应用前景。

标签:
复合材料
江苏 - 徐州 来源:中冶有色网 2023-03-18
锂电池隔膜及其制备方法和锂电池

本发明公开了锂电池隔膜及其制备方法和具有该锂电池隔膜的锂电池。该锂电池隔膜包括:基膜,以及复合材料层,所述复合材料层形成在所述基膜的一侧或两侧,所述复合材料层包括:石墨烯、无机材料和助剂。该锂电池隔膜具有优秀的拉伸强度和穿刺强度,且可以显著提高锂电池的安全性和电化学性能。

标签:
复合材料
江苏 - 苏州 来源:中冶有色网 2023-03-18
钢桥面铺装层及其制备方法

本发明属于路面铺装层技术领域,公开了一种钢桥面铺装层及其制备方法,所述钢桥面铺装层包括粘结层、复合材料层以及抗滑耐磨层,所述粘结层、所述复合材料层和所述抗滑耐磨层的厚度比为0.4:(10~100):(3~5)。本发明所述抗滑耐磨层由乳液和集料混合固化而成,所述集料部分嵌在乳液中,部分裸露在乳液表面,待其固化后,裸露的集料形成粗糙表面,增大了与车辆轮胎接触面的摩擦,提升了铺装层的抗滑性能,弥补所述复合材料层的抗滑性能较低的缺陷,提高了行车的安全性;此外,细粒径的集料颗粒间接触面较大,连接力较强,强度高,抵抗磨耗的作用力强,延长了铺装层的使用寿命。

标签:
复合材料
江苏 - 南京 来源:中冶有色网 2023-03-18
轻量化汽车防撞梁用原位纳米强化铝合金及制备方法

本发明涉及一种铝基复合材料,具体设计一种轻量化汽车防撞梁用原位纳米强化铝合金及制备方法。通过原位合成技术,以碳酸锆、氟硼酸钾和氟钛酸钾的混合粉体为反应物,在反应过程中施加声磁耦合场,在凝固阶段施加声磁耦合场,获得均匀分布的纳米增强相团簇和细晶组织的复合材料。然后通过优化的热挤压技术和淬火技术,减少材料的缺陷,并且促进材料中的亚晶发生动态再结晶,获得细小的再结晶晶粒,提高材料的强度、塑性、抗冲击性和耐腐蚀性,最大程度提高其碰撞吸能效果,获得合格的汽车防撞梁用铝基复合材料型材。

标签:
复合材料
江苏 - 镇江 来源:中冶有色网 2023-03-18
用于清除香烟烟雾的空气净化复合滤芯

本发明公开了一种用于清除香烟烟雾的空气净化复合滤芯,它包括滤芯框架(1)和安装在滤芯框架(1)内的芯材,芯材包括位于中间的气凝胶复合材料(2),位于凝胶复合材料(2)上表面和下表面的HEPA高效滤网(3),气凝胶复合材料(2)包括中间的二氧化硅气凝胶(4)和夹在二氧化硅气凝胶(4)上、下表面的双组分无纺毡(5)。本发明提供的空气净化复合滤芯,结构设计合理,可高效的过滤有机污染气体,尤其对二手烟、三手烟污染物具有很好的清除作用,可广泛用于各种空气净化设备,具有重要的环境保护作用和应用前景。

标签:
复合材料
江苏 - 南京 来源:中冶有色网 2023-03-18
海水吸收蒸发组件及海水蒸馏淡化装置

本发明公开了一种海水吸收蒸发组件,包括保温腔体和吸水纤维条,所述保温腔体的顶部设有开口,所述保温腔体的底部设有通孔,所述保温腔体的内部填充二硫化钼/石墨烯复合材料,所述吸水纤维条设置于所述保温腔体的下方并通过所述通孔与所述二硫化钼/石墨烯复合材料连接。本发明还公开了包含海水吸收蒸发组件的海水蒸馏淡化装置。本发明利用二硫化钼/石墨烯复合材料构建了结构简单的海水蒸馏淡化装置,可以高效的将光能转换为热能,能够快速的将水加热成水蒸气,最终达到净水目的。

标签:
复合材料
江苏 - 苏州 来源:中冶有色网 2023-03-18
铂边缘修饰镍基纳米材料及其制备方法和应用

本发明公开了一种铂边缘修饰镍基纳米材料及其制备方法和应用,属于电解水制氢的催化剂技术领域。本发明以硝酸镍为前驱体制备二维镍基纳米材料,采用乙二醇为还原剂,获得铂纳米颗粒原位负载到二维镍基材料边缘的复合材料。该复合材料中,镍基二维纳米材料可以吸附溶液中的氧/羟基,铂纳米颗粒可以有效吸附水中的氢,同时加速电催化析氢反应动力学,加快电催化产氢速率,并实现产氢的效率的提升。本发明还通过密度泛函理论计算了复合材料的析氢反应路径。本发明提供的铂边缘修饰镍基纳米材料可作为电催化分解水制氢的催化剂,并且该材料的制备工艺简单、催化性能优异、在电催化产氢领域具有广阔的应用前景。

标签:
复合材料
江苏 - 南京 来源:中冶有色网 2023-03-18
新型pH响应型量子点-聚合物靶向药物载体

本发明属于量子点高分子复合物制备技术领域,具体涉及新型pH响应型量子点‑聚合物靶向药物载体,所述靶向药物载体为CSS‑PVMMA复合材料,采用水相法制备CSS型量子点,并利用一种生物安全性好、可降解的的PVMMA聚合物包裹量子点,得到CSS‑PVMMA复合材料;通过小分子偶联剂和交联剂调节材料的结构和形态,优化其对于药物的负载和pH响应的释放性能,制备一种具有实际应用前景的新型CSS‑PVMMA复合微球,用于癌细胞靶向药物释放及荧光成像;本发明可为这种集良好生物相容性和pH敏感性于一体的复合材料在生物医学领域如药物释放和组织工程等的应用奠定物质基础和方法基础。

标签:
复合材料
江苏 - 南京 来源:中冶有色网 2023-03-18
复合纳米材料及对应的新型纳米涂层

本发明公开了一种复合纳米材料及对应的新型纳米涂层,包括含钇类卤素化合物的制备、氧化钇原料与含铝氧化物原料的制备,并将氧化钇原料与含铝氧化物原料的化合物与含钇类卤素化合物混合制成复合纳米材料混合物浆料,通过输送设备稳定的输送复合纳米材料液料进入等离子腔体内,纳米材料悬浮液液料通过雾化输液设备进入等离子设备的等离子焰流中后进行加热,最终形成涂层。复合材料本身较原有单一材料,更加耐受等离子体的刻蚀,在同种设备功率下,新型复合材料的使用寿命较原先单一材料使用寿命提升45%,用该复合材料使用特定工艺制备的熔射涂层,涂层更加致密,使用寿命较原有单一材料制备的涂层提升45%。

标签:
复合材料
江苏 - 苏州 来源:中冶有色网 2023-03-18
电子设备用喷涂复合式电磁屏蔽材料

本发明公开了一种电子设备用喷涂复合式电磁屏蔽材料,采用多维复合材料、丙烯酸树脂、硅烷偶联剂KH‑560、消泡剂二甲基硅油、聚酰胺650、无水乙醇、Co(N03)2·6H20、聚苯胺、尿素、氟化铵、聚乙烯醇PVA、Mn(NO32·4H2O为主要原料,本发明采用喷涂式方法将多维复合材料与镁箔基体在高温高压下进行烧结,得到结构稳定性能优异的电磁屏蔽复合材料,在具有较高单位面积的阻抗的条件下,取得优异的电磁屏蔽效能,而且材料电磁屏蔽性能可调、适用范围较广。

标签:
复合材料
江苏 - 南京 来源:中冶有色网 2023-03-18
膜电极制备方法及其应用方法

本发明公开了一种膜电极制备方法及其应用方法。包括如下步骤:通过两步水热法制备得到氮掺杂石墨烯量子点‑溴氧化铋纳米复合材料,然后用十六烷基三甲基溴化铵功能化氮掺杂石墨烯量子点‑溴氧化铋纳米复合材料表面,使表面带正电,随后将功能化过的氮掺杂石墨烯量子点‑溴氧化铋纳米复合材料分散在丙酮中得到均匀的胶体溶液,然后取两片经表面改性过的ITO电极放入功能化过的氮掺杂石墨烯量子点‑溴氧化铋胶体溶液中电泳沉积,得到功能化氮掺杂石墨烯量子点‑溴氧化铋ITO薄膜修饰电极。本发明提供的电极可用于光电化学定量检测对乙酰氨基酚用药剂量,并且响应时间快、线性范围宽、检测限低和稳定性好等特点。

标签:
复合材料
江苏 - 南京 来源:中冶有色网 2023-03-18
经济型三合一火焰复合机

本发明公开了一种经济型三合一火焰复合机,包括:海绵放卷器、面料放卷器、底料放卷器、自动纠偏器、大幅摆布机、收卷器、前二合一复合机构、后二合一复合机构,所述海绵放卷器将作为火焰复合介质的海绵放卷,海绵送入所述前二合一复合机构;所述海绵与所述面料复合,进入所述大幅摆布机,经后牵引器带动进入后二合一复合机构,所述后二合一复合机构结构后侧设置有所述底料放卷器,所述后二合一复合机构结构将一次复合材料与所述底料放卷器复合后进入整平输送带,所述整平输送带将二次复合材料整平后送入收卷器。本发明在一台设备上对复合材料进行两次双层复合,工作效率较高,可做到不停机加工,成本较低,适用于较硬的皮革、毛毡等厚重材料。

标签:
复合材料
江苏 - 盐城 来源:中冶有色网 2023-03-18
聚芳醚酮耐磨材料及其制备方法

本发明公开了一种聚芳醚酮耐磨材料及其制备方法,属于复合材料技术领域。解决了如何提供一种耐热等级高、力学性能好、摩擦性能突出、自润滑性极好的聚芳醚酮耐磨材料及其制备方法的问题。本发明的耐磨材料,通过预成型体在硫酸浸泡后,去离子水清洗获得;预成型体由交替排列的复合材料层和碳纤维网组成,复合材料层由聚芳醚酮、高密度聚乙烯、磷酸钙多孔陶瓷、聚四氟乙烯、金刚砂、锡青铜粉末、石墨、碳化钛和润滑微球组成;润滑微球由芯球和包覆层组成,芯球为填充液体石蜡和二硫化钼的多孔微球,包覆层包覆在芯球的表面,材料为聚酰亚胺粉末。该耐磨材料具备优异的耐磨性、耐热性和力学性能。

标签:
复合材料
江苏 - 南通 来源:中冶有色网 2023-03-18
石油样品检测用可定点恒温的恒温箱

本发明提供了一种石油样品检测用可定点恒温的恒温箱,包括设置有箱门的外箱、设于外箱内的內箱和恒温加热装置;內箱内设置有至少一个竖直方向设置的转动柱,所述转动柱外周上环绕设置有夹持装置,还包括电路板和电机,电路板和电机均安装在外箱与內箱之间,驱动所述转动柱转动,所述转动柱为设置有空腔的转动柱,所述设置有空腔的转动柱包括有两层,外壳和空腔,外壳和空腔之间距离为1‑2cm;所述在外壳和空腔之间填充有相变复合材料形成密封控温层,所述相变复合材料为粉末控温材料或液体控温材料或颗粒变温材料或块儿状控温材料,相变复合材料的填充厚度为0.1‑100mm。

标签:
复合材料
江苏 - 南通 来源:中冶有色网 2023-03-18
环保型夜光TPU复合装饰材料的制备方法

本发明公开一种环保型夜光TPU复合装饰材料的制备方法,涉及化工领域;该TPU复合装饰材料制备方法如下:先将热稳定剂、TPU颗粒及钙粉混合,经密炼、开炼、压延后制备TPU底层膜,并将其与基布复合压制,得到初级复合材料;再另取夜光添加剂、TPU颗粒及色料经密炼、开炼、压延后制得TPU表皮膜;然后将TPU表皮膜与初级复合材料的底层层面压制复合,用水性处理剂进行表面涂饰处理后烘干、吸纹,即得;本发明整个工艺简单易控,不使用增塑剂,安全环保,制得的复合材料手感柔软且物理性能高,符合高标准环保要求。

标签:
复合材料
江苏 - 无锡 来源:中冶有色网 2023-03-18
导电自清洁聚酰胺酰亚胺/聚苯胺薄膜的制备方法

本发明公开了一种导电自清洁聚酰胺酰亚胺/聚苯胺薄膜的制备方法,属于高分子材料改性和纳米复合材料的制备技术领域。本发明的多功能聚酰胺酰亚胺/聚苯胺薄膜按如下步骤制备:首先合成聚苯胺,然后与樟脑磺酸掺杂,得到樟脑磺酸掺杂的聚苯胺,通过高速乳化和超声震荡将樟脑磺酸掺杂的聚苯胺均匀分散于聚酰胺酰亚胺溶液中。可通过溶剂流延成膜法制备聚酰胺酰亚胺/聚苯胺复合材料。本发明提供的聚酰胺酰亚胺/聚苯胺复合材料具有自清洁与优异导电性能和一定的力学强度,电导率达到50 S/m以上,水接触角在120o以上,可用在静电屏蔽以及特种涂料等多个领域。

标签:
复合材料
江苏 - 常州 来源:中冶有色网 2023-03-18
压电陶瓷复合器件及其制作方法

本发明公开了一种压电陶瓷复合器件,包括底板、网格式基体结构和一组压电陶瓷长方体,所述网格式基体结构粘接在底板上,所述网格式基体结构上设有一组用于安放压电陶瓷长方体的凹槽,所述压电陶瓷长方体以长边为深度方向安放在凹槽内。本发明的特点是在采用机械切割法制作压电陶瓷复合材料时,将切割成的小陶瓷块的长度方向作为压电陶瓷复合材料的极化方向。通过采用这一方法,可以以较小的切割深度获得性能优异的低频率厚压电陶瓷复合材料。本压电陶瓷复合器件制备工艺简单,设备要求低,成本低,可重复性高,便于规模生产,提高生产效率及良品率。

标签:
复合材料
江苏 - 镇江 来源:中冶有色网 2023-03-18
构件及其制造方法和装置

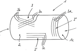
提出一种在采用至少一个由纤维复合材料构成的坯件(1,1’)情况下由该纤维复合材料制造成型的管状构件的方法,该纤维复合材料包含加强纤维(3,3’,3”)和嵌埋最好是包围该加强纤维(3,3’,3”)的基体材料,该坯件(1,1’)具有或呈现包括第一开口(1a)、第二开口(1b)和内腔的空心柱形状,具有以下步骤:a)对该坯件(1,1’)的内腔施以内压;b)使坯件(1,1’)成型为所述管状构件。还提出了用于制造这样的管状构件的装置、相应的管状构件及其用途。

标签:
复合材料
江苏 - 无锡 来源:中冶有色网 2023-03-18
酶-GO-MOFs纳米复合催化剂及其制备方法

本发明公开了一种酶?GO?MOFs纳米复合催化剂及其制备方法,包括如下步骤:(1)在酶液中加入改性剂,得到改性酶溶液,所述的改性剂为N?乙烯基酰胺类聚合物或者普朗尼克F?127,所述的N?乙烯基酰胺类聚合物为聚乙烯吡咯烷酮、聚N?乙烯基己内酰胺、聚N?乙烯甲酰胺中的一种或几种的混合物;(2)GO与金属盐溶液混合,超声处理,再向混合液中加入有机配体溶液,得到GO?MOFs复合材料合成储备液,再次超声处理;(3)向GO?MOFs复合材料合成储备液中加入改性酶溶液,超声处理,得到反应液;(4)离心反应液,收集沉淀,冲洗沉淀,真空干燥,得到酶?GO?MOF?s纳米复合催化剂。本发明制备方法简便易行,纳米复合材料催化剂合成条件温和、蛋白固定率高。

标签:
复合材料
江苏 - 南京 来源:中冶有色网 2023-03-18
长寿命高功率锂离子电池负极材料及其制备方法

本发明涉及新型储能器,长寿命高功率锂离子电池负极材料尖晶石钛酸锂/碳复合材料的制备方法。采用无机锂盐和钛酸四丁酯作为材料,以炭黑作为碳源,通过溶胶凝胶法制备出钛酸锂/碳复合材料。本发明制备的钛酸锂/碳复合材料颗粒小,粒度分布均匀,该材料作为长寿命高功率锂离子电池的负极时表现出优异的大倍率性能和循环性能。当和金属锂组成半电池时60C放电时首次比容量仍然可达到108.9mAh/g,2000次循环后容量保持率为75.9%。该材料和尖晶石锰酸锂组合成锂离子电池时,电流密度达到1A/g时(约60C倍率),放电容量仍可达到60mA/g时放电容量的85%。因而该材料在长寿命高功率型锂离子电池中具有广泛的应用前景。

标签:
复合材料
江苏 - 苏州 来源:中冶有色网 2023-03-18
适用中空塑料板专用ABS改性材料及其制备方法

本发明公开了一种适用中空塑料板专用ABS改性材料及其制备方法,该ABS改性材料包括如下重量份原料:ABS树脂60‑85份、改性纤维素15‑30份、PPO粉料15‑30份、相容剂3‑5份、大分子丙烯酸酯树脂5‑15份、加工助剂0.2‑0.5份、抗氧剂0.2‑0.5份。聚苯醚树脂和大分子量聚丙烯酸酯树脂改性ABS材料,使复合材料熔体粘度随温度波动小,方便中空挤出成型;改性过的ABS复合材料,相比原ABS材料具有更高热变形温度,更易切割,不粘线;耐温高、刚性好的PPO树脂,还增加了复合材料制成的板材尺寸稳定,不挂线,且不会在切割处产生裂纹。

标签:
复合材料
江苏 - 无锡 来源:中冶有色网 2023-03-18
水性纺织涂层的制备方法

发明公开了一种水性纺织涂层的制备方法,首先将固含量为40%的水性聚氨酯分散体或乳液加入到反应釜,升温至60℃;然后加入固含量为40%的水性丙烯酸酯分散体或乳液,在60℃下搅拌混合均匀;之后加入无机纳米粒子,搅拌混合2小时;之后加入交联剂,形成交联网状结构的聚合物基纳米复合材料;之后加入去离子水,将聚合物基纳米复合材料的固含量调至30%;之后降温至40℃,滴加三乙胺,搅拌分散,调节pH值在8~10之间;最后再依次加入消泡剂、流平剂、润湿剂等水性助剂,得到水性纺织涂层。本发明有效地解决了溶剂型纺织涂层的VOCs排放问题;本发明聚合物基纳米复合材料具有优异的机械性能和良好的印刷适应性,尤其适用于织物的喷绘打印和数码打印。

标签:
复合材料
江苏 - 常州 来源:中冶有色网 2023-03-18
离子型塑晶-聚合物-无机复合电解质膜、其制法及应用

本发明公开了一种离子型塑晶‑聚合物‑无机复合电解质膜、其制法及应用。所述离子型塑晶‑聚合物‑无机复合电解质膜包括多孔有机‑无机复合膜以及离子型塑晶电解质复合材料,所述多孔有机‑无机复合膜具有连续三维网络结构,所述离子型塑晶电解质复合材料分布于三维网络结构表面和/或所含孔洞内,所述离子型塑晶电解质复合材料包含离子型塑晶化合物和锂盐。本发明的离子型塑晶‑聚合物‑无机复合电解质膜具有制备工艺简单、机械强度优良、离子电导率高、电化学稳定窗口宽、抑制锂枝晶、耐高温和阻燃性能等优点。

标签:
复合材料
江苏 - 苏州 来源:中冶有色网 2023-03-18
可降解抑菌纺织品
可降解抑菌纺织品 754     
 0

本发明提供了一种可降解抑菌纺织品,与现有技术相比,本发明纺织品先进行电晕处理,再光降解改性、磁控溅射氧化锌,使复合材料具有优越的光降解性能和抑菌性,污染物能够被光催化降解,使复合材料具有自清洁功能,而且,改性性能稳定,经过10次水洗,光降解和抗菌性不降低;同时,复合材料柔软,具有良好的生物降解性及杀菌性,制备方法简单,成本低,便于工业化生产。

标签:
复合材料
江苏 - 南通 来源:中冶有色网 2023-03-18
玻璃纤维弯管的制备方法及模具

本发明复合材料制造技术领域,特别是涉及一种玻璃纤维弯管的制备方法及模具。包括:底座,作为下半膜,与所述弯管形状相配合,包括弯形开放槽I,在所述弯形开放槽I内部作为底座工装面用于铺设玻璃纤维复合材料形成弯管的下型面层压板;上盖板,作为上半膜,与所述弯管形状相配合,包括弯形开放槽II,在所述弯形开放槽II内部作为上盖板工装面用于铺设玻璃纤维复合材料形成弯管的上型面层压板;异形真空袋,嵌入铺贴好的下型面层压板内部。本发明通过预制异形内胆真空袋实现零件与工装面的密封。通过抽真空,获得零件固化过程中的加压。固化需要的温度通过固化炉提供。本发明可以依据现有设备、工装、材料,仅预先制备异形真空袋即能完成零件制造,成本低,工期短,易掌握。

标签:
复合材料
江苏 - 镇江 来源:中冶有色网 2023-03-18
车顶涂层材料
车顶涂层材料 868     
 0

本发明公开一种车顶涂层材料,所述涂层材料包括20%~40%质量分的树脂、1%~5%质量分的颜料、1%~5%质量分的固化剂、10%~20%质量分的溶剂和1.4%~18%质量分的助剂,所述涂层材料还包括20%~40%质量分的金属/复相陶瓷复合材料,所述金属/复相陶瓷复合材料为Ni·Cr-SiC/Al2O3。本发明的车顶涂层材料,通过在涂层中增加金属/复相陶瓷复合材料,能够有效的提高涂层本身的耐腐蚀性能、硬度和强度,更好的抵御各种灾害,通过增加光屏蔽剂和自由基捕获剂能够更好地抵抗紫外线,进一步的有效延长车顶的使用寿命。

标签:
复合材料
江苏 - 镇江 来源:中冶有色网 2023-03-18
预浸料窄带铺放张力自适应调节方法

本发明涉及一种预浸料窄带铺放张力自适应调节方法,属于复合材料自动铺放成型技术领域。该方法和装置主要包括预浸窄带料卷及其支撑结构、制动器、张力位置检测器、张力调节器、辅助导向辊和电气信号处理单元等,若制动器选用气动制动器时,则需增加电气比例转换控制器。本发明提供的复合材料预浸窄带铺放张力调节系统适用于复合材料自动铺丝机,响应速度快,能实现独立的预浸料窄带铺放张力自适应闭环控制,可做模块化设计,不依赖于自动铺丝机的主控制系统,极大减少了自动铺丝机主控制系统的负荷,简化了主控制系统的设计。

标签:
复合材料
江苏 - 南京 来源:中冶有色网 2023-03-18
上一页 2012 2013 2014 2015 2016 ... 2585 下一页
共2585页    到第

中冶有色为您提供最新的江苏有色金属材料制备及加工技术理论与应用信息,涵盖发明专利、权利要求、说明书、技术领域、背景技术、实用新型内容及具体实施方式等有色技术内容。打造最具专业性的有色金属技术理论与应用平台!

全国热门有色金属设备推荐
展开更多 +
全国热门有色金属技术推荐
展开更多 +

 

江西省隆恩特环保设备有限公司
宣传

报名参会
更多+

报告下载

有色专家
更多+

长春黄金研究院有限公司
总经理
矿冶科技集团
副所长/研究员
中冶沈勘秦皇岛工程技术有限公司
原矿山院院长/教授级高工
石家庄铁道大学
团委书记/副教授
江西省科学院应用化学研究所
副主任/副研究员
赤泥综合利用研究报告2025
推广

热门技术
更多+

推荐企业
更多+

福建省金龙稀土股份有限公司
宣传

发布

在线客服

公众号

电话

顶部
咨询电话:
010-88793500-807