青岛垚鑫智能科技有限公司
宣传

位置:中冶有色 >

有色技术频道 >

> 加工技术

分类:
全部
矿山技术
冶金技术
材料制备及加工技术
环境保护技术
分析检测技术
 
全部
功能材料技术
复合材料技术
新能源材料技术
合金材料技术
加工技术
地区:
全部
北京
天津
上海
重庆
河北
山西
辽宁
吉林
黑龙江
江苏
浙江
安徽
福建
江西
山东
河南
湖北
湖南
广东
海南
四川
贵州
云南
陕西
甘肃
青海
内蒙
广西
西藏
宁夏
新疆
其他
其他
展开
 
全部

有色金属加工技术理论与应用

免费发布技术信息>>
带有防御功能的智能背带

本发明公开了一种带有防御功能的智能背带,包括背带本体,所述背带本体包括前带、后带和臂套,所述前带和后带均为麂皮绒材质,所述前带上固定设置有单片机、蜂鸣器和致盲灯,所述后带上固定设置有片式锂电池,所述臂套上固定设置有压力传感器,所述片式锂电池与单片机电性连接,所述单片机分别与蜂鸣器、致盲灯和压力传感器电性连接。该带有防御功能的智能背带,外形美观,穿戴方便,透气性良好,可对使用者进行多重保护,保护了使用者的人身安全。

标签:
加工技术
安徽 - 宣城 来源:中冶有色网 2023-03-18
双溶剂分步转相制备聚甲基丙烯酸甲酯凝胶电解质微孔膜的方法

本发明公开了一种双溶剂分步转相制备聚甲基丙烯酸甲酯凝胶电解质微孔膜的方法,包括以下步骤:将制孔剂与易挥发溶剂混合并溶解聚甲基丙烯酸甲酯聚合物,充分溶解后用刮膜器均匀地涂布于平板上;静置,待易挥发溶剂挥发后,浸入去离子水中,待聚合物膜中的制孔剂溶于水后,取出烘干;烘干后的聚合物膜浸入锂盐电解液中,得PMMA凝胶电解质微孔膜。本发明采用易溶于水且沸点大于100℃的溶剂作为制孔剂,提高了凝胶电解质膜微孔的均一性,与传统的隔膜相比有较高的电化学稳定窗口和充放电效率,展示了更好的吸液效果且不漏液,提高了膜的机械强度,克服了液体锂离子电池存在的安全隐患及固体电池导电率不高的问题,易于产业化应用。

标签:
加工技术
江苏 - 淮安 来源:中冶有色网 2023-03-18
磁吸式3D无线旋转鼠标
磁吸式3D无线旋转鼠标 1137     
 0

本发明公开了一种磁吸式3D无线旋转鼠标,包括壳体,壳体下端设置有旋转接触腔,旋转接触腔与壳体之间设置有光电鼠标模块、可充电式锂电池和环形磁吸铁片,可充电式锂电池分别连接数码时钟显示模块和光电鼠标模块,光电鼠标模块连接触摸滑条;旋转接触腔上设置有功能按键、工作指示灯和usb充电接口;旋转接触腔下依次设置有光电反射腔、环形磁吸磁铁、支撑半球和固定底座,光电反射腔与支撑半球为扣合在一起的球形结构;环形磁吸磁铁设置于光电反射腔内;固定底座的上端设置有与支撑半球的底部配合固定的凹槽;旋转接触腔的底面设置有与光电反射腔相匹配的内凹槽,且旋转接触腔上设置有光电反射接收孔。本发明操作便捷,实用性强,对健康有益。

标签:
加工技术
广东 - 广州 来源:中冶有色网 2023-03-18
非水电解质卤素电池
非水电解质卤素电池 1097     
 0

本发明提供一种非水电解质卤素电池(10),具备:以放出锂离子的材料作为负极活性物质的负极(14)、以卤素作为正极活性物质的正极(16)以及包含锂离子和卤素的离子传导介质(18),其中,该离子传导介质(18)含有非水性溶剂,所述非水性溶剂包含选自由具有一个以上硫与氧的双键的含硫有机化合物和具有一个以上磷与氧的双键的含磷有机化合物构成的组中的1种以上并且与卤素形成分子络合物,由此,能够进一步提高工作电压。

标签:
加工技术
其他 - 其他 来源:中冶有色网 2023-03-18
聚苯醚树脂合金材料、其制备方法和应用

本发明属于高分子合金材料领域,具体涉及一种用于加工电动汽车锂离子电池外壳的聚苯醚树脂合金材料及其制备方法,该聚苯醚树脂合金材料包括下列重量份的原料组分:聚苯醚树脂40-60份;聚苯乙烯树脂20-60份;聚烯烃1-3份;弹性体1-8份;阻燃剂1-15份;玻璃纤维10-20份;接枝体1-15份;功能母粒3-8份;抗氧剂0.2-0.5份。本发明通过配方合理组合,工艺优化,成功解决了电动汽车长时间使用,其锂离子电池外壳发生变形及电极连接处出现开裂的现象。

标签:
加工技术
江苏 - 苏州 来源:中冶有色网 2023-03-18
有机锌络合物及其制备和使用方法

本发明公开了制备有机锌试剂的方法,该方法包括使(A)有机镁络合物或有机锌络合物与(B)任选与锌离子和/或锂离子和/或卤化物离子组合的、包括一个或多个羧酸基团和/或醇基和/或叔胺基团的至少一个配位性化合物反应,其中所述卤化物离子选自氯化物、溴化物和碘化物,当所述配位性化合物是螯合多胺时,所述有机锌络合物包括芳基、杂芳基或苄基,并且当反应物(A)包含至少一个有机镁络合物时,所述反应在与至少一个配位性化合物络合的锌存在下进行。得到的有机锌试剂可以任选地与溶剂分离以获得固体试剂。所述试剂可用于通过Negishi交叉偶联反应或通过醛和/或酮氧化加成反应制备有机化合物。有机锌试剂是稳定的,并且由于其高度选择性而允许在交叉偶联中保持敏感的官能团,例如醛。

标签:
加工技术
其他 - 其他 来源:中冶有色网 2023-03-18
石墨烯基纳米铁氧化物复合材料及其制备方法

本发明公开一种石墨烯基纳米铁氧化物复合材料及其制备方法,该方法能够使石墨烯负载上粒径均匀、形貌、组分可控的铁氧化物纳米颗粒。首先采用超声法将氧化石墨均匀分散在去离子水中,得到氧化石墨烯溶液;继而向所得溶液中加入铁盐前驱体并混合均匀,调节溶液pH,使铁盐水解;再将混合液置于反应釜中水热反应;最后对所得产物进行清洗并冷冻干燥,得到石墨烯基铁氧化物纳米复合材料。本发明的优点在于原料普通易得,成本低廉,制备过程简单安全,环境友好;所制备的石墨烯基铁氧化物纳米复合材料具有很好的结构稳定性和单分散性,其用作锂离子电池电极材料时,充放电容量可达1000mAh/g以上,并且具有较好的倍率性能和循环寿命。

标签:
加工技术
江苏 - 徐州 来源:中冶有色网 2023-03-18
非水电解液,用于聚合物凝胶电解质的组合物,聚合物凝胶电解质,二次电池,和双层电容器

向用于二次电池的电解质溶液中添加在高于金 属锂和锂离子平衡电位1.0V的电位(Li/Li++1.0V或更大的电位)时还原性分解的化合物。即使在碳酸丙烯用作有机电解质时,其不在负极处分解。所述的添加还改善了所述电池的循环性能,电容量和低温特性。

标签:
加工技术
其他 - 其他 来源:中冶有色网 2023-03-18
吲唑化合物的制备方法
吲唑化合物的制备方法 1100     
 0

本发明提供一种吲唑化合物3-{2-[4N-(2-甲基-3-氯苯基)-1N-哌嗪基]乙基}-5,6-二甲氧基-1H-吲唑盐酸盐的制备方法。由3,4-二甲基-6-氨基咖啡酸乙酯出发,经重氮化合环反应制得吲唑乙酸,经酰氯化后与哌嗪侧链结合后得吲唑乙酰胺,再经四氢锂铝或四氢硼钠还原成吲唑胺,再盐酸化、重结晶制得目的化合物。本发明的吲唑化合物能够减少或阻断ONOO-产生及继发,逆转血管内皮细胞氧化应激损伤,能够逆转血管内皮细胞氧化应激损伤,保护脑血管。制备方法简便,原材料廉价,收率高。

标签:
加工技术
浙江 - 杭州 来源:中冶有色网 2023-03-18
达泊西汀的合成方法
达泊西汀的合成方法 952     
 0

一种达泊西汀的合成方法:在75~85℃条件下,以乙醇为溶剂,加入苯甲醛,丙二酸,乙酸胺,冷凝回流,反应完成后,冷却至室温,过滤,干燥,得白色固体3-氨基-3-苯基丙酸;将其溶解在无水四氢呋喃中,在2~2℃下,加入四氢铝锂,反应完成后,加NaOH溶液萃灭反应,萃取,蒸馏,提纯,得淡黄色固体3-氨基-3-苯基丙醇;将其溶解在甲酸溶液中,慢慢加入甲醛,回流温度95~102℃,反应完成后,萃取,蒸馏,得到淡黄色液体3-(N,N-二甲基胺)-3苯基丙醇;将其溶解在无水四氢呋喃中,在0℃,氮气保护下,加入1-萘酚和三苯基磷,小心加入偶氮二甲酸二乙酯,反应完成后,蒸馏,提纯,得淡黄色液体N,N-二甲基-3-(1-萘氧基)-1-苯基-1-丙胺;再用公知的方法用L-(+)-酒石酸处理,最后用盐酸处理即得。

标签:
加工技术
湖南 - 长沙 来源:中冶有色网 2023-03-18
草酸亚铁的制备方法
草酸亚铁的制备方法 1107     
 0

一种草酸亚铁的制备方法,属于粉体材料制备技术领域。其目的是提供一种具有高纯度,粒度可控,颗粒均匀,导电率高的草酸亚铁的制备方法。其技术要点是:将硫酸亚铁置于稀硫酸中,加入铁屑,搅拌,抽滤后得硫酸亚铁溶液;将草酸或/和草酸铵溶解于蒸馏水中,搅拌加热,溶解后,抽滤得草酸或/和草酸铵混合溶液;缓慢将硫酸亚铁溶液加入到草酸溶液中,保温搅拌,静止后母液分离,经洗涤和干燥得到草酸亚铁粉末。本发明制备方法制备的草酸亚铁,中粒径为0.5ΜM~80ΜM的粉体,粒度完全可控,产品纯度大于99.0%,导电率高,极大地改善了磷酸亚铁盐复合材料的电化学性能,将磷酸铁锂的导电率提高了5个数量级。

标签:
加工技术
安徽 - 合肥 来源:中冶有色网 2023-03-18
铁锆红色料的制备方法
铁锆红色料的制备方法 1008     
 0

本发明公开了一种铁锆红色料的制备方法,其特征在于依次由下述过程制备:(1)液相反应:将氧氯化锆、硫酸亚铁和五水偏硅酸钠在水中进行液相反应;(2)分离、干燥:将液相反应产生的固液悬浮物进行分离、干燥;(3)预煅烧:将干燥物粉碎后,在750~850℃条件下煅烧2~3小时;(4)混料:将预煅烧产物与氟化锂、氟硅酸钠和氟化钠混合均匀;(5)煅烧:将步骤(4)中的混合物在900~1000℃条件下煅烧2~5小时;(6)后加工:再将烧结的固体物料进行磨碎、酸洗、水洗、干燥后筛分。这种液相反应与固相反应结合的方法提高了高温固相反应包裹率,合成出了发色鲜艳,发色力强,高温非常稳定的铁锆红色料产品。

标签:
加工技术
广东 - 佛山 来源:中冶有色网 2023-03-18
人造石墨负极材料的制备方法

本发明涉及一种包覆的锂离子电池人造石墨负极材料的方法。本发明公开了一种人造石墨负极材料的制备方法。该方法首先将人造石墨碎球化整形后,与超微粉化后的包覆材料在机械融合机内进行包覆,之后进行焙烧、石墨化制得性能优越的人造石墨负极材料。本发明方法环保,易于规模化生产,制得的锂离子电池石墨负极材料,克比容量超过350mAh/g,首次库仑效率超过94%,振实密度大于1.1g/cm3,比表面积小于2m2/g。

标签:
加工技术
甘肃 - 兰州 来源:中冶有色网 2023-03-18
鲽型水下滑翔机
鲽型水下滑翔机 975     
 0

本发明公开了一种鲽型水下滑翔机,电子舱包括:耐压舱、重力及重心调节机构、控制系统以及锂电池组,耐压舱内部分为中心区域、中环区域以及外环区域,锂电池组设置于中心区域,控制系统包括无线连接的水面控制系统和水下控制系统,水下控制系统及调查设备的电子部分均匀布置在中环区域,重力及重心调节机构包括4个相同结构的水袋水泵组,4个水袋水泵组对称分布于外环区域。本发明具有低成本、低噪声、大续航力和运动灵活度高的特点,通过控制四个对称分布的水袋水泵组调整滑翔机的重力和姿态,实现锯齿状或螺旋状的运动轨迹。本发明可同时搭载多个水下科考调查设备,自治地完成广泛海域内连续数据采集,并实时回传数据。

标签:
加工技术
上海 - 上海 来源:中冶有色网 2023-03-18
绝缘导热涂料及制备方法、及其在电池壳体中的应用

一种绝缘导热涂料,包括以重量组分计:有机溶剂110-180份、塑料基材100-150份、无机填充剂30-50份。有机溶剂为四氢化萘、三氯代苯、二甲苯、环己酮、乙酸酯、乙烷、苯及三氯甲烷中的一种或者两种以上的混合物;塑料基材为聚丙烯塑料、聚乙烯塑料及聚苯硫醚塑料中的一种或者两种以上的混合物;无机填充剂为氧化镁粉末、氧化铝粉末及碳化硅粉末中的一种或者两种以上的混合物。该绝缘导热涂料采用热熔、搅拌、混合的制备方法。通过在锂离子电池的金属壳体内腔涂覆主层该绝缘导热涂料,使电池在使用过程中散发的热量可以迅速导出,且使整个壳体与电池绝缘,从而避免在长时间使用过程中电解液对金属壳体的腐蚀,能有效地减少了锂离子电池的热失控以及密封失效。

标签:
加工技术
安徽 - 芜湖 来源:中冶有色网 2023-03-18
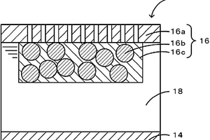
具有核-壳结构的材料
具有核-壳结构的材料 872     
 0

公开了一种具有复合颗粒的材料。该复合颗粒包括外壳和内核,所述外壳含有如碳、氮、氧和硫的元素,所述内核由锂合金化材料如锡、硅、铝和/或锗制成。如果外壳由碳制成,则复合颗粒的外壳具有小于20NM的平均厚度,且复合颗粒具有小于100NM的外部平均直径。在一些情形中,内核由锡、锡二元合金、锡三元合金和锡四元合金制成。

标签:
加工技术
其他 - 其他 来源:中冶有色网 2023-03-18
八氢环戊基并[c]吡咯羧酸衍生物的制备方法

本发明公开了一种八氢环戊基并[c]吡咯羧酸衍生物的制备方法,包括步骤:以N保护的八氢环戊基并[c]吡咯为原料,以四氢呋喃、甲基叔丁基醚、或二氧六环中的一种为溶剂,加入手性有机配体,在-50℃~-78℃,和烷基锂反应2~3小时,再和二氧化碳气体、或氯甲酸乙酯反应,得到八氢环戊基并[c]吡咯羧酸衍生物。本发明八氢环戊基并[c]吡咯羧酸衍生物的制备方法,合成路线短、收率高,使大规模生产能够顺利实现。

标签:
加工技术
上海 - 上海 来源:中冶有色网 2023-03-18
用于超级电容器的活性炭/低维钛氧化物复合电极材料

本发明涉及一种用于超级电容器的活性炭/低维钛氧化物复合电极材料的制备和电化学性能分析,属于超级电容器的电极材料制备领域和能源领域。本发明采用廉价的工业级二氧化钛和活性炭为原材料,以超声化学水热法制备材料前驱体,经过稀酸、去离子水和乙醇充分洗涤后,在惰性气体保护下低温热处理后得到活性炭/低维钛氧化物复合电极材料。与纯活性炭相比,本发明制备的活性炭/低维钛氧化物复合电极材料,用于超级电容器时具有较高的比电容和能量密度,循环稳定性好。活性炭/低维钛氧化物复合电极材料适合发展作为超级电容器的电极材料,并可望与二次锂离子电池联用,应用于电动汽车等方面。

标签:
加工技术
北京 - 北京 来源:中冶有色网 2023-03-18
非水系电解液二次电池
非水系电解液二次电池 1091     
 0

本发明的课题在于提供循环和保存等耐久特性得到改善的非水系电解液二次电池。所述非水系电解液二次电池是具备含有锂盐和溶解其的非水系溶剂而成的非水系电解液、能够吸留和释放锂离子的负极以及正极的非水系电解液二次电池,上述负极包含由菱面体晶率为0%~35%的石墨粒子形成的负极活性物质,且上述非水系电解液含有下述通式(1)所示的化合物,由此提供解决了上述课题的非水系电解液二次电池。

标签:
加工技术
其他 - 其他 来源:中冶有色网 2023-03-18
测井仪器串竹节式的连接方法

本发明公开一种测井仪器串竹节式的连接方法,仪器串包括依次串接在一起的方位能谱、补偿中子、岩性密度、数字声波和井径测井仪,所述补偿中子与岩性密度之间连接有旋转短节,各仪器之间采用螺纹拉环进行连接,所述仪器串前后端均设置有护帽;所述旋转短节与岩性密度之间设置有姿态保持器;所述井径测井仪采用板型弹簧式井径测井仪;所述仪器串的各个测井仪器内均设置独立的供电单元,所述供电单元采用耐高温锂电池供电;所述岩性密度和数字声波之间设置有柔性短节。本发明整个仪器串各个仪器均有独立的供电单元,采用耐高温锂电池供电,提高了测井效率和安全性;各仪器之间采用螺纹拉环连接,结合姿态保持器和柔性短节,不仅方便拆装,而且提高了测量数据的准确度。

标签:
加工技术
北京 - 北京 来源:中冶有色网 2023-03-18
电解液及其用于制备核燃料棒锆合金包壳微弧氧化膜的用途和方法

本发明涉及一种用于锆或锆合金表面微弧氧化膜制备的电解液、采用该电解液进行锆或锆合金表面微弧氧化的方法以及电解液用于核燃料棒锆合金包壳表面微弧氧化膜制备的用途,电解液为碳酸钠、氢氧化锂以及甘油的混合水溶液,其中,碳酸钠的含量为5g/L~15g/L、氢氧化锂的含量为2g/L~12g/L、甘油的含量为30ml/L~60ml/L。本发明充分考虑反应堆内核燃料棒包壳的使用环境,合理选择锆合金微弧氧化电解液和氧化工艺,使锆合金包壳材料经过微弧氧化处理后耐高温高压水腐蚀能力得到明显提高。

标签:
加工技术
江苏 - 苏州 来源:中冶有色网 2023-03-18
液相化学还原法制备包覆有分散稳定剂的铝纳米粒子的方法

本发明公开了液相化学还原法制备包覆有分散稳定剂的铝纳米粒子的方法,其特征是:纯化市售均三甲苯;在均三甲苯中分散氯化铝;按氯化铝:氢化铝锂:分散稳定剂为1~2.5:0.5~1:0.5~1的质量比,在通氮气的条件下,向分散有氯化铝的均三甲苯中加入分散稳定剂聚乙二醇或聚乙二醇二甲醚和氢化铝锂,在164~166℃的温度下,搅拌反应12~24h后,冷却,离心分离,弃去上层清液,除去剩余的均三甲苯溶剂,再用低温甲醇洗涤,经超声洗涤、离心分离、弃去上层清液,所得下层物料经真空干燥,即制得尺寸均匀、分散性较好且具有一定活性的包覆有分散稳定剂的铝纳米粒子产物,适用于火箭推进剂、火炸药和太阳能背板等领域中。

标签:
加工技术
四川 - 绵阳 来源:中冶有色网 2023-03-18
利用2,6-二氯甲苯氨氧化制备2,6-二氯苯腈的催化剂

本发明公开了一种利用2,6-二氯甲苯氨氧化制备2,6-二氯苯腈的催化剂,本发明还公开了该催化剂的制备方法及使用方法。该催化剂组成为VaCrbCcDdEe/SiO2,其中,活性组分VaCrbCcDdEe的质量含量为5~30%,活性组分中,C为钾、锂、铋、锑、钼、钨、镁或锡中的一种;D为铁、镍、锌、铜或钴中的一种;E为磷、钛、锰或硼中的一种;a=1;b=0.8~3;c=0.01~1.3;d=0~1.5;e=0~0.6。由于该催化剂以硅胶为载体,以钒、铬为主催化剂元素,以钾、锂等为助催化剂元素,因此该催化剂具有活性高、选择性好,产品产率高、纯度高、使用工艺简单等优点。

标签:
加工技术
湖北 - 武汉 来源:中冶有色网 2023-03-18
陶瓷隔膜及其在电池中的应用及含该陶瓷隔膜的电池

本发明属于电化学领域,具体涉及一种陶瓷隔膜。更具体地,本发明涉及具有核壳结构的有机-无机复合物代替陶瓷粉体制备的陶瓷隔膜,本发明还涉及该种陶瓷隔膜在锂离子电池等化学电源体系的应用及含有该种陶瓷隔膜的电池。核壳复合结构的陶瓷粉体有利于提高陶瓷隔膜吸附和保持电解液的能力。本发明获得的陶瓷隔膜可以作为锂离子等二次电池的高安全隔膜材料,具有优异的电化学性能和热稳定性。本发明操作性强,成本较其它方法低,重现性好,所得的产品质量稳定。

标签:
加工技术
福建 - 厦门 来源:中冶有色网 2023-03-18
防治皮肤病的外用洗液
防治皮肤病的外用洗液 1039     
 0

本发明属于中药领域,具体涉及一种防治皮肤病的外用洗液,其特征在于它由以下重量配比的原料制备而成:大青叶4~6份、木槿皮4~6份、印楝4~6份、生半夏3~5份、荆芥3~4份、苍耳3~4份、鲜核桃皮2~3份、白芨2~3份、生栀子2~3份、枸杞3~5份、柴胡2~3份、枯矾0.5~1份、蜈蚣粉0.5~1份、桉叶油0.2~0.3份、次氯酸锂0.1~0.2份、月见草油0.2~0.3份、松花粉0.3~0.6份、芦荟汁0.5~1份,将上述原料中的大青叶、苍耳、木槿皮、印楝、荆芥、生半夏、鲜核桃皮、白芨、生栀子、枸杞、柴胡按比例粉碎成粗粉或直接加水煎煮35~45分钟,过滤去渣取汁,得药液,另在使用前按比例将枯矾、次氯酸锂、蜈蚣粉、桉叶油、月见草油、松花粉、芦荟汁调入洗液中或直接调入上述药液中。

标签:
加工技术
四川 - 成都 来源:中冶有色网 2023-03-18
超级电容器用四氧化三钴纳米材料及其制备方法

一种超级电容器用四氧化三钴纳米材料及其制备方法,是以硝酸钴为原料,以乙二醇与水的混合物为溶剂,加入一定量的葡萄糖,放入高压釜中,在120-200℃下反应10-25小时,抽滤,80℃干燥后,在马弗炉中300℃煅烧,获得直径7-15μm的三维分级结构四氧化三钴海胆状连体纳米球。本发明的特点在于操作方法简单,产率高,产物为三维分级结构,电化学性能优越。该制备三维分级结构四氧化三钴纳米球具有较高的稳定性,均匀的粒径分布,分散性好,不易团聚,三维结构孔隙有利于电解液扩散的特点,因此该材料有望在催化、锂电、超级电容器等领域拥有广泛的应用。

标签:
加工技术
河南 - 郑州 来源:中冶有色网 2023-03-18
无线油气井信息采集器

本发明公开了无线油气井信息采集器,太阳能电池板(11)固定壳体(10)上,面板(6)经密封压盖(5)固定壳体(10)上,面板(6)、壳体(10)和太阳能电池板(11)一起构成安装腔,安装腔内安装集成主板(8)、液晶显示器(7)和锂电池(4),壳体(10)上安装远传天线(9),测试探头(3)的一端经固定螺丝(12)安装壳体(10)上,测试探头(3)的另一端连接温度传感器(1)和压力传感器(2),太阳能电池板(11)、远传天线(9)、液晶显示器(7)、锂电池(4)、测试探头(3)共连接集成主板(8)形成信息采集电回路。本发明结构简单紧凑,精确测量油井温度、压力信号,实现信息的无线远传,使之在石油行业得到广泛应用。

标签:
加工技术
江苏 - 淮安 来源:中冶有色网 2023-03-18
LED手表
LED手表 946     
 0

一种LED手表包括表带、卡扣、卡套、小孔、装饰物、红色LED灯点、绿色LED灯点、控制器、开关,锂电池。卡扣安装在表带的一端,卡套安装在表带的另一端,小孔是在表带的面板上开的很多个凹孔,可在小孔内安装装饰物,在18个小孔内安装红色LED灯点,在18个小孔内安装绿色LED灯点,红色LED灯点分为两组,三横三竖列为一组共9个灯点,以二十四小时制方式来显示小时,一组显示小时中的十位数,一组显示小时中的个位数,绿色LED灯点分为两组,三横三竖列为一组共9个灯点,一组显示分钟中的十位数,一组显示分钟中的个位数,控制器安装在表带的背板一侧,作为时间计数器,用来控制红色LED灯点与绿色LED灯点相互配合显示时间,开关安装在表带的一侧,锂电池安装在表带上靠近卡扣的位置。

标签:
加工技术
江苏 - 无锡 来源:中冶有色网 2023-03-18
移动充电电源装置
移动充电电源装置 894     
 0

本发明涉及一种移动充电电源装置,是利用该电源装置内部可拆装电源对外输出充电的装置,确切地说是一种移动充电电源装置。本发明包括电源组和电源组内架,电源组活动连接在电源组内架当中,电池组内架内的电源组通过升降压电路装置和USB接口槽连接,电源组内架外部与中架连接,下部与底架连接,中架上部与上盖连接,挂套与中架连接;所述电源组为电池组合;所述电池组为锂电池;所述电源组输出接口为USB接口。本发明有效解决现有同类充电装置的不足之处,提供一种结构简单实用,并设有升降压电路,能够使用现有的各种电池或锂电池,采用统一的USB输出接口。

标签:
加工技术
广东 - 广州 来源:中冶有色网 2023-03-18
多氢碳壳菌聚酮类化合物的制备方法

本发明公开了一种多氢碳壳菌聚酮类化合物的制备方法。该方法包括如下步骤:(1)式(2)所示化合物与式(3)所示化合物在碱性化合物a和钯催化剂存在的条件下进行反应得到式(4)所示化合物;(2)向式(5)所示化合物与正丁基锂反应的产物中加入式(4)所示化合物进行加成反应;所述加成反应的产物在催化剂存在的条件下进行去芳香化环化反应得到式(6)所示化合物;(3)在碱性催化剂存在的条件下,式(6)所示化合物进行分子内迈克尔加成反应即得式(1)所示多氢碳壳菌聚酮化合物。本发明提供的方法步骤简短,原料价格便宜,反应条件温和,产率较高,便于对产物进行衍生,具有较大工业化生产的潜力。

标签:
加工技术
北京 - 北京 来源:中冶有色网 2023-03-18
上一页 1974 1975 1976 1977 1978 ... 2000 ... 5000 ... 6681 下一页
共6681页    到第

中冶有色为您提供最新的有色金属加工技术理论与应用信息,涵盖发明专利、权利要求、说明书、技术领域、背景技术、实用新型内容及具体实施方式等有色技术内容。打造最具专业性的有色金属技术理论与应用平台!

全国热门有色金属设备推荐
展开更多 +
全国热门有色金属技术推荐
展开更多 +

 

江西省隆恩特环保设备有限公司
宣传

报名参会
更多+

报告下载

有色专家
更多+

洛阳有色矿业集团有限公司
生产技术部经理
赣州江钨钨合金有限公司
工程师
中南大学
院长/教授
武汉科技大学
院长 / 教授
中南大学
教授、博士生导师
赤泥综合利用研究报告2025
推广

热门技术
更多+

推荐企业
更多+

福建省金龙稀土股份有限公司
宣传

发布

在线客服

公众号

电话

顶部
咨询电话:
010-88793500-807