青岛垚鑫智能科技有限公司
宣传

位置:北方有色 >

有色技术频道 >

> 废水处理技术

分类:
全部
矿山技术
冶金技术
材料制备及加工技术
环境保护技术
分析检测技术
 
全部
废水处理技术
大气治理技术
固/危废处置技术
土壤修复技术
地区:
全部
北京
天津
上海
重庆
河北
山西
辽宁
吉林
黑龙江
江苏
浙江
安徽
福建
江西
山东
河南
湖北
湖南
广东
海南
四川
贵州
云南
陕西
甘肃
青海
内蒙
广西
西藏
宁夏
新疆
其他
其他
展开
 
全部
沈阳
大连
鞍山
抚顺
本溪
丹东
锦州
营口
阜新
辽阳
盘锦
铁岭
朝阳
葫芦岛

辽宁大连有色金属废水处理技术理论与应用

免费发布技术信息>>
催化湿式氧化降解染料污染物的方法

本发明涉及一种催化湿式氧化处理染料废水的方法,其特征在于:首先用酸调节染料废水的PH值≤2.9,再加入催化剂,以氧气或空气为氧化剂,磁力搅拌,在高压反应釜中氧化降解染料污染物;反应温度为60~200℃,反应压力为0.1~3MPA,其中氧分压为0.1~1MPA,反应时间为0.5~8H;所述催化剂由组分A和组分B组成,组分A为二价和/或三价可溶性铁盐,组分B为碱金属或碱土金属的可溶性盐。采用该方法处理染料废水脱色效果好,总有机碳去除率较高,可以适用于高浓度染料废水的处理;而且本发明还具有催化剂活性高,价格低廉,反应条件温和,处理成本低等优点,工业化应用前景大。

标签:
废水处理
辽宁 - 大连 来源:北方有色网 2023-03-19
用于类Fenton技术的活性炭催化剂及其制备和应用

本发明涉及一种用于类Fenton法处理难降解有机废水的活性炭催化剂及其制备和应用。催化剂以过渡金属Cu、Fe、Ni、Mn或稀土元素为活性组分,以成型活性炭为载体,通过等体积浸渍法制备,主要用于处理难降解有机废水或生化法处理后未能达标的废水。本发明活性炭催化剂在室温下处理废水,不调节废水pH,H2O2(mg/L) : COD(mg/L)为0.3~1.5,空速为0.5~2.0h-1,COD去除率大于50%,处理前后废水的BOD5/COD指标显著提高,废水可生化性得以提升。连续运行700h以上催化活性保持不变,可在类Fenton法处理工业废水特别是难降解有机废水的工业化应用中进行推广。

标签:
废水处理
辽宁 - 大连 来源:北方有色网 2023-03-19
改性液体聚合氯化铝的制法及其用途

改性液体聚合氯化铝又称聚硫氯化铝(PACS),聚合氯化铝增加含有硫酸根配位基,其稳定性和絮凝效果优于聚合氯化铝,是一种高效、价廉、广谱的净水剂。该产品是以铝材加工厂排放的含铝离子的废碱液和废硫酸液为原料,同一定比例的固体聚合氯化铝或三氯化铝复配、络合制成的黄褐色乳浊液。该产品将废弃物资源化,原料充足,设备投资少,工艺流程简单,成本低,生产过程不产生任何污染。它主要用于工业给水和废水絮凝处理,如含油废水、乳化油废水、印染、啤酒、制革、造纸、制药、食品废水和含氟、磷废水的处理。

标签:
废水处理
辽宁 - 大连 来源:北方有色网 2023-03-19
电化净水装置
电化净水装置 839     
 0

电化净水装置属生活用水和工业废水净化处理装置,由预处理、电化反应、消毒过滤、电动自控四个部分构成,包括转子流量计、管线,电磁阀,真空喷射器、磁化管,投药罐,电化反应的敞开口的槽箱,旋转刮板排污机、动力电机,槽箱外的集渣排污槽,槽箱内具有方位相垂直摆放的电极板组,成为电解前室与后室进行二次电化反应,还设有旋流分离器、过滤消毒器所组成,可用于净化生活用水、工业废水净化,水质好、效率高、成本低、占地面积小等优点。

标签:
废水处理
辽宁 - 大连 来源:北方有色网 2023-03-19
脱色絮凝剂其制备方法及应用

本发明涉及工业废水处理技术,是一种高效脱色絮凝剂的制备方法。在催化剂的作用下,将木质素、双氰胺和部分甲醛在一定条件下进行初步缩聚反应,待反应放热稳定后,再加入部分甲醛,控制温度在65-95℃,保温2-6H后得到产品。本发明中催化剂可以采用氯化铵、氯化铝、硫酸铝、明矾中的一种或几种。本发明工艺设备简单、操作安全、成本低廉。本产品适用于染料、印染及制浆造纸工业等高色度废水的深度处理,脱色率可达95%以上。

标签:
废水处理
辽宁 - 大连 来源:北方有色网 2023-03-19
废催化剂无害化处理厂区

本实用新型提出了一种废催化剂无害化处理厂区窑,通过对废水、和火法工艺过程的余热的回收利用。包括:生产区、循环水池、办公区、休息区、废水处理区、绿化区和主机房,还包括水回收系统和余热回收系统,水回收系统包括:设置于废水处理区的废水处理系统,设置于循环水池的工业水池;工业水池通过工业水泵与生产区的工业水管连通;工业水池还与绿化区的灌溉水管连通;灌溉水管上连接有若干电控灌溉阀;余热回收系统包括设置于生产区火法车间内的冷却水管,冷却水管环设于火法车间内的脱油炉、灰化炉和燃烧炉的排气管外侧壁,冷却水管的出水口通过第二电磁阀与设置于办公区和休息区的供热系统的供热水管相连。

标签:
废水处理
辽宁 - 大连 来源:北方有色网 2023-03-19
太阳能热泵循环节能热水机组

一种太阳能热泵循环节能热水机组,包括:空气源热泵机组、循环泵、电磁阀、排气管、水罐、洗浴供水泵、污水源热泵机组、洗浴废水池、温度传感器、太阳能热水器;所述的空气源热泵机组包括:风机、蒸发器Ⅰ、压缩机Ⅰ、冷凝器Ⅰ、储液罐、过滤器、膨胀阀Ⅰ;所述的水罐包括:水位传感器、温度传感器Ⅰ;所述的污水源热泵机组包括:冷凝器Ⅱ、膨胀阀Ⅱ、蒸发器Ⅱ、压缩机Ⅱ;所述的洗浴废水池包括:温度传感器Ⅱ、污水取热换热器;所述的太阳能热水器包括:温度传感器Ⅲ、排气管Ⅱ;本机组其应用范围广,易于配套安装,使节能效率提高一倍以上。

标签:
废水处理
辽宁 - 大连 来源:北方有色网 2023-03-19
不饱和醇的催化合成方法

本发明公开了一种不饱和醇的催化合成方法,涉及化学合成领域。所述不饱和醇的催化合成方法是指,以醇铝或醇铝衍生物做催化剂,锂盐或镁盐做助剂,在氮气氛下,在溶剂醇中将不饱和醛还原为不饱和醇。该方法使用不饱和醛为原料,使用5%-10%的醇铝为催化剂,用锂盐或镁盐做助剂,在醇溶剂中,通过将生成的低沸点酮连续蒸出,实现了高转化率、高选择性的合成不饱和醇的新工艺。该方法的特点是使用催化量的醇铝就可得到高收率、高纯度的不饱和醇,没有发现不饱和键被还原的产物,选择性高。该方法所使用的催化剂价格便宜,操作简单,溶剂可循环使用,废水废溶剂少,符合低碳环保的要求。同已有的方法相比,本方法具有很好的工业前景。

标签:
废水处理
辽宁 - 大连 来源:北方有色网 2023-03-19
半干法制备水溶性阳离子木素基絮凝剂的方法

本发明涉及一种半干法制备水溶性阳离子木素基絮凝剂的方法,属于材料科学技术领域。室温下,取木素于去离子水中,并与接枝单体METAC溶液混合,调节其pH值至2~5,得反应液;氮气氛围下,在反应液中加入过硫酸钾,水浴反应,得到木素‑METAC接枝共聚物粗产物;将所得木素‑METAC接枝共聚物粗产物,洗涤,透析后得纯化的木素‑METAC接枝共聚物。本发明所述方法得到的产物经纯化后对造纸废水和乳化含油废水进行絮凝处理,得到了较好的处理效果,同时该方法工艺简单,用水量少,并且有较好的水溶性和阳离子性,易于实现工业化生产,是木素高值化利用的新途径。

标签:
废水处理
辽宁 - 大连 来源:北方有色网 2023-03-19
多孔木质素水热炭基磷酸根吸附剂及其制备方法

本发明公开了一种多孔木质素水热炭基磷酸根吸附剂及其制备方法,属于污水除磷技术领域。该吸附剂的制备方法包括:1)将木质素与含镁的盐类化合物在水中充分混匀后高温水热碳化,待反应结束后将混合物旋蒸、干燥得到固体产物。2)将固体产物在惰性气氛下煅烧,所得产物经洗涤、干燥后得到多孔木质素水热炭基磷酸根吸附剂。本发明不仅可以充分利用木质素这一工业废弃物,为其高值化利用提供一条新途径,而且制备的吸附剂对水体中的磷酸根具有极强的吸附能力、优异的吸附选择性和良好的循环使用性,尤其是对于磷含量较低的工业废水仍具有极高的去除率。因此,该发明有望应用于工业废水中磷的去除和回收循环利用。

标签:
废水处理
辽宁 - 大连 来源:北方有色网 2023-03-19
废水处理中产生的废气回收方法

一种过滤吸附料再生过程中的废气回收方法,步骤如下:A)将废气进行除尘处理;B)步骤A处理后的气体进行气液分离处理;C)步骤B处理后的气体作为燃料;D)回收步骤A、B产生的焦油水进行油水分离处理,所产生的清水回用,所产生的焦油回收,所产生的焦油渣作为锅炉燃料;其中,过滤吸附料是指无烟煤、贫煤、瘦煤、焦煤、肥煤、气煤、长焰煤、褐煤、焦炭、篮炭、焦末为原料制备。本发明利用过滤吸附料再生的过程中,过滤吸附料孔中的有机物在高温状态下挥发、分解,形成含有甲烷、乙烷、乙烯、焦油蒸汽、二氧化碳、一氧化碳等成分组成的混合气体,将混合气体进行回收作为锅炉燃料,既可以避免有害气体排放造成的空气污染,又可以节约能源。

标签:
废水处理
辽宁 - 大连 来源:北方有色网 2023-03-19
废水中回收反应控制相转移催化剂的方法

本发明提供了一种以过氧化氢为氧化剂、反应控制相转移催化剂催化烯烃环氧化反应后生成水相中反应控制相转移催化剂回收方法,通过向烯烃环氧化反应生成水相中加入阴、阳离子助剂使得烯烃环氧化反应后生成水相中反应控制相转移催化剂得到有效回收,该方法减少了催化剂在烯烃环氧化反应中的损耗,提高了催化剂回收率。

标签:
废水处理
辽宁 - 大连 来源:北方有色网 2023-03-19
氯乙酸氨解法制备甘氨酸的废水治理方法

本发明公开一种氯乙酸氨解法制备甘氨酸的废水治理方法,是将废液打入多效降膜真空蒸发系统中进行预热,再经多效降膜蒸发器进行加热蒸发,然后进入闪蒸罐浓缩至氯化铵浓度为35%~45%;将所得浓缩液通过结晶器进行常温结晶,并对结晶体干燥、包装;用NaOH调整多效降膜真空蒸发系统所产生的冷凝液pH值至10~11;将pH值为10~11的冷凝液在吹脱塔内进行吹脱;用水吸收吹脱所产生的甲醇和氨气;用稀硫酸调整一次吹脱液的pH至2~4,在30℃~40℃进行Fenton试剂的催化氧化;用稀硫酸调整经过催化氧化的吹脱液pH至10~11,再打入吹脱塔进行二次吹脱;用水吸收二次吹脱所产生的甲醇和氨气,二次吹脱液排放。

标签:
废水处理
辽宁 - 大连 来源:北方有色网 2023-03-19
用于印染废水处理的钛基掺碳锰氧化物电极及其制备方法和应用

本发明涉及一种用于印染废水处理的钛基掺碳锰氧化物电极及其制备方法和应用,属于水处理工程领域。本发明所述钛基掺碳锰氧化物电极为:在钛基体上喷涂掺杂多壁碳纳米管的复合纳米氧化锰层。本发明所述钛基掺碳锰氧化物电极提高了钛基锰氧化物电极在电催化中的催化活性、导电性能、稳定性。

标签:
废水处理
辽宁 - 大连 来源:北方有色网 2023-03-19
电催化废水除硬装置
电催化废水除硬装置 1198     
 0

本申请公开一种电催化废水除硬装置,包括支撑组件以及设于支撑组件上的多个并联的电催化组件,每个电催化组件分别连接有磁吸式电源插头;电催化组件包括交替间隔排布连接于封闭框架中的若干极板组件和若干功能膜组件,极板组件包括隔板以及分别连接于隔板两侧的阴极极板和阳极极板,功能膜组件包括中部设有贯通空腔的环板,以及设于环板空腔处的功能膜,环板侧壁设有磁吸限位螺丝,用以与磁吸式电源插头磁吸连接;环板两侧分别设有位于空腔处的膜支撑板,膜支撑板包括矩形框架以及竖直连接于矩形框架内的多个间隔设置的流道板,功能膜位于两侧膜支撑板之间;本方案能够避免电极结垢,电解效率高,结构稳固,易于维护。

标签:
废水处理
辽宁 - 大连 来源:北方有色网 2023-03-19
废水流量快速测定仪
废水流量快速测定仪 850     
 0

本实用新型公开了废水流量快速测定仪,涉及流量测定仪技术领域,包括测定箱体和活动铰接测定箱体上端的箱盖,所述测定箱体的内侧开设有放置槽,所述放置槽的内部侧壁固定设置有轴承座,所述轴承座转动连接有收线棍,所述收线棍的一端固定设置有连接轴,所述连接轴的内侧开设有活动腔,所述活动腔的内侧设置有活动杆,所述活动杆的一端固定设置有手轮,所述手轮的侧面固定设置有吸附磁块,所述连接轴的侧面固定设置有固定铁块,本实用新型能够通过将测定探头的电线卷收至收线棍,更加便于收纳放置测定探头,有效地防止测定探头收线时容易发生缠绕打结现象,手轮便于延伸收纳,有利于节省测定箱体占用空间,便于使用携带。

标签:
废水处理
辽宁 - 大连 来源:北方有色网 2023-03-19
蒸氨、煤气水封、雨水及污泥滤液混合废水处理系统

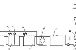
本实用新型提供一种蒸氨、煤气水封、雨水及污泥滤液混合废水处理系统。包括煤气水封水初沉池、重力隔油池、混合气浮除油池、雨水提升井、调节池、初曝池、初沉池、事故池、集油池、厌氧池、缺氧池、好氧池、二沉池等。本实用新型将预处理、生化处理及深度处理有机结合,同时采用MBBR生物流化床工艺,占地少,在相同负荷条件下只需普通氧化池的20%容积,微生物附着在载体上随水流流动,不需要活性污泥回流或循环反冲洗,同时载体生物不断脱落,避免堵塞,有机负荷高,耐冲击负荷能力强,出水水质稳定。本实用新型水头损失小、动力消耗低,运行简单,操作管理容易,同时适用于新建及改造工程。

标签:
废水处理
辽宁 - 大连 来源:北方有色网 2023-03-19
ZnIn2S4可见光催化剂降解甲基橙染料废水的方法

本发明公开了一种ZnIn2S4可见光催化剂降解甲基橙染料废水的方法,其步骤为:以锌盐、铟盐及硫源为反应原料,按照化学计量比溶于去离子水溶液中,在30℃-90℃温度条件下发生水热反应,得到ZnIn2S4可见光催化剂粉末;将配制的甲基橙溶液移至自制的玻璃反应器内,再加入所制备的ZnIn2S4粉末后,将该反应体系置于暗室,避光搅拌20-60min;在可见光照下搅拌1-4h;高速离心分离后,测定出甲基橙完全降解。本发明在室温常压下,可高效降解甲基橙溶液,并且本发明的降解过程条件可控性强,工艺简单,便于掌握和操作,完全降解所需时间短,能耗小。

标签:
废水处理
辽宁 - 大连 来源:北方有色网 2023-03-19
含氮有机废水的预处理装置

本实用新型公开了一种含氮有机废水的预处理装置,包括:生化设备、缓冲设备、催化臭氧氧化设备;所述生化设备包括:前置反硝化装置、亚硝化装置、后置反硝化装置、沉淀池装置;所述缓冲设备包括:中间水池、提升泵,所述中间水池进水口与沉淀池出水口相连,在中间水池顶部设有出水口,该出水口与提升泵相连;所述催化臭氧氧化设备包括:臭氧发生器、催化氧化塔,所述臭氧发生器连接至催化氧化塔底部,所述催化氧化塔进水口与提升泵相连。该装置操作简单、实用性强、处理效果好。

标签:
废水处理
辽宁 - 大连 来源:北方有色网 2023-03-19
小型模块式热法高盐废水脱盐系统

本实用新型公开一种小型模块式热法高盐废水脱盐系统,主要包括加湿器、除湿器、溶液预热器、水泵、流量控制器、风机。溶液经溶液预热器加热与浓溶液混合后进入加湿器中,直接喷淋到填料表面与冷空气热质交换,剩余浓溶液进行循环;热湿空气进入除湿器后与冷却水热质交换,后经风机驱动进入加湿器进行循环,冷凝产生淡水经溶液预热器进一步降温,进入除湿器开始循环,多余淡水收集起来。本实用新型利用喷淋和填料塔相结合,强化加湿除湿过程。结构简单紧凑、小型化、模块化,规模可调;应用范围广,处理高盐溶液;空气和溶液循环流动,回收汽化潜热,热利用率高,能耗低;在低温常压下即可运行,使用寿命长,制造运行维护成本低;能量来源多样化。

标签:
废水处理
辽宁 - 大连 来源:北方有色网 2023-03-19
多向流单元交替式生物接触氧化废水处理装置

一种多向流单元交替式生物接触氧化废水处理装置,其生物接触氧化池同时与2—4个单元生物接触氧化滤池相连,且每个滤池内上部设与出水管相连的溢流堰、底部设泥斗及排泥机构,滤池内设中心导流筒,其周围设生物接触滤料的载体。在滤料载体下面设与支曝气管相连的曝气器,这些支曝气管又同与引到滤池外的主曝气管相连。本实用新型将生物接触氧化与生物过滤结合在一起,强化了全程的生物活性,最大限度地发挥除磷功能。

标签:
废水处理
辽宁 - 大连 来源:北方有色网 2023-03-19
驯化耐碱性废水活性污泥的工艺方法

本发明涉及一种污泥驯化方法,特别是涉及一种驯化耐碱性废水活性污泥的工艺方法。本发明包括PAM脱水处理阶段、污泥洗涤活化阶段、污泥快速增殖阶段、污泥耐碱驯化阶段4个阶段,本发明操作性强,污泥驯化效率高,驯化效果优异,实验证明通过该方法驯化培养20天左右,活性污泥SV30为20-40%,可在pH为9-12的碱性污水中稳定生长并可有效降解水中的有机污染物。

标签:
废水处理
辽宁 - 大连 来源:北方有色网 2023-03-19
快速稳定启动废水亚硝酸盐型兼养脱硫反硝化系统的方法

一种快速稳定启动废水亚硝酸盐型兼养脱硫反硝化系统的方法,通过三步法分阶段控制生态因子,分别创造了利于硫-自养硝酸盐型微生物、兼养硝酸盐型微生物和兼养亚硝酸盐型微生物活性提高的厌氧环境,促进不同功能菌群的快速形成,降低微生物群落的复杂程度。本发明的启动方法利于脱硫反硝化工艺在高负荷条件下的稳定运行,并且降低了启动时间,增强了系统稳定性,系统启动后,硫化物和亚硝酸盐的去除率可快速达到100%,有机物的去除率可达90%以上,单质硫的产率高,始终保持在80%以上,利于单质硫的后续高效回收,实现废物资源化。

标签:
废水处理
辽宁 - 大连 来源:北方有色网 2023-03-19
废水资源化利用与产碱装置

本实用新型公开了一种废水资源化利用与产碱装置,包括:盐水灌、增压泵a、增压泵b、气液分离罐、电解槽、反渗透装置、纯水碱罐;所述盐水灌出水口、气液分离罐出水口、反渗透装置回水口均连接至增压泵a的进水管道上,所述增压泵a的出水管道有两路,其中一路连接至电解槽壳层底部,另一路连接至反渗透装置进水口,反渗透装置出水口连接至纯水碱罐底部,所述纯水碱罐中部出水口连接至电解槽内部管层进水口,该电解槽内部管层出水口连回至纯水碱罐顶部;所述电解槽壳层顶部连接至气液分离罐进入口。本装置实现盐水全部回收利用、无排污、不使用药剂,减少环境污染、节省大量水资源,在此基础上回收掉盐分达到制碱目的。

标签:
废水处理
辽宁 - 大连 来源:北方有色网 2023-03-19
小型模块式热法高盐废水脱盐系统及方法

本发明公开一种小型模块式热法高盐废水脱盐系统及方法,主要包括加湿器、除湿器、溶液预热器、水泵、流量控制器、风机。溶液经溶液预热器加热与浓溶液混合后进入加湿器中,直接喷淋到填料表面,与冷空气热质交换,剩余浓溶液进行循环;热湿空气进入除湿器后与冷却水热质交换,后经风机驱动进入加湿器进行循环,冷凝产生淡水经溶液预热器进一步降温,进入除湿器开始循环,多余淡水收集起来。本发明利用喷淋和填料塔相结合,强化加湿除湿过程。结构简单紧凑、小型化、模块化,规模可调;应用范围广,处理高盐溶液;空气和溶液循环流动,回收汽化潜热,热利用率高,能耗低;在低温常压下即可运行,使用寿命长,制造运行维护成本低;能量来源多样化。

标签:
废水处理
辽宁 - 大连 来源:北方有色网 2023-03-19
高效紫外光催化废水处理系统

本实用新型公开了一种高效紫外光催化废水处理系统,包括:原水储槽、中继储槽、终端储槽、计量泵、反应增速剂药剂罐、原水移送泵、紫外光催化反应器、高效换热器、光催化进出水移送泵、催化剂分离增压泵、催化剂分离器、无油空压机;所述原水储槽通过原水移送泵与高效换热器连接后接入中继储槽,该中继储槽再连接到光催化进出水移送泵;所述紫外光催化反应器通过光催化进出水移送泵连接至高效换热器,该高效换热器通过催化剂分离增压泵与催化剂分离器相连,该催化剂分离器出水接入终端储槽,回水接回紫外光催化反应器;该系统具有结构简单、耐高COD负荷冲击、低能耗、操作简单、设备及运行成本低等特点。

标签:
废水处理
辽宁 - 大连 来源:北方有色网 2023-03-19
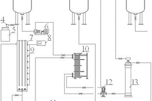
膜法煤气化工艺废水处理与资源化装置

本实用新型公开了一种膜法煤气化工艺废水处理与资源化装置,包括与煤气化炉出水管路相连的闪蒸罐,所述闪蒸罐与缓冲沉降罐相连,所述缓冲沉降罐的清液口经泵连接至膜装置,所述膜装置的清液口连接至软化罐,所述软化罐与蒸发热水塔或煤气化炉灰水系统相连,所述膜装置的其中一个浓水口连回至缓冲沉降罐,另一个浓水口与除渣装置相连,所述除渣装置的出水口连回至缓冲沉降罐;所述软化罐还与解析装置相连,所述解析装置的废液口与反应器相连,所述反应器的盐水口连回至解析装置。装置运行过程中取消了药剂的使用,降低了运行成本,实现节水减排,有利于煤气化炉长周期稳定运行,且废液量少,占地面积小,有效解决煤气化系统的工艺水结垢问题。

标签:
废水处理
辽宁 - 大连 来源:北方有色网 2023-03-19
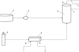
处理煤制油废水T型氧化沟出水的装置

本实用新型公开了一种处理煤制油废水T型氧化沟出水的装置,具体包括:T型氧化沟、进水泵、臭氧催化氧化反应塔、氧气瓶、臭氧发生器、臭氧尾气排出口、排水口、循环冷却水进水口、循环冷却水出水口,所述T型氧化沟通过进水泵与臭氧催化氧化反应塔相连,在臭氧催化氧化反应塔顶部设有臭氧尾气排出口,排水口位于臭氧催化氧化反应塔顶部的一侧,所述臭氧发生器的一侧连接至臭氧催化氧化反应塔的底部,臭氧发生器的另一侧连接有氧气瓶,在臭氧发生器的底部设有循环冷却水进水口、循环冷却水出水口。该装置操作简便、耗时短、能够提高化学需氧量(COD)去除率。

标签:
废水处理
辽宁 - 大连 来源:北方有色网 2023-03-19
便于沸石再生的氨氮废水处理装置

一种便于沸石再生的氨氮废水处理装置,包括上端开放的处理池,处理池的侧壁上设有进水口和出水口,所述处理池的中部设有沸石层,沸石层的上、下表面均设有滤板,以使沸石层夹设于所述滤板之间;处理池的外部设有循环水管,循环水管的一端伸入处理池中并使其位于沸石层的下方,循环水管的另一端由处理池的开放端伸入至沸石层的上端,循环水管上设有水泵。本实用新型结构简单,沸石再生成本低、结构简单适于普遍推广使用。

标签:
废水处理
辽宁 - 大连 来源:北方有色网 2023-03-19
同时脱除废水中氨氮和烟气中氮氧化物的组合装置

本实用新型公开了一种同时脱除废水中氨氮和烟气中氮氧化物的组合装置,包括:厌氧氨氧化反应装置、进水管、出水管、喷头、球状填料、进气管、出气管、挡板;所述厌氧氨氧化反应装置包括盖体和反应器,所述盖体通过安装法兰固定在反应器上,在盖体的一侧设有进水口,进水管的一端穿过进水口与喷头相连,出气管的一端与盖体顶部相连通;所述球状填料位于反应器中,在球状填料底部设有开孔结构的挡板,该挡板下面设有锥体结构,进气管的一端穿过反应器下部的侧壁置于锥体结构中,所述锥体结构底部与出水管的一端相连;所述喷头位于球状填料上方。该吸收塔结构简单,造价低,可以模块制作和规模生产,运输方便,安装快速。

标签:
废水处理
辽宁 - 大连 来源:北方有色网 2023-03-19
上一页 14 15 16 17 18 ... 29 下一页
共29页    到第

北方有色为您提供最新的辽宁大连有色金属废水处理技术理论与应用信息,涵盖发明专利、权利要求、说明书、技术领域、背景技术、实用新型内容及具体实施方式等有色技术内容。打造最具专业性的有色金属技术理论与应用平台!

全国热门有色金属设备推荐
展开更多 +
全国热门有色金属技术推荐
展开更多 +

 

江西省隆恩特环保设备有限公司
宣传

报名参会
更多+

报告下载

有色专家
更多+

矿冶科技集团江苏北矿金属循环利用科技有限公司
书记 / 总经理
东北大学
院长/教授
湖南有色金属研究院
教授级高工/原总工程师
矿冶科技集团有限公司工程公司
副总经理
湖南科技大学
所长/教授
赤泥综合利用研究报告2025
推广

热门技术
更多+

推荐企业
更多+

福建省金龙稀土股份有限公司
宣传

发布

在线客服

公众号

电话

顶部
咨询电话:
010-88793500-807