青岛垚鑫智能科技有限公司
宣传

位置:北方有色 >

有色技术频道 >

> 复合材料技术

分类:
全部
矿山技术
冶金技术
材料制备及加工技术
环境保护技术
分析检测技术
 
全部
功能材料技术
复合材料技术
新能源材料技术
合金材料技术
加工技术
地区:
全部
北京
天津
上海
重庆
河北
山西
辽宁
吉林
黑龙江
江苏
浙江
安徽
福建
江西
山东
河南
湖北
湖南
广东
海南
四川
贵州
云南
陕西
甘肃
青海
内蒙
广西
西藏
宁夏
新疆
其他
其他
展开
 
全部
成都
自贡
攀枝花
泸州
德阳
绵阳
广元
遂宁
内江
乐山
南充
眉山
宜宾
广安
达州
雅安
巴中
资阳
阿坝藏族羌族自治州
甘孜藏族自治州
凉山彝族自治州

四川绵阳有色金属复合材料技术理论与应用

免费发布技术信息>>
高强度导电高分子纳米复合材料的制备方法

本发明公开了一种高强度导电高分子纳米复合材料的制备方法,包括:(1)制备金属纳米线溶液,然后加入三羟甲基氨基甲烷溶液,用稀盐酸调节pH,加入多巴胺溶液,搅拌反应,得到多巴胺包覆的金属纳米线溶液;(2)将多巴胺包覆的金属纳米线溶液注入到聚四氟乙烯管状模具中,聚四氟乙烯管状模具的底部固定在钢板上,将钢板放置于液氮中冷冻,待多巴胺包覆的金属纳米线溶液完全冻结后,将其置于冷冻干燥机中干燥,形成金属纳米线网络结构;(3)将高分子材料加热至完全呈熔融状态后,将其注入金属纳米线网络结构中,得到高强度宏观尺度高分子导电材料。本发明中金属纳米线能提高高分子导电性,而且金属纳米线作为无机填料,能有效增强高分子机械性能。

标签:
复合材料
四川 - 绵阳 来源:北方有色网 2023-03-18
多孔硅碳复合材料及其制备方法和应用

本发明实施例公开了一种多孔硅碳复合材料,其具有核壳结构,所述内核为包括多孔碳、二氧化铈和石墨烯组分的复合体,所述外壳为掺杂了P、As和Se的氧化物中的至少一种的纳米硅。其内核通过喷雾干燥制备,外壳通过ALD多次交替沉积纳米硅和氧化物形成包覆,最后进行碳化得到。其一是利用原料本身导电率高、比容量高的特性提高材料的充电容量,二是利用形成网络结构的多孔内核,在充放电过程中束缚硅的膨胀,提升循环性能;三是通过ALD包覆纳米硅可形成均匀致密的无机物包覆层,包覆厚度易控制;硅包覆均匀,不易与电解液发生副反应;有助于降低材料的比表面积,提升电池循环寿命和高温性能,并降低电池循环过程中的产气。

标签:
复合材料
四川 - 绵阳 来源:北方有色网 2023-03-18
水泥基复合材料界面强度测量的试样制备模具

本实用新型公布了一种水泥基复合材料界面强度测量的试样制备模具,包括:半圆试样、半圆模、定位锥、喉箍、底座,其特征是:半圆模设有保证半圆试样与水平垂直放置的系列阶梯孔,底座上设有凸台。所述半圆试样能与半圆模内圆配合;所述定位锥与半圆模上的阶梯孔配合,能够将半圆试样在两块半圆模的对应位置上进行固定;所述喉箍在两块半圆模外,使得两块半圆牢固配合;所述底座的凸台与两块半圆模在喉箍的作用下相互扣紧;所述半圆模、定位锥、喉箍、底座均可由金属合金加工制成。本实用新型操作方便,易于加工,且能提高的界面试样在实验的有效性。

标签:
复合材料
四川 - 绵阳 来源:北方有色网 2023-03-18
碳纤维/玻璃纤维复合材料电视后盖的制作方法

本发明公开了一种碳纤维/玻璃纤维复合材料电视后盖的制作方法,所述的方法包括以下步骤:步骤一、选布;步骤二、涂胶;步骤三、裁布;步骤四、模具准备;步骤五、放布;步骤六、合模加压;步骤七、注射、固化;步骤八、分模取件、机加;步骤九、粘接结构件;步骤十、抛光;步骤十一、丝印。本发明充分利用了碳纤维的比重轻、高强度、高模量和玻璃纤维的低成本以及碳可塑性好的特点,该后盖的材料主题是碳纤维和玻璃纤维,实现了后盖的超薄、超轻、高强度、高光泽、清晰立体文理图案,是塑料后盖和钣金后盖无法实现的,同时碳纤维和玻璃纤维共同使用,降低了生产成本。

标签:
复合材料
四川 - 绵阳 来源:北方有色网 2023-03-18
用于碳纤维增强复合材料挤出制备的碳纤维隔离装置

本实用新型公开了一种用于碳纤维增强复合材料挤出制备的碳纤维隔离装置,包括支架、隔纤系统、输纤系统和集屑系统,所述隔纤系统包括箱体、第一门体、第二门体和适配管,所述输纤系统包括气胀轴、集纤环和转向轮,所述集屑系统包括管道、排风机和收纳袋。所述支架用于支撑箱体,所述适配管与箱体连接,所述第一门体设置于箱体左侧,所述第二门体设置于箱体右侧,所述气胀轴、集纤环和转向轮依次设置于箱体内部,所述集屑系统与箱体上的开口密封连接。该装置可以保护碳纤维增强热塑性塑料挤出生产现场的电器设备,从根本上解决了电器设备的短路和爆炸问题,避免了碳纤维污染环境和生产现场外其它电器设备的损坏。

标签:
复合材料
四川 - 绵阳 来源:北方有色网 2023-03-18
高性能长玻纤增强尼龙66复合材料及其制备工艺

本发明涉及高性能长玻纤增强尼龙66复合材料及其制备工艺;采用质量百分比的原料:低粘度尼龙66:50%~80%;专用长玻璃纤维:20%~50%;相容剂:5%~8%;专用尼龙66流变改性剂:0.3%~1.0%;硅酮粉:0.3%~0.5%;硬酯酸钙:0.3%~0.5%。制备工艺主要步骤包括:制造专用模具和专用干燥箱,选择液态胶对玻璃纤维进行粘接,按配方称取尼龙66、专用尼龙66流变改性剂、硅酮粉、硬酯酸钙,混合均匀,在单螺杆挤出机的作用下达到融化状态,并匀速送入长玻璃生产专用模具型腔内,与通过干燥并己牵入模具型腔内的长玻璃纤维进行浸渍,浸渍好后的玻璃纤维在牵引机的牵引下匀速牵出并送入专用切粒机进行切粒。

标签:
复合材料
四川 - 绵阳 来源:北方有色网 2023-03-18
木塑复合材料
木塑复合材料 1170     
 0

本发明提供一种木塑复合材料,由下列重量份的原料制备制成:木粉30-40、丙烯酸丁酯10-20、过氧化苯甲酰0.02-0.03、N,N-二甲基苯胺0.01-0.02、聚乙烯蜡3-4、硫代二丙酸二月桂酸酯1-1.2、硬脂酸钙1.5-2、聚氯乙烯95-100、AC发泡剂2-3、泡孔调节剂ACR5301-2、氯化聚乙烯6-8、骨粉2-3、竹粉4-5、高炉灰2-3、硅烷偶联剂kh5700.1-0.3、玄武岩纤维4-5、粘合剂2-3,所述的玄武岩纤维为连续纤维?,所述粘合剂为不饱和聚酯树脂、环氧树脂、酚醛树脂、氨基树脂、羟甲基间苯二酚或乙烯基树脂,所述的玄武岩连续纤维表面涂敷有硅烷偶联剂、钛酸酯偶联剂或铝酸酯偶联剂。

标签:
复合材料
四川 - 绵阳 来源:北方有色网 2023-03-18
复合材料抗爆容器
复合材料抗爆容器 1155     
 0

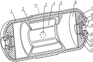
本发明公开了一种复合材料抗爆容器,包括容器主体、端盖组件和缓冲防护层,容器主体主要由金属内衬壳体、椭球封头和纤维外层包覆组成,内衬壳体中间部位为加强段,其余部位为薄柱段,其中加强段除了尺寸进行适当加厚以外,还设计了锥形挡流环,并利用加强筋进行加强。椭球封头焊接在内衬壳体的两端,椭球封头上加工有法兰,端盖组件包括盖板、楔条及压块,三者共同组合为全楔结构端盖,可与法兰进行联接。缓冲防护层由泡沫铝和面板组成,泡沫铝夹在面板与椭球封头之间,可对爆炸冲击波进行有效衰减。本发明在不增加容器质量的前提下,可显著提高容器薄弱部位的强度,改善流场,提升了容器整体的抗爆性能。

标签:
复合材料
四川 - 绵阳 来源:北方有色网 2023-03-18
便携式复合材料抗爆容器

本发明公开了一种便携式复合材料抗爆容器,它包括:金属内衬、快开端盖以及纤维层;金属内衬包括:下端的封头、中部的圆柱筒以及上部的法兰,封头与圆柱筒连接,圆柱筒与法兰连接;快开端盖包括端盖,端盖上端设置有把手,端盖卡齿外缘设置有螺旋凸台,法兰的卡槽内缘设置有螺旋槽,螺旋凸台与螺旋槽形成螺纹连接;还包括:泡沫铝、螺栓和防护筒,泡沫铝置于端盖及防护筒中间,并通过螺栓将泡沫铝、防护筒和端盖连接为一体,形成三明治吸能防护结构;纤维层缠绕在金属内衬外围。本发明采用高强纤维缠绕技术、三明治吸能防护结构设计及快开端盖的螺旋定位设计,具有抗爆当量增大、质量轻、端盖定位快捷等优点。

标签:
复合材料
四川 - 绵阳 来源:北方有色网 2023-03-18
耐腐蚀高韧性聚苯硫醚稀土复合材料及其制备方法

本发明涉及化工材料技术领域,更具体的是涉及一种耐腐蚀高韧性PPS稀土复合材料及其制备方法。由以下质量百分比的组分组成:PPS树脂4.7~8.4%、稀土磁粉88~94%、环氧树脂0.5~1%、沙林树脂0.5~2%、加工助剂0.3~0.6%。通过混料挤出即可得到产品。制备方法简单,易于操作。产品性能优越,具有良好的耐腐蚀性与韧性。

标签:
复合材料
四川 - 绵阳 来源:北方有色网 2023-03-18
3D打印用陶瓷复合材料的制备方法

本发明公开了3D打印用陶瓷复合材料的制备方法,解决了现有的3D打印用的陶瓷复合材料的混合不够均匀,导致后期的3D打印成型性不够好的问题。本发明包括陶瓷粉料的干法球磨,添加剂溶解,陶瓷粉料与添加剂球磨混合。本发明具有陶瓷粉料粒度均匀,细小,陶瓷粉料之间的粘附性好,3D打印成型性好等优点。

标签:
复合材料
四川 - 绵阳 来源:北方有色网 2023-03-18
改性碳氢树脂预聚物、改性碳氢-DCPD环氧复合材料覆铜板及制备方法

本发明公开了一种改性碳氢树脂预聚物、改性碳氢‑DCPD环氧复合材料覆铜板及其制备方法,改性碳氢树脂预聚物由50~200质量份碳氢树脂、50质量份含双键苯并噁嗪树脂/改性聚苯醚树脂的树脂混合物、1~5质量份引发剂A和110~280质量份溶剂A的组合物,通过微通道反应器混合反应并除去部分溶剂而制得。改性碳氢‑DCPD环氧复合材料覆铜箔板由质量比为改性碳氢树脂预聚物:DCPD环氧树脂:无机填料:引发剂B:促进剂A:增强材料=90:10~30:40~100:0.01~1:0.01~1:70~200的组合物和铜箔热固化制成;具有低介电常数、低介电损耗、低吸水率、高玻璃化转变温度、高剥离强度的特点。

标签:
复合材料
四川 - 绵阳 来源:北方有色网 2023-03-18
改性PC及TPU的复合材料及其制备方法和应用

本发明公开了一种改性PC及TPU的复合材料及其制备方法和应用,所述复合材料可用于制备手机后壳,主要由PC改性树脂和TPU改性树脂共挤而制得,按重量份数计,PC改性树脂中的原料组分包括:聚碳酸酯100份、阻燃剂5~15份、相容剂0.5~1份和其他助剂1.5~3份;按重量份数计,TPU改性树脂中的原料组分包括:含氟热塑性聚氨酯弹性体100份、阻燃剂4~12份、喷霜抑制剂2~4份和其他助剂3~6份。可解决现有TPU和PC直接通过粘接层而粘贴存在的制备工序复杂及易分层的问题。

标签:
复合材料
四川 - 绵阳 来源:北方有色网 2023-03-18
B4C-Al复合材料表面处理方法

本发明提供了一种B4C-Al复合材料表面处理方法。该方法包括以下内容:(1)机械抛光去除表面杂质,去离子水中超声清洗;(2)将步骤(1)中材料在丙酮中超声清洗;(3)将步骤(2)中材料在氢氧化钠溶液中碱洗,去离子水中超声清洗;(4)将步骤(3)中材料在硝酸和氢氟酸混合溶液中酸洗,去离子水中超声清洗;(5)将步骤(4)中材料作阳极,在硫酸溶液中阳极氧化,去离子水中超声清洗;(6)将步骤(5)中材料在去离子水中沸水温度封孔处理。采用本发明的表面处理方法,在材料表面生成均匀致密的保护膜能将表面裸露的B4C颗粒包裹覆盖,在核电站乏燃料湿法贮存环境下耐腐蚀性显著提高,有可能应用为核电站乏燃料贮存格架的中子吸收体材料。

标签:
复合材料
四川 - 绵阳 来源:北方有色网 2023-03-18
阻燃聚氨酯多孔复合材料及其制备方法

本发明公开了一种阻燃聚氨酯多孔复合材料及其制备方法,包括以下步骤:取模量为2.0~3.5的工业级水玻璃,加水稀释成质量百分比浓度为10~30%的水玻璃溶液;取氯化钙溶解于水中配制成质量百分比浓度为0.5~1.5%的氯化钙溶液;将水玻璃溶液与凝胶引发剂按照质量比1:1混合均匀后形成凝胶原液;将开孔聚氨酯泡沫浸没于凝胶原液中于真空度为0.9atm的真空室中真空浸渗1小时以上;将处理后的聚氨酯泡沫仍然浸没于凝胶原液中静置12~24小时;将处理后的聚氨酯泡沫于室温下自然干燥15天以上,之后在温度80~110℃下干燥1~5小时,自然冷却至室温。阻燃聚氨酯多孔复合材料具有良好的防火性能。

标签:
复合材料
四川 - 绵阳 来源:北方有色网 2023-03-18
弹性导电复合材料及其制备方法、弹性涂膜和电器元件

本发明涉及一种弹性导电复合材料,按重量份数计,包括以下组分制得:弹性导电预聚体35‑50份、纳米粉末50‑65份。本发明可以自由弯曲、卷绕、折叠,可依照空间布局要求任意安排,并在三维空间任意移动和伸缩,从而达到元器件装配和导线连接的一体化;利用高弹性导电复合材料的特性缩小电子产品的体积和重量,适用电子产品向高密度、小型化、高可靠方向发展的需要。

标签:
复合材料
四川 - 绵阳 来源:北方有色网 2023-03-18
基于含铁废水制备凹凸棒/聚吡咯复合材料的方法

本发明公开了一种基于含铁废水制备凹凸棒/聚吡咯复合材料的方法。本发明以含铁废水为氧化剂,凹凸棒为载体,采用一锅法制备凹凸棒/聚吡咯的复合材料。该方法操作简单,过程清洁,有望为凹凸棒的高附加值综合利用提供新途径。

标签:
复合材料
四川 - 绵阳 来源:北方有色网 2023-03-18
氧化石墨烯/磷酰胺复合材料及其制备方法

本发明公开了一种氧化石墨烯/磷酰胺复合材料及其制备方法,目的在于解决氧化石墨烯对铀的吸附容量不足,且由于氧化石墨烯具有极佳的亲水性,其与水相难以分离的问题。该氧化石墨烯/磷酰胺复合材料,包括如下质量百分比的组分:氧化石墨烯85%~95%,磷酰胺基团5%~15%。本发明能有效解决目前氧化石墨烯对铀酰吸附量不足,以及吸附材料难以与水分离的问题,对于金属或有机废水的净化具有重要的实用价值。同时,本发明的制备方法操作简单,生产成本低,产率高,能够满足工业化大规模生产和应用的需求,具有较好的应用前景和市场价值,值得大规模推广应用。

标签:
复合材料
四川 - 绵阳 来源:北方有色网 2023-03-18
用于制作玻璃纤维布复合材料管件制品的固定装置

本实用新型具体涉及到一种用于制作玻璃纤维布复合材料管件制品的固定装置,玻璃纤维布复合材料卷绕于一模具上以形成一毛坯管,所述固定装置包括:一对挡圈,套设于所述模具上,分别位于所述毛坯管的两侧,各挡圈开设有多个通孔;多个螺杆,各螺杆的两端分别穿过位于一对挡圈上的两个通孔,在该螺杆位于各挡圈外侧的部分上拧紧有第一螺母,以将所述毛坯管固定在一对挡圈之间。本实用新型装置简单,易于安装和拆卸,其使卷制好的管制品在烘焙时减少垮塌和移位等问题,还节省了原始物料用量,从而降低了成本。

标签:
复合材料
四川 - 绵阳 来源:北方有色网 2023-03-18
复合材料加工成型的真空辅助工艺控制系统

本实用新型公开了一种复合材料加工成型的真空辅助工艺控制系统,包括数控真空装置、防吸入真空输出装置、液体树脂除气装置、模具和温控固化装置;所述防吸入真空输出装置的顶部通过管路连接至模具,所述防吸入式真空输出系统的中部通过管路连接至数控真空装置,为模具提供真空环境;所述数控真空装置连接至液体树脂除气装置,由液体树脂除气装置向模具注入液树脂基体材料;所述温控固化装置连接至模具,为模具的固化过程提供可控的环境温度。本实用新型能够有效避免在注入过程中由于真空系统故障导致的废品率,降低经济损失;确保真空系统的安全和运行可靠性;提升复合材料产品的力学性能指标。

标签:
复合材料
四川 - 绵阳 来源:北方有色网 2023-03-18
高效的复合材料的翅片式热交换器

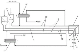
本实用新型涉及热交换器,提供了一种高效的复合材料的翅片式热交换器,包括多件相互平行的翅片,多件插设于翅片的主管,设于主管端部的导管,设于主管内部的第一导热管,多件插设于翅片的第二导热管,连接管,以及循环装置;多件主管与多件第二导热管依次交替设置;第一导热管两端部均为封闭端,第一导热管端部通过连接管与相邻第二导热管端部连接;第一导热管与第二导热管依次收尾连接为单一通道;循环装置同时与位于端部的第一导热管和第二导热管导通连接。本实用新型的高效的复合材料的翅片式热交换器,其能够显著地提高热交换效率。

标签:
复合材料
四川 - 绵阳 来源:北方有色网 2023-03-18
大尺寸复合材料损伤成像与定量识别方法

本发明公开了一种大尺寸复合材料损伤成像与定量识别方法,包括:将试件划分为M个标定区域;将每个标定区域划分为N个局部拍摄区域;对局部拍摄区域的红外热图像序列进行数据采集;获得红外重构图像;进行图像拼接;根据事先标定位置信息,获得整个试件检测结果;确定需要进行高分辨率检测的损伤缺陷及其所在标定区域;对标定区域红外重构图像进行分割提取;标定区域中所有损伤缺陷位置自动标注;开展近距离高分辨率拍摄,获得损伤缺陷红外重构图像;对损伤缺陷红外重构图像进行分割提取;损伤缺陷形态自动量化。本发明解决了单次红外热成像分辨率低的问题,检测面积大,检测精度高,实现了大尺寸复合材料损伤缺陷的定量识别。

标签:
复合材料
四川 - 绵阳 来源:北方有色网 2023-03-18
具有中子屏蔽效能和隔热效能的有机硅复合材料及制备工艺

本发明公开了一种具有中子屏蔽效能和隔热效能的有机硅复合材料及制备工艺,具体包括以下步骤:A:低粘度乙烯基硅树脂合成:B:低粘度含氢硅油合成;C:硼硅树脂复合材料制备:D:真空脱泡;E:室温浇注固化成型。本发明在低粘度硅树脂及硅油中加入核电级碳化硼及无机氢氧化物粉体,在室温下浇注固化成型,具有含氢量高、密度适中、耐高温、抗燃烧和跌落等特点,可满足新式乏燃料干式贮存与运输对辐照屏蔽材料性能要求。

标签:
复合材料
四川 - 绵阳 来源:北方有色网 2023-03-18
测量水泥基复合材料界面抗拉强度的专用拉伸夹具

本实用新型公布了一种测量水泥基复合材料界面抗拉强度的专用拉伸夹具,包括:手柄、六角螺母、螺孔钢球、六角螺钉、上圆盘、下圆盘,其特征是:上圆盘、螺孔钢球与下圆盘之间相互配合形成一个球绞,螺孔钢球与手柄连接,使得手柄能在一定角度内绞运动,从而保证试样所受的加载始终为拉伸载荷。本实用新型结构简单,操作方便,工作稳定可靠,能很好地满足水泥基复合材料界面抗拉强度测量中的需要。

标签:
复合材料
四川 - 绵阳 来源:北方有色网 2023-03-18
竹纤维复合材料的生产方法

本发明涉及一种竹纤维复合材料的生产方法,其主要工艺步骤是:竹材通过削片粉碎后制成竹纤维,然后加入适量的废旧塑料颗粒及少量助剂混合均匀,再置入模具中进行热压后即可制得模具设定形状的各种竹纤维复合材料型材。

标签:
复合材料
四川 - 绵阳 来源:北方有色网 2023-03-18
复合材料加工成型的真空辅助工艺控制系统及方法

本发明公开一种复合材料加工成型的真空辅助工艺控制系统及方法,包括包括数控真空装置、防吸入真空输出装置、液体树脂除气装置、模具和温控固化装置;所述防吸入真空输出装置的顶部通过管路连接至模具,所述防吸入式真空输出系统的中部通过管路连接至数控真空装置,为模具提供真空环境;所述数控真空装置通过管路连接至液体树脂除气装置,向模具注入液树脂基体材料;所述温控固化装置连接至模具,为模具的固化过程提供可控的环境温度。本发明能够有效避免在注入过程中由于真空系统故障导致的废品率,降低经济损失;确保真空系统的安全和运行可靠性;提升复合材料产品的力学性能指标。

标签:
复合材料
四川 - 绵阳 来源:北方有色网 2023-03-18
三元镍钴钨碲化物复合材料的制备方法及应用

本发明公开了一种三元镍钴钨碲化物复合材料的制备方法及应用,包括:将生长在碳布上具有氧缺陷的氧化钨纳米片CC‑WO3‑x与碲粉在氢氩混合气氛和一定温度下发生化学反应,得到在碳布上生长的CC‑WTe2;将得到的CC‑WTe2在三电极体系中通过电化学沉积,得到CC‑WTe2‑Ni‑Co三元复合材料,其中,在三电极体系中,电解液为Ni(NO3)2·6H2O和Co(NO3)2·6H2O的混合溶液,工作电极为CC‑WTe2,参比电极为Ag/AgCl电极,对电极为Pt片电极。制备的CWNC‑8电极具有优异的电化学性能,在电流密度为1A g‑1时,比电容739F g‑1,在经5000次循环后电容保持率为84%,与CC‑Ni‑Co电极相比提高了12%。同时在功率密度为3000W kg‑1时,仍保留了23.4W h kg‑1的能量密度。

标签:
复合材料
四川 - 绵阳 来源:北方有色网 2023-03-18
环保型建筑装饰用复合材料及其制备方法

本发明提供了一种环保型建筑装饰用复合材料及其制备方法。所述的环保型耐开裂耐冲击建筑装饰用复合材料,其特征在于,包括基体,所述的基体的制备原料包括:基体树脂,改性树脂,增强纤维,无机填充材料,钛白粉,抗氧剂,阻燃剂和抗光老化剂,所述的基体树脂为热塑性聚烯烃树脂,所述的改性树脂为极性热塑性聚合物。本发明采用包括但不限于聚碳酸酯、聚甲醛、聚酯及ABS等极性热塑性聚合物进行基体树脂极性改性,提高基体树脂的极性,改善涂层材料与基体树脂的粘结力,提高产品涂层加工工艺,提高建筑装饰产品质量延长产品使用寿命。

标签:
复合材料
四川 - 绵阳 来源:北方有色网 2023-03-18
复合材料多尺度防热优化方法

本发明提供了一种复合材料多尺度防热优化方法,包括以下步骤:步骤1、根据设计变量建立待优化复合材料的有限元模型包括细观有限元传热分析模型、宏观有限元传热分析模型以及胞体扩展模型;步骤2、对建立的细观有限元传热分析模型进行细观传热分析,得到等效热物性参数;通过胞体扩展模型将细观传热分析获得的等效热物性参数传入宏观有限元传热分析模型进行宏观传热分析;传热分析中,通过调整设计变量对细观传热分析模型和宏观传热分析模型进行优化,若优化后目标满足约束条件则结束优化,输出传热分析结果;若不满足约束条件,重新调整有限元模型的设计变量,反复迭代直至输出传热分析结果。采用本发明的方案可以以更有效降低温度同时引入优化算法和网格自由变形技术有效提高计算效率。

标签:
复合材料
四川 - 绵阳 来源:北方有色网 2023-03-18
高介电低损耗包覆碳纳米管环氧树脂复合材料及制备方法

本发明属于材料制备技术领域,公开了一种高介电低损耗包覆碳纳米管环氧树脂复合材料及制备方法,采用原位聚合法对碳纳米管进行包覆;将包覆好的碳纳米管以质量比为包覆碳纳米管:环氧树脂:固化剂=3:7.5:2.5的比例混合,待样品冷却脱模后进行介电测试。本发明所使用的溶剂是无水乙醇且乳化剂和壁材均对环境污染较小。采用原位聚合法包覆制得包覆碳纳米管,整个工艺过程较为简单。确定了包覆碳纳米管的含量会对复合材料各项性能产生影响。在大大提高环氧树脂介电常数的同时维持一个较低的介电损耗。

标签:
复合材料
四川 - 绵阳 来源:北方有色网 2023-03-18
上一页 5 6 7 8 9 ... 16 下一页
共16页    到第

北方有色为您提供最新的四川绵阳有色金属复合材料技术理论与应用信息,涵盖发明专利、权利要求、说明书、技术领域、背景技术、实用新型内容及具体实施方式等有色技术内容。打造最具专业性的有色金属技术理论与应用平台!

全国热门有色金属设备推荐
展开更多 +
全国热门有色金属技术推荐
展开更多 +

 

江西省隆恩特环保设备有限公司
宣传

报名参会
更多+

报告下载

有色专家
更多+

中国科学院赣江创新研究院
院长
华东理工大学
主任/教授
西安建筑科技大学
教授
江西省科学院应用化学研究所
副主任/副研究员
长沙矿冶院检测技术有限责任公司
总经理
赤泥综合利用研究报告2025
推广

热门技术
更多+

推荐企业
更多+

福建省金龙稀土股份有限公司
宣传

发布

在线客服

公众号

电话

顶部
咨询电话:
010-88793500-807