青岛垚鑫智能科技有限公司
宣传

位置:北方有色 >

有色技术频道 >

> 复合材料技术

分类:
全部
矿山技术
冶金技术
材料制备及加工技术
环境保护技术
分析检测技术
 
全部
功能材料技术
复合材料技术
新能源材料技术
合金材料技术
加工技术
地区:
全部
北京
天津
上海
重庆
河北
山西
辽宁
吉林
黑龙江
江苏
浙江
安徽
福建
江西
山东
河南
湖北
湖南
广东
海南
四川
贵州
云南
陕西
甘肃
青海
内蒙
广西
西藏
宁夏
新疆
其他
其他
展开
 
全部
成都
自贡
攀枝花
泸州
德阳
绵阳
广元
遂宁
内江
乐山
南充
眉山
宜宾
广安
达州
雅安
巴中
资阳
阿坝藏族羌族自治州
甘孜藏族自治州
凉山彝族自治州

四川绵阳有色金属复合材料技术理论与应用

免费发布技术信息>>
具有空气净化功能的无机涂料及制备方法

本发明公开了一种具有空气净化功能的无机涂料及制备方法,属于涂料领域。包括以下组分,按重量份计为:硅酸盐40‑60份、碳酸钙粉20‑40份、硅溶胶10‑30份、滑石粉5‑15份,高岭土1‑5份、凹凸棒土1‑5份、氧化铝1‑5份、纳米二氧化硅1‑5份、改性电气石稀土三元复合材料1‑10份;改性电气石稀土三元复合材料包括具有吸附和多孔结构的矿物载体、电气石材料和稀土氧化物。本发明增加既然改性电气石稀土三元复合材料和纳米二氧化硅,能够高效催化负氧离子的产生,提高负氧离子的浓度,增大电气石稀土三元复合材料的利用率,高效净化空气环境。本发明采用天然无机材料组成,无添加剂,无毒,无甲醛,绿色环保。

标签:
复合材料
四川 - 绵阳 来源:北方有色网 2023-03-18
液晶电视背板结构
液晶电视背板结构 1025     
 0

本实用新型公开了一种液晶电视背板结构,包括复合材料背板;所述的复合材料背板包括:内皮、芯层和外皮,所述内皮、芯层和外皮通过复合为一体结构;所述外皮在复合前其表面设置有涂层和覆膜;液晶电视的机芯、电源、壁挂通过过渡件与所述复合材料背板连接;所述复合材料背板上设置过孔,所述过孔与连接件的壁挂螺母定位配合。本实用新型的模组背板又是整机的后盖,模组的背板采用铝板复合材料,外观通过铝板外皮更加丰富的表面处理技术使其作为整机的后盖外观更加高档时尚。同时节省了原有钣金薄板背板零件所需要的高额模具费用投入,降低产品开发费用,提升产品外观档次。

标签:
复合材料
四川 - 绵阳 来源:北方有色网 2023-03-18
表面增强拉曼散射探测芯片及其制备方法

本发明公开了一种表面增强拉曼散射探测芯片及其制备方法,利用水热法,在硅片上原位生长纳米花型ZnO,通过物理的非溶剂磁控溅射法制备三维ZnO-Ag复合材料,这种复合材料既有较高的表面增强拉曼效应,同时在该复合材料上修饰探针,构建具有表面增强拉曼效应的芯片,通过修饰巯基类探针分子,可将原本拉曼活性低的炸药分子捕获到芯片上,通过协同共振,两者同时产生表面增强拉曼信号,比单一的无探针修饰的基底具有对炸药分子更好的灵敏度,同时,该芯片对多种炸药有很好的拉曼响应,且对炸药TNT有单一的强选择性。

标签:
复合材料
四川 - 绵阳 来源:北方有色网 2023-03-18
天线罩的制备方法及天线罩

本申请实施例提供了一种天线罩的制备方法及天线罩。制备方法包括形成复合材料制件的步骤;形成复合材料制件的步骤包括如下步骤:形成至少两层复合材料层;将各个所述复合材料层层叠在一起;在Z向通过缝织线将所述复合材料层缝织在一起;其中,所述Z向是与所述复合材料层相垂直的方向。天线罩是通过上述制备方法制备出来的天线罩。本申请实施例解决了天线罩可靠性差的技术问题。

标签:
复合材料
四川 - 绵阳 来源:北方有色网 2023-03-18
利用产电微生物负载Fe/C纳米复合材料处理含铀废水的方法

本发明提供一种利用纳米合成材料结合自主产电微生物在光照条件下还原吸附废水中铀的方法。该方法是以纳米零价铁(nZVI)、高电导率纳米碳材料(C)、产电微生物为原材料,利用nZVI的高还原活性,nZVI的氧化产物与C结合后的光催化效应,以及产电微生物产生生物电子的特性高效还原吸附处理含铀废水。具体步骤是:(1)合成纳米材料(nZVI‑CNT);(2)将nZVI‑CNT负载于微生物表面(bio‑nZVI‑CNT);(3)光照下将bio‑nZVI‑CNT置于含铀废水浓度≤50mg/L,调节pH在4‑6之间,搅拌混合均匀;(4)2小时后将固液分离;(5)解吸回收铀并重复利用bio‑nZVI‑CNT。本发明能使≤50mg/L的含铀废水中铀含量下降96%以上,吸附容量高达436.4mg/g。操作简便,去除效率高、时间短,具有良好的环境效益、社会效益和经济效益。

标签:
复合材料
四川 - 绵阳 来源:北方有色网 2023-03-18
隧道用复合材料蛛眼LED头灯

本实用新型属于LED照明设备技术领域,尤其涉及一种隧道用复合材料蛛眼LED头灯,包括,头盔‑1、LED主灯‑2、帽檐‑3、球状LED辅灯‑4,辅灯配合集束主灯的照明,使得照明无死角的同时,改变了现有头灯只有单一主灯的刺眼灯光,采用陶瓷金属的头灯以及头盔,既有金属的强度又有陶瓷的耐腐蚀绝缘性,其轻质、高强度、耐腐蚀的特性,在潮湿、多尘的地下环境中经久耐用不易出现事故。

标签:
复合材料
四川 - 绵阳 来源:北方有色网 2023-03-18
用于HTRCS复合材料的高流动性环氧混凝土

本发明公开一种用于HTRCS复合材料的高流动性环氧混凝土,包括A、B、C三个组份,按照重量份数计包括:A组分:双份A型环氧树脂:45~80份;苯基缩水甘油胺环氧树脂20~30份;环氧活性稀释剂5~15份;液体橡胶环氧增韧剂15~30份;硅烷偶联剂0.5~1份;消泡助剂0.5~1份;B组分:聚酰胺10~30份;酰胺基胺20~50份;酚醛胺0~30份;聚醚胺0~30份;改性芳香胺0~40份;脂环胺0~40份;叔胺促进剂0~5份;C组分:石英砂60~110份;阻燃剂10~30份;流动助剂0~3份;固体消泡剂0.5~1份。该混凝土在低温条件下流动性强,可满足螺杆式混凝土传送设备进行远距离水平或垂直浇注。

标签:
复合材料
四川 - 绵阳 来源:北方有色网 2023-03-18
用于发动机进气歧管的超高光尼龙复合材料及其制备方法

本发明公开了一种用于发动机进气歧管的超高光尼龙复合材料,它是由下述重量份的原料组成的:尼龙50‑85、玻璃纤维10‑40、实心玻璃微珠5‑40、热稳定剂0.1‑2、流动性改善助剂0.1‑2、成核助剂0.1‑1、硅烷偶联剂1‑2、正硅酸乙酯4‑6、山梨坦单油酸酯0.07‑0.1,本发明材料加工成进气歧管后,制品表面光亮度高,对气流阻力小,有利于充气效率的提高,促进燃油的充分燃烧。

标签:
复合材料
四川 - 绵阳 来源:北方有色网 2023-03-18
航空航天复合材料损伤检测图像的分割强化方法

本发明公开了一种航空航天复合材料损伤检测图像的分割强化方法,包括:提取缺陷的典型瞬态热响应;获得红外重构图像;利用多目标衡量去除噪声、保留细节、保持边缘三个方面的分割性能,求取各个分割性能的权重系数;在噪声去除、保留细节及保持边缘三种目的指导下构建红外图像分割函数据;获得目标函数的权重系数;对重构得到的全像素红外图像进行图像分割;在图像分割层实现红外全像素图像分割,得到缺陷的分割图像。本发明利用多目标优化理论进行红外重构图像中的损伤缺陷区域分割,针对噪声问题和边缘模糊问题分别构造目标函数,提高区域分割精度,降低误检率,从而有效增强损伤缺陷区域的可读性,便于复杂缺陷的量化研究。

标签:
复合材料
四川 - 绵阳 来源:北方有色网 2023-03-18
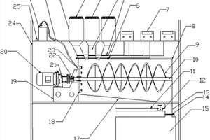
便于调节破碎粒度的聚合物基复合材料破碎机构

本实用新型公开了一种便于调节破碎粒度的聚合物基复合材料破碎机构,包括:底座,所述底座的上部设有箱体且箱体的顶部设有入料斗,所述箱体的左侧设有第一托板且第一托板的上部设有第一电机,所述第一电机与第一托板之间固定连接,所述第一电机的动力输出端设有螺杆且螺杆的表面设有滑动块,所述滑动块的下部设有固定架且固定架的内侧设有粉碎辊。本实用新型第二电机与第二托板之间滑动连接,且第二电机的动力输出端与粉碎辊之间固定,可以带动粉碎辊之间相向转动对材料进行粉碎,同时螺杆转动带动滑动块之间相向运动,从而可以调节两组粉碎辊之间的间距,从而控制材料的破碎颗粒度。

标签:
复合材料
四川 - 绵阳 来源:北方有色网 2023-03-18
制备高性能阻尼减震降噪橡胶纳米复合材料的密炼机

本实用新型公开了一种制备高性能阻尼减震降噪橡胶纳米复合材料的密炼机,包括:三个进料仓,其出料口通过单独的管道与预混室的进料口相连接,预混室的进料口处均设有计量装置和阀门;预混室,其设在进料仓下方,其出料口与密炼机进料口相连,预混室内设有搅拌装置及固定清洗部件,其下端面倾斜;机架,其竖直固定,从上到下依次安装并排的三个进料仓、预混室及密炼机。本实用新型单独设置三个进料仓以加入不同的物料,通过计量装置及阀门自动称量进料,省去人工称量的麻烦,可以一直连续不断的自动计量加入物料进行反应,提高了橡胶生产品质及效率;物料在进入密炼机前预先在预混室内进行了初步的混合,物料之间接触更充分,反应更均匀彻底。

标签:
复合材料
四川 - 绵阳 来源:北方有色网 2023-03-18
便携式复合材料抗爆容器

本实用新型公开了一种便携式复合材料抗爆容器,它包括:金属内衬、快开端盖以及纤维层;金属内衬包括:下端的封头、中部的圆柱筒以及上部的法兰,封头与圆柱筒连接,圆柱筒与法兰连接;快开端盖包括端盖,端盖上端设置有把手,端盖卡齿外缘设置有螺旋凸台,法兰的卡槽内缘设置有螺旋槽,螺旋凸台与螺旋槽形成螺纹连接;还包括:泡沫铝、螺栓和防护筒,泡沫铝置于端盖及防护筒中间,并通过螺栓将泡沫铝、防护筒和端盖连接为一体,形成三明治吸能防护结构;纤维层缠绕在金属内衬外围。本实用新型采用高强纤维缠绕技术、三明治吸能防护结构设计及快开端盖的螺旋定位设计,具有抗爆当量增大、质量轻、端盖定位快捷等优点。

标签:
复合材料
四川 - 绵阳 来源:北方有色网 2023-03-18
高性能、高流动性尼龙(液晶)复合材料及其制备工艺

本发明涉及高性能、高流动性尼龙(液晶)复合材料及其制备工艺;采用质量百分比的原料,尼龙:35%~65%;液晶:2%~10%;长玻纤:10%~60%;抗氧剂:0.1%~0.3%;润滑剂:0.3%~0.5%;制备工艺主要步骤包括:制造专用模具和专用干燥箱,选择液态胶对玻璃纤维进行粘接,按配方称取尼龙、液晶聚合物、抗氧剂、润滑剂,混合均匀,在单螺杆挤出机的作用下达到融化状态,并匀速送入长玻璃生产专用模具型腔内,与通过干燥并已牵入模具型腔内的长玻璃纤维进行浸渍,浸渍好后的玻璃纤维在牵引机的牵引下匀速牵出并送入专用切粒机进行切粒,通过变频调速,调整粒子长度,达到产品要求后进入稳定生产。

标签:
复合材料
四川 - 绵阳 来源:北方有色网 2023-03-18
复合材料Bi2MoO6/ZIF-67的制备方法

本发明公开了一种Bi2MoO6/ZIF‑67的制备方法。本发明分别以Co(NO3)2·6H2O、二甲基咪唑和Bi(NO3)2·5H2O、(NH4)6Mo7O24·4H2O为原料,以甲醇溶液为溶剂,获得Bi2MoO6/ZIF‑67复合材料。该方法操作简单,过程清洁,有望为印染废水中重金属离子的处理提供新材料。

标签:
复合材料
四川 - 绵阳 来源:北方有色网 2023-03-18
损伤显色型环氧类玻璃高分子及其纤维或炸药复合材料

本发明公开了损伤显色型环氧类玻璃高分子及其纤维或炸药复合材料,损伤显色型环氧类玻璃高分子按照重量份数计由50‑100份环氧树脂A、10‑50份环氧固化剂B、5‑40份环氧稀释剂和0‑50份无机填料组成,或50‑100份环氧树脂C、10‑50份环氧固化剂D、5‑40份环氧稀释剂和0‑50份无机填料组成。其具备环氧类玻璃高分子可释放形变应力、自修复可拆解和可再加工成型等特性,而且在面临划痕、裂纹、断面或破碎等不同尺度和形式的损伤时能够产生包括绿色、橙色或粉色等肉眼可见的颜色变化。

标签:
复合材料
四川 - 绵阳 来源:北方有色网 2023-03-18
航空航天复合材料损伤区域自动识别方法

本发明公开了一种航空航天复合材料损伤区域自动识别方法,包括:提取每类缺陷的典型瞬态热响应;获得红外重构图像;获得低质红外重构图像;求取去除噪声、保留细节、保持边缘三个分割性能的权重系数;构建红外图像分割函数;获得实现各个分割性能的目标函数的权重系数;构建全像素红外图像分割目标函数,利用分割模型对重构得到的全像素红外图像进行图像分割;在图像分割层实现红外全像素图像分割,得到分割图像。本发明利用多目标优化理论进行红外重构图像中的缺陷分割,针对噪声问题和边缘模糊问题分别构造目标函数以提高分割精度,既保证了缺陷的检测率高同时也降低了误检率,有效提取出重构图像中的损伤缺陷区域,便于复杂缺陷的量化研究。

标签:
复合材料
四川 - 绵阳 来源:北方有色网 2023-03-18
节状多功能新型隧道用复合材料LED灯车

本实用新型属于LED照明设备及自动化技术领域,尤其涉及一种节状多功能新型隧道用复合材料LED灯车,包括:主灯车‑1、驱动主轮‑2、LED照明大灯‑3、驱动室‑4、动力室‑5、辅助车节‑6、蛛眼式发散光LED灯‑7,其体积小巧、功能多样化的设计,整体车型防水式设计使得在矿井内潮湿、多尘环境下不会收到影响,功能节的设计为使用者提供了各种工作便利,为使用者提供一个既有主灯照射又有辅灯照明的明亮空间照明,填补了市场的空白。

标签:
复合材料
四川 - 绵阳 来源:北方有色网 2023-03-18
航空航天复合材料损伤可视化特征提取方法

本发明公开了一种航空航天复合材料损伤可视化特征提取方法,包括:提取每类缺陷的典型瞬态热响应;获得红外重构图像;获得低质红外重构图像;求取各个分割性能的权重系数以构建分割目标函数;获得实现各个分割性能的目标函数的权重系数;构建全像素红外图像分割目标函数,利用双层分割模型对重构得到全像素红外图像进行图像分割;在图像分割层实现红外全像素图像分割,得到试件缺陷的分割图像。本发明利用多目标优化理论进行红外重构图像中的缺陷分割,针对噪声问题和边缘模糊问题分别构造目标函数以提高分割的精度,保证了缺陷的高检测率,降低了误检率,有效提取出重构图像中的损伤缺陷区域,以便复杂缺陷的量化研究。

标签:
复合材料
四川 - 绵阳 来源:北方有色网 2023-03-18
铬渣无害化处理的方法及其制备的复合材料

本发明公开了一种铬渣无害化处理的方法及其制备的复合材料,属于危废铬渣无害化处理领域,以实现对铬渣的无害化处理,有效降低铬渣转运和暂存过程中存在的环境风险。本申请以铬渣为原料,通过铬渣制浆、铬渣解毒、固液分离、滤饼烘干、配料成型及成品烘干操作,实现了铬渣的无害化处理。同时,在处理过程中,实现了反应物料的有效利用,减少了废弃物的产生,对环境友好。本申请设计合理,能够实现铬渣的无害化、资源化利用,能够满足工业化、大规模生产应用的需求,对于降低铬渣的存量,具有重要的意义。

标签:
复合材料
四川 - 绵阳 来源:北方有色网 2023-03-18
高铁黏土复合材料及其制备方法和应用

本发明公开了一种高铁黏土复合材料及其制备方法和应用,其制备方法包括:蒙脱石提纯,蒙脱石钠化,黏土铁基化,高铁黏土制备。本发明制备得到一种新型、高效环保型水处理剂,解决了黏土矿物与高铁黏土两种环境友好材料复合使用问题,充分发挥两者优点,经济性较高且具有良好活性,环境协调性极佳。

标签:
复合材料
四川 - 绵阳 来源:北方有色网 2023-03-18
生物降解复合材料及其制品和制备方法

本发明公开了一种生物降解复合材料的制备方法,具体包括如下步骤:S1:制备改性碳酸钙;S2:混合;S3:改性混合的制备;S4:成品。本发明通过添加一定量的碳酸钙,可提高材料的弹性模量和最大负荷明显增强,同时拉伸强度、断裂伸长率、耐热性能等也得到了有效提高,同时降低成产成本。

标签:
复合材料
四川 - 绵阳 来源:北方有色网 2023-03-18
复合材料压力传递成型的方法及压制模具

本发明公开了一种复合材料压力传递成型的方法及压制模具,所述压制模具包括底板、压缩腔、压板及放置在压缩腔中与产品规格匹配的模型;在模压过程的压制腔体中加入传递物作为压力传递媒介,将铺贴好成型材料的模型埋入传递物中,盖上压板,锁紧压制腔体进行压制固化。本发明解决了现有模压加压需对模的问题,只需一个模型,减少了模具制造周期和成本;能够提供更大的成型压力,最高可达20Mpa或以上,保证了产品的致密度,有利于提高产品的力学强度;不需要昂贵的热压罐设备投入,可用现有外置压力源进行加压,利用烘箱、加热板、加热棒等多种供热方式进行加热,节约成本的同时,满足多种材料对成型条件的不同需求,适应性广。

标签:
复合材料
四川 - 绵阳 来源:北方有色网 2023-03-18
层压成型装置及其制备热固性高分子基复合材料的方法

本发明公开了一种层压成型装置及其制备热固性高分子基复合材料的方法,层压成型装置包括下模板;上模板,所述的上模板和下模板之间用紧固件连接;下模板上设置有可调节高度的行程止块;还包括用于隔离相邻待层压成型产品的隔板;所述的方法包括预浸料的制备、装模、模压、固化和脱模。本发明提供的层压成型装置结构简单、可以在不使用机械的条件下实现不同尺寸平板材料的成型,减少了制作大型的成型机械;同时根据成型材料的密度和厚度要求可以通过调节紧固件达到要求;层压成型装置设置有多个隔板,一次性可成型多件产品;制备方法流程简单,原料为市面上的普通热固性树脂,原料易得。

标签:
复合材料
四川 - 绵阳 来源:北方有色网 2023-03-18
利用废水制备ZIFs/丝瓜络复合材料的方法

本发明提供了一种利用含锌废水制备ZIFs并负载于丝瓜络,且深度处理有机废水的方法。制备方法如下:首先,将活化的丝瓜络转移至2‑甲基咪唑溶液中超声分散;然后,在搅拌下,逐滴加入废水溶液;最后,取出丝瓜络经洗涤、干燥,获得ZIFs/丝瓜络复合材料。本发明以含锌废水为原料,制备ZIFs用于光催化降解有机废水,实现以废治废的目的。同时,以可再生、低污染的丝瓜络作为金属有机框架的载体,实现催化剂的快速分离和循环使用,避免二次污染。本发明制备了一种高效的环保型光催化剂,提供了一种成本低廉、环保、简便易操作的制备方法。

标签:
复合材料
四川 - 绵阳 来源:北方有色网 2023-03-18
微晶化增韧改性PBS或PBAT生物可降解复合材料

微晶化增韧改性PBS或PBAT生物可降解复合材料,包括改性无机粉体、树脂材料、PBS或PBAT材料、扩链剂;其中所述树脂材料为PVAC、EVA、EEA、EAA或PVAC、EVA、EEA、EAA衍生物的任意一种或多种,重量百分比为1‑20%,PBS或PBAT的重量百分比为28‑88%,扩链剂1‑4%,剩余为所述改性无机粉体。采用本发明制备出的PBS或PBAT改性材料在保留可降解特性的同时,材料韧性、流动性、光泽性、冲模性、冲击强度等性能均有一定提高,生产加工工艺简单,降低了下游生产成本和制作产品难度。

标签:
复合材料
四川 - 绵阳 来源:北方有色网 2023-03-18
菱镁复合材料城市管道井盖及其生产工艺

一种菱镁复合材料城市管道井盖,由表层和内层等组成,采用轻烧粉、氯化镁水溶液、井字架、拱形钢架、以及玻纤布或金属纤维布等材料,层层浇铸粘接经模具成型;产品具有强度高、防腐性能好、质量稳定、搬迁施工不变形、抗冲击等特点,取代现有铁制品,可有效避免现有铁制井盖因可再生利用而被盗和锈蚀等缺点所带来的问题。

标签:
复合材料
四川 - 绵阳 来源:北方有色网 2023-03-18
层状双金属氢氧化物基阻燃抑烟剂及其制备方法和用其改性的阻燃抑烟复合材料

本发明公开了一种层状双金属氢氧化物基阻燃抑烟剂及其制备方法和用其改性的阻燃抑烟复合材料,其特征是:阻燃抑烟剂由螺环磷酸酯盐插层层状双金属氢氧化物组成,阻燃抑烟剂的制备方法包括:水热法合成层状双金属氢氧化物;制备螺环磷酸酯类衍生物,通过离子交换进入层状双金属氢氧化物层板间制得产物;可将其用于高分子材料的阻燃抑烟化改性。本发明结合了螺环磷酸酯化合物的高效成炭阻燃性能和层状双金属氢氧化物因本身富含结晶水、金属离子和层状结构而具有的独特阻燃抑烟性能;插层阻燃化改性层状双金属氢氧化物的同时,改善层状双金属氢氧化物与聚合物基体相容性;成本低廉且绿色环保,能提高阻燃和抑烟性能,并保持材料的优异力学性能。

标签:
复合材料
四川 - 绵阳 来源:北方有色网 2023-03-18
复合材料托盘
复合材料托盘 809     
 0

本发明公开了一种复合材料托盘,属用于物件或物料的贮存或运输的容器技术领域。它是用一定量的粉煤灰、废旧塑料、废旧纤维,加上粘合剂,在高温高压下模压成形的。同已有技术方案相比,本发明产品强度高,耐用性好,不易变形,不受腐蚀,不被虫蛀,特别是利用废物而减少了环境污染,经济效益和社会效益显著。

标签:
复合材料
四川 - 绵阳 来源:北方有色网 2023-03-18
高导热聚芳酰胺纤维纸聚酰亚胺薄膜柔软复合材料及其制备方法和用途

本发明公开了一种高导热聚芳酰胺纤维纸聚酰亚胺薄膜柔软复合材料及其制备方法,其特征是:由高耐热导热层、聚芳酰胺纤维纸层、导热胶粘剂层、聚酰亚胺薄膜层、导热胶粘剂层、聚芳酰胺纤维纸层和高耐热导热层复合组成。高耐热导热胶粘剂由100质量份的聚酰胺酰亚胺树脂、10~40质量份的导热填料和90~120质量份的溶剂A混合组成;导热胶粘剂由100质量份的聚氨酯树脂、10~20质量份的导热填料和40~60质量份的溶剂B混合组成。本发明采用表面涂覆导热胶粘剂及添加导热填料等措施实现导热系数的整体提高,性能良好,适用于高耐热性能的中小型电机、电器槽绝缘、相绝缘及匝间绝缘,也可用于变压器层间绝缘以及电子器件散热。

标签:
复合材料
四川 - 绵阳 来源:北方有色网 2023-03-18
高储能密度聚芳醚腈基复合材料及其制备方法和应用

本发明提供一种高储能密度聚芳醚腈基复合材料及其制备方法和应用,首先采用聚多巴胺对钛酸钡表面进行有机化改性,使得BT表面带上一层聚合物修饰层,再将表面带有聚多巴胺修饰层的BT填料加入聚芳醚腈基体中,最后得到介电常数明显增强的高介电聚芳醚腈基。本发明采用聚多巴胺作为表面改性剂,对钛酸钡颗粒表面进行有机化改性处理;使得其具有亲有机物的化学键;减小钛酸钡颗粒之间的的团聚作用;改善钛酸钡在聚合物基体中的均匀分散特性;采用聚芳醚腈作为聚合物基体材料,克服传统电容器聚丙烯聚合物电介质耐热性偏低的缺点。

标签:
复合材料
四川 - 绵阳 来源:北方有色网 2023-03-18
上一页 4 5 6 7 8 ... 16 下一页
共16页    到第

北方有色为您提供最新的四川绵阳有色金属复合材料技术理论与应用信息,涵盖发明专利、权利要求、说明书、技术领域、背景技术、实用新型内容及具体实施方式等有色技术内容。打造最具专业性的有色金属技术理论与应用平台!

全国热门有色金属设备推荐
展开更多 +
全国热门有色金属技术推荐
展开更多 +

 

江西省隆恩特环保设备有限公司
宣传

报名参会
更多+

报告下载

有色专家
更多+

中南大学
副校长
长沙矿冶研究院有限责任公司
中国工程院院士
紫金矿业信息化研发中心
副总经理
任灵宝金源矿业股份有限公司
技术发展部经理
北京科技大学
副院长/教授
赤泥综合利用研究报告2025
推广

热门技术
更多+

推荐企业
更多+

福建省金龙稀土股份有限公司
宣传

发布

在线客服

公众号

电话

顶部
咨询电话:
010-88793500-807