青岛垚鑫智能科技有限公司
宣传

位置:中冶有色 >

有色技术频道 >

分类:
全部
矿山技术
冶金技术
材料制备及加工技术
环境保护技术
分析检测技术
 
全部
功能材料技术
复合材料技术
新能源材料技术
合金材料技术
加工技术
地区:
全部
北京
天津
上海
重庆
河北
山西
辽宁
吉林
黑龙江
江苏
浙江
安徽
福建
江西
山东
河南
湖北
湖南
广东
海南
四川
贵州
云南
陕西
甘肃
青海
内蒙
广西
西藏
宁夏
新疆
其他
其他
展开
 
全部
其他

其他有色金属材料制备及加工技术理论与应用

免费发布技术信息>>
改进的膜、隔板、电池和方法

根据至少选定的实施方案,公开了新型或改进的多孔膜或基底、隔膜、隔板、复合材料、电化学装置、电池,制造这种膜或基底、隔板和/或电池的方法,和/或使用这种膜或基底、隔板和/或电池的方法。根据至少某些实施方案,公开了一种新型或改进的微孔膜、电池隔膜、隔板、能量储存装置、包括这种隔板的电池,制造这种膜、隔板和/或电池的方法,和/或使用这种膜、隔板和/或电池的方法。

标签:
复合材料
其他 - 其他 来源:中冶有色网 2023-03-18
用于制造飞机结构部件的方法

描述并示出了一种用于制造纤维复合材料的飞机结构部件的方法,其中提供由干纤维预成型件制成的半成品第一部件、由干纤维预制件或硬化纤维基体复合件制成的半成品第二部件,通过将半成品第一部件抵靠半成品第二部件放置而制备半成品飞机结构部件,使得第一连接表面靠在第二连接表面上,基体材料被注入通过半成品飞机结构部件,并且所述半成品飞机结构部件被固化。本发明目的是提供一种方法,其中改进了第一部件和第二部件之间的连接,同时飞机结构部件的重量不会显著增加,该目的是这样实现的,在注入基体材料通过所述半成品飞机结构部件之前,在所述第一连接表面和所述第二连接表面之间施加用于辅助粘附的中间层。

标签:
复合材料
其他 - 其他 来源:中冶有色网 2023-03-18
用于固定在有轨车辆尤其是铁路车辆的端侧上的车辆头部

本发明涉及一种用于固定在有轨车辆尤其是铁路车辆的端侧上的车辆头部,其具有车辆头部结构,该车辆头部结构具有由第一结构元件构成的自承载式框架结构,该第一结构元件包括两个分别布置在车辆头部的纵向轴线的侧向的、沿竖直方向延伸的A柱,这些A柱沿纵向方向延伸经过车辆头部的部分区域地实施,或者与沿车辆头部的纵向方向延伸的侧梁连接,该第一结构元件还包括顶部结构和至少一个护栏元件以及包括端壁,其特征在于,端壁至少部分地由纤维复合材料构成,并且护栏元件至少在其延伸部的部分区域上从横截面上看由其中一种下述材料构成的型材元件构成:-金属,特别是铝-金属/塑料复合物-金属/纤维塑料复合物-纤维塑料复合物。

标签:
复合材料
其他 - 其他 来源:中冶有色网 2023-03-18
由自组装的含顶点的固定角度核酸结构形成的核酸多面体

本申请提供了包含含有以固定的角度彼此排列的三个或更多个臂的核酸结构的组合物,其复合材料,例如DNA笼,以及其合成和使用的方法。

标签:
复合材料
其他 - 其他 来源:中冶有色网 2023-03-18
用于机动车的结构构件

本发明涉及一种用于机动车的结构构件(10a、10b、10c、10d、10e),该结构构件包括:由纤维复合材料制成的封闭的空心型材(20),该空心型材具有型材外壳(21),该型材外壳包围型材容积(23);和至少一个增强隔板(30a、30b、30c、30d、30e),该增强隔板在型材容积(23)中设置在型材外壳(21)的内周面(22)的至少一个区段上,所述至少一个增强隔板(30a、30b、30c、30d、30e)在至少一个部位上从内周面(22)出发具有垂直于该内周面的高度(H1),在所述至少一个部位上所述至少一个增强隔板(30a、30b、30c、30d、30e)设置在内周面(22)上,所述高度小于型材容积(23)在该部位上的通道高度(H2)。

标签:
复合材料
其他 - 其他 来源:中冶有色网 2023-03-18
图像分析装置和程序
图像分析装置和程序 701     
 0

本发明提出一种能够短时间并且准确地从CMC的三维图像中提取孔洞的图像分析装置和程序。在从纤维强化复合材料的三维图像提取孔洞的图像分析装置中,其特征在于,具备对三维图像执行图像处理的处理器,处理器对三维图像进行二值化来制作二值图像,对二值图像进行距离变换来制作距离图像,使用距离图像对二值图像执行闭合处理,根据闭合处理前后的图像的差异提取孔洞,针对提取的孔洞,将与背景体素邻接的孔洞分类为开放孔洞,将不与背景体素邻接的孔洞分类为闭合孔洞,对开放孔洞执行开放处理来除去伪孔洞。

标签:
复合材料
其他 - 其他 来源:中冶有色网 2023-03-18
车门制造方法和由该方法制造的车门

本发明涉及车门制造方法和由该方法制造的车门。该方法包括:使用聚合物复合材料模制车门内板;使用铝合金或钢合金模制车门框架组件,车门框架组件形成车门玻璃开闭的空间;使用铝合金或钢合金模制车门外板;使用铝合金或钢合金模制防撞梁,防撞梁用以增加车门的侧面的刚度;将模制的车门框架组件和模制的防撞梁结合到车门内板;以及将结合到车门框架组件和防撞梁的车门内板结合到车门外板。

标签:
复合材料
其他 - 其他 来源:中冶有色网 2023-03-18
铝制缸体及其制造方法

一种用于内燃机的铸造缸体包括第一缸孔和第二缸孔以及共用孔壁。第一缸孔包括第一孔壁,并且第二缸孔包括第二孔壁。共用缸孔壁包括第一部分和第二部分。第一孔壁的一部分与第二孔壁的一部分结合以形成共用缸孔壁。共用缸孔壁的第一部分是铸件部分。共用缸孔壁的第二部分是金属基复合材料。

标签:
复合材料
其他 - 其他 来源:中冶有色网 2023-03-18
用于修复聚烯烃管和结构体的设备

本发明涉及用于修复聚烯烃结构体(例如聚乙烯管道)的方法和设备。该修复方法涉及均匀地附着到聚烯烃管表面并能够将环氧树脂或聚氨酯复合材料粘合到整个结构体上的双材料共挤塑膜。该方法包括用溶剂进行表面清洁、附着所述共挤塑膜、以及施用经热活化的收缩带。对表面进行加热以活化所述膜与PE表面的粘合过程并经由所述收缩带产生压缩力。一旦完成,则可以移除收缩带,并施用纤维增强聚氨酯体系或纤维增强环氧树脂体系且使其固化。

标签:
复合材料
其他 - 其他 来源:中冶有色网 2023-03-18
用于车辆座椅靠背的结构组件

本发明涉及一种用于车辆座椅靠背的结构组件(1),所述结构组件具有:面元件(10),其构成和设计为,用于构成车辆座椅靠背的后壁的至少一部分;和至少一个接口元件(12A‑12R),其构成和设计为,用于与车辆座椅靠背的另外的构件(2‑5)连接。在此提出,面元件(10)由可热成形的复合材料制造并且与接口元件(12A‑12R)的至少一部分材料配合地连接,其中至少一个接口元件(12M,12N)构成为通道,所述通道构成为卡条通道并且包括至少一个卡条钩(133),所述卡条钩用于固持作为另外的构件的加衬件,构成为用于容纳粘结剂的粘结剂通道,其中可借助于容纳在所述粘结剂通道中的粘结剂粘结另外的构件,或者构成为用于容纳线缆的线缆通道。本发明还涉及一种用于制造结构组件的方法。

标签:
复合材料
其他 - 其他 来源:中冶有色网 2023-03-18
环氧树脂组合物及其固化物

本发明为了提供固化物表现出优异的阻燃性并且低介质损耗角正切、低介电常数这样的介电特性优异、进而可兼具优异的热导率的环氧树脂组合物以及其固化物、使用其的预浸料、电路基板、积层薄膜、积层基板、半导体密封材料、半导体装置、纤维强化复合材料、成型品等,使用使三聚氰胺、对烷基酚、以及福尔马林反应而得到的含三嗪环的酚醛树脂。

标签:
复合材料
其他 - 其他 来源:中冶有色网 2023-03-18
封装的复合背板
封装的复合背板 891     
 0

公开了一种用于与溅镀靶材一起使用的背板,其包括:由复合材料形成的芯部件;以及由金属或金属合金形成的外层,其中所述外层完全环绕并覆盖所述芯部件。还公开一种用于循环利用这种背板的方法。

标签:
复合材料
其他 - 其他 来源:中冶有色网 2023-03-18
用于振荡式驱动的锯的锯片

用于绕纵轴线振荡式驱动的工具机的锯片具有至少一个刃部,在刃部上至少部分地设置有磨料颗粒(34)。锯片特别是适合用于锯切纤维复合材料。

标签:
复合材料
其他 - 其他 来源:中冶有色网 2023-03-18
具有碰撞保护装置的车辆

本发明涉及一种车辆,该车辆具有由纤维复合材料制成的空心的第一元件(6)、在空心的第一元件(6)中可纵向移动的第二元件(5)以及至少一个第三元件(7),所述第三元件穿过第一元件(6)的壁(9)中的相配的孔(8),所述至少一个第三元件(7)设置在第二元件(5)的轨道中并且具有比第一元件(6)高的强度。

标签:
复合材料
其他 - 其他 来源:中冶有色网 2023-03-18
高度吸收性泡沫内衬
高度吸收性泡沫内衬 1073     
 0

在一个实施方案中提供了硫化吸收性复合材料,其包含:弹性体的防液层;和附着于所述防液层的层,其包含弹性体的开孔泡沫,其中通过所述吸收层的厚度归一化的所述泡沫层的吸湿能力是Ansell泡沫内衬的家用手套的1.5倍。

标签:
复合材料
其他 - 其他 来源:中冶有色网 2023-03-18
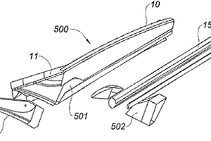
涡轮喷气发动机机舱支撑结构的复合梁

本发明涉及一种涡轮喷气发动机机舱支撑结构的纵梁(500),所述梁主要由复合材料制成并大致呈L的形状,一方面其包括至少一个纵腹部(10),用于与连接发动机舱的塔架接触;另一方面包括至少一个底部(11),其特征在于,所述底部形成至少一个容纳部件(501),所述容纳部件(501)能够通过插入的方式与其关联的前框架和/或后框架的至少一端直接或间接地配合。

标签:
复合材料
其他 - 其他 来源:中冶有色网 2023-03-18
光源用芯片(晶片)散热双金属柱

发明提供一种光源用芯片(晶片)散热双金属柱,其包括用于吸收芯片(晶片)模组热量的吸热单元,以及用于排除模组热量的散热单元,所述吸热单元包括高热传导率的金属如铜、银及其合金的任一种以上所构成;所述散热单元是由铝、铜及其合金中任一种以上所构成。本发明利用复合材料技术,分别结合高导热、高散热等不同材料制成散热双金属柱,可适切地提升散热效率,延长芯片(晶片)使用寿命。

标签:
复合材料
其他 - 其他 来源:中冶有色网 2023-03-18
用于制备具有改进的涂层粘附性的制品的聚氨酯拉挤成型制剂及由其制备的制品

通过拉挤成型方法使用聚氨酯形成体系制备无需进行侵蚀性预处理而使油漆粘附于其上的聚氨酯复合材料,所述聚氨酯形成体系包括含有至少一种多异氰酸酯的多异氰酸酯组分和含有至少一种基于腰果油的聚醚多元醇的异氰酸酯反应性组分。

标签:
复合材料
其他 - 其他 来源:中冶有色网 2023-03-18
具有中间纤维层的RTM方法

本发明涉及一种用于制造纤维复合材料构件的方法,其中,将纤维材料坯件(6)放入模具(1)中且将模具(1)闭合并且将树脂系统注射到闭合的模具(1)中,其中,至少局部地在所述纤维材料坯件(6)的外表面(7)和模具(1)的内表面(5)之间位置固定地定位地设置有中间纤维层(15),使得所述树脂系统的流动速度由于中间纤维层(15)降低。

标签:
复合材料
其他 - 其他 来源:中冶有色网 2023-03-18
触控装置的导电基板的制造方法

本发明公开一种触控装置的导电基板的制造方法,包括下列步骤:首先,提供一透明基材。透明基材具有一正面、一背面及多个第一槽道,每一第一槽道为自透明基材的正面向背面方向凹陷。接着,对透明基材的第一槽道填充一材料,材料与透明基材结合,且为感光及导电的复合材料。最后,对透明基材及材料进行全面曝光,而使该些第一槽道内的该材料分别转变成一第一导电路径,且第一导电路径的颜色为黑色。如此,制造过程不需要光掩膜,以降低制造成本。

标签:
复合材料
其他 - 其他 来源:中冶有色网 2023-03-18
复合部件
复合部件 736     
 0

一种复合部件包括第一长形复合元件和第二长形复合元件。各个具有带互补锥形端表面的楔形端。构件中的至少一个由浸渍在树脂中的纤维层的叠堆形成,其中锥形端表面由各个纤维层形成,该各个纤维层朝楔的薄端比相邻层更远地逐渐沿纵向延伸,在该薄端处,纤维层具有最大纵向范围。构件在它们的锥形端处由粘合剂连结,并且至少一个构件的固化复合材料的性质和/或粘合剂的性质相比于锥形表面的其余部分在楔的薄端附近不同,以便减小该区域中的应力集中。

标签:
复合材料
其他 - 其他 来源:中冶有色网 2023-03-18
用于车辆的护膝垫装置

本发明公开了一种用于车辆的护膝垫装置,其包括下缓冲垫板,所述下缓冲垫板在所述下缓冲垫板的后表面处具有向其注射成型的复合材料以改进下缓冲垫板的刚度。减振泡沫安装在下缓冲垫板的后表面上并吸收冲击力。

标签:
复合材料
其他 - 其他 来源:中冶有色网 2023-03-18
可分散的边缘功能化的石墨烯薄片

本公开提供了一种可分散石墨烯薄片及其制造方法。石墨烯薄片10的结构包括石墨烯基础层1,其上堆叠有至少一个石墨烯不连续层2、3、4,其中该基础层上面的每个石墨烯层具有比其在之上堆叠的层更小的表面积。该基础层和堆叠在其上的这些不连续层的边缘都被至少部分地功能化5,提供具有归功于该基础层的石墨烯样特性和归功于每个薄片上功能化基团的量增加的相对高分散性的结构。这些薄片可以用于多种应用,例如用于电极或复合材料的生产中。

标签:
复合材料
其他 - 其他 来源:中冶有色网 2023-03-18
用于包装体的塑料元件以及具有此种塑料元件的包装体

本发明展示并描述了一种用于包装体(14′,14")的塑料元件(1′,1",1″′),其包括:由塑料制成的基体(1′,1",1″′),以及用于固定包装体的复合材料的凸缘(4),其中,塑料元件(2)由热塑性塑料制成。为了在一次性包装中也实现获取包装体内容物状态信息的低成本的方案,提出将电气的、尤其电子的元件(15,15′)布置在塑料元件(1′,1",1″′)上或者集成在塑料元件(1′,1",1″′)内。此外,还展示并描述了一种具有此类塑料元件(1′,1",1″′)的包装体(14′,14")。

标签:
复合材料
其他 - 其他 来源:中冶有色网 2023-03-18
电隔离器
电隔离器 1366     
 0

提供了一种电隔离器,其包括:在轴向上间隔开的第一流体载运构件和第二流体载运构件;位于第一流体载运构件与第二流体载运构件之间的电阻性、半导电或非导电部件,其适于输送从第一流体载运构件流动到第二流体载运构件的流体;第一流体密封构件,其提供在第一流体载运构件与所述部件之间;第二流体密封构件,其提供在第二流体载运构件与所述部件之间;以及增强复合材料,其包围第一流体载运构件、第二流体载运构件和所述部件,其中所述部件的径向内部部分将第一流体载运构件与第二流体载运构件隔开轴向距离,并且其中所述部件被构造成使得第一密封构件和第二密封构件位于第一流体载运构件与第二流体载运构件之间的轴向距离内。

标签:
复合材料
其他 - 其他 来源:中冶有色网 2023-03-18
超快环醚-胺光加聚及其用途

本发明涉及在中等强度的UV‑可见光至近红外光照射的触发作用下可按需(自热)固化的组合物、将其用于加速环醚‑胺树脂的光加聚或环醚‑胺树脂的超快暗固化的方法、以及通过此方法获得的制品。本发明还涉及一种树脂浇铸件、膜或涂覆的基材以及一种胶粘层或粘合剂,其包含通过根据本发明的加速固化方法获得的环醚‑胺树脂。本发明还涉及本发明的组合物用于增加层压复合材料的分层强度的用途。

标签:
复合材料
其他 - 其他 来源:中冶有色网 2023-03-18
基于阻抗匹配的复合超材料的超薄宽频水下吸声器

本发明实施例提供一种水下吸声器,该水下吸声器包括多个Fabry‑Perot(FP)谐振器。每个FP谐振器是由复合材料制成的杆状物,所述多个FP谐振器通过气隙彼此间隔开,并且每个FP谐振器的横截面尺寸设置为足够小,使得每个FP谐振器的有效体积模量与其杨氏模量相同。

标签:
复合材料
其他 - 其他 来源:中冶有色网 2023-03-18
用于制造轴向滑动轴承部件的方法

本发明涉及一种用于制造轴向滑动轴承部件特别是内燃机曲轴的止推垫圈的方法,该轴向滑动轴承部件带有特别是钢制的支撑层和涂覆在该支撑层上的由青铜、黄铜或铝合金制成的轴承金属层和涂覆在该轴承金属层上的基于聚合物的润滑漆层(6),该润滑漆层必要时带有改善摩擦特性的填充物质,其中,包括所述支撑层和所述轴承金属层的复合材料被提供为金属的扁平材料,其中,由所述扁平材料冲裁出与要制造的轴向滑动轴承的造型相应的板坯区段(3),其中,用润滑漆给所述板坯区段(3)涂层,用于形成所述润滑漆层(6),其特征在于:采用辊压方法,使用在所述板坯区段(3)上滚动的涂覆辊(14)把所述润滑漆涂覆到所述板坯区段(3)上;为了将润滑漆涂覆到所述涂覆辊(14)上,使得配给辊(12)在所述涂覆辊(14)上滚动,并且把所述润滑漆输入到由此形成的辊间隙中;当所述涂覆辊(14)在所述板坯区段(3)上滚动时,实现对所述板坯区段(3)的涂层,直至所述板坯区段(3)的参照轧制方向处于前面的和后面的边缘(26、28)及两侧的边缘。

标签:
复合材料
其他 - 其他 来源:中冶有色网 2023-03-18
进行涂层和表面改性以使在轻水反应器运行期间的SiC包壳降损

本发明涉及一种SiC陶瓷基复合材料(CMC)包壳,该包壳在外表面上施加了金属涂层、陶瓷涂层和/或多层涂层以改善耐腐蚀性和气密性保护。该涂层包括一种或更多种材料,所述材料选自:FeCrAl,Y,Zr和Al‑Cr合金,Cr2O3,ZrO2和其他氧化物,碳化铬,CrN,Zr和Y的硅酸盐和硅化物。使用多种已知的表面处理技术来施加所述涂层,所述表面处理技术包括冷喷涂、热喷涂工艺、物理气相沉积工艺(PVD)和浆料涂覆。

标签:
复合材料
其他 - 其他 来源:中冶有色网 2023-03-18
制备插层层状材料的材料和方法

本发明涉及一种插层材料,该插层材料含有一种插入直径等于或小于3微米的颗粒的层状材料。本发明的另一个实施方案包括一种含有基质和插入分散在介质中的聚合物颗粒的层状材料的物件。本发明还涉及通过混合、研磨和用表面活性剂乳化含溶剂聚合物而制备这些材料的方法。另一种方法描述了通过以下步骤由插层颗粒制备纳米复合材料的方法:将乳液聚合反应单体与可分散在介质中的表面活性剂结合,其中该单体不可分散在介质中。

标签:
复合材料
其他 - 其他 来源:中冶有色网 2023-03-18
上一页 507 508 509 510 511 ... 863 下一页
共863页    到第

中冶有色为您提供最新的其他有色金属材料制备及加工技术理论与应用信息,涵盖发明专利、权利要求、说明书、技术领域、背景技术、实用新型内容及具体实施方式等有色技术内容。打造最具专业性的有色金属技术理论与应用平台!

全国热门有色金属设备推荐
展开更多 +
全国热门有色金属技术推荐
展开更多 +

 

江西省隆恩特环保设备有限公司
宣传

报名参会
更多+

报告下载

有色专家
更多+

矿冶科技集团有限公司
党委书记 / 董事长
北京科技大学
主任/教授
昆明理工大学
教授
广西大学
处长/教授
武汉理工大学
外籍院士/教授
赤泥综合利用研究报告2025
推广

热门技术
更多+

推荐企业
更多+

福建省金龙稀土股份有限公司
宣传

发布

在线客服

公众号

电话

顶部
咨询电话:
010-88793500-807