青岛垚鑫智能科技有限公司
宣传

位置:中冶有色 >

有色技术频道 >

分类:
全部
矿山技术
冶金技术
材料制备及加工技术
环境保护技术
分析检测技术
 
全部
功能材料技术
复合材料技术
新能源材料技术
合金材料技术
加工技术
地区:
全部
北京
天津
上海
重庆
河北
山西
辽宁
吉林
黑龙江
江苏
浙江
安徽
福建
江西
山东
河南
湖北
湖南
广东
海南
四川
贵州
云南
陕西
甘肃
青海
内蒙
广西
西藏
宁夏
新疆
其他
其他
展开
 
全部
其他

其他有色金属材料制备及加工技术理论与应用

免费发布技术信息>>
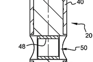
步进梁式加热炉的滑动导轨

用于工作温度超过1000℃的步进梁式加热炉的 滑动导轨,包括一根空心的耐热合金的滑道管,滑道凸 块竖直设置滑道管的顶部并且以预定的间隔沿管的轴 向排列,耐火衬套盖在滑道管的外周表面及滑道凸块 底部向上的部分。每个滑道凸块包括一连接在滑道管 上的第一部件并由耐热合金制成,以及与被加热材料 接触的第二部件。第二部件由陶瓷与耐热合金的复合 材料制成,滑道凸块的高度超过120mm。

标签:
复合材料
其他 - 其他 来源:中冶有色网 2023-03-18
用于创伤学中外科用途的材料

本发明涉及用于创伤学中外科用途的材料、结构和方法。更具体地,本发明涉及复合材料、临时生物相容性支持结构和在骨折愈合期间辅助骨缝合术中使用它们的相关方法。该材料在体内处于固相时保持其强度,并且为了辅助愈合时移出,可以在选定时间通过施加能量被转变成基本上流体相,包括例如粉化状态。

标签:
复合材料
其他 - 其他 来源:中冶有色网 2023-03-18
包覆连铸产品的生产方法和设备

本方法和所属设备用于生产连铸包覆产品。在这里,不仅可以采用振荡型结晶器,也可以采用移动的结晶器。在本方法中,例如热轧不锈带钢作为包覆层被连续送入结晶器壁和如碳钢熔融物之间,以便与坯壳焊合。例如在两辊铸造装置、哈策勒特装置或轮式铸模中可以有利地应用本方法。本发明的优点是:低成本地制造宽度大于800mm而厚度小于10mm的平面产品,并且可以制造复合材料。

标签:
复合材料
其他 - 其他 来源:中冶有色网 2023-03-18
由塑料制成的综丝及由箔带制造该综丝的方法

本发明涉及由塑料制成的综丝及由箔带制造该综丝的方法,涉及具有沿着纵向方向延伸并且具有导纱眼以引导经纱的综丝体的综丝。在每个端部处设置综耳。综丝体由带形箔状薄材料制造。它由箔带一体地分离并且有利地冲压出。综丝体沿着其纵向方向具有至少两个并且有利地至少三个或五个彼此相邻的纵向段。沿着纵向方向彼此相邻的两个纵向段包含不同的塑料或复合材料,和/或具有不同的厚度。这样通过使用适当的材料和适当的厚度,能够实现抗拉强度、耐磨性、弹性和/或阻尼的期望机械特性。因为综丝体形成为分离部件或冲压部件,所以实现了一种非常简单且经济的制造方法。综丝体由具有多个带段的箔带分离出。在冲压出综丝体后,带段形成不同的纵向段。

标签:
复合材料
其他 - 其他 来源:中冶有色网 2023-03-18
具有包在铁磁粘结料中的烧结永久磁铁的旋转电机的复合感应体

用于旋转电机的感应体,它有一个圆柱形空心或实心的磁轭(1),其一个侧壁上安装至少一块磁铁(2),磁铁的极化表面对着电枢(6),其特征为:磁铁(2)用复制模制的方法固定在磁轭上,复模复合材料包括分散在固体非磁性粘结料中的铁磁性材料,复模材料至少包住所述极化表面。

标签:
复合材料
其他 - 其他 来源:中冶有色网 2023-03-18
光学透镜、光学系统单元和成像设备

在监控摄像机2中,用于成像的光学系统单元具有第一透镜7、第二透镜8、第三透镜9和第四透镜10,目标图像穿过玻璃罩11在成像元件的光电表面12上形成。第三透镜9是由本发明的其中分散了无机微粒的纳米复合材料制成的光学透镜。第三透镜9的光入射面上形成阻挡紫外线的薄膜层15。通过第一透镜7和第二透镜8后,目标光中含有的紫外线被薄膜层15阻挡因此不能进入第三透镜9。

标签:
复合材料
其他 - 其他 来源:中冶有色网 2023-03-18
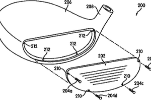
具有非金属紧固件的高尔夫球杆

提供了一种包括具有非金属紧固件的高尔夫球杆头的高尔夫球杆。球杆头可以包括面构件、本体构件、底部构件和冠部构件。球杆头的各个部分可以使用机械连接件连接,诸如螺钉。在一些设置中,螺钉可以由非金属材料形成,诸如复合材料,以便减少与球杆头相关联的重量。在一些设置中,一部分机械紧固件可以由非金属材料形成且可放置在球杆头的减少的重量被期望的区域中,而另一部分紧固件可以由金属或其它较重材料形成且可布置在额外的重量被期望的区域中。

标签:
复合材料
其他 - 其他 来源:中冶有色网 2023-03-18
将聚氨酯分散液基泡沫应用到制品的方法

本发明公开了一种通过将聚氨酯泡沫黏附到基 材来制备两种或多种组分泡沫复合材料的方法,包括如下几 步:将水性聚氨酯配合物发泡;将发泡液应用到基材,将发泡 液干燥形成泡沫,其中泡沫干密度从 35kg/m3到 160kg/m3 (2.2-10Ibs/cft)。该方 法能生产泡沫基纺织品,而无需火焰层压步骤或在纺织品与泡 沫层之间添加粘合层,同时本发明还可以根据涂覆聚氨酯成型 泡沫垫的优良操作性能的需要进行任意优化。

标签:
复合材料
其他 - 其他 来源:中冶有色网 2023-03-18
静电复印用透明片
静电复印用透明片 696     
 0

本发明的目的是由透明聚酯基(S)和附在其至 少一个表面上将墨粉粘到该聚酯基上的底涂层(P) 组成的静电复印用透明片,其特征在于,该聚酯片基 (S)是由下面两种层组成的一种复合材料:a)半结晶 聚酯厚层(A);b)厚层(A)的至少一个表面上的,与 组成厚层(A)相同或不同的聚酯的薄层(B),构成底 涂层(P)的丙烯酸类聚合物的玻璃化温度为10- 50℃,每100克丙烯酸类聚合物含有少于50毫摩尔 的自由羧酸官能团,以及所述底涂层(P)的厚度等于 或小于0.3微米。

标签:
复合材料
其他 - 其他 来源:中冶有色网 2023-03-18
耐水解芳族聚酰胺
耐水解芳族聚酰胺 1055     
 0

本文公开芳酰胺类聚合物,该芳酰胺类聚合物在其芳族二胺和/或芳族二酸单体单元上带有少量取代烷基和/或取代烷氧基。这些芳酰胺类聚合物与没有上述取代的相类似的芳族聚酰胺相比,表现出性能提高。本文描述的芳族聚酰胺适合作膜或纤维,例如,可用于制备包装材料、绳索、滤袋或复合材料。本发明还包括这些聚合物的制备方法,包括把由这些芳酰胺类聚合物制作的纤维和膜在张力下热处理。

标签:
复合材料
其他 - 其他 来源:中冶有色网 2023-03-18
带有用箔片改进过的扭矩的石墨球杆

公开了一种改进的高尔夫球杆(25)。这种高尔夫球杆(25)包括由复合材料如碳/环氧树脂制成的杆体(27),以及螺旋地缠绕在杆体(27)的至少一部分上的金属箔片(30)。此金属箔片(30)增大了球杆的抗扭刚度并提高了它的抗弯刚度,从而使采用了此球杆(25)的高尔夫球棒(40)的第一和第二频率保持在所需的范围内。

标签:
复合材料
其他 - 其他 来源:中冶有色网 2023-03-18
热熔粘合剂包装容器
热熔粘合剂包装容器 1045     
 0

本发明涉及一种盛放湿交联的热熔粘合剂(8)的包装容器,该包装容器由包括复合材料制成的盖子(2)、PE或PP涂布的镀锡薄金属板壳体(1)和底的防潮罐围成。底具有防潮柔性膜(3)的形式。尤其可以用粘合剂以非常经济的方式填充该包装容器。

标签:
复合材料
其他 - 其他 来源:中冶有色网 2023-03-18
使用导电性纳米颗粒的导热材料

热界面组合物(10)包含有与聚合物基质(16)共混的非导电性微米尺寸的填料(18)和导电性纳米颗粒(20)。该组合物提高了聚合物复合材料的体积导热率以及降低了存在于热界面材料与相应的配合面之间的热界面阻力。该组合物是非导电性的。含有纳米颗粒(20)的制剂与不含纳米颗粒(20)的制剂相比还表现出更少的微米尺寸颗粒(18)的相分离。用于增强传热的方法包括在发热元件(12)与散热片(14)之间使用该组合物。还披露了使用该组合物的电子元件。

标签:
复合材料
其他 - 其他 来源:中冶有色网 2023-03-18
电源装置和具有该电源装置的电动车辆以及蓄电装置

为了利用隔板吸收电池单体的膨胀并且抑制被电池单体加热的状态下的隔板的劣化,电源装置具有隔着隔板(2)沿厚度方向层叠多个电池单体(1)而成的电池块、配置于电池块的两端面的一对端板、以及与一对端板连结并借助端板将电池块固定为加压状态的束紧条。隔板(2)是由吸收电池单体(1)的膨胀的粘弹性的弹性片(6)、以及层叠于弹性片(6)的两面的绝热片(5)构成的三层构造,绝热片(5)设为无机粉末和纤维增强材料的复合材料(5A)。

标签:
复合材料
其他 - 其他 来源:中冶有色网 2023-03-18
改性共轭二烯系聚合物及使用其的轮胎橡胶组合物

本发明涉及改性共轭二烯系聚合物及使用其的轮胎橡胶组合物,提供经改性的共轭二烯系高分子的原料,其在使用有效利用了两性引发剂的阴离子聚合技术、通过以特定的结构两个末端改性为与二氧化硅混用性良好的官能团的线形结构和枝形共轭二烯系高分子的组合的共轭二烯系高分子制造来制造橡胶复合材料时,能够提高与无机物填充剂的亲和性的增大引起的无机物分散性。

标签:
复合材料
其他 - 其他 来源:中冶有色网 2023-03-18
二次电池用糊、二次电池正极用浆料、二次电池用正极、二次电池、以及二次电池用糊的制造方法

本发明的目的在于提供一种能够使电极复合材料层发挥优异的粘接性并且能够降低二次电池的内阻的二次电池用糊。本发明的二次电池用糊包含导电助剂、聚合物和分散介质,上述导电助剂包含表面酸量为0.01mmol/g以上且0.15mmol/g以下、表面碱量为0.005mmol/g以上且0.500mmol/g以下、上述表面酸量相对于上述表面碱量的比为1.3以上且3.0以下、而且比表面积为150m2/g以上的碳纳米管。

标签:
复合材料
其他 - 其他 来源:中冶有色网 2023-03-18
含脲二酮基团的水性组合物及其制备方法

本发明涉及含脲二酮基团的水性组合物,其包含或由以下组分组成,(A)至少一种基于脂族、脂环族、芳脂族和/或芳族多异氰酸酯的含脲二酮基团的固化剂,其不包含化学键合的亲水化基团;(B)至少一种非离子型亲水化的包含羟基的多元醇;(C)任选的溶剂;和(D)任选的助剂和添加剂;其中如此计量组分(A)和(B)的量比,使得固化剂(A)的作为脲二酮存在的NCO基团与多元醇(B)的NCO‑反应性基团的摩尔比为3:0.5至0.5:3,并且其中A和B作为物理混合物存在。此外,本发明涉及使用本发明的含脲二酮基团的水性组合物制备聚氨酯层的方法,由该方法获得的聚氨酯层,和用所述聚氨酯层涂覆或粘合的基材。

标签:
复合材料
其他 - 其他 来源:中冶有色网 2023-03-18
用于风力涡轮机叶片的移动式现场回收系统

本公开涉及一种用于回收诸如风力涡轮机叶片的复合材料的回收系统。回收系统包括多个处理单元,这些处理单元可运输到相关的位置并且组装到回收系统中。每个处理单元构造成进行一个或多个回收步骤。

标签:
复合材料
其他 - 其他 来源:中冶有色网 2023-03-18
用于清洁工具表面的装置和方法

本发明涉及一种使用高压清洁液来清洁工具(32)的表面(33)的装置,工具(32)用于形成大面积纤维复合材料主体的表面,所述装置具有:喷嘴支撑件(3),其以可旋转的方式保持在中心轴承(2)上;至少一个射流喷嘴(7),其被保持在喷嘴支撑件(3)的臂(5、6)中,并且在操作期间,高压清洁液通过所述至少一个射流喷嘴(7)排出;以及控制单元,所述控制单元用于控制待施加的高压清洁液的压力,其中,喷嘴支撑件(3)由壳体(4)围起,壳体(4)设有朝向工具(32)的待清洁的表面(33)敞开的开口(25)。壳体(4)连接到抽吸装置,能够通过抽吸装置对装备有喷嘴支撑件(3)的壳体(4)的内部(24)进行抽吸。壳体(4)的内部(24)经由压力阀(14)连接到外部周围区域,并且具有柔性形状的液密密封件(20、21)被布置在壳体(4)的形成开口(25)端部上,其中密封件能够用以将喷嘴支撑件(3)和主体(32)的表面(33)之间的空间与外部周围区域隔离,并且控制单元具有至少两个压力范围设定。本发明还涉及用于清洁工具(32)的表面(33)的方法。

标签:
复合材料
其他 - 其他 来源:中冶有色网 2023-03-18
摩擦部件的纤维预成型件

本发明涉及一种用于形成由复合材料制成的摩擦部件的纤维增强的纤维预成型件(1),该纤维预成型件包括编织的螺旋纤维织构,该编织的螺旋纤维织构限定纤维层(111;121;131)的叠置,所述织构是针刺的,并且在旨在限定摩擦部件的摩擦面的区域处选择性地具有陶瓷颗粒。

标签:
复合材料
其他 - 其他 来源:中冶有色网 2023-03-18
浸胶设备及包括其的拉挤装置

本发明涉及浸胶设备与包括其的拉挤成型装置以及使用其的拉挤成型方法。所述浸胶设备包括浸胶槽和设置于所述浸胶槽内的第一预成型模板,所述第一预成型模板在所述浸胶槽内的位置可调节并且其上设置有若干第一穿纱定位孔。本发明的浸胶设备可以使纤维在浸胶槽中展开,能够确保纤维浸胶充分和张力均匀且提高树脂置换率。采用本发明的拉挤装置制备纤维增强树脂复合材料时牵伸力稳定,所得成品浸润良好。

标签:
复合材料
其他 - 其他 来源:中冶有色网 2023-03-18
调制固化系统及其方法

本发明提供了用于气体流动和调制,以实现实心或具有中空内部管道、通道和区室或以其他方式挖空的复合材料制品(例如由基于可碳酸化硅酸钙的水泥制成的预浇制物件)的最适CO2固化的新的装置和方法,以及由此制造的预浇制物件,其适用于建筑物、路面和景观以及基础设施中的各种应用。

标签:
复合材料
其他 - 其他 来源:中冶有色网 2023-03-18
带有分段鼓部的混合转子

一种用于轴流式涡轮机的转子(12),该转子(12)包括由几个部件形成的鼓部,这些部件包括由复合材料制成的复合环(40)和插在复合环(40)之间的金属环(50)。金属环(50)承载转子叶片(24)。金属环(50)具有轴向重叠于复合环(40)的轴向分支(52)和与复合环(40)接触的至少一个径向分支(54)。

标签:
复合材料
其他 - 其他 来源:中冶有色网 2023-03-18
包含多级聚合物和(甲基)丙烯酸类聚合物的组合物、其制备方法及其用途

本发明涉及包含多级聚合物和(甲基)丙烯酸类聚合物的组合物、其制备方法及其用途。特别地,本发明涉及包含通过多级法制备的聚合物粒子形式的多级聚合物和(甲基)丙烯酸类聚合物的组合物,同时(甲基)丙烯酸类聚合物具有中等分子量。更特别地,本发明涉及包含通过包括至少两个级的多级法制备的聚合物粒子和具有中等分子量的(甲基)丙烯酸类聚合物的聚合物组合物、其制备方法、其在用于包含热固性树脂或热塑性聚合物的复合材料的聚合物组合物中作为抗冲改性剂的用途、以及包含它的组合物和制品。

标签:
复合材料
其他 - 其他 来源:中冶有色网 2023-03-18
具有高固有强度和透光性的轻质膨胀聚四氟乙烯膜

提供了具有高结晶度指数、高固有强度、低面密度(即轻质)和高光学透明度的薄而自支撑双轴膨胀聚四氟乙烯(ePTFE)膜。具体地,所述ePTFE膜在纵向和横向上可具有至少约94%的结晶度指数和至少约600MPa的基质拉伸强度。此外,通过将PTFE初级颗粒完全转化为原纤维,所述ePTFE膜是透明的或肉眼不可见的。所述ePTFE膜可具有每层小于100nm的厚度和大于50%的孔隙率。此外,所述ePTFE膜是可堆叠的,因此可用于控制渗透性、孔径和/或整体机械性能。所述ePTFE膜可用于形成复合材料、层压体、纤维、带材、片材、管材或三维物体。此外,所述ePTFE膜可用于过滤应用。

标签:
复合材料
其他 - 其他 来源:中冶有色网 2023-03-18
用于自动化机器分配的连续线制造系统和方法

本申请涉及用于自动化机器分配的连续线制造系统和方法。一种用于采用多个自动化机器沉积复合材料的方法,该方法包括位于第一工位的第一工具和位于第二工位的第二工具。第一工位和第二工位位于生产线上。第一工位包括多个自动化机器中的至少一个自动化机器,并且第二工位包括多个自动化机器中的至少两个自动化机器。自动化机器中的至少一个可从第二工位移动到第一工位。该方法包括监控多个自动化机器的机器容量和工作负荷要求。该方法还包括基于机器容量和工作负荷要求确定效率阈值。该方法还包括一旦满足效率阈值就将自动化机器中的至少一个从第二工位重新分配到第一工位。

标签:
复合材料
其他 - 其他 来源:中冶有色网 2023-03-18
用于热塑材料制的容器的模制单元的锁定指

用于模制单元的锁定指(20),模制单元包括容器的模腔,模腔至少由固定在第一模具支架(110)上的第一壳体和固定在第二模具支架(111)上的第二壳体界定,该第二模具支架相对于第一模具支架(110)在打开位置和关闭位置之间是活动的,第一模具支架(110)包括控制锁定指(20)的控制构件(12),第二模具支架(111)包括锁定开口(22),锁定指(20)包括:‑机械耦合至控制构件(12)的机械耦合接口(19),以及‑设计成在关闭位置与锁定开口(22)配合的锁定部。锁定部包括抗摩擦的复合材料。

标签:
复合材料
其他 - 其他 来源:中冶有色网 2023-03-18
3D打印机和用于3D打印机的原料

本发明公开一般涉及三维(“3D”)打印机,该三维打印机配置成采用包括金属或高分子化合物以及形成在所述化合物表面的碳涂层作为原料来制备三维物体。本发明还涉及所述原料及其制备方法。本发明进一步涉及通过使用所述打印机和原料来制备3D复合物对象。本发明还涉及含碳的光固化剂及其制备方法。本发明进一步涉及通过使用所述含碳光固化剂制备的导电3D聚合物复合材料。

标签:
复合材料
其他 - 其他 来源:中冶有色网 2023-03-18
模块化脚手架
模块化脚手架 1026     
 0

一种模块化脚手架,所述模块化脚手架包括要彼此接合的部件,所述部件至少是标准件(1)、横木(4)、作业平台(7)和所需栏杆,以及还有梯子(8)。本发明实施为使得模块化脚手架的部件主要由塑料和/或纤维复合材料制造。

标签:
复合材料
其他 - 其他 来源:中冶有色网 2023-03-18
用于风力涡轮机叶片的内覆层及用于安装该内覆层的方法

一种用于风力涡轮机叶片的内覆层以及用于安装该内覆层的方法,其中所述覆层由具有柔性壁的护套(5)组成,该护套基于复合材料层形成并且其形状和尺寸与叶片结构元件(3)的内部区域的形状和尺寸大致相同,所述护套安装在支撑件(16)上,护套与该支撑件被一起引入叶片内部。在支撑件和护套之间设置有可膨胀腔室(18),该可膨胀腔室在被膨胀时使得护套压实并粘靠叶片结构元件的内表面。

标签:
复合材料
其他 - 其他 来源:中冶有色网 2023-03-18
上一页 508 509 510 511 512 ... 863 下一页
共863页    到第

中冶有色为您提供最新的其他有色金属材料制备及加工技术理论与应用信息,涵盖发明专利、权利要求、说明书、技术领域、背景技术、实用新型内容及具体实施方式等有色技术内容。打造最具专业性的有色金属技术理论与应用平台!

全国热门有色金属设备推荐
展开更多 +
全国热门有色金属技术推荐
展开更多 +

 

江西省隆恩特环保设备有限公司
宣传

报名参会
更多+

报告下载

有色专家
更多+

中南大学
副校长
长春黄金研究院有限公司
总经理
矿冶科技集团有限公司
中国工程院院士
中南大学
中国工程院院士
昆明理工大学
教授
赤泥综合利用研究报告2025
推广

热门技术
更多+

推荐企业
更多+

福建省金龙稀土股份有限公司
宣传

发布

在线客服

公众号

电话

顶部
咨询电话:
010-88793500-807