青岛垚鑫智能科技有限公司
宣传

位置:中冶有色 >

有色技术频道 >

分类:
全部
矿山技术
冶金技术
材料制备及加工技术
环境保护技术
分析检测技术
 
全部
功能材料技术
复合材料技术
新能源材料技术
合金材料技术
加工技术
地区:
全部
北京
天津
上海
重庆
河北
山西
辽宁
吉林
黑龙江
江苏
浙江
安徽
福建
江西
山东
河南
湖北
湖南
广东
海南
四川
贵州
云南
陕西
甘肃
青海
内蒙
广西
西藏
宁夏
新疆
其他
其他
展开
 
全部
其他

其他有色金属材料制备及加工技术理论与应用

免费发布技术信息>>
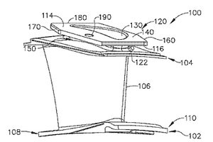
载荷施加元件和生产载荷施加元件的方法

本发明涉及一种载荷施加元件(1),其包括至少一个加强元件(3),该加强元件(3)包括几层复合材料形成的分层设置。加强元件(3)至少部分地被外壳(2)包围。

标签:
复合材料
其他 - 其他 来源:中冶有色网 2023-03-18
包含TMP‑PDA作为固化剂的环氧树脂组合物

本发明涉及包含TMP‑PDA(2‑(2,2,6,6‑四甲基哌啶‑4‑基)丙烷‑1,3‑二胺)作为固化剂的环氧树脂组合物。本发明还涉及所述环氧树脂组合物用于制备复合材料的用途。

标签:
复合材料
其他 - 其他 来源:中冶有色网 2023-03-18
复合片材及制造方法
复合片材及制造方法 1003     
 0

本发明涉及一种制造复合片材(5)、特别是夹层片材的方法,其中复合片材(5)包括至少两层外部金属层(1、2)以及至少一层中间聚合物层(3),其中聚合物层包含热塑性聚合物。本发明的目的在于提供一种制造复合片材、特别是夹层片材的方法,所述方法能够以经济的方式进行生产,该方法包括:提供至少第一金属基材和第二金属基材、以及至少一层中间聚合物层(3),其中第一金属基材和第二金属基材用于提供外部金属层(1、2);在至少一个金属基材的内侧,通过等离子体涂覆(4)从而使所述至少一个金属基材被粘合促进层涂覆,其中所述至少一个金属基材的内侧与至少一层中间聚合物层相接触,其中等离子体涂覆包括:提供工艺气体,产生等离子体,将用于提供粘合促进层的前体注入到所产生的等离子体或等离子体余辉中,将所述至少一个金属带移动或放置在产生的等离子体或等离子体余晖中,并且至少部分地将等离子体聚合的粘合促进层沉积到所述至少一个金属基材的内侧面上;以及将至少一层中间聚合物层和两个所述外部金属层层叠,从而制造复合材料(5)。

标签:
复合材料
其他 - 其他 来源:中冶有色网 2023-03-18
含有层状双氢氧化物和活性炭的吸附剂

本发明涉及一种吸附挥发性化合物特别是含硫化合物的材料。已发现适于高挥发性化合物的高表面积的吸附剂可通过在粉末活性炭(PAC)的表面上生长层状双氢氧化物(LDH)的纳米颗粒获得。本发明公开了一种复合吸附剂,其包含通式为[M2+1‑xM3+x(OH)2]q+(Xn‑)q/n·yH2O的层状双氢氧化物(LDH)的纳米颗粒和粉末活性炭(PAC),其中,M2+=Ca2+、Mg2+、Mn2+、Fe2+、Co2+、Ni2+、Cu2+或Zn2+;M3+=Al3+或Fe3+;x=[M3+]/[M3++M2+];q=x;n=1至4;和y=LDH上存在的水分子数;X=选自卤化物、硫酸盐、硝酸盐、碳酸盐的阴离子或来自有机源的阴离子部分;其中,所述复合材料可通过水热法获得,该水热法依次包括以下步骤:(a)将粉末活性炭与M2+的水溶性盐和M3+的水溶性盐接触和混合;(b)向步骤(a)的分散体中加入碱;(c)通过将步骤(b)的分散体加热至80至100℃以使其老化;(d)通过任何方式分离分散体的水相和分散相;以及(e)用水洗涤所述分散相以除去过量的碱,得到复合吸附剂,其中,所述层状双氢氧化物(LDH)的纳米颗粒的量为10‑30重量%,并且其中,所述粉末活性炭的粒径为50μm至500μm。

标签:
复合材料
其他 - 其他 来源:中冶有色网 2023-03-18
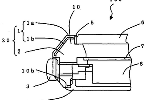
紧固构造
紧固构造 894     
 0

抑制电火花的发生。紧固构造(1)具有:第1构造部件(20),其由复合材料构成,具有导电性的第1导电面(21a);第2构造部件(30),其具有与第1导电面(21a)抵接的导电性的第2导电面(31a);紧固部件(40),其将第1导电面(21a)及第2导电面(31a)贯穿,将第1构造部件(20)和第2构造部件(30)紧固。电流主要在第1内侧层(21)内流动,经由第1导电面(21a)、第2导电面(31a)流入至第2内侧层(31),从第2内侧层(31)扩散至外部。

标签:
复合材料
其他 - 其他 来源:中冶有色网 2023-03-18
地板嵌板、地板嵌板的应用和制造本质材料板的方法

本发明涉及一种由木塑复合材料构成的地板嵌板、木质材料板作为用于层压地板的地板嵌板的应用和一种制造木质材料板的方法。所述木质材料板包括木质颗粒(H)和至少一种借助至少一种有机化合物来官能化的塑料(K),其中在木质材料板的至少一个侧上设有至少一个装饰层。

标签:
复合材料
其他 - 其他 来源:中冶有色网 2023-03-18
用于支承座的滑动轴承、滑动体制造方法及滑动轴承制造方法

本发明涉及用于机动车支承座的滑动轴承(10),具有第一壳体部(12)、第二壳体部(14)和设于两个壳体部之间的滑动轴承机构(16),其中滑动轴承机构(16)具有至少一个第一滑动体(30)和至少一个第二滑动体(32),其中第一滑动体(30)的至少一个部段由复合材料构成。本发明还涉及滑动体(30)制造方法和滑动轴承(10)制造方法。

标签:
复合材料
其他 - 其他 来源:中冶有色网 2023-03-18
风轮机叶片及其制造方法

一种制造用于风轮机叶片的翼梁帽(146)的方法,所述方法包括:(a)提供多个细长的拉挤成型的纤维复合材料条(100),每个条具有由相互对置且纵向延伸的第一侧面(102)和第二侧面(104)并由第一纵向边缘(110)和第二纵向边缘(112)限定的大致恒定的横截面,所述第一侧面和所述第二侧面分别包括平面的第一抵接表面和第二抵接表面(118),所述条在所述第一抵接表面和所述第二抵接表面之间具有大致均一的厚度,所述条的第一边缘区域(120)包括所述条的具有相对减小厚度的第一边缘,所述条的所述第一侧面包括在所述条的第一边缘区域中与所述第一抵接表面相邻的边缘表面(122),所述条具有第一剥离片层(114),所述第一剥离片层至少局部覆盖所述第一抵接表面并且至少局部覆盖所述边缘表面;(b)从相应的所述条移除所述第一剥离片层;(c)在模具中堆叠所述条,使得每个条的所述第一抵接表面抵接堆叠中的相邻条的抵接表面以限定所述条之间的界面区域(142),并且使得在每个条的所述第一边缘区域和所述堆叠中的相邻条的边缘区域之间限定间隙区域(144);(d)供给树脂至相应的间隙区域并致使所述树脂渗入至相邻条之间的所述界面区域;以及(e)固化所述树脂以将这些条结合在一起。

标签:
复合材料
其他 - 其他 来源:中冶有色网 2023-03-18
散热涂层及其制备方法

本发明提供一种散热涂层及其制备方法,其中散热涂层的组成物包括:黏结剂和散热填料,所述散热填料是一种具有金属内核而且具有高表面面积的多孔性氧化物或氢氧化物外壳的金属粒子,本发明散热涂层可应用于例如但不限于灯丝、散热鳍片、外壳和握把这些装置的表面,所述装置的材质可以是塑料、陶瓷、金属及其复合材料;本发明散热涂层能够通过热对流和热传导的方式,提高所述装置的散热率。

标签:
复合材料
其他 - 其他 来源:中冶有色网 2023-03-18
贴标签设备的真空圆柱体以及带真空圆柱体的贴标签设备

本发明涉及一种贴标签设备的真空圆柱体以及带真空圆柱体的贴标签设备,真空圆柱体包括下部支撑体和上部支撑体,其中,下部支撑体和/或上部支撑体至少部分由复合材料制成。根据本发明的用于贴标签设备的真空圆柱体可以被简单地并且符合人体工程学地替换。

标签:
复合材料
其他 - 其他 来源:中冶有色网 2023-03-18
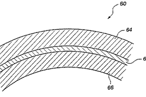
绝热叠层体
绝热叠层体 936     
 0

本发明提供一种高的绝热性和可视光透过率兼备,有防污性,且耐伤性优良的绝热叠层体。绝热叠层体,具有光触媒层4;二枚的透明基板1·1之间挟持由纤维集合体2以及无机粒子3形成的复合材料的透明绝热层10;以及粘着材料层5。光触媒层4为所述绝热叠层体的一个面的最外层,粘着材料层5为另一个面的最外层。光触媒层4和透明绝热层10之间以及透明绝热层10和粘着材料层5之间,至少一方可以具有硬涂布层。

标签:
复合材料
其他 - 其他 来源:中冶有色网 2023-03-18
用于生产WPC的含有2-噻唑-4-基-1H-苯并咪唑(噻苯达唑或TBZ)的活性物质的配制品

本发明涉及一种含有IPBC和TBZ的杀生物性混合物用于保护含有一种热塑性聚合物和木材颗粒的木材-塑料复合材料(WPC)不受微生物侵染和/或破坏的用途。

标签:
复合材料
其他 - 其他 来源:中冶有色网 2023-03-18
复合轮及插入件
复合轮及插入件 764     
 0

本发明涉及一种包括轮辋(2)和轮中心部(3)的轮(1)。所述轮中心部(3)包括插入件(10),所述插入件至少包括前垫(11)和后垫(12),该前垫(11)和后垫(12)相对于彼此间隔一定距离并且至少部分地嵌入至复合材料(6)中。

标签:
复合材料
其他 - 其他 来源:中冶有色网 2023-03-18
燃气涡轮的喷嘴、喷嘴吊架和陶瓷对金属附接系统

提供了喷嘴、喷嘴吊架和陶瓷对金属附接系统。该陶瓷对金属附接系统包括:喷嘴,其为陶瓷基复合材料;和喷嘴吊架,其为金属。附接系统还包括卡紧部件,其邻接喷嘴的第二表面和喷嘴的安装部件。附接系统包括多个附接部件,其将喷嘴、卡紧部件和喷嘴吊架固定在一起。喷嘴吊架的密封部件封锁喷嘴的翼形件使其不受邻接的气流。

标签:
复合材料
其他 - 其他 来源:中冶有色网 2023-03-18
将导体与基材连接的方法和装置

本发明涉及用于将导体(10)与基材(20)连接的方法和装置(1)。装置(1)包括至少一个定位单元(40),它将导体(10)定位于在基材(20)上或附近的待连接部分(33)中。在至少一个等离子体源(50)中产生等离子体(51)。至少一个供应管路(55)用于将复合材料(30)输送入等离子体源(50)的等离子体(51)中。另外,多个根据本发明的装置(1)可以被整合在一个系统内,该系统设计用于并行加工一个或多个基材(20)。

标签:
复合材料
其他 - 其他 来源:中冶有色网 2023-03-18
制备碳纳米管纤维的装置及利用所述装置制备碳纳米管纤维的方法

本发明涉及一种用于制备碳纳米管纤维的装置和使用所述装置制备碳纳米管纤维的方法,所述装置包括:竖直反应器,具有反应区域;纺丝溶液进口,用于将所述纺丝溶液注入到所述反应器的反应区域的底部;载气进口,用于将载气注入到所述反应器的反应区域的底部;加热器,用于加热所述反应区域;以及碳纳米管纤维排放部,其设置在所述反应区域的上端,其中,从所述纺丝溶液进口流入所述反应区域的纺丝溶液,在利用通过所述载气进口流入的载气而从反应区域下端上升时被碳化和石墨化,从而形成由连续的碳纳米管组构成的碳纳米管纤维。使用根据本发明的装置制备的碳纳米管纤维具有长的长度和优异的电导率、拉伸强度和弹性,并且能用于多种领域,例如电化学装置,如多功能复合材料,变形/损坏探测器,输电电缆,用于感应生物材料的微电极材料,超级电容器和传动装置。

标签:
复合材料
其他 - 其他 来源:中冶有色网 2023-03-18
结构部件
结构部件 967     
 0

本发明涉及用于飞行器的结构部件。该结构部件包括具有第一表面的本体和延伸到第一表面外的凸耳。该本体和凸耳包含复合材料并且一体地形成。

标签:
复合材料
其他 - 其他 来源:中冶有色网 2023-03-18
用于脐带管部署型电潜泵系统的悬挂器

一种用于井口组件的油管悬挂器组件包括:油管悬挂器部件;保持器,其座靠在所述悬挂器部件中;以及卡瓦组件,其座靠在该保持器中,并且支撑复合材料油管钻柱和电潜泵组件(ESP)。油管和ESP设置在形成于井口组件下方的井筒中。卡瓦组件是无痕的并且在其内表面上包括砂粒而不是齿。

标签:
复合材料
其他 - 其他 来源:中冶有色网 2023-03-18
飞行器厨房立体空间结构

一种改善的立体空间结构,其将结合的构造系统与碳纤维加强的复合材料组合以形成外骨骼框架,该外骨骼框架显著地减少了建造时间、制造技术水平需要、后处理活动和给定飞行器立体空间的整体重量。

标签:
复合材料
其他 - 其他 来源:中冶有色网 2023-03-18
用于航行器升力面的包括前缘翼肋和后缘翼肋的高度综合结构

本发明公开提供一种具有复合材料的单体主支撑结构(14)的航行器升力面,包括上蒙皮(21)、下蒙皮、前翼梁(18)、后翼梁(20)、多个前缘翼肋和/或多个后缘翼肋,上蒙皮(21)包括前缘(11)和/或后缘(15)的上空气动力学轮廓的至少部分。这个主支撑结构允许航行器升力面的重量和成本降低。本发明还提供所述单体主支撑结构(14)的制造方法。

标签:
复合材料
其他 - 其他 来源:中冶有色网 2023-03-18
抗静电胶皮的制造方法及其结构

本发明提出一种抗静电胶皮的制造方法及其结构,该抗静电胶皮的制造方法包括以下步骤:提供一基布;涂布糊料于该基布的表面上,加热烘干该基布形成一糊布;制作聚氯乙烯及热塑性聚氨基甲酸酯的复合胶料,该复合胶料包括添加一抗静电剂;对该复合胶料加工形成一胶布;以及贴合该糊布和该胶布。本发明还提出一种抗静电胶皮的结构,包括:一糊布,该糊布包括一基布及糊料;以及一胶布,该胶布包括聚氯乙烯及热塑性聚氨基甲酸酯复合材料与一抗静电剂,该胶布与该糊布相互接合。根据本发明的抗静电胶皮的制造方法及其结构,可降低静电放电对信息、电子与半导体产业带来的危害,提升产品的良率。

标签:
复合材料
其他 - 其他 来源:中冶有色网 2023-03-18
用于提供导电性无定形不粘涂层的方法与设备

用导电的可弯的陶瓷材料提供导电的不粘涂层62,同时提供显示润滑性的表面。由室温或接近室温的制造方法于基片上产生TiN涂层,此涂层当基片是包括塑料、复合材料、金属、磁铁与陶瓷的固定材料时是无定形的,能使基片弯曲而不损伤涂层。这种涂层也可根据用途作为保形涂层用于多种基片形状。这种涂层是生物相容的,可以用于多种医疗装置。

标签:
复合材料
其他 - 其他 来源:中冶有色网 2023-03-18
便携计时器的外部元件以及便携计时器

公开了便携计时器的具有装饰的并抗腐蚀的外部元件和便携计时器。采用了双层复合材料,计时器壳体的内侧用钛金属,而外侧用纯铝材料。对纯铝材料的表面进行了达到一定深度的氧化铝处理。在计时器壳体的上部设有台阶部分。玻璃固定垫圈安装到台阶部分,玻璃压接其中。背盖固定到机芯的上表面。带有背盖的机芯的位置可使设置在计时器壳体上用于表面的台阶与表面的一部分接触。背盖旋入计时器壳体,直到背盖与计时器壳体的背盖接触表面相接触,从而固定到计时器壳体。柄头部分地插入设置在计时器壳体的通孔中,而背盖与设置在计时器壳体中的机芯接合。

标签:
复合材料
其他 - 其他 来源:中冶有色网 2023-03-18
包括细纤维多孔聚合物膜的二次锂电池和它的制造方法

公开的是二次锂电池,它包括纤维膜/电极复合材料,其中超细纤维多孔聚合物膜与电极结合成一体,和杂化型聚合物电解质,其中超细纤维多孔聚合物膜的孔隙浸渍了有机电解质溶液或聚合物电解质;和它的制造方法。

标签:
复合材料
其他 - 其他 来源:中冶有色网 2023-03-18
大功率元器件的外壳
大功率元器件的外壳 1038     
 0

本发明涉及一种用于大功率元器件的、尤其是大功率电容器的外壳。本发明的构思是设计提出一种外壳,它具有一个由适合的电绝缘材料制成的基底板和一个优选为金属的顶盖,其中基底板和顶盖的热的线膨胀系数相互匹配。这种匹配按照本发明通过设定在纤维复合材料中的玻璃纤维的分额来达到。

标签:
复合材料
其他 - 其他 来源:中冶有色网 2023-03-18
用于轮胎物品的具有自密封性质的弹性体组合物

本发明涉及具有自密封性质的弹性体组合物,其可在轮胎物品中特别地用作防刺穿层,并包含至少(以重量%的固体弹性体计的显著百分数):固体不饱和二烯弹性体;30%至90%之间的烃类树脂;0至小于30%的填料;0.5至15%之间的秋兰姆多硫化物。本发明也涉及具有防刺穿层的充气物品,如充气轮胎,所述防刺穿层包含根据本发明的组合物;所述防刺穿层有利地与例如含有丁基橡胶或TPS弹性体的气密层组合,以在充气物品中形成气密且防刺穿的层合复合材料。

标签:
复合材料
其他 - 其他 来源:中冶有色网 2023-03-18
用于金刚石工具制造的铜基粘结剂

本发明涉及粉末冶金,更确切地说,涉及复合材料的生产方法,本发明可用于制造建筑工业和石材加工中需要的金刚石工具的铜基粘结剂。该铜基粘结剂包括以下比率(wt.%)的成分:铜(30~60),铁(20~35),钴(10~15),锡(0~10.5),碳化钨(0~20)以及合金添加剂。根据第一个变型方式,合金添加剂是以6~25m2/g比表面积纳米粉末的形式添入,重量百分比为1~15%。根据第二变型方式,合金添加剂是以75~150m2/g比表面积纳米粉末的形式添入,重量百分比为0.01~5%。粘结剂具有高耐磨性,而且不会显著提高所需要的烧结温度,同时还具有高的硬度、强度和耐冲击韧性。

标签:
复合材料
其他 - 其他 来源:中冶有色网 2023-03-18
制作金属加强件的方法

本发明提供了一种制作金属加强件的方法,所述加强件安装在涡轮机复合材料叶片的前缘或后缘上,所述方法包括将两个金属板材(1)固定在型芯(2)两侧,通过热等静压作业在型芯(2)上成形板材(1),和切削板材(1),从而沿至少一个切割线将加强件分开并退出型芯。型芯(2)带有凸出牺牲区域(13),板材(1)沿牺牲区域(13)被切割,不会影响型芯(2)其余部分的性能。

标签:
复合材料
其他 - 其他 来源:中冶有色网 2023-03-18
汽油升级方法
汽油升级方法 827     
 0

本发明涉及允许通过利用具有降低的扩散限制的结晶催化剂转化包含4至20个碳原子的烯烃的原料来调节汽油/柴油平衡的方法。所述方法包括:-在存在或不存在包含芳香族化合物的料流的条件下处理包含4至20个碳原子的烯烃的原料流,-使所述料流与催化剂在有效地使至少一部分所述烯烃低聚并且最终使至少一部分所述芳香族化合物烷基化的条件下接触,其中所述催化剂为选自结晶铝硅酸盐、结晶铝磷酸盐、结晶硅-铝磷酸盐、结晶沸石的具有微/中孔结构的结晶化合物,或者所述催化剂为包含至少20重量%的至少一种上述结晶化合物的复合材料,并且其中所述结晶化合物的中孔体积为至少0.22ml/g。

标签:
复合材料
其他 - 其他 来源:中冶有色网 2023-03-18
具有改进的耐火性的热塑性组合物

本发明的内容是热塑性组合物,具体是以一种或 多种聚酰胺树脂或一种或多种链烯基芳族树脂为主要成分,它 们具有改进的耐火性,它们含有Sb2O3,蜜胺氰尿酸酯和一种或 多种多元醇。这些组合物可以片或膜,复合材料和涂料底物粉 末的形式用于制作模制,挤压或注塑制品。

标签:
复合材料
其他 - 其他 来源:中冶有色网 2023-03-18
上一页 505 506 507 508 509 ... 863 下一页
共863页    到第

中冶有色为您提供最新的其他有色金属材料制备及加工技术理论与应用信息,涵盖发明专利、权利要求、说明书、技术领域、背景技术、实用新型内容及具体实施方式等有色技术内容。打造最具专业性的有色金属技术理论与应用平台!

全国热门有色金属设备推荐
展开更多 +
全国热门有色金属技术推荐
展开更多 +

 

江西省隆恩特环保设备有限公司
宣传

报名参会
更多+

报告下载

有色专家
更多+

广东省科学院资源利用与稀土开发研究所
教授
长沙矿冶研究院有限责任公司
中国工程院院士
昆明理工大学
教授
中国矿业大学(北京)
院长/教授
有研资源环境技术研究院(北京)有限公司
副总经理/教授级高工
赤泥综合利用研究报告2025
推广

热门技术
更多+

推荐企业
更多+

福建省金龙稀土股份有限公司
宣传

发布

在线客服

公众号

电话

顶部
咨询电话:
010-88793500-807