青岛垚鑫智能科技有限公司
宣传

位置:中冶有色 >

有色技术频道 >

分类:
全部
矿山技术
冶金技术
材料制备及加工技术
环境保护技术
分析检测技术
 
全部
功能材料技术
复合材料技术
新能源材料技术
合金材料技术
加工技术
地区:
全部
北京
天津
上海
重庆
河北
山西
辽宁
吉林
黑龙江
江苏
浙江
安徽
福建
江西
山东
河南
湖北
湖南
广东
海南
四川
贵州
云南
陕西
甘肃
青海
内蒙
广西
西藏
宁夏
新疆
其他
其他
展开
 
全部
其他

其他有色金属材料制备及加工技术理论与应用

免费发布技术信息>>
用于制造前体材料的方法

一种用于制造复合材料粒料的前体材料的生产方法,所述前体材料包含聚合物材料和纤维材料,所述方法包括按此顺序的以下步骤:在包括共混装置的共混设备中通过以足以导致温度升高至至少超过VICAT软化点的温度或者在聚合物材料的熔化温度范围内或超过聚合物材料的熔化温度范围的温度的速度操作共混装置来搅拌聚合物材料和纤维材料;b.保持共混装置的速度;c.当保持共混装置的速度所需的比马达功率增加预定的量或达到预定的值时,将速度降低预定的量;d.重复前述步骤c.直至速度降至低于第一阈值,由此形成中间材料;e.在优选冷却的包括粉碎装置的粉碎设备中通过以允许温度降低直至温度降至低于第二阈值的速度操作粉碎装置来粉碎所形成的中间材料,由此形成前体材料。

标签:
复合材料
其他 - 其他 来源:中冶有色网 2023-03-18
用于在包含内含物的结构体积内分布多层复合物的方法、系统和非暂时性计算机可读介质

提供了用于生成具有多个被表示的复合层(502、504)的模型的方法(600)、系统(100)和过程,其中被表示的复合层没有在结构体积(400)内填充一个或多个内含物(126、208),在表示复合部件(500)的计算机辅助绘图(CAD)模型(120)内表示该结构体积。然后可以使用包括但不限于3D打印机、手动叠层、自动化叠层的任何制造技术以及用于将多层复合材料分布到叠层表面上以制造复合部件的其他方法,基于所得到的生成模型来制造复合部件。

标签:
复合材料
其他 - 其他 来源:中冶有色网 2023-03-18
石墨烯改性高分子柔软抗变形复合发泡材料及其制备方法

本发明提供一种石墨烯改性高分子柔软抗变形复合发泡材料及其制备方法,如下成分及其质量百分比:乙烯‑醋酸乙烯酯共聚物(EVA):15%~30%、乙烯‑辛烯共聚物(POE):5%~20%、聚烯烃类嵌段共聚物(OBCs):10%~25%、三元乙丙橡胶(EPDM):5%~15%、苯乙烯‑乙烯‑丁烯‑苯乙烯共聚物(SEBS):15%~40%、填充剂:5%~20%、石墨烯:0.1%~3%、偶联剂:0.5%~1.5%、润滑剂:0.5%~1.5%、金属氧化物:0.8%~1.5%、架桥剂:0.6%~1%、发泡剂:1.5%~3.5%,各原料经密炼机进行二阶段密炼密炼、滚轮机混炼、造粒机造粒、发泡成型。本发明通过引入石墨烯,从而有效对复合材料的力学性能进行补强,使复合发泡材料达到轻质柔软、抗变形、耐撕裂等特性。

标签:
复合材料
其他 - 其他 来源:中冶有色网 2023-03-18
UZM-39硅铝酸盐沸石
UZM-39硅铝酸盐沸石 990     
 0

已合成了TUN和IMF沸石型的新的一族相干生长的复合材料。这些沸石由下述经验式表示:NanMmk+TtAl1-xExSiyOz,其中“n”是Na与(Al+E)的摩尔比,M代表选自锌、周期表第1族、第2族、第3族和或镧系元素的金属,“m”是M与(Al+E)的摩尔比,“k”是金属M的平均电荷,T是有机结构导向剂,且E是骨架元素,例如镓。这些沸石类似于TNU-9和IM-5,但以独特的组成和合成程序为特征,并具有用于实施各种烃转化法的催化性质和用于实施各种分离的分离性质。

标签:
复合材料
其他 - 其他 来源:中冶有色网 2023-03-18
得自加聚-低聚酯的PUR/PIR硬质泡沫

本发明的主题是制备PUR/PIR‑硬质泡沫的方法,其包括至少一种聚酯多元醇(a)与下述物质的反应:(b)至少一种含多异氰酸酯的组分,(c)至少一种发泡剂,(d)至少一种催化剂,(e)任选地至少一种阻燃剂和/或其他助剂和添加物,(f)任选地至少一种不同于聚酯多元醇(a)的具有至少两个异氰酸酯反应性基团的另外的化合物,所述聚酯多元醇(a)可通过下述反应得到:a.1.)至少一种环状羧酸酐;a.2.)至少一种分子量为62至450 Da的低分子量二醇;和a.3.)至少一种烯化氧;通过组分a.1.)和a.2.)的酯化,和随后借助于组分a.3.)将所产生的羧酸半酯烷氧基化;其中至少烷氧基化使用a.4.)至少一种胺催化剂来进行,在该胺催化剂中一个或多个氮原子是芳族环体系的一部分。本发明还涉及可根据本发明的方法获得的PUR/PIR‑硬质泡沫,以及包含根据本发明的PUR/PIR‑硬质泡沫和至少一个覆盖层的复合元件,所述覆盖层选自混凝土,木材,压板,铝,铜,钢,不锈钢,纸,无纺织物和塑料以及多层复合材料或其组合。本发明还涉及根据本发明的PUR/PIR‑硬质泡沫或根据本发明的复合元件用于隔热的用途。

标签:
复合材料
其他 - 其他 来源:中冶有色网 2023-03-18
具有板簧和至少一个轴承孔保持装置的板簧组件

本发明涉及一种板簧组件,其具有由纤维复合材料制成的板簧和轴承孔保持装置,其中,板簧的端部沿板簧的纵向方向形状锁合地接收在轴承孔保持装置的保持元件中,其中,板簧具有长度和纵向中间面,其中,板簧沿着它的长度垂直于纵向中间面具有横截面,在该横截面中宽度和高度在板簧的端部的整个长度上是恒定的,其中,板簧的端部波纹形地构造,其中,轴承孔保持装置的保持元件具有接收部,该接收部具有适配于端部的波纹形状,其中,板簧的端部具有波纹部,其中,轴承孔保持装置的接收部构造成用于接收板簧的波纹部。所述板簧组件的特征在于,板簧的端部具有两个波纹部,其中,轴承孔保持装置的接收部构造成用于形状锁合地接收板簧的两个波纹部。

标签:
复合材料
其他 - 其他 来源:中冶有色网 2023-03-18
磁性多层片材
磁性多层片材 1097     
 0

本发明描述了多层磁性片材,该多层磁性片材包括由第一电绝缘层隔开的多个堆叠的磁性部件层。该多个磁性部件层中的每个包括多个隔离的磁性子层,该多个隔离的磁性子层具有小于一微米的磁性层厚度。多层磁性片材具有介于约5%和约80%之间的磁分率;大于或等于5微米的总磁厚度;以及大于约20的相对复合材料磁导率。

标签:
复合材料
其他 - 其他 来源:中冶有色网 2023-03-18
模制风轮机叶片的壳部分的方法

本发明涉及模制风轮机叶片的壳部分的方法。该方法涉及将一个或多个紧固元件(63)附连到模制表面上,每个紧固元件(63)包括带有上部面(66)和下部面(68)的支承层(64)、以及从支承层(64)的上部面突出的一个或多个尖部。纤维层然后被连续地放置到模制腔(78)中,使得每个层被锚定到一个或多个所述尖部上。纤维层然后与聚合物材料接触,以产生包括纤维增强复合材料的壳部分。本发明还涉及通过该方法可获得的风轮机叶片的壳部分,并且涉及用于所述方法中的紧固元件。

标签:
复合材料
其他 - 其他 来源:中冶有色网 2023-03-18
用于车辆排气系统的复合隔热屏蔽件

排气部件组件包括由复合材料形成的热屏蔽件以及将热屏蔽件附接至排气部件的外壳体的安装结构。安装结构包括位于外壳体的外表面与热屏蔽件的内表面之间的隔热件。还公开了一种将复合热屏蔽件组装至排气部件组件的外壳体的方法。

标签:
复合材料
其他 - 其他 来源:中冶有色网 2023-03-18
多层高透气口罩
多层高透气口罩 1043     
 0

本发明涉及一种多层高透气口罩,其使多层式口罩获得更佳透气及过滤效果;其主要是:设成过滤材层外面、内面分别具有中层无纺布层及外层布、内层布、在外层布与中层无纺布层间设有气流层,该气流层设成由化学纤维的第一层线、第二层线呈上、下层间隔排列构成,而得以形成上、下层相互连通的纵向通气间隙、横向通气间隙,而且,过滤材层设成由极细纤维直径约为20纳米~50纳米间的聚四氟乙烯、聚丙烯、聚乙烯、聚酯、聚酰胺、聚丙烯腈等单一材料或多个材料所组合的复合材料所构成,因此,通过气流层及过滤材层,而得极佳的过滤、透气效果。

标签:
复合材料
其他 - 其他 来源:中冶有色网 2023-03-18
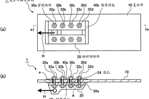
复合件的接头结构
复合件的接头结构 1046     
 0

本发明目的在于提供一种复合件的接头结构,重量轻且成本低,容易制造,能够抵抗大的剪切载荷,在由复合材料形成的复合件的接头结构中(1),具有在所述复合件(10)的至少一面贴附的增厚用板(40a、40b),把紧固部件(30)穿过在所述复合件(10)、所述增厚用板(40a、40b)和与所述复合件接合的相对侧部件(20)形成的通孔(24、26)并固定,由此而把所述复合件(10)和所述相对侧部件(20)紧固。

标签:
复合材料
其他 - 其他 来源:中冶有色网 2023-03-18
用于透明导电薄膜的可UV图案化硬涂层

本发明涉及带有在其上方或下方具有透明导电材料如透明导电氧化物(TCO)、导电聚合物、碳或金属基纳米材料和纳米复合材料的可UV图案化硬涂层(UPHC)的基底、其制备方法和包含所述基底的制品。

标签:
复合材料
其他 - 其他 来源:中冶有色网 2023-03-18
用于涡轮发动机的发动机罩在试验台上的绝缘测试

本发明涉及一种用于诸如双流涡轮机的涡轮发动机的测试发动机罩。在地面上的试验台上测试期间,此处的温度条件可能损坏飞行罩,测试罩允许代替飞行发动机罩。测试罩包括碳纤维环氧树脂复合材料的管状壁,以及上游和下游的金属凸缘。为了提供热保护,测试罩包括具有大部分的聚硅氧烷的硅树脂层。该层覆盖壁的整个内表面,以创建屏障。本发明还涉及一种用于涡轮发动机在试验台进行测量的方法,其中涡轮发动机与测试壳体安装在一起。本发明还涉及硅树脂层的使用,从而使在地面上的试验台上的涡轮发动机的试验罩的内部热绝缘。

标签:
复合材料
其他 - 其他 来源:中冶有色网 2023-03-18
制备加强筋的方法
制备加强筋的方法 1027     
 0

本发明涉及用连续矿物纤维(5,23,35)和至少一种树脂(7,25)构成的纤维复合材料制备加强筋(2)的方法,给至少一部分矿物纤维(5,23)掺入树脂固化剂混合物,然后将掺入了树脂固化剂混合物的矿物纤维(5,23)和任选地不含树脂的矿物纤维(35)合并形成筋条,并且将树脂(7,25)固化。使用至少一种树脂(7,25)和至少两种不同的固化剂构成的混合物作为树脂固化剂混合物,所述的两种固化剂可在不同的条件下形成使得树脂(7,25)固化的反应性物质,使得反应性物质在不同的时刻可供固化使用。

标签:
复合材料
其他 - 其他 来源:中冶有色网 2023-03-18
用作增韧剂的官能化聚合物颗粒

复合材料和含有作为增韧剂的官能化聚合物的颗粒的结构粘合剂。所述颗粒由含有能够与热固性树脂组分反应以形成共价键的化学官能团的官能化聚芳基醚酮(PAEK)聚合物或其共聚物构成。

标签:
复合材料
其他 - 其他 来源:中冶有色网 2023-03-18
制动件调节
制动件调节 888     
 0

将用于车辆(110)的轮承载组件(104)夹持在框架(14)上,并且通过气动地将制动片施加至制动盘从而周期性地加热盘来安置组件的碳复合材料制动盘41,然后将轮承载组件从框架移除并且安装至车辆。

标签:
复合材料
其他 - 其他 来源:中冶有色网 2023-03-18
在FCC单元的腔室的内壁上形成防腐蚀保护层的方法和形成所述保护层的锚固结构

本发明涉及一种在流体催化裂化单元的腔室的金属内壁或外壁(20)上形成防腐蚀保护层的方法,该方法包括:(i)将金属锚固结构(10)形成为蜂窝状,所述锚固结构(10)由多个带(12)两两组装而形成,这通过将这些带的组装部分(121、122)相结合以便在两个相邻带之间形成多个单巢(14)而实现;(ii)通过焊接将所述锚固结构(10)固定在所述金属壁(20)上,使锚固结构(10)的每个单巢(14)至少在两个相邻带(12)的邻接的组装部分(121、122)之间的连接处焊接在腔室的壁(20)上;以及(iii)将复合材料(22)插入到单巢(14)中,从金属壁(20)开始,并至少直到每个带的上纵向边(12b)。

标签:
复合材料
其他 - 其他 来源:中冶有色网 2023-03-18
用于电子应用的聚合物纳米复合物

本发明公开了具有介电常数和耐电晕性同时具有相对于聚合物升高的或基本上保持的能量密度、击穿强度和/或损耗因子的纳米复合材料,其设备和其方法。

标签:
复合材料
其他 - 其他 来源:中冶有色网 2023-03-18
玻璃组合物和由其制备的纤维

本发明的一些实施方式提供了由批料组合物形成的可纤维化的玻璃组合物,所述批料组合物包含一种或多种玻璃质矿物的量,包括珍珠岩和/或浮石。本发明的一些实施方式涉及由这种批料组合物形成的玻璃纤维,且复合材料和其它材料包含这种玻璃纤维。

标签:
复合材料
其他 - 其他 来源:中冶有色网 2023-03-18
用于流体净化的过滤介质

本发明涉及过滤介质、其制造方法、所述过滤介质的用途和借助所述过滤介质同时降低流体中的多种污染物的含量的方法,其中所述过滤介质由下述至少一种构成或包含下述至少一种:含有主要部分的铁基粉末和次要部分的银粉的混合物(A)、铁-银粉末合金(B)和含银的铁基多孔可透复合材料(C)。

标签:
复合材料
其他 - 其他 来源:中冶有色网 2023-03-18
在内燃机中使用的改进的活塞头

通过本发明提供了一种在内燃机中使用的活塞组件。该活塞组件包括活塞主体,该活塞主体具有:延伸的活塞架、活塞面、内腔、和活塞销支撑件。两个挡油密封件;所述挡油密封件围绕所述延伸的活塞架、在远端附近同心地设置,每个挡油密封件具有内凹槽且由聚合物材料形成。两个压缩夹布置在两个挡油密封件的内凹槽内且适于帮助挡油密封件与内燃机的汽缸中的腔的内壁形成接触。活塞主体由工程复合材料形成。

标签:
复合材料
其他 - 其他 来源:中冶有色网 2023-03-18
用于玻璃抛光系统的玻璃固定板

在抛光用于液晶显示器的玻璃的玻璃抛光系统中,一种用于玻璃抛光系统的玻璃固定板能够支撑玻璃的下表面。所述玻璃固体板由一种通过将花岗石颗粒和热固性树脂的混合物模塑并固化而获得的复合材料制得。

标签:
复合材料
其他 - 其他 来源:中冶有色网 2023-03-18
使用激光超声检测系统检测复合结构的系统和方法

本发明涉及使用激光超声检测系统检测复合结构的系统和方法。提供用于检测复合结构的方法和设备。产生具有多个特性的脉冲激光束。多个特性中的每一个都在选择的范围内。朝着由多种复合材料构成的复合结构引导由激光产生系统产生的脉冲激光束。当脉冲激光束接触复合结构时,在复合结构中形成多个超声波,没有引起复合结构中的在选择的公差之外的任何不期望的不相容性。

标签:
复合材料
其他 - 其他 来源:中冶有色网 2023-03-18
不脱棉绒的复合纱布材料

用于伤口包扎的耐用、实质上不脱绒毛、吸水性、可悬垂的复合材料,是用亲水性聚合物涂覆纤维素纤维,后者可以是开稀的织造棉纱布,该聚合物可以是聚氨酯泡沫预聚物,如二异氰酸甲苯酯封端的聚乙二醇,最好含表面活性剂。该聚合物亦可用聚环氧乙烷、羧甲基纤维素、聚乙烯吡咯烷酮。使用聚氨酯时,水对聚合物比率为约6∶1至400∶1

标签:
复合材料
其他 - 其他 来源:中冶有色网 2023-03-18
牙轮钻头
牙轮钻头 1061     
 0

本发明提供一种牙轮钻头,具体地,提供一种能够减少来自井壁的表面压力并能够抑制可能的振动的牙轮钻头。本发明的第一方面提供一种牙轮钻头,包括:具有轴颈部分的钻头主体;能够相对于钻头主体旋转的锥形部分;位于锥形部分和轴颈部分之间的支承部分;以及设置在锥形部分和轴颈部分之间以密封支承部分的密封件,其中,锥形部分包括与井的侧壁接触的修整表面,并且金刚石复合材料优选广泛且平滑地设置在该修整表面上。在本发明的第二方面,环状钻头设置在钻头主体的外周部分。此外,三牙轮钻头的锥形部分不包括与井侧壁接触的修整尖端或表面尖端,仅包括与井底部接触的硬质合金尖端。

标签:
复合材料
其他 - 其他 来源:中冶有色网 2023-03-18
柔性耦合件
柔性耦合件 1077     
 0

由复合材料(纤维增强的塑料)制成的一种环形柔性耦合件,它包括围绕该耦合件在圆周上分离开的偶数个相对较厚的固定部分(10),用来连接到被该耦合件耦合的两个旋转件上,还包括在每两个相邻的固定部分之间在长度方向上伸展的柔性叶片(11),每个叶片包括相对较薄的中心部分(11a)和在中心部分的端部与相对较厚的固定部分之间的厚度逐渐增加的过渡部分(13),把该耦合件的结构做成当作用在叶片端部的固定部分之间的压缩作用力使叶片弯曲时,至少每个在圆周上交替的叶片的中心部分(11a)将总在轴向上(即,在平行于耦合件转动轴线的方向上)在横截着它的长度的相同的预定方向(A)上移动。这样的移动可以通过使中心部分变弯曲,将过渡部分适当地成形或者用刚硬度不同的两层制作中心部分获得。

标签:
复合材料
其他 - 其他 来源:中冶有色网 2023-03-18
高压风扇
高压风扇 1025     
 0

本发明涉及一种高压风扇,它包括有一叶轮(3,4),一围绕该叶轮的风扇壳体(5,6),以及一驱动该叶轮的电动机(1)。为消除有关装配该叶轮的问题,该叶轮(3,4)至少主要由轻型碳纤维基复合材料组成,并直接装配在电动机(1)的转轴(2)上。

标签:
复合材料
其他 - 其他 来源:中冶有色网 2023-03-18
用于制造具有维持的各向同性的成形制品的方法

本发明提供了一种用于制造由包含增强纤维和热塑性树脂的纤维增强复合材料构成的成形制品的方法,并且利用该方法,即使在预浸坯料与模具的装料比低的条件下进行压力模制,也能够获得具有维持至其末端的纤维各向同性的成形制品。具体来说,在特定条件下获得通过用热塑性树脂浸渍增强纤维而获得的具有特定无序毡的形状的预浸坯料。

标签:
复合材料
其他 - 其他 来源:中冶有色网 2023-03-18
软性基板的制作方法以及太阳能电池及其制作方法

本发明提供一种软性基板的制作方法以及太阳能电池及其制作方法,藉抽丝步骤及纺织、轧延或溶剂铸造,将具有光吸收功能的结晶奈米粉末与高分子材料形成的复合材料胶粒,形成布匹状或胶片状的软性基板,在基板表面分别形成背部金属电极及透明电极,再经封装而能制作出太阳能电池,更可预先在基板两表面形成光吸收薄层使光吸收效果连续,藉由加速成核成长而减少制程时间,或能在低温进行制程,并减少与背部金属电极的膨胀系数差异,还能应用习用材料进行封装,而达到制程快速、减少成本的效果。

标签:
复合材料
其他 - 其他 来源:中冶有色网 2023-03-18
设有改进滑动轴承并具有旋转衬套的履带式车辆用履带

描述了履带式车辆用的履带(10),包括根据基本上与履带(10)的中央纵向延伸轴线(B-B)垂直的第一轴线(A-A)取向的、连续排列的铰链式铰接连接件(12、12’)。所述铰接连接件(12、12’)相互连接并且通过相对于所述纵向中央轴线(B-B)横向且对称布置的具有纵向延伸部的链节对(14)而保持恒定的距离。围绕着每个销(36,36’)安装有衬套(40),衬套相对于所述销(36,36’)自身自由地转动,并且在每个销(36,36’)和所述链节(14)之间压配合有至少一个滑动轴承(44)。由复合材料制成并且具有较小厚度的滑动轴承(44)的存在以及所述链节(14)和滑动轴承(44)自身的几何/尺寸特性使之能够改善履带(10)的铰接连接件(12,12’)的可靠性以及耐疲劳和磨损性。

标签:
复合材料
其他 - 其他 来源:中冶有色网 2023-03-18
上一页 503 504 505 506 507 ... 863 下一页
共863页    到第

中冶有色为您提供最新的其他有色金属材料制备及加工技术理论与应用信息,涵盖发明专利、权利要求、说明书、技术领域、背景技术、实用新型内容及具体实施方式等有色技术内容。打造最具专业性的有色金属技术理论与应用平台!

全国热门有色金属设备推荐
展开更多 +
全国热门有色金属技术推荐
展开更多 +

 

江西省隆恩特环保设备有限公司
宣传

报名参会
更多+

报告下载

有色专家
更多+

华东理工大学
主任/教授
矿冶科技集团江苏北矿金属循环利用科技有限公司
书记 / 总经理
广东省科学院资源利用与稀土开发研究所
教授
武汉科技大学
校学术委员会主任 / 教授
重庆大学
副院长/教授
赤泥综合利用研究报告2025
推广

热门技术
更多+

推荐企业
更多+

福建省金龙稀土股份有限公司
宣传

发布

在线客服

公众号

电话

顶部
咨询电话:
010-88793500-807