青岛垚鑫智能科技有限公司
宣传

位置:中冶有色 >

有色技术频道 >

分类:
全部
矿山技术
冶金技术
材料制备及加工技术
环境保护技术
分析检测技术
 
全部
功能材料技术
复合材料技术
新能源材料技术
合金材料技术
加工技术
地区:
全部
北京
天津
上海
重庆
河北
山西
辽宁
吉林
黑龙江
江苏
浙江
安徽
福建
江西
山东
河南
湖北
湖南
广东
海南
四川
贵州
云南
陕西
甘肃
青海
内蒙
广西
西藏
宁夏
新疆
其他
其他
展开
 
全部
其他

其他有色金属材料制备及加工技术理论与应用

免费发布技术信息>>
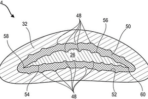
用于制造环形框架的方法

一种用于制造由复合材料制成的环形框架的方法包括以下步骤:‑在包括能够相对于彼此轴向移动且在其之间限定周边槽(11)的至少两个同轴子组件(81,82)的组件之上滑动干燥纤维(9)的至少一个管状壳体,所述槽布置在所述框架的总平面中;‑将管状壳体(9)的部分推入设置在所述两个子组件(81,82)之间的所述槽(11)且缩紧所述两个子组件(81,82),以便将管状壳体(9)的所述部分(90)保持在所述槽(11)中;‑联接在槽(11)外侧的壳体(9)的两个部件(91,92),且将所获联接件(93)折叠到所述两个子组件(81,82)之一上,以获得干燥纤维的预制件(15);通过聚合而固化所述预制件(15)。

标签:
复合材料
其他 - 其他 来源:中冶有色网 2023-03-18
利用原位注入和成像的实体自由成型制造

一种制造设备,包括:平台,该平台用于接收构建材料层,构建材料层用于产生数字模型的三维固体表示;部件,该部件用于沉积构建材料的层;以及成像部件,该成像部件用于将构建材料的各个部分粘合成表示在数字模型中所包含的数据的各部分的横截面。第一成像部件可以是利用专门的折射像素移位机构的可编程平面光源,或者是其他成像系统。该平台包括用于向正在构建的部件提供可光固化树脂的注入系统。物体可以是使用各种粉末材料中的任意粉末材料的粉末复合材料部件或塑料部件。

标签:
复合材料
其他 - 其他 来源:中冶有色网 2023-03-18
火灾前形势信号系统
火灾前形势信号系统 880     
 0

本发明涉及用于控制由于电气设备局部过热导致火灾前形势的方法,并且旨在防止由于电气布线故障,特别是电线装置中的故障引起的火灾。所述系统由连接到记录器的气体传感器,所述气体传感器链接到信号传输系统,以及施加在具有80‑200℃范围内的启动温度的电路易热区的聚合交联复合材料,以及在其中包含能够容易被上述气体传感器检测的低沸点物质。本发明要求保护的方案的技术结果是提高在早期阶段检测到火灾前形势的可能性。

标签:
复合材料
其他 - 其他 来源:中冶有色网 2023-03-18
电沉积铅组合物、生产方法和用途

本发明的主题涉及至少部分地包封电处理溶剂和分子氢以及任选的客体化合物以形成混合基质的高纯度微米结构铅或纳米结构铅的连续电化学生产。这种组合物特别适用于多种结构的冷成型和/或适用于合金和复合材料的生产。

标签:
复合材料
其他 - 其他 来源:中冶有色网 2023-03-18
具有名义晶胞组成M’2M”nXn+1的二维有序双过渡金属碳化物

本公开涉及组合物,其包含至少一层,所述层具有第一表面和第二表面,各层包含:基本上二维的晶胞阵列,每个晶胞具有经验式M’2M”nXn+1,使得每个X位于M’和M”的八面体阵列内;其中M’和M”各自包含不同的IIIB、IVB、VB或VIB族金属;每个X是C、N或其组合;n=1或2,并且其中所述M’原子基本上作为二维外部原子阵列存在于所述二维晶胞阵列内;所述M”原子基本上作为二维内部原子阵列存在于所述二维晶胞阵列内;并且在所述二维晶胞阵列内所述M”原子的二维内部阵列被夹在所述M’原子的二维外部阵列之间。

标签:
复合材料
其他 - 其他 来源:中冶有色网 2023-03-18
低压损过滤膜
低压损过滤膜 1053     
 0

本发明提供一种由复合材料所形成的低压损过滤膜,其特征在于,包括:基材,具有相对的第一表面及第二表面;滤膜,具有相对的第三表面及第四表面;基材的第二表面与滤膜的第三表面间具有多个黏结点用以黏结基材与滤膜;其中,以第二表面或第三表面的总面积为基准,所述黏结点的总面积和介于0.05~0.2%间。

标签:
复合材料
其他 - 其他 来源:中冶有色网 2023-03-18
轴端部安装结构
轴端部安装结构 989     
 0

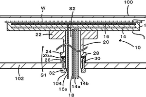
本发明的轴端部安装结构是用于将与载置晶片的陶瓷板(12)一体化了的中空陶瓷轴(20)的端部气密地安装于在腔室(100)的底板(102)上设置的贯通孔(104)周边的结构。在中空陶瓷轴(20)的端面,介由金属层(28)气密地接合有金属材料制或金属‑陶瓷复合材料制的环构件(26)。螺栓(32)在环构件(26)介由金属密封件(30)载置于贯通孔(104)周边的状态下贯通底板(102)和金属密封件(30),将环构件(26)拉向底板(102)并进行紧固。

标签:
复合材料
其他 - 其他 来源:中冶有色网 2023-03-18
三维碳纳米片-氧化锌复合物及其制备方法与应用

本发明提供一种三维碳纳米片‑氧化锌复合物及其制备方法与应用,制备方法包括以下步骤:将高聚物和锌源加入溶剂中进行混合,得到反应液;将得到的反应液的pH值调至8‑12,并搅拌,得到沉淀;将得到的沉淀进行干燥,再置于200‑1200℃下加热碳化,得到三维碳纳米片‑氧化锌复合物。该制备方法可制备得到三维碳纳米片‑氧化锌复合物,该复合物呈现出三维纳米框架及孔洞结构,氧化锌纳米颗粒被封装在这个结构中,缓解了氧化锌在充放电过程中的膨胀效应,且前驱体焙烧后残留的碳材料增加了复合物材料的导电性,获得的复合材料具有优异的充放电性能和很强的循环稳定性。

标签:
复合材料
其他 - 其他 来源:中冶有色网 2023-03-18
借助双域眼用装置的高精确度药物递送

本发明涉及一种纳米复合材料眼用装置,其可在近距离内将药物释放到眼表面并以恒定速率提供所述药物的受控且持续的释放。所述装置可实现光学和医疗两种功能。所述装置包括药物、一个或多个储存域和阻隔层,所述阻隔层配置成阻挡从所述储存域到个体的眼睛中的所述眼表面的药物扩散路径,其中所述药物在所述储存域与所述阻隔层之间分配,且所述储存域中的平衡药物溶解度比所述阻隔层中的平衡药物溶解度高至少五倍。

标签:
复合材料
其他 - 其他 来源:中冶有色网 2023-03-18
层叠基材及其成形体的制造方法

本发明提供难燃性和耐试剂性优良且可采用复杂形状的由纤维强化复合材料构成的成形体的制造方法,以及该制造方法中使用的层叠基材。该层叠基材具有至少1层含有强化纤维片和树脂基质的预浸料层和至少1层含有含氟聚合物的聚合物层。该层叠基材至少存在1个预浸料层与聚合物层接触的界面,该界面处的所述聚合物层的表面存在粘接性官能团。所述成形体的制造方法中,对该层叠基材加热的同时进行成形。

标签:
复合材料
其他 - 其他 来源:中冶有色网 2023-03-18
电化学元件电极用粘结剂组合物、电化学元件电极用浆料组合物、电化学元件用电极以及电化学元件

本发明的目的在于提供一种电化学元件电极用粘结剂组合物,其能够形成使电化学元件发挥优异的高电压循环特性的电极复合材料层。本发明的粘结剂组合物含有共聚物,上述共聚物包含含腈基单体单元、含酸性基单体单元以及含碱性基单体单元,上述共聚物中的上述含腈基单体单元的含有比例为70.0摩尔%以上且99.0摩尔%以下,上述共聚物中的上述含酸性基单体单元和上述含碱性基单体单元的含有比例的合计为0.8摩尔%以上且10.0摩尔%以下。

标签:
复合材料
其他 - 其他 来源:中冶有色网 2023-03-18
结构加强件
结构加强件 1013     
 0

一种用于包括载体(10)的制品的结构加强件,所述载体包括:(i)具有外表面的聚合物材料块(12);(ii)至少一个纤维复合材料插入物(14)或覆盖物(960),具有外表面并包括至少一个细长纤维布置(例如,具有多个有序纤维)。设想所述纤维插入物(14)或覆盖物(960)在预定位置邻接所述聚合物材料块,以承载在所述预定位置上经受的预定负载(从而有效地提供到所述预定位置的局部加强)。所述纤维插入物(14)或覆盖物(960)和所述聚合物材料块(12)是相容的材料、结构或两者,用于使所述纤维插入物或覆盖物至少部分地连接到所述聚合物材料块上。设置在所述载体(10)的至少一部分上的可以是可活化材料块(126)。所述纤维插入物(14)或覆盖物(960)可包括聚合物基质。

标签:
复合材料
其他 - 其他 来源:中冶有色网 2023-03-18
电抗器
电抗器 1111     
 0

本发明提供一种电抗器,将使安装于电抗器的附属部件与组合体一体化。电抗器包括:线圈和磁芯的组合体,该线圈具有卷绕部;以及附属部件,安装于所述组合体。在该电抗器中,所述磁芯中的从所述卷绕部突出的外侧芯部由在树脂中分散有软磁性粉末的复合材料构成,所述附属部件包括埋设于所述外侧芯部的埋设部和突出到所述外侧芯部的外部的功能部。

标签:
复合材料
其他 - 其他 来源:中冶有色网 2023-03-18
一些内孔填充有固体材料的桁架式周期性多孔材料

公开了一种三维桁架式周期性多孔材料,其中,周期性地形成有多个内孔,并且一部分内孔填充有如金属、陶瓷、合成树脂或复合材料之类的固体材料,用于防止当向桁架结构施加外部压缩或剪切载荷时桁架元件屈曲。通过用合适的固体材料仅填充设置在桁架中的一部分内孔,可以最大限度且有效地抑制桁架元件的屈曲,并且即使意外地发生了屈曲,也可防止强度急剧下降,从而确保桁架式周期性多孔材料具有足够的结构稳定性。

标签:
复合材料
其他 - 其他 来源:中冶有色网 2023-03-18
刀锋导杆结构形式的车轮悬挂装置

本发明涉及一种刀锋导杆结构形式的车轮悬挂装置,包括三个基本上沿着车辆横向定向的、导引车轮的导杆以及一个刚性地固定在轮架上的并且其相对车体的横向运动几乎不受限制的纵导杆,该纵导杆优选以纤维复合材料构造且同样刚性地固定于车体上并且由此还在轮架与车体之间承担支承弹簧的功能。除了整合于减震器中的限位弹簧之外在所述纵导杆旁边在轮架与车体之间未设置其他的支承弹簧元件。优选所述纵导杆由两个在一宽阔区域内单独的导杆部分构成,这些导杆部分基本上位于一个共同的竖直平面内,确切地说是以如下方式:纵导杆的第一导杆部分在车轮中心的上方、第二导杆部分在车轮中心的下方固定在轮架上,并且两导杆部分以它们另外的端部在一个共同的紧固元件内会合到一起,必要时微弱弹性地固定于车体上。

标签:
复合材料
其他 - 其他 来源:中冶有色网 2023-03-18
氟化钙组合物
氟化钙组合物 1097     
 0

提供了组合物,其含有包含Ca、F和有机分子的氟化钙复合材料,还提供了它们的使用方法。

标签:
复合材料
其他 - 其他 来源:中冶有色网 2023-03-18
棱柱形和圆柱形切削刀片

本发明公开了一种用于长刃旋转铣削应用的棱柱形和圆柱形切削刀片,所述棱柱形和圆柱形切削刀片具有多个可转位切削刃,所述多个可转位切削刃根据实际铣削应用在四到六或甚至更多个的范围内。棱柱形或圆柱形切削刀片的每个切削刃提供正切削几何形状并且相当于具有两个可转位切削刃的传统单面平行四边形切削刀片(通常称为A式刀片)的可转位切削刃。棱柱形和圆柱形(包括锥形或圆锥形)切削刀片可用于加工大范围的材料,包括难加工材料、铸铁及其合金、铝及其合金、碳钢,以及纤维增强复合材料。

标签:
复合材料
其他 - 其他 来源:中冶有色网 2023-03-18
半导体装置及其制造方法

本发明是有关于一种半导体装置及其制造方法,用以在半导体堆叠中形成无瓦解的多个高深宽比沟槽,使集成电路中的高深宽比沟槽由复合材料制造而成,并伴随着具有笔状蚀刻轮廓的沟槽界线。此制造方法减少了沟槽界线和在制造过程中施予的流体之间的张力,从而避免了图案弯曲、弯成弧状和瓦解。并且该方法更促进了以适合的选择材料填充沟槽。

标签:
复合材料
其他 - 其他 来源:中冶有色网 2023-03-18
冲孔和铆接相结合的方法

本发明涉及一种冲孔和铆接相结合的方法。具体地,提供了一种用于组装至少两个机动车辆复合材料部件(18a、18b;75)的方法。该方法的特征在于以下步骤:叠置待组装的部件;借助于冲头(22)同时对叠置的部件进行打孔;在贯穿部件的孔(35;59)中插入铆钉(26;58);折边镶接铆钉。

标签:
复合材料
其他 - 其他 来源:中冶有色网 2023-03-18
用于矿物、天然有机或合成纤维产品和非织物垫的可固化剪切的或挤出的、交联淀粉纳米颗粒胶乳粘结剂

一种可固化水性粘结剂组合物,所述组合物包括剪切的或挤出的交联淀粉颗粒和交联剂,该组合物用于形成复合材料如矿物、天然有机或合成纤维产物,包括矿物纤维绝热材料、非织物垫、纤维玻璃绝热材料和相关的玻璃纤维产物以及基于木材的产物和建筑材料。在一个应用中,所述可固化水性淀粉粘结剂组合物可与第二非甲醛树脂掺混以制造纤维玻璃绝热材料。在另一个应用中,所述可固化水性淀粉粘结剂组合物可被混入基于甲醛的树脂中以制造纤维玻璃屋顶板。

标签:
复合材料
其他 - 其他 来源:中冶有色网 2023-03-18
用于喷气式运输机和其他类型飞行器的集成的翼端延伸部

一种用于喷气式运输机和其他类型飞行器的集成的翼端延伸部。在此公开了用于有效地增加飞行器机翼面积的方法和系统。根据本发明的一个实施例所布置的集成的翼端延伸部(310)包括渐缩翼段和翼片(304)。所述渐缩翼段(308)包括具有第一弦长(L1)的内侧端部(306)和具有比所述第一弦长(L1)短的第二弦长(L2)的外侧端部(316)。所述翼片(304)固定地连接到所述外侧端部(316)。所述内侧端部(306)布置成固定地连接到机翼(302)的翼端部。在一个实施例中,所述渐缩翼段(308)和所述翼片(304)可由复合材料整体地形成。

标签:
复合材料
其他 - 其他 来源:中冶有色网 2023-03-18
制造挤压加固板的方法及实施装置

为制造包括由条带——条带本身由一个或多个浸有未聚合树脂的纤维的层片形成——形成的表皮(11)和至少一个加强筋(12)的复合材料零件(10),该方法包括以下步骤:通过牵引条带穿过使表皮和加强筋成型及定位的挤压模(20)制造零件(10)的预成型坯(15),其中在接触的第一条带和第二条带穿过挤压模(20)之前将聚合芯引入到接触的第一条带和第二条带之间;和使得到的预成型坯(15)在时间dt期间在加热压机(30)中压制,并在小于板长度的压制长度L上施加压力P和使条带树脂在加热压机中聚合的温度T。

标签:
复合材料
其他 - 其他 来源:中冶有色网 2023-03-18
用于制动器的定制摩擦
用于制动器的定制摩擦 1068     
 0

本发明提供包含摩擦材料的制动器元件。所述摩擦材料包含具有多个纤维的基于聚合物的陶瓷基复合材料。所述多个纤维与制动方向成一角度布置。

标签:
复合材料
其他 - 其他 来源:中冶有色网 2023-03-18
用于空气弹簧滚动气囊的滚动活塞

本发明涉及一种用于空气弹簧滚动气囊(2)的滚动活塞(1)。一种用于空气弹簧滚动气囊(2)的由塑料制成的滚动活塞(1)包括至少两个彼此相连的活塞部分、特别是包括基本上罐形的并且旋转对称的一个下部活塞部分(3)以及形成为以便与该下部部分互补的一个上部活塞部分(4)构成,其中该滚动活塞是由一种涂覆的并且由塑料和弹性体材料(5)的交替层构成的复合材料制成的。

标签:
复合材料
其他 - 其他 来源:中冶有色网 2023-03-18
电绝缘系统
电绝缘系统 673     
 0

本发明公开了一种电绝缘系统。所述系统包括导电材料和电绝缘系统。所述电绝缘系统包括层状绝缘带,所述层状绝缘带具有第一层和第二层。所述第一层包括云母纸和在绝缘带的约5wt%至约12wt%范围内的粘合剂树脂。所述第二层包括分散于聚醚醚酮(PEEK)基体中的层状纳米粒子的复合材料。所述第二层层合所述第一层。本发明还公开了一种方法包括在添加或不添加另外的树脂的情况下附接所述第一层和第二层;使用所述层状绝缘带作为用于导电材料的匝绝缘和接地壁绝缘;以及通过真空压力浸渍法用掺入纳米填料的树脂浸渍所述系统,以在所述系统内形成绝缘系统。

标签:
复合材料
其他 - 其他 来源:中冶有色网 2023-03-18
用于制备可固化、多层纤维增强预浸材料的方法

多层预浸材料通过堆叠单向预浸材料的层形成,其中连续增强纤维在单个方向上对齐。所述单向预浸材料通过用固体热固性树脂浸渍增强纤维的对齐纤维束制备,所述固体热固性树脂在低于其固化温度的温度下软化。所述堆叠的层通过软化并且然后再冷却所述单个预浸材料层的树脂部分而粘结在一起。然后模制并固化所述多层预浸材料以形成复合材料部件。

标签:
复合材料
其他 - 其他 来源:中冶有色网 2023-03-18
深滚压成形
深滚压成形 650     
 0

本发明的名称是深滚压成形。公开了使用深滚压形成曲面结构的方法和系统。方法包括使用深滚压向工件的一个或多个部分引入塑性形变以在工件中形成凸的曲面。工件和随后形成的曲面结构可以是金属或复合材料。例如,公开的深滚压系统和方法形成曲面飞机板,同时还在形成过程期间而不是在后生产表面处理时提供疲劳强度提高和低水平的加工硬化。

标签:
复合材料
其他 - 其他 来源:中冶有色网 2023-03-18
用于轴向涡轮机的压缩机的有插座的叶片和护罩

本发明涉及飞机的轴向涡轮机的压缩机的叶栅结构(34)。该叶栅结构(34)包括壁,诸如有有机基质的复合材料内护罩,其意图径向地界定涡轮机的初级轴向流,并且包括紧固插座(32)。该结构(34)还具有紧固在紧固插座(32)中并且相对于该壁径向延伸的叶片(26),以及在叶片(26)与插座(32)之间的界面处的紧固层(50)。所述界面包括抱住紧固层(50)的凹凸(48),从而确保通过材料接合的锚定,以便将叶片(26)通过粘结紧固在插座(32)中。本发明还提出一种低压压缩机,其具有有粘结到叶片(26)上的插座(32)的内护罩。

标签:
复合材料
其他 - 其他 来源:中冶有色网 2023-03-18
复合结构元件和抗扭箱
复合结构元件和抗扭箱 1094     
 0

本发明涉及复合结构元件和抗扭箱。该复合结构元件特别是翼肋或翼梁,特别地用在诸如垂直尾翼的飞机结构的抗扭箱中,其中结构元件限定具有第一轴线的坐标系,结构元件包括限定具有第一轴线和第二轴线的坐标系的大致平的主要部分,第一轴线沿结构元件的纵向轴线延伸,第二轴线垂直于平的主要部分内的纵向轴线延伸并与第一轴线限定+90°的角度,其中结构元件包含由纤维增强复合材料组成并具有大体单向纤维取向的单层片的铺叠体,并且铺叠体包括至少一对对称布置的第一和第二层片,第一和第二层片在所述铺叠体中被布置为使得,纤维取向的方向对于第一层片为在所述坐标系中以-17°至-23°范围内的角度延伸,对于第二层片为以+37°至+43°范围内的角度延伸。

标签:
复合材料
其他 - 其他 来源:中冶有色网 2023-03-18
轻质开口扳手
轻质开口扳手 917     
 0

本发明提供一种轻质开口扳手,该扳手包括:一金属夹持组件,该金属夹持组件包括一金属操作件,前述金属操作件包括一前侧壁、相反于该前侧壁的一后侧壁,及一作用壁,该前侧壁、后侧壁及作用壁间形成有一开放空间,以及该前侧壁和该后侧壁中的至少一者有一连通至开放空间的固持穿孔,该前侧壁、该后侧壁及该作用壁中的至少一者,在朝向上述开放空间侧面有咬合部;及一射出成形的支持件,包括一至少填满开放空间、并与咬合部吻合、且伸入该固持穿孔的深入结合部,及一与该深入结合部一体成形的握柄部。通过本发明所提供的结构,大幅减低开口扳手的重量,降低操作人员的负担;且延长施力臂缩短抗力臂,使得开口扳手的复合材料介面部分结构较稳固。

标签:
复合材料
其他 - 其他 来源:中冶有色网 2023-03-18
上一页 501 502 503 504 505 ... 863 下一页
共863页    到第

中冶有色为您提供最新的其他有色金属材料制备及加工技术理论与应用信息,涵盖发明专利、权利要求、说明书、技术领域、背景技术、实用新型内容及具体实施方式等有色技术内容。打造最具专业性的有色金属技术理论与应用平台!

全国热门有色金属设备推荐
展开更多 +
全国热门有色金属技术推荐
展开更多 +

 

江西省隆恩特环保设备有限公司
宣传

报名参会
更多+

报告下载

有色专家
更多+

矿冶科技集团有限公司
党委书记 / 董事长
矿冶科技集团有限公司
所长/研究员级高工
湖南有色金属研究院
教授级高工/原总工程师
石家庄铁道大学
团委书记/副教授
中国矿业大学
副院长/教授
赤泥综合利用研究报告2025
推广

热门技术
更多+

推荐企业
更多+

福建省金龙稀土股份有限公司
宣传

发布

在线客服

公众号

电话

顶部
咨询电话:
010-88793500-807