青岛垚鑫智能科技有限公司
宣传

位置:中冶有色 >

有色技术频道 >

分类:
全部
矿山技术
冶金技术
材料制备及加工技术
环境保护技术
分析检测技术
 
全部
功能材料技术
复合材料技术
新能源材料技术
合金材料技术
加工技术
地区:
全部
北京
天津
上海
重庆
河北
山西
辽宁
吉林
黑龙江
江苏
浙江
安徽
福建
江西
山东
河南
湖北
湖南
广东
海南
四川
贵州
云南
陕西
甘肃
青海
内蒙
广西
西藏
宁夏
新疆
其他
其他
展开
 
全部
其他

其他有色金属材料制备及加工技术理论与应用

免费发布技术信息>>
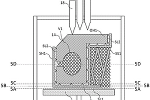
具有枢轴承的护轨
具有枢轴承的护轨 1016     
 0

本发明涉及具有枢轴承的护轨,所述护轨(100)用于车辆中的车轮的车轮悬架,其中所述车轮悬架包括用于支撑车辆的车轮的轮架,所述护轨具有弹性护轨主体(101),由纤维增强复合材料制成,所述护轨主体具有第一护轨末端(103)和第二护轨末端(105),所述第一护轨末端(103)可紧固到所述车辆的结构主体部件(115),所述第一护轨末端(103)构造为不具有轴承;以及枢轴承(125‑1、125‑2),设置在所述第二护轨末端(105)并可旋转地紧固在所述轮架上。

标签:
复合材料
其他 - 其他 来源:中冶有色网 2023-03-18
具有热弯曲材料供给的增材制造

在增材制造中,复合的建造材料丝和脱模材料丝(均是金属/陶瓷粉末加上粘合剂的复合材料)从各自的丝轴投落至打印头。在丝轴上以及整个落差高度上,丝被加热至使所述丝弯曲但不会使所述丝软化至断裂点的温度,例如,被加热但温度低于粘合剂的软化剂(例如,蜡)的玻璃化温度。所述落差高度具有与打印床相似的线性比例。材料被脱粘并被烧结。

标签:
复合材料
其他 - 其他 来源:中冶有色网 2023-03-18
塔中的液体分配器
塔中的液体分配器 1143     
 0

本发明涉及一种塔中的液体分配器,其适合作为内部塔部件,用于在塔内向下流动的液体的限定的分配,包括至少一个底部和多个侧壁,其构成用于液体的容纳和液体的限定的分配的容器,其特征在于底部和至少一个侧壁由彼此连接的面板构成,其中至少一个侧壁的一个面板或多个面板包括纤维复合材料。

标签:
复合材料
其他 - 其他 来源:中冶有色网 2023-03-18
具有石墨芯的炊具
具有石墨芯的炊具 1054     
 0

提供由结合的多层复合材料制成的炊具,其具有至少一个上金属层,其上形成有多个向上突出的、间隔开的凹窝的下金属层,以及布置在该至少一个上金属层和下金属层之间的石墨芯层。石墨芯层具有延伸穿过石墨层的间隔开的多个孔。该多个凹窝延伸穿过多个孔,并且该多个凹窝冶金结合到至少一个上金属层,并且下金属层的外部部分冶金结合到至少一个上金属层。该至少一个上金属层具有结合到铝的子层的不锈钢或钛层。还公开了一种制造结合的多层复合炊具的方法。

标签:
复合材料
其他 - 其他 来源:中冶有色网 2023-03-18
铆钉元件
铆钉元件 1150     
 0

本发明涉及一种用于附接至部件(51),尤其是附接至纤维复合材料部件的铆钉元件(10)。所述铆钉元件具有在安装状态下,与所述部件接触的法兰部段(21)和铆钉部段(11)。所述铆钉部段具有尖端(12a),所述尖端在远离所述法兰部段的方向上汇集于设置在所述尖端的远离所述法兰部段的一端处的扩张端部(12b)。

标签:
复合材料
其他 - 其他 来源:中冶有色网 2023-03-18
生产结构化的膜的方法

本发明涉及形成结构化的膜的方法,结构化的膜本身,包含该结构化的膜的制品,用于连续地形成这种结构化的膜的装置以及包含该结构化的膜的复合材料。

标签:
复合材料
其他 - 其他 来源:中冶有色网 2023-03-18
用于飞机天线航空电子装置的防雷保护

公开了在提供与飞机天线相关联的航空电子部件的防雷保护中有用的组件、设备、装置和方法。本公开的方面可在飞机上使用,所述飞机包括由具有相对较低的导电性的复合材料制成的结构元件。所公开的示例性组件包括:天线,其固定到所述飞机的结构元件并且被配置来在所述飞机外部接收无线信号和/或发射无线信号;通信单元,其可操作地连接到所述天线以用于所述天线与所述通信单元之间的信号传输;以及隔离变压器,其电气地设置在所述天线与所述通信单元之间,其中所述天线与所述通信单元之间的信号传输通过所述隔离变压器进行。

标签:
复合材料
其他 - 其他 来源:中冶有色网 2023-03-18
模塑材料以及形成其的方法

本发明涉及分离包括多个彼此接触的元件的复合材料叠层的方法。每个元件包含增强纤维和未固化树脂基质,所述方法包括以下步骤:温度处理所述叠层和/或向所述叠层施加应力,从而分离所述元件。

标签:
复合材料
其他 - 其他 来源:中冶有色网 2023-03-18
生产具有内金属衬套的高抗性复合器皿的改进方法和通过所述方法制成的器皿

用于生产高抗性罐的方法,包括初始阶段,在初始阶段中形成封闭金属器皿,接着是第二阶段,在第二阶段中所述器皿的壁在轴向和径向方向上均经受机械预加拉力处理直到预定值。此机械处理包括其中罐被封闭在具有合适地较大的尺寸的模具内部的阶段。然后将液体引入罐,并且此液体被加压直到罐的壁膨胀并伸展至它们与模具的内表面交会的点处。随后,将罐的外部涂敷以一层或多层复合材料,以完成罐的构建,对罐执行最终的自紧处理。待使用的钢的类型为AISI 304,优选地为其更加可焊的AISI 304L形式。

标签:
复合材料
其他 - 其他 来源:中冶有色网 2023-03-18
剥离的碳纳米管、其制备方法及由此获得的产品

本发明涉及剥离的碳纳米管、其制备方法及由此获得的产品。在各实施方案中,本公开描述了剥离的碳纳米管。即便当不被分散在介质如聚合物或液体溶液中时,所述碳纳米管也保持其剥离状态。制备剥离的碳纳米管的方法包括将碳纳米管悬浮在含纳米晶体材料的溶液中、从溶液沉淀剥离的碳纳米管和分离剥离的碳纳米管。纳米晶体材料也可包括纳米棒、羟基磷灰石和各种羟基磷灰石衍生物。聚合物复合材料通过混合剥离的碳纳米管与聚合物材料制备。在混合在聚合物材料中后,碳纳米管保持其剥离状态。

标签:
复合材料
其他 - 其他 来源:中冶有色网 2023-03-18
具有两个辊的双向纤维施加头

本发明涉及一种纤维施加头和用于借助对应的头来制造复合材料的部件的方法。所述头包括两个施料辊,所述两个施料辊包含第一辊(2)和第二辊(2’),每一个辊均相对于主引导系统(3)可动地安装在至少活动位置与非活动位置之间,在所述活动位置中,带能够由主引导系统引导在所述辊上,在所述非活动位置中,所述辊远离主引导系统。所述头包括致动系统,所述致动系统能够使第一辊运动到活动位置并使第二辊运动到非活动位置以借助第一辊来施加带,并且能够使第一辊运动到非活动位置并使第二辊运动到活动位置以借助第二辊来施加带。

标签:
复合材料
其他 - 其他 来源:中冶有色网 2023-03-18
抗微生物剂的组合物和制剂、它们的方法以及用于治疗微生物感染的方法

本公开提供包含抗微生物剂和赋形剂的组合物,其中所述组合物不含具有多于10个碳的脂肪酸或其酯。本公开还提供包含抗微生物剂和赋形剂的组合物,其中所述组合物具有至少一种碳链少于C11的脂肪酸/酯,且其中所述组合物不含具有多于10个碳的脂肪酸或其酯。在本公开的一个实施方式中,所述组合物为一种纳米复合材料,其中至少一种组分的粒度在纳米级范围内。此外,本公开还涉及以如下方式配制所述组合物,其中制剂的粒度或小球尺寸在纳米级范围内。本公开还提供了用于获得所述组合物或制剂的方法以及通过使用本公开的组合物或制剂治疗微生物感染的方法。

标签:
复合材料
其他 - 其他 来源:中冶有色网 2023-03-18
固体碳源、生物反应器及以该固体碳源处理废水的方法

一种固体碳源、具有该固体碳源的生物反应器及以该固体碳源处理废水的方法,该固体碳源,包括:多个具有至少一转折部的条状单元,各该条状单元藉该转折部构成限位区,且任一该条状单元的限位区中配置有至少另一该条状单元,而使该多条状单元整合而成一骨架结构;以及多个间隙,其形成于任二该条状单元之间,以供气体或液体通过,其中,形成各该条状单元的材质为密度大于0.9g/cm3的复合材料。

标签:
复合材料
其他 - 其他 来源:中冶有色网 2023-03-18
用于抗扭盒的复合式翼肋及其制造方法

本发明涉及用于飞行器抗扭盒的结构的翼肋的构型和制造过程。在方法中,复合材料的平坦层堆被叠置,其随后被切割以形成具有外轮廓和内轮廓的平坦预制件,其中,外轮廓构造凸缘,内轮廓构造两个或更多个斜桁架以及位于相对两侧处的凸缘。平坦预制件被按压成形以折叠外轮廓的凸缘和内轮廓的凸缘进而形成翼肋预制件,该翼肋预制件最终被固化。本发明还涉及一种通过使层堆的单个预制件成型、作为整体式本体而获得的复合式翼肋。本发明允许以整合其所有部件的一步法制造翼肋,使得翼肋的组装时间和成本被降至最低。

标签:
复合材料
其他 - 其他 来源:中冶有色网 2023-03-18
具有非线性电阻率的氧化石墨烯聚合物

本发明一般地涉及场分级材料,和更特别地涉及含氧化石墨烯,还原的氧化石墨烯,或二者的场分级材料,它们显示出非线性在电驴。在一个实施方案中,本发明提供一种复合材料,它包括聚合物材料;和在该聚合物材料内部分布的还原的氧化石墨烯。

标签:
复合材料
其他 - 其他 来源:中冶有色网 2023-03-18
研磨布制造方法
研磨布制造方法 1135     
 0

一种研磨布制造方法,以溶剂、树脂及研磨材料搅拌混合后形成一研磨复合材料,经押出机持续押出条状研磨条后,在还未凝固前不规则往复铺设于一特定容器内,以形成一适当厚度的研磨布,再透过一平压装置将该具厚度研磨布予以压平至所需厚度的研磨布,而后依据所需面积大小裁切,以制成研磨布;因此,使用不同种类的研磨材料熔入树脂内结合为一体,且透过条状研磨条间的结合空隙,达到通风效果,以避免细菌滋生,并提供工业或家庭用的研磨布,皆能借本发明而轻易获得所需研磨布,以提升研磨布的使用寿命。

标签:
复合材料
其他 - 其他 来源:中冶有色网 2023-03-18
PMI泡沫材料的新成型方法和/或由其制备的复合组件

本发明涉及例如适合用于制备具有由硬质泡沫材料组成的芯的复合材料的新方法。本发明在这里具有的优点是泡沫材料和覆盖层的塑料都可自由地选择。更具体地说,采用本发明方法还可以加工其加工温度明显不同于芯材料的那些的覆盖层。本发明进一步涉及一种方法,采用该方法,在第二种实施方案中,可以将整合泡沫结构部分地压实。采用第三种实施方案,可以由至少两个泡沫材料的工件通过焊接而制备具有特别高价值的接头的中空制品。在此,这可以在有或者没有覆盖层的情况下进行。另外,采用本发明的方法特别好地可通过真空成型方法加工泡沫材料。

标签:
复合材料
其他 - 其他 来源:中冶有色网 2023-03-18
透镜阵列片
透镜阵列片 933     
 0

本发明的透镜阵列片包括:玻璃制基体;以及形成在玻璃制基体上的树脂制透镜阵列层,树脂制透镜阵列层由在基质树脂中添加有纳米粒子的复合材料构成。

标签:
复合材料
其他 - 其他 来源:中冶有色网 2023-03-18
新颖结构的电池单元
新颖结构的电池单元 949     
 0

本发明涉及一种电池单元,在该电池单元中,在被连接到从电池壳体的外部突出的电极端子的状态下,包括树脂层和金属层的层压片的电池壳体容纳阳极/分隔物/阴极结构的电极组件。在电池组件中:分隔物介于分别被涂覆有包括在集电器中的电极活性材料的复合材料的阳极和阴极之间;电池壳体的与电极组件的外周表面相对应的内表面的至少一部分被形成为在垂直横截面中宽度随着向上而增加的向上倾斜的结构或者该宽度随着向下而增加的向下倾斜的结构;并且电极组件的外周表面也构成与电池壳体的内表面相对应的向上倾斜的结构或者向下倾斜的结构。

标签:
复合材料
其他 - 其他 来源:中冶有色网 2023-03-18
粘合性添加剂
粘合性添加剂 1098     
 0

一种基于木质纤维素的复合材料组合物,其包含粘合剂和增加组合物粘性的水溶性聚合物。

标签:
复合材料
其他 - 其他 来源:中冶有色网 2023-03-18
大孔离子交换树脂
大孔离子交换树脂 752     
 0

本发明涉及离子交换树脂,其为亲水的交联(甲基) 丙烯酸共聚物。所述离子交换树脂为大孔的,表面积至少 50m2/g,平均粒度至少20微米。 另外,本发明还记载含有所述离子交换树脂的色谱柱,含有所 述离子交换树脂的复合材料,含有所述离子交换树脂的过滤元 件,制备所述离子交换树脂的方法,和用所述离子交换树脂分 离或净化带负电荷或正电荷的材料的方法。

标签:
复合材料
其他 - 其他 来源:中冶有色网 2023-03-18
用有机聚硅氧烷处理的填料、颜料和矿物粉末

本发明公开了用硅化合物进行表面处理的填料、颜料或矿物粉末。 所述硅化合物是具有至少一个式-SiR”(OR’)2或-Si(OR’)3的末端基团的 聚二有机硅氧烷,其中R”表示烷基、取代的烷基、烯基或芳基,每个R’ 表示具有1-4个碳原子的烷基。所述处理过的填料、颜料或矿物粉末是 疏水性的,并且被用于复合材料或工业方法中。

标签:
复合材料
其他 - 其他 来源:中冶有色网 2023-03-18
用于聚合物电解质膜燃料电池的复合隔板及其制造方法

本发明提供一种聚合物电解质膜燃料电池(PEMFC)的复合隔板及其制造方法。该创造性方法包括当石墨箔被堆叠在碳纤维强化复合材料预浸料的两侧时,使石墨箔层彼此直接接触,因而提高隔板沿厚度方向的导电性能。

标签:
复合材料
其他 - 其他 来源:中冶有色网 2023-03-18
复合结构刮刀片
复合结构刮刀片 803     
 0

本发明提供一种复合结构刮刀片(10),该复合结构刮刀片适用于造纸,特别适用于压光机。复合结构刮刀片包括多层复合材料(32),其中大部分纤维排在与刮刀片长轴大致平行的方向。

标签:
复合材料
其他 - 其他 来源:中冶有色网 2023-03-18
减速器、制造该减速器的方法和装置及具有该减速器的电动操纵装置

本发明提供了一种减速器,这种减速器包括蜗轮以及与该蜗轮相啮合的蜗杆,蜗轮至少具有由聚合物复合材料制成的齿表层,并且其中蜗杆的齿面受到利用高频淬火进行的热处理。

标签:
复合材料
其他 - 其他 来源:中冶有色网 2023-03-18
用于改进废金属工业中的分离材料的品质的方法

本发明提出用于从材料流粉碎和分类可回收材料的废金属加工方法,所述材料流包含铁质部分、非铁质部分、废料部分和包含复合材料的弱铁质部分。所述方法包括首先用第一粉碎机将所述材料流粉碎至能够进行下游加工的尺寸。然后将所述经粉碎的材料流传送至至少一个鼓式分离器从而从所述材料流除去所述非铁质部分,然后传送至第一传送机分离器从而从所述材料流进一步分离所述铁质部分。在完成这些步骤时,待通过下游加工处理的剩余材料流体现为原始材料流的10%至40%,相比于现有技术中的材料流的70%至75%。

标签:
复合材料
其他 - 其他 来源:中冶有色网 2023-03-18
碳纤维的制造方法
碳纤维的制造方法 1018     
 0

本发明涉及碳纤维的制造方法,其包括使负载型催化剂与含碳原子化合物在加热区内接触的步骤,该负载型催化剂通过在特定晶面发展的粉末状载体中含浸含催化剂的胶体,从而使粉末状载体负载催化剂颗粒的方法而得到,该粉末状载体是X射线衍射观测到的最强峰的强度I1和次强峰的强度I2的比(I1/I2)为4以上的粉末状载体、最强峰的强度I1和次强峰的强度I2的比(I1/I2)为JCPD?S记载的最强峰的强度I1s和次强峰的强度I2s的比(I1s/I2s)的1.5倍以上的粉末状载体等。将该方法得到的碳纤维配合到树脂等中得到复合材料。

标签:
复合材料
其他 - 其他 来源:中冶有色网 2023-03-18
用于调节空气动力学几何形状的模具的底板变形的装置及使用该装置的模制方法

本发明涉及一种用于调节空气动力学几何形状的模具的底板变形的装置及使用该装置的模制方法。本发明描述了一种调节装置,其适用于由复合材料制成的空气动力学形状的模具底板,用于抵消所述模具底板中出现的偏差。所述装置包括支撑在所述模具底板(10)的表面上的一些增强筋(20),并且配备有调节器(21),其修改所述模具底板(10)的曲率。

标签:
复合材料
其他 - 其他 来源:中冶有色网 2023-03-18
碳纳米管的水蒸气辅助臭氧分解

本发明涉及由水蒸气辅助的碳纳米管臭氧分解的改进方法。所述改进的方法提供了以含氧部分使碳纳米管官能化以进行进一步的化学官能化及复合材料分散的环保、低成本、实用且高效的方法。

标签:
复合材料
其他 - 其他 来源:中冶有色网 2023-03-18
用于制造汽车混合构件的方法和汽车混合构件

本发明涉及一种用于制造汽车混合构件(1)的方法以及一种根据本发明制造的汽车混合构件(1),其特征在于,基体由金属材料制成并且借助由纤维复合材料制成的加强补片(8)加强。附加地,加强补片(8)具有金属层(10),其在自身比重大致保持不变的情况下增强构件强度。

标签:
复合材料
其他 - 其他 来源:中冶有色网 2023-03-18
上一页 499 500 501 502 503 ... 863 下一页
共863页    到第

中冶有色为您提供最新的其他有色金属材料制备及加工技术理论与应用信息,涵盖发明专利、权利要求、说明书、技术领域、背景技术、实用新型内容及具体实施方式等有色技术内容。打造最具专业性的有色金属技术理论与应用平台!

全国热门有色金属设备推荐
展开更多 +
全国热门有色金属技术推荐
展开更多 +

 

江西省隆恩特环保设备有限公司
宣传

报名参会
更多+

报告下载

有色专家
更多+

矿冶科技集团
副所长/研究员
中国矿业大学
副院长/教授
中铝检测科技(郑州)有限公司/国家轻金属质量检验检测中心
正高级工程师
中铝郑州有色金属研究院有限公司
正高级工程师/总经理
宜宾天原集团股份有限公司
总裁
赤泥综合利用研究报告2025
推广

热门技术
更多+

推荐企业
更多+

福建省金龙稀土股份有限公司
宣传

发布

在线客服

公众号

电话

顶部
咨询电话:
010-88793500-807