青岛垚鑫智能科技有限公司
宣传

位置:中冶有色 >

有色技术频道 >

> 废水处理技术

分类:
全部
矿山技术
冶金技术
材料制备及加工技术
环境保护技术
分析检测技术
 
全部
废水处理技术
大气治理技术
固/危废处置技术
土壤修复技术
地区:
全部
北京
天津
上海
重庆
河北
山西
辽宁
吉林
黑龙江
江苏
浙江
安徽
福建
江西
山东
河南
湖北
湖南
广东
海南
四川
贵州
云南
陕西
甘肃
青海
内蒙
广西
西藏
宁夏
新疆
其他
其他
展开
 
全部
南京
无锡
徐州
常州
苏州
南通
连云港
淮安
盐城
扬州
镇江
泰州
宿迁

江苏有色金属废水处理技术理论与应用

免费发布技术信息>>
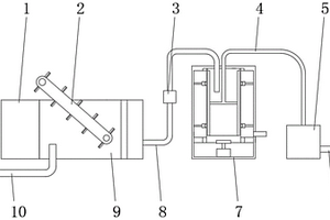
钢铁厂工业废水高效澄清器

本实用新型设计澄清器技术领域,具体为一种钢铁厂工业废水高效澄清器,包括装置本体、排水装置和驱动电机,所述装置本体底部的两侧均设有支撑脚,所述装置本体的底部设有排水装置,所述排水装置的底部开设有排水口,所述装置本体内部的顶部开设有入水口,所述入水口的内部设有安装架,所述安装架的顶部设有驱动电机,所述装置本体的内部设有旋转轴,所述旋转轴的四周设有若干个搅拌棍,所述搅拌棍的内部开设有一个空腔,所述空腔的内部设有吸附材料,所述搅拌棍外侧和背侧的外表面上均设有过滤网,本装置结构简单,使用方便且实用性较高。

标签:
废水处理
江苏 - 镇江 来源:中冶有色网 2023-03-19
高浓度工业有机废水处理装置及其使用方法

本发明公开了一种高浓度工业有机废水处理装置,包括主机体,主机体内设有搅拌腔,搅拌腔内顶壁内相连通设有第一空腔,第一空腔右侧的主机体内相连通设有向右侧延伸设置的第二空腔,第一空腔内部靠近第一空腔一侧固设有过滤板,第一空腔内过渡配合连接有螺旋叶,搅拌腔下侧的主机体内设有第一传动腔,搅拌腔左侧的主机体内设有上下延伸设置的第二传动腔,第二传动腔顶部延伸段位于第一空腔的左侧相对位置,第二传动腔底部延伸段位于第一传动腔的左侧相对位置,第一传动腔下侧的主机体内设有第一滑腔,第一滑腔内滑动配合连接有第一滑块,第一滑块左侧的第一滑腔内顶压配合连接有顶压弹簧。

标签:
废水处理
江苏 - 苏州 来源:中冶有色网 2023-03-19
工业废水处理用磷酸氢二钠回收装置及其回收方法

本发明公开了一种工业废水处理用磷酸氢二钠回收装置及其使用方法,包括一级外冷器、一级结晶器、二级外冷器、二级结晶器、离心机和母液罐;一级外冷器的顶部和底部均设有管道与一级结晶器和母液罐连接;一级外冷器与一级结晶器之间的管道上设有一级结晶循环泵,一级外冷器与母液罐之间的管道为单程管道,且该单程管道上设有母液泵;一级结晶器与二级结晶器之间通过管道连接,且一级结晶器、二级结晶器均通过管道与离心机连接,二级结晶器的顶部通过管道与母液罐连接;二级外冷器一侧的腔室内设有冷冻液上液管道和冷冻液回液管道,二级外冷器与二级结晶器之间通过管道连接,本发明能够降低整个装置的能耗,并避免循环泵的叶轮与晶体接触成核。

标签:
废水处理
江苏 - 徐州 来源:中冶有色网 2023-03-19
工业废水处理除淤泥设备

本发明公开了一种工业废水处理除淤泥设备,其结构包括:抽淤机体、加药装置、出水管、消毒池、沉淀池、进水管,进水管安装于沉淀池左侧且与沉淀池扣接,沉淀池上方嵌入有抽淤机体,使设备使用时,通过设有的机构,使本发明能够实现避免沉淀池底部的淤泥容易因为时间长久而产生硬化,在进行抽淤泥的时候,抽淤管头部较不容易将其底部的淤泥进行抽出,容易产生出口堵塞的问题,使设备在导电管与转机组的配合下,能够针对抽淤端头处的淤泥进行搅动配合,缓冲底架起到限位分隔的保护作用,特有搅拌盘装置使其不易结成大块堵住出口,使得抽淤泥进程更加方便快捷。

标签:
废水处理
江苏 - 无锡 来源:中冶有色网 2023-03-19
工业废水用固液多重分离设备

本发明公开了一种工业废水用固液多重分离设备,包括废料箱、分离罐和过滤池,所述过滤池一侧安装有废料箱,所述过滤池背离废料箱一侧靠近底端位置处通过循环管连接有分离罐,所述循环管中间位置处安装有循环泵,所述分离罐顶端中间位置处通过吸污主管连接有吸污泵,所述吸污泵背离分离罐一侧靠近底端位置处安装有排污管,所述过滤池内部靠近循环管一侧位置处安装有过滤网,所述过滤池底端背离过滤网一侧中间位置处安装有进水管。本发明解决了现有装置多采用单道分离工艺实现固液分离,分离管道极易堵塞,影响分离效果,且无法及时清理固态废物,易堵塞过滤网,影响分离效率的问题,提高了本发明的分离效果。

标签:
废水处理
江苏 - 南京 来源:中冶有色网 2023-03-19
臭氧或双氧水深度处理工业废水用催化剂的制备方法

本发明提供了一种臭氧或双氧水深度处理工业废水用催化剂的制备方法,属于催化剂制备技术领域。本发明的催化剂以改性木质活性炭为载体,以铁、锰、铜、镍、铈为活性组分,将上述活性组分以盐溶液形态浸渍在木质活性炭载体上并渗透载体孔隙内,浸渍平衡后经高温烧结制成催化剂,其活性组分以具有活性的过渡金属及其氧化物为主,高活性组分配比合理,负载强度高,且具有耐磨强度高、耐压强度高、比表面积大及长时间使用不板结等优点。

标签:
废水处理
江苏 - 扬州 来源:中冶有色网 2023-03-19
工业废水中无机盐的资源化处理方法及装置

本发明提供了一种工业废水中无机盐的资源化处理方法及装置,包括一级沉淀池,连接原水进口,用于析出原水里的胶体硅,经过初次过滤后回收析出的二氧化硅;一级低温蒸发浓缩装置,与一级沉淀池连接,将原水内的可溶硅浓缩至过饱和后析出;二级低温蒸发浓缩装置,与一级低温蒸发浓缩装置连接,将原液中的二氧化硅继续浓缩至过饱和析出;浓缩液排放装置,与二级低温蒸发浓缩装置连接,将已浓缩到位的浓缩液排放,本发明采用低温蒸发结晶工艺,可以防止设备结垢;改传统化学除硅工艺为全程物理除硅工艺,降低加药成本,提高二氧化硅回收的浓度,且缩短工艺流程,投资额少,资源化程度大,不产生二次污染物,析出的二氧化硅可完全回用于生产线。

标签:
废水处理
江苏 - 苏州 来源:中冶有色网 2023-03-19
去除工业废水中铜离子的吸附材料制备方法

本发明涉及一种去除工业废水中铜离子的吸附材料制备方法,属于污水处理领域。挑选无腐烂核桃,去瓤留壳,放入10L密闭容器中,加入去离子水,以去离子水全部浸泡核桃壳为宜,再加入氯化铵,同时加热水温,添加硫代硫酸钠,密封,保温;煮沸60分钟,除去残余的核桃壳及果皮,105℃下烘干后破碎过0.5mm筛;在超声波作用下洗涤,去除残留物质,放入氯化锌溶液中浸泡后在温度为105℃下烘干;通入氮气,继续升温至900℃下碳化;捣碎,过筛,得到吸附颗粒。本发明通过添加硫代硫酸钠对其改性,改变其表面吸附性能,增强了核桃壳的吸附能力,成本低廉,方法新颖且吸附率高达95%以上。

标签:
废水处理
江苏 - 常州 来源:中冶有色网 2023-03-19
去除工业废水中锌的吸附材料制备方法

本发明涉及一种去除工业废水中锌的吸附材料制备方法,属于污水处理领域。取花生壳粉碎,用水浸泡,加入少量硫代硫酸钠,使水体中溶解氧维持在0.3~0.5mg/L,处于兼氧状态;不断加入甘油和乙酸溶液,产生产氢产甲烷细菌,改变其表面性能;保持上述兼氧状态一定天数后,取出近似淤化的花生壳粉末,在氮气保护,高温条件下炭化,配用;取出近似糊状的花生壳粉末,以稀盐酸或热水洗涤,再用蒸馏水洗涤至pH值至弱酸性,一定温度下烘干;研磨,用200目筛筛分,即可得到花生壳活性炭吸附剂。本发明工艺简单,操作方便,原料利用率高。且能最大程度地实现花生壳的再次利用,改善我国花生壳资源严重浪费的现状,并产生经济效益。

标签:
废水处理
江苏 - 常州 来源:中冶有色网 2023-03-19
皮革工业废水的处理方法

本发明公开了一种皮革工业废水的处理方法,依次包括下列步骤:过滤、均化、气浮刮渣、加酸与絮凝剂沉淀、氧化、水解酸化、沉淀、过滤,即可排放。本发明通过采用中空纤维膜组件代替传统工艺中的二沉池,减少处理系统占地面积;同时还解决了传统悬浮活性污泥工艺存在的污泥膨胀问题,出水水质稳定可靠;操作过程也相对简便。

标签:
废水处理
江苏 - 常州 来源:中冶有色网 2023-03-19
钢铁工业废水中铁回收装置及方法

本发明提出了一种钢铁工业废水中铁回收装置及方法,包括回收装置壳体,回收装置壳体中水平的设有第一隔板,第一隔板上部为回收腔、第一隔板下部为进水腔,进水腔的上部设有进水口,进水腔的下部设有出水口,出水口上设有第一滤网;回收装置壳体中至少设有一个回收组件;回收组件包括上同步带轮、下同步带轮、同步带和回收机构,本发明操作简单,大幅提高了回收效率。

标签:
废水处理
江苏 - 镇江 来源:中冶有色网 2023-03-19
基于臭氧技术的工业废水深度处理回用装置及其工艺

本发明公开了一种基于臭氧技术的工业废水深度处理回用装置及其工艺,装置包括装置壳体,其顶盖上设有排气口,装置壳体侧壁上端设有排水口、回水口,装置壳体侧壁下端设有进水口,装置壳体内下部设有臭氧布气组件,装置壳体内上部设有填料装载仓,臭氧布气组件由第一布气件与第二布气件上下插接构成,第一布气件包括第一布气圆盘以及若干组设置在第一布气圆盘上的转动气筒,第二布气件包括第二布气圆盘以及若干组设置在第二布气圆盘上的固定套筒,转动气筒与固定套筒一一对应设置且转动密封连接。本发明通过臭氧布气组件实现两种排气孔的切换,从而调整臭氧布气组件的布气效果,并且可以防止排气孔出现堵塞等情况。

标签:
废水处理
江苏 - 南京 来源:中冶有色网 2023-03-19
不易堵塞的工业废水过滤装置

本实用新型涉及一种不易堵塞的工业废水过滤装置,包括过滤筒体,过滤筒体内固设有过滤网,过滤网上设有若干网眼,网眼的横截面为圆形,过滤网下方设有活动网板,活动网板上顶板焊接有若干穿过网眼的穿杆,穿杆直径小于网眼直径;穿杆一端和活动网板连接,另一端连接有限位杆;限位杆的长度大于网眼直径;活动网板下底板焊接有若干连接杆,连接杆底部连接有浮球;过滤筒体上部侧壁设有进水口,进水口位于过滤网上方,过滤筒体近底部处设有出水口,过滤筒体侧壁设有排渣口,排渣口位于过滤网上方。本实用新型中的过滤网由于穿杆在网眼中的上下移动避免了过滤网的堵塞。

标签:
废水处理
江苏 - 无锡 来源:中冶有色网 2023-03-19
工业废水镍金属去除设备

本实用新型属于污水处理技术领域,尤其为一种工业废水镍金属去除设备,包括底板,底板的顶部设置有反应池,反应池的顶部设置有盖板,且反应池的顶端两侧焊接固定有固定块,盖板的顶部两端分别设置有进水管和加药管,盖板的顶部固定连接有位于进水管和加药管之间的基座,基座的顶部固定连接有基块,基块的顶部开设有凹槽。本实用新型,通过设置的电机,带动转动轴转动,转动轴带动连接杆和旋转搅拌叶转动,提高沉淀剂与水的溶解速率,有利于减少人力的投入,提高工作效率,通过设置的挡板和轴杆,可以让挡板沿着轴杆转动,从而控制加药管和进水管的打开与关闭,有利于提高沉淀剂的投放便捷性。

标签:
废水处理
江苏 - 南通 来源:中冶有色网 2023-03-19
工业废水处理用除臭剂灌装装置

本实用新型公开了工业废水处理用除臭剂灌装装置,具体涉及灌装机领域,包括装置主体,所述装置主体的内表面固定连接有输送带,所述输送带的上方设置有灌装管,所述输送带的上表面活动连接有放置盒,所述放置盒内表面的底端固定连接有固定环,所述固定环的上表面固定连接有弹性连接条,所述弹性连接条的一端固定连接有限位块,所述弹性连接条的外表面活动连接有活动环,所述活动环的内表面固定连接有第一复位弹簧;通过将活动环和固定环拉开,增加对填充瓶体的固定高度,保持填充瓶的稳定放置,同时在灌装完毕后可以反向操作将装满的填充瓶取下,另在放置盒的作用下,提供一个灌装组合用框,提升灌装过程中的操作性。

标签:
废水处理
江苏 - 南通 来源:中冶有色网 2023-03-19
钢铁厂工业废水承压一体化浊环水净化装置

本实用新型公开了一种钢铁厂工业废水承压一体化浊环水净化装置,斜管填料的轴向方向的中心设有集水管,集水管顶部设有集水组件,所述集水组件包括盖在集水管顶部的集水盖和以集水盖为中心点呈放射状布置的支管,集水盖顶部和集水管顶部存在间距,支管和集水盖内部连通,集水盖顶部设有转轴,转轴由电机驱动,集水盖外径略大于集水管外径,支管上设有若干集水孔;二号锥形斗处设有穿过二号锥形斗底部的连通管将絮凝反应室和旋流沉淀室连通,连通管内设有上下两网板,上下两网板之间区域为药剂混合区,药剂混合区内设有若干多面空心球。本实用新型中斜管填料处的布水和收水均较为均匀,斜管填料的利用率均匀,不易形成死水。

标签:
废水处理
江苏 - 无锡 来源:中冶有色网 2023-03-19
工业废水排放处理用除油器装置

本实用新型公开了一种工业废水排放处理用除油器装置,包括排油管、底座、导向机构和支撑机构,所述底座上固定有罐体,该罐体的内部设置有聚结填料,所述罐体的顶部对称设置有和罐体内部连通的集油包,所述排油管上设置有和集油包固定的连接座,所述导向机构包括导块、凸起、导槽、立块和放置槽,所述集油包的表面开设有导槽,该导槽的内底部固定有立块,且立块的顶部固定有对称分布的凸起,连接座的底部设置有可置于导槽内的导块;本实用新型的有益效果是:通过设计的导向机构,增加了连接座和集油包连接的导向,使得连接座和集油包通过螺栓固定更快捷;通过设计的支撑机构,有助于起到对排油管的支撑,解决了传统中的排油管支撑不足的问题。

标签:
废水处理
江苏 - 无锡 来源:中冶有色网 2023-03-19
工业废水净化用污水监测装置

本实用新型提出一种工业废水净化用污水监测装置,包括底座,所述底座一侧的顶部固定安装有第一直线电机,所述第一直线电机远离底座的一侧固定连接有滑动座,所述滑动座顶面水平中心处固定安装有电动转盘,所述电动转盘远离滑动座的一侧固定连接有立杆,所述立杆与底座垂直,所述立杆远离电动转盘的一端固定连接有横杆,所述立杆顶部固定安装有推拉油缸,所述横杆底部设置有导向板,所述推拉油缸远离立杆的一端与导向板固定相接。本实用新型在使用时,大大节省了人力和时间,提高了检测效率,可对汲水探头进行横向、纵向及竖直方向上的调节,便于技术人员根据需要自主调节水源检测位置,提高了适用性。

标签:
废水处理
江苏 - 苏州 来源:中冶有色网 2023-03-19
便于清洗的工业危废废水处理过滤池

本实用新型公开了一种便于清洗的工业危废废水处理过滤池,包括清理池和清洗箱,所述清理池的上侧设置有滑动槽,且滑动槽的上侧设置有转动轮,所述转动轮的内侧设置有限位杆,且限位杆的内部设置有伺服电机,所述限位杆的外表面设置有定位块,且定位块的下端设置有清理板,所述清理板的内部开设有限位卡槽,所述清洗箱设置于清理池的右侧,且清洗箱的下侧连接有清洗管,所述清洗管的尾端连接有喷射仓,且喷射仓的下侧设置有喷射口。通过设置的伺服电机与转动轮可以不需要人工进行清洗,极大地提升装置后续清理的效率,从而增加装置的实用性,通过设置的多组转轴刷可以将装置的表面进行清理,防止装置清理不便,影响装置的后续使用。

标签:
废水处理
江苏 - 南京 来源:中冶有色网 2023-03-19
用于工业锅炉废水加药搅拌装置

本实用新型公开了一种用于工业锅炉废水加药搅拌装置,加药池顶端两侧对称安装有可拆卸支撑柱,支撑柱与搅拌轴固定相连,搅拌转轴固定安装在加药池上方,搅拌轴外表层套装有圆柱形双层通道,双层通道外部设置有搅拌叶片,搅拌叶片对称安装在搅拌轴底部两侧,该装置结构合理,操作方便,利用搅拌轴能最大程度的使得药液混合,并且搅拌完成后能够快速沥干,防止搅拌轴生锈,延长使用设备的使用寿命,节约一定的生产成本。

标签:
废水处理
江苏 - 南通 来源:中冶有色网 2023-03-19
用于工业废水处理的复合氧化净水剂储存装置

本实用新型公开了一种用于工业废水处理的复合氧化净水剂储存装置,包括罐体,所述罐体的顶部螺纹连接有罐盖,所述罐体内侧壁固定连接有防腐层,所述罐体的底部外侧壁固定连接有固定管,所述固定管的外侧壁固定连接有固定板,所述固定板上固定连接有抽料机构,所述固定管的底部固定连接有出料机构,所述罐体的底部固定连接有位移机构。本实用新型中,通过电机、绞龙、出料管、固定管和固定板的配合作用,达到了电机转动带动绞龙转动的效果,实现了绞龙转动将罐体内部的固体复合氧化净水剂取出的功能;通过支撑柱和万向轮的配合作用,达到了推动把手带动望向轮转动的效果,实现了便于移动装有固体复合氧化净水剂的罐体移动的功能。

标签:
废水处理
江苏 - 南京 来源:中冶有色网 2023-03-19
工业含氮废水处理设备

本实用新型公开了一种工业含氮废水处理设备,包括设备主体,所述设备主体包括反硝化系统和反清洗系统;所述反硝化系统包括自上而下设置于设备主体内的进水区、混合区、硫自养反硝化区和出水区;所述进水区设有进水管、进水布水堰和气体排放管;所述混合区设有用于检测水质pH值的pH仪;所述硫自养反硝化区设有硫颗粒填料床和附着于所述硫颗粒填料床的生物膜;所述出水区设有净水出水管;所述反清洗系统包括反洗空气进气管、反洗清水进水管、反洗水出水管和用于检测进水区最高液位的液位探测器。本实用新型能够减少硫源的浪费,提高资源利用率,实现低能耗下的总氮脱出,可实现规模化使用。

标签:
废水处理
江苏 - 苏州 来源:中冶有色网 2023-03-19
用于工业废水零排放处理用分盐装置

本实用新型公开了一种用于工业废水零排放处理用分盐装置,包括蒸发器、纯盐结晶器、混盐结晶器、缓冲机构和调节机构,所述蒸发器和纯盐结晶器以及纯盐结晶器和混盐结晶器均通过管道连接,所述蒸发器的底部固定有第一支撑腿、所述纯盐结晶器的底部固定有第二支撑腿、所述混盐结晶器的底部固定有第三支撑腿,所述缓冲机构包括支撑块、放置口、抵块、弹簧、凹槽和活动块,所述支撑块的表面开设有供管道穿过的放置口;本实用新型的有益效果是:通过设计的缓冲机构,起到对管道的缓冲,解决了传统中的管道支撑缓冲不足的问题;活动块顺着导块内侧面的滚珠滑动,有助于增加活动块滑动时的导向;通过设计的调节机构,实现了支撑块的高度可调。

标签:
废水处理
江苏 - 无锡 来源:中冶有色网 2023-03-19
搅拌型工业废水结晶处理装置

本申请公开了一种搅拌型工业废水结晶处理装置,包括一个沉淀筒,沉淀筒的上端设置用于将沉淀筒的筒口封盖的外壁,外壁与沉淀筒的筒壁形成溢流堰;还包括一个贯穿外壁伸入沉淀筒内的反应筒,反应筒内设置搅拌桨叶,连接搅拌桨叶的搅拌轴通过三角带传动结构与电动机A连接,所述电动机带动搅拌轴连同搅拌桨叶一起转动,且同时带动搅拌轴连同搅拌桨叶一起在反应筒内上下运动;还包括一个一端与电动机B连接,另一端伸入沉淀筒内的螺旋搅拌轴;本实用新型的结晶设备中,搅拌轴不但可以旋转,还可同时上下移动,带动物料在反应区内翻转,具有反应区搅拌充分,沉淀区沉淀效果好,设备投资小,工艺流程简单的特点。

标签:
废水处理
江苏 - 宿迁 来源:中冶有色网 2023-03-19
用于工业废水处理的微滤机

本实用新型公开了一种用于工业废水处理的微滤机,包括底座、微滤机主体、缓冲机构和安装机构,所述微滤机主体的底端表面与底座的顶端表面连接处设置有支撑柱,所述底座的顶部且位于微滤机主体的一侧设置有固定柱,所述缓冲机构位于固定柱的内部;本实用新型通过设置的滑板,有效避免了微滤机在固定放置时因震动对微滤机上的其他物件造成抖动掉落,而发生损坏,有利于缓冲微滤机主体工作时的震动,同时也延长了微滤机的使用寿命,通过设置的摇把,有效避免了银离子过滤网长时间使用需要进行清理时,拆卸、安装银离子过滤网的过程繁琐,费时费力,有利于便捷快速安装银离子过滤网,节省了人力成本,同时也提高了装置的安装效率。

标签:
废水处理
江苏 - 南通 来源:中冶有色网 2023-03-19
电子工业含氟含氨氮废水处理用反渗透膜装置的清洗方法

本发明涉及一种电子工业含氟含氨氮废水处理用反渗透膜装置的清洗方法,所述反渗透膜装置包括第一段反渗透膜及与所述第一段反渗透膜的浓水出水口相连的第二段反渗透膜,所述方法为对第一段反渗透膜和第二段反渗透膜进行独立清洗,且采用不同的清洗液,其中采用能够除去有机物、微生物和胶体的清洗液对第一段反渗透膜单元进行清洗;采用能够除去有机物、微生物、胶体、无机盐结晶以及各种形式的硅化物的清洗液对第二段反渗透膜单元进行清洗。相比传统的清洗方法,本发明有效提高了清洗效果和生产效率,缩短清洗时间,减少清洗液用量,降低清洗成本,更重要的是提高反渗透膜的使用寿命及反渗透系统的运行效率。

标签:
废水处理
江苏 - 无锡 来源:中冶有色网 2023-03-19
造纸工业废水的处理工艺

本发明公开了一种造纸工业废水的处理工艺,包括进水,格栅,集水,沉淀,调节,选择,曝气,二沉,混凝沉淀,出水。本发明工艺简单,操作方便,运行稳定性高,排出的污泥通过有效处理能够再利用达到了节约能源的效果,且运行成本小,有利于提高经济效益,而增加的混凝沉淀工艺更是进一步净化出水水质,减少环境污染,有利于改善人们的生活环境。

标签:
废水处理
江苏 - 苏州 来源:中冶有色网 2023-03-19
基于金属离子的臭氧深度处理工业废水方法

本发明涉及到一种基于金属离子的臭氧深度处理工业废水方法,主要包括Ti4+、Fe2+、Mn2+和Zr4+等金属离子溶液,臭氧和KI溶液以及停留时间等,其特征在于,所述金属离子溶液作为催化剂,所述臭氧作为深度处理的氧化剂,所述KI溶液为尾气处理溶液。本发明具有处理效果COD去除率达到80%以上和操作简单方便以及成本较低等特征。

标签:
废水处理
江苏 - 南京 来源:中冶有色网 2023-03-19
工业废水处理用除油设备

本发明公开了一种工业废水处理用除油设备,其结构包括:除油机装置、回收管、衔接盖、出水管、底座、过滤主箱、进水管,回收管设于除油机装置上方且与除油机装置锁接,使设备使用时,通过设有的机构,使本发明能够实现避免抽油设备在对于上层浮油进行收集的时候,抽油泵旁边往往需要加一个源源不断的水流,以此来形成水面漩涡,才能使其水面上浮油产生波动,这种浮油收集方式颇为不便,具有局限性,也容易造成水资源的浪费的问题,使设备通过电机组与固定套盘的配合,进而带动摆动臂进行摆动,末端的刮片装置与水平面接触转动,进而在水平面形成辅助漩涡,使其边缘的浮油往内侧对接架移动,更加更加方便浮油的收集,又能避免水资源的浪费。

标签:
废水处理
江苏 - 无锡 来源:中冶有色网 2023-03-19
用于工业废水处理中去除硝酸盐氮的工艺及装置

本发明公开了一种用于工业废水处理中去除硝酸盐氮的工艺及装置,包括吸附系统、再生系统和反硝化系统,吸附系统包括吸附罐,吸附罐上设置有进水口和出水口,再生系统包括冲洗水罐、再生盐罐和再生液罐,冲洗水罐和再生盐罐均与吸附罐的出水口连接,再生液罐与吸附罐的进水口连接,再生液罐与反硝化系统连接,反硝化系统能对再生液罐内的再生液进行反硝化,并在反硝化后通过反硝化系统进行氮的排放。采用一种吸附材料,对好氧硝化之后的硝酸盐氮进行吸附,吸附结束后经过再生,通过带有贵金属涂层的催化剂,在还原剂的作用,将高浓度的再生液还原为氮气进行安全排放,从而达到物料平衡,达到环境保护、可持续发展的目的。

标签:
废水处理
江苏 - 苏州 来源:中冶有色网 2023-03-19
上一页 497 498 499 500 501 ... 537 下一页
共537页    到第

中冶有色为您提供最新的江苏有色金属废水处理技术理论与应用信息,涵盖发明专利、权利要求、说明书、技术领域、背景技术、实用新型内容及具体实施方式等有色技术内容。打造最具专业性的有色金属技术理论与应用平台!

全国热门有色金属设备推荐
展开更多 +
全国热门有色金属技术推荐
展开更多 +

 

江西省隆恩特环保设备有限公司
宣传

报名参会
更多+

报告下载

有色专家
更多+

昆明理工大学
副校长
长沙矿冶研究院有限责任公司
中国工程院院士
中国矿业大学(北京)
教授
清华大学
研究员
中南大学
教授
赤泥综合利用研究报告2025
推广

热门技术
更多+

推荐企业
更多+

福建省金龙稀土股份有限公司
宣传

发布

在线客服

公众号

电话

顶部
咨询电话:
010-88793500-807