青岛垚鑫智能科技有限公司
宣传

位置:中冶有色 >

有色技术频道 >

> 废水处理技术

分类:
全部
矿山技术
冶金技术
材料制备及加工技术
环境保护技术
分析检测技术
 
全部
废水处理技术
大气治理技术
固/危废处置技术
土壤修复技术
地区:
全部
北京
天津
上海
重庆
河北
山西
辽宁
吉林
黑龙江
江苏
浙江
安徽
福建
江西
山东
河南
湖北
湖南
广东
海南
四川
贵州
云南
陕西
甘肃
青海
内蒙
广西
西藏
宁夏
新疆
其他
其他
展开
 
全部
南京
无锡
徐州
常州
苏州
南通
连云港
淮安
盐城
扬州
镇江
泰州
宿迁

江苏有色金属废水处理技术理论与应用

免费发布技术信息>>
电渗析工业废水处理设备

本实用新型涉及一种电渗析工业废水处理设备,包括基板,基板底部前后侧边设有支撑柱,基板顶部设有过滤箱、电渗析箱和抽水泵,过滤箱顶部设有进废口,过滤箱内对称设有称重台A和称重台B,两者顶部间分别架有过滤板A和过滤板B,过滤箱侧壁底部设有出废口,出废口连通抽水泵,抽水泵后接输液弯管,输液弯管的水平部分的下表面设有输液支管A,电渗析箱底部设有穿过基板的输液支管B,电渗析箱内从左往右交替设有竖向的阳离子交换膜和阴离子交换膜,电渗析箱左右两侧分别设有阳极和阴极,电渗析箱内被阳离子交换膜和阴离子交换膜分开的隔间各自连通一个输液支管A和输液支管B。本实用新型具有净化效果好、清理方便、安全性强的优点。

标签:
废水处理
江苏 - 苏州 来源:中冶有色网 2023-03-19
工业废水微纳米臭氧AOP处理系统

本实用新型公开了一种工业废水微纳米臭氧AOP处理系统,包括原水罐,臭氧发生器,气液混合泵,增压氧化罐,BAF反应罐和BAC反应罐。原水罐原水及臭氧发生器产生臭氧化气在气液混合泵入口连通,并通过气液混合泵将气液混合,气液混合泵,增压氧化罐,BAF反应罐和BAC反应罐依次连接。本实用新型通过制造两级臭氧微纳米气泡,提高臭氧的溶解度,提高臭氧的反应速率和利用效率。同时通过出水回流提高系统整体的气水比和臭氧微纳米气泡的绝对数量,使进水中难降解有机物进行反复多次的“AOP改性+生化降解”处理,降低臭氧用量。

标签:
废水处理
江苏 - 南京 来源:中冶有色网 2023-03-19
工业废水精细过滤器
工业废水精细过滤器 1025     
 0

一种工业废水精细过滤器,包括过滤器筒体;所述过滤器筒体内部由上至下依次设置活动滤网层、混合滤网层、曝气装置;所述过滤器筒体中心处设有驱动轴,活动滤网层连接到驱动轴,驱动轴下方设有水力百叶;所述过滤器筒体外侧顶部设有驱动电机和进水管口,驱动电机连接驱动轴;所述过滤器筒体外侧底部设有出水管口。本实用新型具有使用寿命长、纳污能力高、耐腐蚀性强、耐温好、流量大、操作方便等特点。

标签:
废水处理
江苏 - 无锡 来源:中冶有色网 2023-03-19
用于处理工业废水的新装置

本实用新型公开了一种用于处理工业废水的新装置,包括初级排放池(1),初级排放池(1)的出口通过管道与加药三通阀(3)的前端相连,所述加药三通阀(3)的侧端通过管道与加药装置(2)的出口相连,加药三通阀(3)的下端通过管道与加药釜(4)的进口相连,加药釜(4)的出口通过管道与其后侧设置的反应釜(7)的进口相连,反应釜(7)的出口通过管道与其后侧设置的过滤釜(8)的进口相连,过滤釜(8)的出口通过管道与其后侧设置的净水釜(10)的进口相连,净水釜(10)的出口通过管道与排放口(11)相连。本实用新型的装置结构简单,既能与现有的污水处理系统对接使用,亦能单独使用,操作方便、处理效果好,适于推广使用。

标签:
废水处理
江苏 - 南京 来源:中冶有色网 2023-03-19
工业废水初步净化装置

本实用新型公开了一种工业废水初步净化装置,包括观察窗、端盖和箱体,所述箱体的底部固定安装有底座,所述箱体的表面转转动安装有搭扣,所述箱体的一侧固定安装有进水口,所述箱体的另一侧固定安装有出水口,所述箱体的内部设置有过滤箱,所述过滤箱的内部固定安装有过滤装置,所述过滤箱另一侧箱体内部通过分隔板设置有沉淀池,所述沉淀池的一侧通过分隔板设置有清水消毒池,所述箱体的顶部固定安装有端盖,所述端盖的表面固定安装有固定块,且固定块与搭扣相重合。本实用新型通过设置有一系列的结构使本装置在使用的过程中利用物理过滤的方式对污水进行过滤,具有便于清洗,稳定性强以及便于移动等优点,优化使用过程。

标签:
废水处理
江苏 - 苏州 来源:中冶有色网 2023-03-19
高效调控的工业废水进水预警装置

本实用新型公开了一种高效调控的工业废水进水预警装置,包括罐体,罐体侧部设有进水管、出水管、溢流管与排空管,罐体内侧设有液位计,罐体内部设有若干根固定导杆,固定导杆通过若干个套环与进水浮桶连接,进水浮桶与若干个浮球连接;进水浮桶内嵌设置有格栅圆筒,进水浮桶底部通过布水软管与出水管连接;格栅圆筒为筛网状结构。本实用新型可及时对水量波动情况做出提前预警,并对进水量进行高效调节,稳定处理设施进水量,提高处理效率,保障处理效果。

标签:
废水处理
江苏 - 南京 来源:中冶有色网 2023-03-19
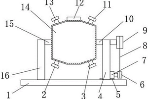
脱硫工业废水的预处理装置

本实用新型公开了一种脱硫工业废水的预处理装置,包括底板,所述底板的上表面固定连接有左支撑臂,所述底板的上表面且位于左支撑臂的右侧固定连接有右支撑臂,所述底板的上表面且位于右支撑臂的后方固定连接有安装板,所述安装板的上表面设置有电动机,所述电动机的输出端固定连接有主动链轮,所述左支撑臂的上部转动连接有连接轴,所述右支撑臂的上部转动连接有转动轴。本实用新型中,设置了电动机、主动链轮、链条、从动链轮、转动轴、连接轴、反应容器,通过电动机带动主动链轮、主动链轮通过链条带动从动链轮,进而带动转动轴、反应容器、连接轴转动,当需要对沉淀的污泥处理时,可以将排料口转到下方,清理更加方便、轻松,效率较高。

标签:
废水处理
江苏 - 南京 来源:中冶有色网 2023-03-19
工业废水回用高效处理设备

本发明提供一种工业废水回用高效处理设备包括处理装置;所述处理装置由混合装置、供给装置、加热装置、冷凝箱与止回阀组成;混合装置,混合装置的一端安装有供给装置;供给装置,供给装置的一端与加热装置活动连接;加热装置,加热装置的一侧设有冷凝箱;止回阀,止回阀设置在加热装置的内部。本发明加热装置的设置,通过加热装置可以对液体进行加热,加热蒸发或水汽沿导管进入到冷凝箱的内部,重新冷却成水,通过蒸馏的方式进一步提高水的纯净度,去除水内的污染物,提高水的处理质量。本发明止回阀的设置,通过收集槽可以对进入加热装置的水进行收集,随着水压的升高,控制挡板进行向下进行移动,让水流通过。

标签:
废水处理
江苏 - 无锡 来源:中冶有色网 2023-03-19
TDI工业废水的资源化处理系统

本发明涉及一种TDI工业废水的资源化处理系统,原水进料泵出口与弱酸树脂吸附床的入口相连,弱酸树脂吸附床的出口通过脱碳进料泵与脱碳塔的入口相连,脱碳塔的出口通过RO进料泵与RO装置的入口相连,RO装置的出口与RO浓水池相连,RO浓水池的出口通过一级纳滤高压泵与一级纳滤装置的入口相连,一级纳滤装置的浓盐水出口与一级纳滤浓水池相连,一级纳滤装置的产水出口与一级纳滤产水池相连。一级纳滤浓水经浓缩后分离出的硫酸钠进入冷冻结晶、热熔结晶和干燥单元得到硫酸钠盐。一级纳滤产水经浓缩后进入蒸发结晶单元先析出氯化钠,分离出母液经过闪蒸降温及冷却结晶析出硝酸钠,各自干燥。本发明将混合杂盐进行分类回收,生产率高,结晶盐品质好。

标签:
废水处理
江苏 - 扬州 来源:中冶有色网 2023-03-19
工业废水再利用的模块化高温热水机组

本实用新型公开了一种工业废水再利用的模块化高温热水机组,包括蒸发器,所述蒸发器的底部安装有支撑底座,所述支撑底座的中部两侧安装有夹板,所述蒸发器的一端安装有分流腔,所述分流腔的一端安装有膨胀阀,所述膨胀阀的一端安装有过滤器,所述气分室上安装有蒸汽输送管,所述蒸发器的顶部安装有冷凝器,所述压缩机的一侧安装有高温高压蒸汽输送管,所述冷凝器的一端安装有热水输送管。本实用新型的蒸发器的下方安装有支撑底座,在支撑底端的两侧通过铰链安装有夹板,通过其方便蒸发器的夹持固定,在支撑底座的顶部一侧安装有加热罐,通过加热罐可以对热水温度再次提高,方便对热水温度进行精确控制。

标签:
废水处理
江苏 - 南京 来源:中冶有色网 2023-03-19
工业废水检查装置
工业废水检查装置 941     
 0

本实用新型公开了一种工业废水检查装置,包括检查设备本体,所述检查设备本体的顶部安装有第一插接座,且检查设备本体的侧面固定有弹性卡座,所述弹性卡座上卡接有测试杆,且测试杆的一端设置有检测探头,所述测试杆的另一端安装有第二插接座,所述测试杆靠近第二插接座的外侧固定套接有泡沫套,且泡沫套的一端固定有密封垫,所述检查设备本体的顶部一侧固定有固定轴,且固定轴上活动安装有限位轮,所述检查设备本体的一侧外表面嵌入有轴承座,且轴承座上活动安装有活动杆。本实用新型结构简单,能够在野外实地测量时减轻测量人员的工作量,并能根据实际的检测需求对传输线缆的长度进行调整,方便人们的操作,且便于携带,实用性强。

标签:
废水处理
江苏 - 无锡 来源:中冶有色网 2023-03-19
水面移动式智能工业废水取样装置

本实用新型公开了一种水面移动式智能工业废水取样装置,悬浮壳为具有上圆台和下圆台的阶梯台结构,取样罐固定连接在上圆台的上端面上,取样管通过轴承转动连接在上圆台上;抽水泵、电源和步进电机均固定于上圆台的内腔中,两根抽水软管分别连接在抽水泵的进液端和出液端,连接在抽水泵出液端的抽水软管与取样管密封连接;主动齿轮与从动齿轮分别固定连接在步进电机和取样管上,螺旋桨推动器固定于下圆台的内腔中,且螺旋桨推动器中的螺旋桨伸于下圆台下方,电源为抽水泵、步进电机以及螺旋桨推动器提供电能。本实用新型取样时,先抽取并排空一部分液体,然后再进行采样作业,保证采样数据的准确性,使用效果好。

标签:
废水处理
江苏 - 南京 来源:中冶有色网 2023-03-19
工业废水中镉含量检测试剂及其检测方法

本发明提供工业废水中镉含量检测试剂及其检测方法,该检测试剂包括如下组分:六次亚基四胺,氟化钾,二甲酚橙,醋酸钠,季戊四醇,无水乙醇,硝酸钾,有机酸及水。检测方法:(1)取两份相同体积的检测试剂,向第一份检测试剂中加入待检测水溶液,形成第一混合液;向第二份检测试剂中加入与待检测水溶液体积相等的去离子水,形成第二混合液;(2)以第二混合液为参照,观察第一混合液的颜色变化;(3)以第二混合液为参比溶液,使用分光光度计测量所述检测试样的吸光度值,并计算出待检测水溶液中的镉含量。本发明相对于现有技术能够更加快速地检测到镉含量是否超标,具有更高的检测效率。

标签:
废水处理
江苏 - 苏州 来源:中冶有色网 2023-03-19
工业废水用化学需氧量处理装置

本发明公开了一种工业废水用化学需氧量处理装置,涉及化学需氧量技术领域,为解决现有技术中的化学需氧量的检测周期较长,而且在针对污水检测时,水中的一些固体颗粒杂质可能会影响到氧量的消耗,导致检测结果出现偏差的问题。所述数据处理基座的一侧设置有计算操控台,所述数据处理基座的上方设置有需氧量检测筒,所述需氧量检测筒的底部设置有称重底盘,且称重底盘与需氧量检测筒通过卡槽连接,所述称重底盘与数据处理基座固定连接,所述需氧量检测筒的上方设置有组合筒盖,且组合筒盖与需氧量检测筒组合连接,所述需氧量检测筒的内部设置有耐热玻璃杯,所述耐热玻璃杯的底部设置有传感杯座,且传感杯座与耐热玻璃杯通过卡槽连接。

标签:
废水处理
江苏 - 南京 来源:中冶有色网 2023-03-19
处理工业废水的常态催化剂及其应用

本发明提供了一种处理工业废水的常态催化剂及其应用,属于催化剂制备与应用技术领域。本发明所述常态催化剂由碳粉、硅酸铝、硝酸锌、二氧化锰、硝酸镍、四氧化三铁、粘合剂组成。本发明制备得到的常态催化剂具有活性组分含量高,载体比表面积大,反应速率快,机械强度大,固着性强,使用寿命长,COD去除率高且稳定,长时间使用不板结、不钝化,没有二次污染等特点。

标签:
废水处理
江苏 - 扬州 来源:中冶有色网 2023-03-19
工业废水调节池
工业废水调节池 1181     
 0

本实用新型涉及工业废水调节池,包括池体,所述池体的顶端开设有调节腔和处理腔,所述调节腔和所述处理腔的内部空间相通,所述池体靠近所述调节腔的一侧中部外壁上对称固定设有气缸一,所述气缸一的输出端均延伸至所述调节腔内且固定连接有刮板,所述池体的前侧顶端和后侧顶端均开设有容纳槽,所述容纳槽内均固定设有气缸二,所述气缸二的输出端固定连接有支架,所述支架的底端固定连接有与所述调节腔相匹配的挡板,所述挡板位于所述调节腔与所述处理腔之间相接处,所述处理腔内滑动设有集污箱,所述集污箱为上开口的箱体,本实用新型结构简单,使用方便,可以方便对调节池内的泥沙淤泥进行清理,降低工人的劳动强度。

标签:
废水处理
江苏 - 苏州 来源:中冶有色网 2023-03-19
用于工业废水的重金属处理装置

本实用新型公开了一种用于工业废水的重金属处理装置,包括送料管、污水处理池、可抽拉滤层和废渣收集槽,所述可抽拉滤层共设有多个,且多个可抽拉滤层设置在污水处理池内靠上处,所述送料管设置在污水处理池的上方,用以向污水处理池内输送污水和铁盐,所述废渣收集槽设置在沉淀废渣槽座的内部,且废渣收集槽可在沉淀废渣槽座内进出调节,所述沉淀废渣槽座设置在污水处理池的底部。该实用新型的污水处理池设置为可移动的结构,提高其灵活性,在污水处理池的内部设有内嵌槽,在内嵌槽内设有可抽拉滤层,在可抽拉滤层的内部设有海泡石,通过其可以对重金属污水进行吸附过滤初步处理,且处理后的滤渣可以直接将可抽拉滤层抽出,然后取出,使用方便。

标签:
废水处理
江苏 - 苏州 来源:中冶有色网 2023-03-19
工业废水重金属检测系统装置

本实用新型公开了工业废水重金属检测系统装置,包括通过信号导线相连接的检测仪和检测头;检测头的内部设置有空腔,所述空腔的底部设置有竖向穿孔,所述竖向穿孔内设置有环状的清洁件,所述清洁件在第一驱动件的带动下水平转动,所述清洁件的内部为清洁通道;所述检测头包括探头,所述探头在第二驱动件的带动下沿所述清洁通道竖向运动;所述清洁件的底部设置有清洁片,所述清洁片的上端与所述清洁件的底部竖向转动连接,且所述清洁片与所述清洁件之间设置有扭簧。本实用新型能够自动对探头进行清洁,提高检测的便捷性。

标签:
废水处理
江苏 - 镇江 来源:中冶有色网 2023-03-19
用于工业废水处理的三效蒸发装置

本实用新型公开了一种用于工业废水处理的三效蒸发装置,包括第一蒸发器、第二蒸发器、第三蒸发器与冷凝器,第一蒸发器下表面设置有第一出液口,第二蒸发器下表面设置有第二出液口,第三蒸发器下表面设置有第三出液口,第一出液口、第二出液口与第三出液口上均设置有清理机构,清理机构包括底筒,底筒腔体内设置有升降气缸,升降气缸的伸缩杆上设置有安装板,安装板上表面设置有中空旋转平台,中空旋转平台上设置有钢丝辊刷,中空旋转平台中部设置有延伸杆,延伸杆上表面设置有刮动机构,延伸杆侧壁上设置有喷水管道;优点是:解决了三效蒸发装置在长期使用过程中,一些不溶性无机盐,容易发生钙化反应产生沉淀吸附于出液口内造成堵塞的问题。

标签:
废水处理
江苏 - 宿迁 来源:中冶有色网 2023-03-19
用于工业的废水处理系统

本实用新型公开了一种用于工业的废水处理系统,包括污水池,微波发生器,所述微波发生器设置于污水池上方;无极灯,所述无极灯通过玻璃罩密封后,置于污水池内;金属缓冲段,所述金属缓冲段为空腔结构,所述微波发生器的发射端通过金属缓冲段与所述玻璃罩连接;还包括臭氧排出口,所述臭氧排出口与污水池连通;还包括蓄水池,所述污水池底部的排水口与所述蓄水池连接,所述蓄水池内设有若干水泵,所述水泵用于将蓄水池内的水输送至用水管道;所述排水口的横截面与所述污水池横截面积比为1:20‑1:40。本实用新型中,在排水口容易产生漩涡,进而流入蓄水池内的水比较均匀,且能加快水的混合和流动。

标签:
废水处理
江苏 - 南京 来源:中冶有色网 2023-03-19
工业用废水处理电气柜

本实用新型涉及电气柜技术领域,具体为一种工业用废水处理电气柜,包括柜壳体,柜壳体的一侧连接有柜门,柜门上设置有若干均匀分布的控制装置,控制装置包括气囊、压力片和压力装置,压力片的一端接触有气囊,压力片的另一端接触有压力装置,柜门上朝向柜壳体内腔的板面上开设有圆柱凹槽,圆柱凹槽中设置有气囊,圆柱凹槽一侧的柜门上开设有通孔结构的导流孔,压力装置设置在导流孔中,本实用新型构造设计实现了柜壳体内腔中的热气流流到外界,会有一定的外界气流流到柜壳体内腔中进行降温,如果没有热气流的外排,外界气流不会进入柜壳体内腔中,这样自动实现柜壳体内腔中的干燥程度和温度在可控范围。

标签:
废水处理
江苏 - 盐城 来源:中冶有色网 2023-03-19
工业废水曝气处理装置

本实用新型公开了一种工业废水曝气处理装置,包括有固定板、底座、导柱、曝气模组本体,所述固定板对立设在底座两侧,两个固定板内侧设有滑槽,滑动板通过滑轨与滑槽滑动配合,所述滑动板内固定有曝气模组本体,所述滑动板下方还固定有导块,所述导块内设有螺纹孔,所述导柱上部设有螺纹,所述螺纹与螺纹孔相互配合传动,所述导柱下端固定有斜齿轮一,传动杆上设有两个斜齿轮二,两个斜齿轮二与两个斜齿轮一咬合,所述传动杆另一远端固定有手轮,所述曝气模组本体包括有曝气基板、橡胶膜片、塑胶封头,所述曝气基板内部设有布气通道,所述橡胶封头封堵布气通道两端。通过将曝气模组本体置于滑动板上,通过手轮来调节曝气位置。

标签:
废水处理
江苏 - 苏州 来源:中冶有色网 2023-03-19
钢铁工业废水中铁回收装置

本实用新型提出了一种钢铁工业废水中铁回收装置,包括回收装置壳体,回收装置壳体中水平的设有第一隔板,第一隔板上部为回收腔、第一隔板下部为进水腔,进水腔的上部设有进水口,进水腔的下部设有出水口,出水口上设有第一滤网;回收装置壳体中至少设有一个回收组件;回收组件包括上同步带轮、下同步带轮、同步带和回收机构,本实用新型操作简单,大幅提高了回收效率。

标签:
废水处理
江苏 - 镇江 来源:中冶有色网 2023-03-19
工业工厂废水处理用的过滤斗

本实用新型公开了一种工业工厂废水处理用的过滤斗,包括储水箱,所述储水箱的上端设置有连接盖板,所述储水箱的内部中部设置有过滤装置,所述过滤装置的内部下端设置有若干均匀分布的导向装置,所述导向装置的中部设置有螺旋吸气装置,所述过滤装置的上端设置有刮泥装置,所述刮泥装置的上端设置有驱动装置,且所述储水箱的内部内壁设置有螺旋槽。有益效果:通过驱动装置带动螺旋吸气装置开始工作,从而将进入储水箱内部的水产生螺旋并且相内吸入,从而使水流快速的流动,从而提高装置的过滤效率。

标签:
废水处理
江苏 - 无锡 来源:中冶有色网 2023-03-19
工业废水处理用气浮机
工业废水处理用气浮机 1188     
 0

本实用新型公开了一种工业废水处理用气浮机,包括壳体,所述壳体内部固定设置有水槽,所述水槽内部底端贯穿活动设置有搅拌杆,所述搅拌杆的顶端外侧在水槽内部固定设置有若干搅拌叶,所述搅拌杆内部开设有第一通气槽,所述搅拌叶内部开设有若干第二通气槽,所述第一通气槽和第二通气槽互相连通,所述搅拌叶在第二通气槽的底端开设有若干通气孔,所述搅拌杆的外侧在水槽的底端固定设置有第一齿轮,所述壳体内部底端左侧固定设置有第一电机。本实用新型结构简单,使用方便,能够使气泡与污水充分的混合,且更换清洁头的时候无需使第二电机停机,使用起来更加的方便,提高了设备的使用寿命。

标签:
废水处理
江苏 - 南通 来源:中冶有色网 2023-03-19
处理工业废水的曝气装置

本实用新型公开了处理工业废水的曝气装置,该装置包括曝气池,所述曝气池的内壁设置有输气装置,所述输气装置的内侧设置有固定盒,所述固定盒的左右两侧均与输气装置相连通,所述固定盒的内壁滑动连接有升降板,所述升降板上开设有出气孔,所述升降板的顶部固定连接有两个弹簧。该实用新型,在不使用该装置时,将输气装置关闭,此时弹簧的弹力会被释放,弹簧会带动升降板下降移动,升降板接着会通过叶轮带动出气盒下降,出气盒接着会落入到密封孔内部,密封孔的设置会与出气盒紧贴,进而避免在不使用时,曝气池中的杂质对过滤板造成堵塞的情况出现,进而提高装置的实用性。

标签:
废水处理
江苏 - 南通 来源:中冶有色网 2023-03-19
工业废水处理用复合氧化净水剂生产装置

本实用新型涉及一种工业废水处理用复合氧化净水剂生产装置,包括混料罐、搅拌组件、刮料组件,所述搅拌组件安装在混料罐内,且刮料组件安装在搅拌组件上,所述搅拌组件连接驱动电机,所述混料罐的外壁顶部固定有导流箱,所述导流箱的底壁向混料罐的方向倾斜,所述导流箱靠近混料罐的侧壁上开设有导流孔。通过调节液体输送泵的转速,来调节液体输送泵向导流箱内输送液体的速度,以调节导流箱内液体液面的高度,导流箱内液面高于取样管顶端时,液体进入取样管内,且取样管的容积为定值,所以从混料罐提取的试样为定量的,避免提取试样过多而造成浪费。

标签:
废水处理
江苏 - 南京 来源:中冶有色网 2023-03-19
工业废水强化生化处理用自动配比加料设备

本实用新型公开了一种工业废水强化生化处理用自动配比加料设备,包括多个储存桶,多个所述储存桶底部外侧固定连接有一个固定平台,所述固定平台底部设置有两个滑动板,多个所述储存桶底部中部固定连接有一个滑轨,两个所述滑动板均与滑轨滑动连接,两个所述滑动板上均设置有多个控制机构,通过在出现一种材料被使用完了的时候,导致旋转板上失去重力无法带动旋转轴旋转而拉动限位板旋转,导致密封板的限位无法撤去,从而达到只要有一种材料出现缺失都会导致材料无法添加,达到了被动提醒工作人员,避免了一种材料没有了工作人员未发现导致添加材料比例失衡的情况发生。

标签:
废水处理
江苏 - 南京 来源:中冶有色网 2023-03-19
工业废水分类收集装置
工业废水分类收集装置 1247     
 0

本实用新型公开了一种工业废水分类收集装置,包括蓄水池、排水阀、分类箱、泡沫圆板、电动调节阀、分水管、集水管、主水管、水泵、固定板、摄像头、U型板、在线液体密度计、螺旋软管和液体过滤罩。本实用新型结构合理,通过在线液体密度计检测显示浓盐水顶部外侧液体的密度与某种液体的密度值对比,有利于确定该区域液体物质成份,便于逐层分类采出萃取上层液。

标签:
废水处理
江苏 - 南通 来源:中冶有色网 2023-03-19
半导体工业废水处理用过滤装置

本实用新型公开了一种半导体工业废水处理用过滤装置,包括基体,所述基体的顶部设有进水口,所述基体的内腔顶部设有导水斗,所述导水斗的上表面与所述基体的内腔顶部固定连接,所述导水斗的下方设有分水斗,所述分水斗的下方对称设有过滤桶,所述过滤桶的下方设有密封箱,所述密封箱的内腔设有双轴伸驱动电机,所述双轴伸驱动电机的输出端上设有第一传动轴,所述第一传动轴上设有第一锥齿轮,所述第一锥齿轮上啮合连接有第二锥齿轮,所述第二锥齿轮上设有第二传动轴,所述第二传动轴贯穿所述过滤桶的底壁并延伸至所述过滤桶的内腔,所述密封箱的下方设有过滤盘,本实用新型过滤效果好、处理效率高且处理彻底,实用性强,可以满足现有需求。

标签:
废水处理
江苏 - 苏州 来源:中冶有色网 2023-03-19
上一页 496 497 498 499 500 ... 537 下一页
共537页    到第

中冶有色为您提供最新的江苏有色金属废水处理技术理论与应用信息,涵盖发明专利、权利要求、说明书、技术领域、背景技术、实用新型内容及具体实施方式等有色技术内容。打造最具专业性的有色金属技术理论与应用平台!

全国热门有色金属设备推荐
展开更多 +
全国热门有色金属技术推荐
展开更多 +

 

江西省隆恩特环保设备有限公司
宣传

报名参会
更多+

报告下载

有色专家
更多+

北京科技大学
教授
北京航空航天大学、中国工程院
院士
中铝科学技术研究院有限公司
董事长
中铝郑州有色金属研究院有限公司
党委书记 董事长
矿冶科技集团有限公司
正高级工程师/副所长
赤泥综合利用研究报告2025
推广

热门技术
更多+

推荐企业
更多+

福建省金龙稀土股份有限公司
宣传

发布

在线客服

公众号

电话

顶部
咨询电话:
010-88793500-807