青岛垚鑫智能科技有限公司
宣传

位置:中冶有色 >

有色技术频道 >

> 废水处理技术

分类:
全部
矿山技术
冶金技术
材料制备及加工技术
环境保护技术
分析检测技术
 
全部
废水处理技术
大气治理技术
固/危废处置技术
土壤修复技术
地区:
全部
北京
天津
上海
重庆
河北
山西
辽宁
吉林
黑龙江
江苏
浙江
安徽
福建
江西
山东
河南
湖北
湖南
广东
海南
四川
贵州
云南
陕西
甘肃
青海
内蒙
广西
西藏
宁夏
新疆
其他
其他
展开
 
全部
南京
无锡
徐州
常州
苏州
南通
连云港
淮安
盐城
扬州
镇江
泰州
宿迁

江苏有色金属废水处理技术理论与应用

免费发布技术信息>>
工业废水处理系统中的调节池结构

本发明公开了一种工业废水处理系统中的调节池结构,所述调节池包括储水池和流通池,所述流通池依次包括平行且等间距设置的第一侧壁、第二侧壁、第三侧壁、第四侧壁及第五侧壁,所述第一侧壁和第三侧壁、第三侧壁和第五侧壁的一端分别通过圆弧形第六侧壁和第七侧壁相连,所述第二侧壁和第四侧壁、第一侧壁和第五侧壁在另一端分别通过圆弧形的第八侧壁和第九侧壁相连,第六侧壁、第七侧壁和第八侧壁的半径相等,第九侧壁的半径为第八侧壁半径的两倍。本发明中的调节池整体呈矩形,通过圆弧形的侧壁以及驱动装置实现水流的变向,其水流流通稳定,调节效果好,能够有效提高污水调节质量。

标签:
废水处理
江苏 - 苏州 来源:中冶有色网 2023-03-19
工业清洗废水循环利用装置

本发明公开了一种工业清洗废水循环利用装置,包括主体、铁屑过滤仓、絮凝仓和清洗剂混合仓,所述主体内部一侧开设有铁屑过滤仓,所述铁屑过滤仓顶端焊接有进水口,所述气泵输出端螺纹连接有气管,所述气管一端贯穿主体上表面与清洗剂混合仓相互贯通,所述清洗剂混合仓下表面一侧焊接有排水管,所述排水管有一端贯穿主体一侧螺纹连接有阀门;通过在密封盖一侧焊接有三个过滤网,过滤网下方焊接有磁铁块,使得在进行使用时更加方便的将铁屑进行过滤,经过第一水泵抽入到絮凝仓,经过絮凝仓来絮凝油渍以及一些溶解物,最终经过清洗剂混合仓将处理后的水与清洗剂充分混合,从而更加方便的进行再次循环清洗使用。

标签:
废水处理
江苏 - 南京 来源:中冶有色网 2023-03-19
用于工业废水快速处理的净水剂及其制备方法

本案涉及一种用于工业废水快速处理的净水剂及其制备方法,按照重量份数计,包括如下组分:20‑35份纳米硅藻土粉/纤维素复合材料、5‑10份烷基糖苷或其衍生物表面活性剂、60‑75份絮凝剂、2‑6份硝化细菌。本发明制备的净水剂组分简单,配比合理,配方中不含重金属成分,多为天然类化合物,是一种环境友好型净水剂,避免了对水体的二次污染;采用纤维素与硅藻土粉纳米化并进行复配,具有巨大的比表面积,可以吸附大量污染性有机物,与特定含量的各原料组分充分混合,具有快速沉降、脱色和去除COD的作用;加入烷基糖苷或其衍生物,对水体具有杀菌消毒作用,能够有效杀灭水体中的细菌及微生物,避免大量繁殖造成水体污染。

标签:
废水处理
江苏 - 扬州 来源:中冶有色网 2023-03-19
工业废水中碱度检测试剂

本发明公布了一种工业废水中碱度检测试剂,其主要由以下重量份的组分组成:纳米二氧化钛3-5份,醋酸铅4-7份,醋酸铵2-5份,三乙胺盐酸盐3-8份,聚乙二醇12-22份,过氧化氢12-15份以及聚乙烯吡咯烷酮5-8份。本发明的碱度检测试剂中采用纳米二氧化钛,使得试剂检测的灵敏度更高,采用过氧化氢,使得测试速度更快,具有价格低廉、携带方便等特点,非专业人员即可操作。

标签:
废水处理
江苏 - 无锡 来源:中冶有色网 2023-03-19
电化学工业废水处理系统

本发明公开了一种电化学工业废水处理系统,包括处理壳体,所述处理壳体设有处理腔;所述处理腔内部设有两组转动机构,每组机构包括两个相对设置的转动件,且两个相对设置的转动件分别与处理腔两相对的侧壁转动连接;所述处理壳体外侧壁固定连接有带动转动件转动的转动电机;两相对设置的转动件之间固定连接有电极板;所述处理腔底壁设置有曝气壳体。本发明通过设置曝气筒等结构能够实现通过上浮的气泡能够实现对于电极板进行清洁,并且通过设置往复机构能够实现相邻的曝气筒间隔进行排气,以实现曝气筒排出的气流总量一定时,曝气筒一次能够排出大量的气泡以实现对于电极板进行清洁,并且间隔进行排气还能够实现对于电极板各处进行清理。

标签:
废水处理
江苏 - 泰州 来源:中冶有色网 2023-03-19
工业废水偷排监控预警装置

本实用新型涉及监控技术领域,尤其为一种工业废水偷排监控预警装置,包括管道,所述管道内侧固定连接有水流测速器,所述管道内侧固定连接有水位测定器,所述管道底端内侧固定连接有第三电机,所述第三电机另一端固定连接有浑浊扇叶,所述管道顶底两端内侧均固定连接有固定块,所述固定块底端通过固定连接有滑块,所述滑块外侧滑动连接有套管,所述套管内侧开设有连接槽,所述连接槽底端内侧壁固定丽娜姐有弹簧,本实用新型中,通过设置的搅拌桨叶和浑浊扇叶,可以将水中的沉淀物以及浮渣浑浊,可以防止样品采集分析器组因偶然性,这种设计构思新颖,设计科学,具有巨大的经济效益和广泛的市场前景,值得推广使用。

标签:
废水处理
江苏 - 无锡 来源:中冶有色网 2023-03-19
工业废水排放用防堵管道

本实用新型公开了一种工业废水排放用防堵管道,包括固定安装在管体上的进料座,所述管体内转动连接有驱动杆,且驱动杆上套设有安装套,所述安装套上固定安装有多个连接杆,且每个连接杆上均固定安装有刮板,所述驱动杆上螺纹连接有两个滚珠螺母,且两个滚珠螺母以安装套为中心呈对称设置,所述安装套的内壁上固定安装有多个凸块,所述驱动杆上设有多个与对应凸块相配合的滑槽,所述管体上安装有驱动机构。优点在于:本实用新型转动调节把手,即可使多个搅拌杆以及刮板在管体内进行移动并转动,从而可对管体内的杂质以及生产用料进行清除,疏通效果较佳,且无需接触管体,操作方式简便,安全程度相对较高。

标签:
废水处理
江苏 - 盐城 来源:中冶有色网 2023-03-19
工业碱渣废水的智能处理系统及方法

本发明提供了一种工业碱渣废水的智能处理系统及方法。该智能处理系统包括:依次连接的碱渣储罐、碱渣换热器、碱渣加热器、氧化反应器以及水洗塔,碱渣换热器上设置有物料进口、物料出口、热源进口以及热源出口;氧化反应器出来的氧化水一部分从热源进口进入碱渣换热器中,另一部分进入水洗塔中洗涤碱渣,热源出口连接有中间罐Ⅰ,物料进口与碱渣储罐连接,物料出口连接碱渣加热器;氧化反应器内底部设置有微界面发生器,所述微界面发生器用于分散破碎气体成气泡,所述氧化反应器的底璧上设置有进气口,所述进气口与所述微界面发生器连通。本发明的智能处理系统操作温度与压力比较低,实现了能耗低,操作成本低的效果。

标签:
废水处理
江苏 - 南京 来源:中冶有色网 2023-03-19
工业废水用催化剂回收处理装置

本实用新型公开了一种工业废水用催化剂回收处理装置,包括基板,所述基板的顶端固定安装有催化罐,所述催化罐的外侧固定连接有进料管,所述催化罐的外侧固定安装有出料管,所述催化罐的内壁固定安装有放置架,属于化工设备技术领域,本实用新型结构科学合理,通过设置的便捷回收机构,可将催化罐内壁残留的催化剂进行推动,便于对催化罐内壁残留的催化剂进行推动刮除,也便于该催化剂回收处理装置使用时的催化剂回收,提高了催化剂回收的效率和效果,通过设置的保温处理机构,可对处理仓内的催化剂进行水浴保温,便于催化剂回收后的恒温处理,提高了该催化剂回收处理设备使用时的催化剂处理温度可调性。

标签:
废水处理
江苏 - 南京 来源:中冶有色网 2023-03-19
可移动式的高效电子絮凝工业废水处理装置

本实用新型是一种可移动式的高效电子絮凝工业废水处理装置,包括电子絮凝器、澄清器、过滤器以及电气控制单元,所述电气控制单元与电子絮凝器、澄清器、过滤器相连接,电气控制单元控制电子絮凝器、澄清器、过滤器的启停,所述电子絮凝器侧边下方设置有进水口,所述进水口与进水泵相连接用于进水,所述电子絮凝器内部设置有布水装置,所述布水装置包括竖直安装的极板和多孔板,所述多孔板置于极板下方,所述电子絮凝器顶部设置有超声波清洗器,用于对极板进行清洗,所述澄清器上方设置有涡流反应装置,所述澄清器上方设置有出水口,所述出水口通过进水管道与过滤器相连接,所述过滤器设置有过滤出口,所述过滤出口通过管道与清水箱相连接。

标签:
废水处理
江苏 - 南通 来源:中冶有色网 2023-03-19
工业废水处理用助剂
工业废水处理用助剂 839     
 0

本发明公开了一种工业废水处理用助剂,包括紫砂土35‑55份;伯酰胺20‑45份;硫酸铝16‑24份;氯化铵6‑25份;丙三醇5‑10份;乙二胺5‑6份;苯乙烯2‑6份;硅酸钠3‑5份;竹炭颗粒25‑30份;硫酸亚铁20‑25份;亚硫酸氢钠10‑15份;聚丙烯酰胺6‑15份;聚乙烯吡咯烷酮12‑28份;添加剂10‑15份;清水300‑500份。相比现有技术,本发明具有有效提升污水处理速率的特点。

标签:
废水处理
江苏 - 南京 来源:中冶有色网 2023-03-19
工业废水处理用防堵输送管道

本实用新型公开了一种工业废水处理用防堵输送管道,包括弯管,所述弯管为L型结构且弯管底部右侧置有波纹管,所述波纹管右侧置有横管,所述波纹管左右两端均连通设置有螺纹管接头,所述弯管和横管靠近螺纹管接头的一端内壁均开设有内螺纹且螺纹管接头通过螺纹与同侧的内螺纹旋接。本实用新型通过安装有波纹管和螺纹管接头,可以通过波纹管通过螺纹管接头与弯管和横管可拆卸方式,便于后期拆卸清理横管内防堵网,同时当水压一定时,防堵网左侧存在过多堵塞物时,防堵网水流量减小,波纹管处的水压随之增加,波纹管则呈不同程度膨胀形变,工作人员可通过膨胀程度,及时对防堵网清理,保证供水的稳定进行,适合广泛推广与使用。

标签:
废水处理
江苏 - 扬州 来源:中冶有色网 2023-03-19
工业废水处理用微电解填料原料粉碎装置

本实用新型公开了一种工业废水处理用微电解填料原料粉碎装置,包括从下到上依次设有连通的粗磨室、精磨室和出料室,所述粗磨室和精磨室均为锥形结构,所述粗磨室的下部一侧设有与其相切的第一进气管,所述粗磨室的一侧上部设置有进料管,所述精磨室的下部一侧设有第二进气管,所述精磨室内部上部设有若干个均匀分布且为竖直布置的研磨杆。本实用新型中,通过高速气流带动颗粒物互相碰撞研磨,使其形成较小颗粒再进入精磨室中,颗粒高速运动并不断碰撞在研磨杆上,使得颗粒进一步粉碎,得到合格粒径的物料通过出料管中飞出,由于精磨室中的物料颗粒度较细且,研磨过程中会产生较高的温度,为避免物料自燃,故通过第二进气管导入保护性气体。

标签:
废水处理
江苏 - 苏州 来源:中冶有色网 2023-03-19
工业碱渣废水的处理系统

本实用新型提供了一种工业碱渣废水的处理系统。该处理系统包括:依次连接的碱渣储罐、碱渣换热器、碱渣加热器、氧化反应器以及水洗塔,碱渣换热器上设置有物料进口、物料出口、热源进口以及热源出口;氧化反应器出来的氧化水一部分从热源进口进入碱渣换热器中,另一部分进入水洗塔中洗涤碱渣,热源出口连接有中间罐Ⅰ,物料进口与碱渣储罐连接,物料出口连接碱渣加热器;氧化反应器内底部设置有微界面发生器,所述微界面发生器用于分散破碎气体成气泡,所述氧化反应器的底璧上设置有进气口,所述进气口与所述微界面发生器连通。本实用新型的处理系统操作温度与压力比较低,避免了高温高压带来的安全隐患的发生,实现了能耗低,操作成本低的效果。

标签:
废水处理
江苏 - 南京 来源:中冶有色网 2023-03-19
工业废水用可提升式低耗曝气系统

本实用新型公开了一种工业废水用可提升式低耗曝气系统,包括曝气主管,曝气主管与若干根曝气支管连通;所述曝气支管设有支管阀门与支管压力表,曝气支管底部与若干根曝气竖管连通;所述曝气竖管上部段与下部段之间通过对应的法兰连接,曝气竖管底部通过螺纹结构与旋流曝气器连接;所述旋流曝气器的导流罩外围一圈设置有若干个三角形锯齿;所述三角形锯齿两侧边上设有若干个分支锯齿,曝气效率更高、减少能耗的浪费。本实用新型涉及曝气器设置、曝气支管设置、曝气器与曝气管的连接等,解决了污水厂运行过程中曝气设备更换困难、充氧效率不稳定、氧利用率低的问题。

标签:
废水处理
江苏 - 南京 来源:中冶有色网 2023-03-19
振动型工业废水结晶处理装置

本申请公开了一种振动型工业废水结晶处理装置,包括一个沉淀筒,所述沉淀筒的上端设置用于将沉淀筒的筒口封盖的外壁,外壁与沉淀筒的筒壁形成溢流堰,所述溢流堰的底部设置有出水口;所述沉淀筒的外侧壁上设置有多组超声波振动器;还包括一个贯穿外壁伸入沉淀筒内的反应筒,反应筒内设置搅拌桨叶,连接搅拌桨叶的搅拌轴通过三角带传动结构与电动机连接,所述电动机带动搅拌轴连同搅拌桨叶一起转动,且同时带动搅拌轴连同搅拌桨叶一起在反应筒内上下运动;还包括一端伸入反应筒中的进水管和进料管。本实用新型的结晶设备具有反应区搅拌充分,沉淀区沉淀效果好,设备投资小,工艺流程简单的特点。

标签:
废水处理
江苏 - 宿迁 来源:中冶有色网 2023-03-19
工业废水处理用V型滤池

本实用新型涉及环保设备的技术领域,特别是涉及一种工业废水处理用V型滤池,其通过设置,可防止杂质堆积,提高滤池的清洁度,保障过滤的效果;包括滤池和V型过滤网,V型过滤网固定安装在滤池内部前端,滤池左端底部设有污水进管,滤池前端设有两组排水管;还包括电机、螺杆、四组支撑块、第一刮板和第二刮板,电机位于滤池后端,螺杆后端和电机的输出端连接,螺杆前端可转动穿过滤池,四组支撑块位于滤池内,支撑块底端和滤池底端固定连接,螺杆可转动穿过支撑块,螺杆的前后两部分设有方向相反的两组螺纹,第一刮板螺装在螺杆的后半部分,第一刮板底端和滤池底部接触,第二刮板螺装在螺杆的前半部分,第二刮板底端和滤池底部接触。

标签:
废水处理
江苏 - 无锡 来源:中冶有色网 2023-03-19
用于高效处理工业废水细小颗粒的气浮机

本实用新型涉及一种用于高效处理工业废水细小颗粒的气浮机,包括箱体和曝气装置,箱体内设有沉淀池,在沉淀池两侧分别设置反应槽和清水池,在沉淀池和清水池之间设置有集渣槽,沉淀池均与反应槽和清水池相连通,与反应槽同一侧的箱体上设有进水口,曝气装置设置在箱体中的反应槽内,并靠近进水口的一侧,该曝气装置包括设置在箱体顶端的电机、连接该电机下方的管杆、该管杆末端设置的叶轮,管杆向下延伸穿过叶轮连接设于叶轮下方的切割片,该管杆的内部形成沿其延伸方向延伸的导气孔,靠近其顶端位置设有多个与导气孔连通的进气孔,本实用新型结构简单,解决了管道堵塞问题,提高气浮机的工作效率,更好的实现固液分离。

标签:
废水处理
江苏 - 南京 来源:中冶有色网 2023-03-19
半导体工业废水一体化处理系统

本实用新型涉及半导体工业废水一体化处理系统,包括箱体,所述箱体内开设有处理腔和容纳槽,所述容纳槽位于所述处理腔的正下方,所述箱体的顶端固定设有沉淀箱,所述沉淀箱的一侧顶端固定设有泵体,所述泵体的输入端固定连接有抽水管,所述抽水管的底端延伸至所述沉淀箱内,所述泵体的输出端固定连接有送水管,所述送水管的底端延伸至所述处理腔内,所述处理腔内的中部固定设有过滤网,所述处理腔的下侧内壁上对称固定设有紫外线照射灯,所述箱体的一侧顶端固定设有加液管,所述加液管的底端延伸至所述处理腔内,本实用新型有效的降低了设备的生产成本,同时可以有效的对污水中产生的气体进行过滤,进而避免气体直接排放污染环境。

标签:
废水处理
江苏 - 苏州 来源:中冶有色网 2023-03-19
工业废水污染的土地的生物修复方法

本发明公开了一种工业废水污染的土地的生物修复方法,S1:土地选取:调查土壤污染状况及其污染物的空间分布,以确定污染区域,选定污染区域作为修复单元;S2:平整土地:对污染区域进行场地平整,秋末冬初时节施足腐熟有机农杂肥后进行深耕,以使土壤风化,冻死越冬害虫;S3:微生物的修复:投加复合生物菌剂、营养盐和微生物,通过深耕使其与土壤均匀混合;S4:植物栽培:在土壤中种植水稻、玉米或小麦,待植物存活后,施入复合肥并进行灌溉;S5:软体生物修复:春末夏初时向土壤中引入蚯蚓,通过在土壤中蠕动摄食使重金属在其体内停留和富集,蚯蚓摄食后进行回收,本发明获得的土壤促进作物生长,增加作物产量。

标签:
废水处理
江苏 - 盐城 来源:中冶有色网 2023-03-19
污水管中工业废水的自动化排水过滤设备

本发明涉及一种污水管中工业废水的自动化排水过滤设备,包括底板,底板的上端安装有调节装置,调节装置上安装有三个转换装置,三个转换装置的后端安装在过滤装置上,过滤装置安装在底板上。本发明可以解决现有污水借助管道排放过程中存在的污水直接排放对环境污染严重,特殊污水在排放过程中需要人工进行过滤,多排管道同时排放污水需要人工根据实际情况拖动过滤工具逐个进行处理,人工拖动过滤工具耗时费力,不同用途的排污管道直径大小各不相同,需要人工选择对应的工具进行连接,人工选择工具处理污水耗费时间长,人工过滤污水操作复杂、劳动强度大、与工作效率低等难题,可以实现多排污水管自动化排放过滤污水的功能。

标签:
废水处理
江苏 - 南通 来源:中冶有色网 2023-03-19
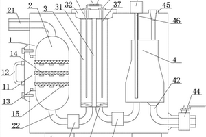
利用二氧化碳气体处理工业含无机磷废水的装置

本实用新型涉及一种利用二氧化碳气体处理工业含无机磷废水的装置,其特征在于它包括均质调节池(1)、污水泵(2)、一级涡流反应器(3)、二级涡流反应器(4)、沉淀池(5)、碳化装置(6)、石英砂过滤器(7)、活性炭过滤器(8)、清水池(9)、投药装置(10)、絮凝剂投药装置(11)、助凝剂投药装置(12)、污泥浓缩调节池(13)和污泥脱水机(14)。本实用新型处理后的水体磷含量低、盐份低、水体硬度低、中水可以回用。

标签:
废水处理
江苏 - 无锡 来源:中冶有色网 2023-03-19
用于工业废水处理的过滤材料及其制备工艺

本发明公开了一种用于工业废水处理的过滤材料及其制备工艺,过滤材料组分按重量份数包括烯丙基磺酸钠10‑20份、纳米改性活性炭5‑15份、石墨烯4‑12份、麦饭石3‑9份、硅藻土8‑18份、膨润土10‑20份、碳酸钙10‑20份、改性凹凸棒土5‑15份、双硬脂酰基二乙烯三胺4‑12份、氧化钛3‑9份以及多孔陶瓷基体2‑6份,本发明制备工艺简单,制得的过滤材料性能稳定,能够在较长时间里有效清除污水中的氮、磷、大肠杆菌等有害物质,环保性能好,能够提高排放水的水质。

标签:
废水处理
江苏 - 南通 来源:中冶有色网 2023-03-19
用于臭氧氧化工业废水的催化剂的制备方法

本发明提供了一种用于臭氧氧化工业废水的催化剂的制备方法,属于催化剂制备技术领域。本发明所述催化剂采用特种优质无烟煤和稀土经过特殊工艺进行改性的活性炭作为载体,以铁、铜、锰、钴、铝及其氧化物为活性组分,其中活性金属组分的质量比为4.0~4.5%。本发明将上述原料混合烧结后制成催化剂,其活性组分以具有活性的过渡金属及其氧化物为主,高活性组合配比高,与载体物料性质相似,附载强度高,且具有长时间使用不板结,耐压强度及耐磨强度高的优点。

标签:
废水处理
江苏 - 扬州 来源:中冶有色网 2023-03-19
含氟工业废水减量化处理一体化成套装置

本实用新型提供一种含氟工业废水减量化处理一体化成套装置,具体环保设备领域,包括混合腔和导出腔;导出腔与混合腔的下部贯通,导出腔为侧开口结构,所述导出腔侧壁设有出口;混合腔为上开口结构,混合腔上端为进口;所述混合腔内设有自上而下依次设有第一转轴和第二转轴;第一转轴和第二转轴均横向配置,所述第一转轴和所述第二转轴上分别设有第一搅拌叶和第二搅拌叶;第一转轴和第二转轴的端部分别设有第一传动轮和第二传动轮;所述导出腔内设有螺旋推进器,螺旋推进器的转轴端部设有第三传动轮;还包括电机,电机设于基面上,电机的转轴与第三传动轮、第二传动轮、第一传动轮通过传动带连接。本实用新型可确保絮凝化学药品添加的均匀度。

标签:
废水处理
江苏 - 南京 来源:中冶有色网 2023-03-19
新型工业废水管道流量自动调节机构

本实用新型公开了一种新型工业废水管道流量自动调节机构,包括污水池、进水管和用来测定污水进水流量的转子流量计,所述转子流量计包括流量筒和嵌套在流量筒内并固定连接有轮轴的转子,所述轮轴前端并固定连接有刹车盘,所述刹车盘外侧设有用来对刹车盘进行减速的刹车块,所述刹车块连接有驱动所述刹车块与刹车盘接触的锁止驱动机构。本实用新型通过设有刹车盘、刹车块、齿条板、齿轮、联动杆和浮球,使得浮球根据污水池内水位升降改变转子转动速度直至刹停,实现污水池内污水进水流量计量、污水池内水位高度控制以及自动污水进水补充,代替传统的包括多个控制器和设备的复杂控制系统。

标签:
废水处理
江苏 - 南京 来源:中冶有色网 2023-03-19
具有节能环保效果的工业废水处理装置

本实用新型公开了具有节能环保效果的工业废水处理装置,包括第一箱体,所述第一箱体的左右侧面均固定连接有第二箱体,所述第一箱体的左右侧面均开设有第一通槽,所述第一通槽的后内侧面活动连接有活动柱,所述活动柱的侧表面固定连接有第一过滤板、第二过滤板。本实用新型,设置第一通槽、第一过滤板、第二过滤板,方便对过滤板上的杂质进行清理,且不会影响装置的运作,增强该装置的工作效率,设置伸缩杆、搅拌叶片,能够使网格板上的杂质流动,不会使杂质在网格板上堵塞避免发生堵塞的现象,通过在第一通槽内设置挡板,不会使污水流进第二箱体内,方便对网格板进行定期清理,提高对杂质的处理效果,从而更利于环保。

标签:
废水处理
江苏 - 苏州 来源:中冶有色网 2023-03-19
工业废水检测用样品保存箱

本实用新型公开了一种工业废水检测用样品保存箱,包括:箱体和箱盖,所述箱盖通过铰链活动设置在箱体上,在所述箱体内均匀设置有若干隔板,其边上两个隔板分别与箱体的内部两侧相抵,在相邻两个隔板之间的箱体下端分别设置有减震垫,在所述减震垫的上端中部设置有取样瓶插槽,在所述取样瓶插槽内设置有取样瓶,在所述取样瓶上端两侧的隔板上对称设置有取样瓶弹性锁紧装置,所述取样瓶弹性锁紧装置的结构包括:设置在隔板上的滑座,在所述滑座内设置有限位滑腔和与限位滑腔相互连通的滑杆滑腔,在所述滑杆滑腔内滑动设置有滑杆,所述滑杆的一端伸入限位滑腔内与限位滑块相连接。

标签:
废水处理
江苏 - 盐城 来源:中冶有色网 2023-03-19
用于工业废水处理的沉淀池用加药装置

本实用新型公开了一种用于工业废水处理的沉淀池用加药装置,包括加药桶、搅拌装置和加热装置;加药桶包括外壳体,外壳体内侧安装有内壳体,外壳体与内壳体之间形成空腔,外壳体的顶部设有上盖;外壳体侧面固定安装有出药管,出药管外侧安装有电池阀;外壳体的前侧上方固定连接有进水管,外壳体的前侧下方固定连接有出水管,搅拌装置包括驱动电机,驱动电机的输出端固定连接有转轴,转轴的底端固定连接有若干搅拌桨;加热装置包括燃气热水器,燃气热水器顶部连通设有第一连接管,燃气热水器底部连通有第二连接管。本实用新型通过搅拌装置对药液进行搅拌以实现药液搅拌均匀的目的,L型透明管能够便于工作人员清晰的观察到加药桶内部的液体高度。

标签:
废水处理
江苏 - 南京 来源:中冶有色网 2023-03-19
工业废水环保过滤装置
工业废水环保过滤装置 1210     
 0

本实用新型公开了一种工业废水环保过滤装置,包括箱体,所述箱体内设有电机和与所述电机机械传动连接的转轴,所述箱体的内壁上由上至下依次设有上环形隔板和下环形隔板,所述转轴上设有上环形支架和下环形支架,所述上环形隔板和所述上环形支架将所述箱体的内腔由上至下分隔成上腔室和下腔室;所述下环形隔板和所述下环形支架将所述下腔室由上至下分隔成第一下腔室和第二下腔室,所述上环形支架上设有粗滤网,所述下环形支架上设有细滤网。本实用新型,能够较为快捷的将粗细杂质分开,并收集到储盒中,也能较为快捷地取出粗、细滤网,以便清洗更换。

标签:
废水处理
江苏 - 泰州 来源:中冶有色网 2023-03-19
上一页 498 499 500 501 502 ... 537 下一页
共537页    到第

中冶有色为您提供最新的江苏有色金属废水处理技术理论与应用信息,涵盖发明专利、权利要求、说明书、技术领域、背景技术、实用新型内容及具体实施方式等有色技术内容。打造最具专业性的有色金属技术理论与应用平台!

全国热门有色金属设备推荐
展开更多 +
全国热门有色金属技术推荐
展开更多 +

 

江西省隆恩特环保设备有限公司
宣传

报名参会
更多+

报告下载

有色专家
更多+

中南大学
中国工程院 院士
中南大学
中国工程院院士
昆明理工大学
教授
武汉理工大学
外籍院士/教授
西安建筑科技大学
院长/教授
赤泥综合利用研究报告2025
推广

热门技术
更多+

推荐企业
更多+

福建省金龙稀土股份有限公司
宣传

发布

在线客服

公众号

电话

顶部
咨询电话:
010-88793500-807